BEDIENUNGSANLEITUNG
1600-0437 cabinet light small LED
User Manual
1600-0437 cabinet light small LED



SAFETY – EXPLANATION OF NOTES
Please take note of the following symbols and words used in the operating instructions, on the product and on the packaging:
= Information | Useful additional information about the product
= Note | The note warns you of possible damage of all kinds
= Caution | Attention – Hazard can lead to injuries
= Warning | Attention – Danger! May result in serious injury or death
PROPER INTENDED USE
The product serves as a mobile light source and is not intended for use in other applications. The product is intended exclusively for private, household use and is not suitable for commercial use or for household room lighting and is only for use as described in the operating instructions. Use outside that stipulated in the information is improper use and this can result in damage to property or personal injury. We accept no liability for damage caused by incorrect or improper use.
GENERAL SAFETY INSTRUCTIONS
This product may be used by children from the age of 8 and by persons with reduced physical, sensory or mental abilities or lack of experience and knowledge, if they have been instructed on the safe use of the product and are aware of the hazards. Children are not permitted to play with the product. Children are not permitted to carry out cleaning or care without supervision.
Keep the product and the packaging away from children. Thisproduct is not a toy. Children should be supervised in order to ensure that they do not play with the product or packaging. Avoid eye injuries – Never look directly into the beam of light or shine it into other people‘s faces. If this occurs for too long, the blue light portion of the beam can cause retinal damage. Never touch a device that is connected to the mains with wet hands, or if it has fallen into water. In this case, first switch off the house circuit breaker andthen pull out the mains plug.
Do not expose to potentially explosive environments where there are flammable liquids, dusts or gases.
Never submerge the product inwater or other liquids.
Use only an easily accessible mains socket so that the productcan be quickly disconnected fromthe mains in the event of a fault. All illuminated objects must be atleast 10cm away from the lamp. Use the product exclusively withthe accessories included with it.
Never try to open, crush or heat a standard/rechargeable battery or set it on fire. Do not throw into a fire. The product may only be charged in closed, dry and spaciousrooms, away from combustible materials and liquids. Disregard can result in burns and fires.
Leaking battery fluid can cause irritation if it comes into contact with the skin. Immediately rinse affected areas with fresh water and then seek medical attention.
Do not short-circuit connection terminals or batteries.
DANGER OF FIRE AND EXPLOSION
Do not use while still in the packaging.
Do not cover the product – risk of fire.
Never expose the product to extreme conditions, such as extreme heat/cold etc. Do not use in the rain or in damp areas.
GENERAL INFORMATION
- Do not throw or drop
- The LED cover cannot be replaced. If the cover is damaged, the product must be disposed of.
- The LED light source cannot be replaced. If the LED has reached the end of its service life, the complete lamp must be replaced.
- Do not open or modify the product! Repair work shall only be carried out by the manufacturer or by a service technician appointed by the manufacturer or by a similarly qualified person.
- Disconnect the device from the power supply only by pulling on the plug or plug housing, never on the cable.
- Information for the light and mains adapter as well as mains voltage on the socket must match with the type plate.
- The lamp shall not be placed face-down or allowed to topple face-down.
RECHARGEABLE BATTERY PACK
The product contains a non-replaceable, rechargeable battery pack. If the rechargeable battery pack is empty, recharge it immediately. Once fully charged, remove from the charger. In the event of liquid leaking from the power source, remove this with protective gloves and a dry cloth.
ENVIRONMENTAL INFORMATION | DISPOSAL
Dispose of packaging after sorting by material type. Cardboard and cardboard to the waste paper, film to the recycling collection.
Dispose of the unusable product in accordance with legal provisions. The „waste bin“ symbol indicates that, in the EU, it is not permitted to dispose of electrical equipment in household waste. Use the return and collection systems in your area or contact the dealer from whom you purchased the product.
For disposal, pass the product on to a specialist disposal point for old equipment. Do not dispose of the device with household waste! Always dispose of used batteries & rechargeable batteries in accordance with the local regulations and requirements. In this way you will fulfil your legal obligations and contribute to environmental protection.
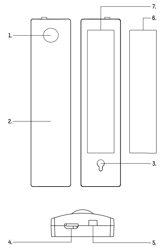
PRODUCT DESCRIPTION
- Sensor
- Main light
- Mounting eye
- Charge socket
- On/off button
- Adhesive tape
- Magnetic strip
FIRST USE
- By pressing the button, the light toggles through the colour temperatures: Cool white / natural white / warm white / all LEDs / off
- The sensors and switch-off timer are active (13 seconds) at this time. Movements in the PIR sensor detection range trigger the activation of the LED in the dark or increase the lighting duration.
- By double-clicking in the respective mode, the light stays on continuously. (Confirmed by the light flickering twice.)
- Pressing and holding the button: dimming function
CHARGING
- Connect the USB charging cable to the light. Insert the USB connector into a suitable charger. The charging process is indicated by a red LED. When the light is fully charged, a green LED lights up.
- Charge the light before it is used for the first time!
The product complies with the requirements from the EU directives.
Subject to technical changes. We assume no liability for printing errors.
Kundenservice | Customer service:
ANSMANN AG
Industriestrasse 10
97959 Assamstadt
Germany
Hotline: +49 (0) 6294 / 4204 3400
E-Mail: [email protected]
MA-1600-0437/V1/06-2021



















