FLYSKY FS-iBG01 GPS Module Support GPS Beidou Satellite Dual Satellite System Instruction Manual
Introduction
The FS-iBG01 supports GPS, Beidou and other satellite systems, and features high sensitivity, short acquisition time, strong anti-interference ability and low power consumption.
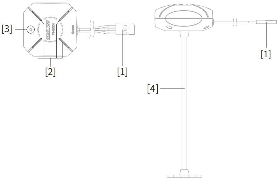
Product Overview

- BUS2 output port
- LED status indicator
- Installation orientation indication
- Bracket
Note: The bracket is an optional part.
Compatibility
FS-iBG01 is compatible with PL18 transmitter et cetera and the AFHDS3 enhanced receivers, such as FTr8B receiver.
Note: The firmware version of PL18 transmitter needs to be 1.0.65 or above.
Product Specifications
- Product Name: FS-iBG01
- Satellite Systems Supported: GPS 丨 Beidou
- Model Type: Boats, air-crafts, robots, etc.
- Tracking: -167dBm
- Capture: -160dBm
- Cold Start: -148dBm
- Hot Start: -157dBm
- Cold Start Time: Average 26s
- Hot Start Time: Average 1s
- Positioning Accuracy: 0.3 degrees
- Accuracy of Speed Measurement: 0.05 m/s
- Time Accuracy: RMS 99% 30ns
- Maximum Height: 50,000m
- Acceleration: ≤ 4g
- LED: Yes
- Update Frequency: 10Hz
- Data Format: i-BUS2
- Input Power: 4.0 ~ 8.4V
- Temperature Range: -10℃~ +60℃
- Humidity Range:20% ~ 95%
- Dimensions: 52.4*50*18.5mm
- Weight: 30g
- Colour: Black
- Certification: CE, FCC
Attentions
- Ensure that the product and model are installed correctly before use, otherwise the model may be seriously damaged.
- Keep the FS-iBG01 installed horizontally, install it higher than the machine body as far as possible, and keep it away from high current and strong magnetic objects;
- Avoid overexertion to damage any objects;
- If the bracket is not installed, please fix the FS-iBG01 to the model frame.
- If you need to install the bracket, please fix the FS-iBG01 on the bracket and keep the following installation status.

Functions
Note: The FS-iBG01 needs to be connected with the PL18 transmitter and FTr8B receiver to implement its functions, the detail is as follows:
Connect the FS-iBG01
To connect the FS-iBG01 with the PL18 transmitter and FTr8B receiver.
- Install the FS-iBG01 onto the model correctly and horizontally.
- Complete the bind between the transmitter and the receiver. At the transmitter side, enter the output signal type setting interface via “Home 1 > Basic > RX Setting > Custom port protocol”. To connect to the NPA, click [NPA] and then [i-BUS2].
- Connect the FS-iBG01 to the NPA interface of the receiver to establish its connection with the transmitter and receiver.
Note: NPA interface is a Newport interface for enhanced receivers. Usually, an enhanced receiver has 1~4 Newport interfaces, any one of them, whose output signal type is set as i-BUS2, can be connected to the FS-iBG01.
Introduction to LEDs
- When the FS-iBG01 is powered on without positioning, the LED status is solid red.
- When the FS-iBG01 gyroscope is calibrated, the LED status is solid green.
- When the FS-iBG01 star search and positioning is successful and it functions normally, the LED light status is blue under slow flashing
Note: When the FS-iBG01 is powered on and the system enters a self-test state, the LED is solid white. Usually, the self-test process is completed within three seconds. If the LED remains white continuously, it indicates that the connection is faulty.
Time zone selection
You can select an appropriate time zone according to the actual location.
- At the transmitter side, enter the time zone setting interface via “Home 1 > Basic > RX Setting > i-BUS2 GPS sensor setup > UTC select”.
- Select the right time zone
Gyroscope calibration
The FS-iBG01 has a built-in gyroscope. You can check the model attitude at the transmitter side. When the FS-iBG01 is not installed on the horizontal plane, calibrate the current plane of FS-iBG01 to be horizontal through this function.
- At the transmitter side, enter the gyroscope calibration interface via “Home 1 > Basic>RX Setting > i-BUS2 GPS sensor setup > Gyro calibration”. Click Calibration.
- After successful calibration, the confirmation menu will pop up. Click OK to finish the calibration.
GPS display
It can display the current orientation, moving direction and attitude of the model.
At the transmitter side, enter the display interface via “Home 1 > Basic > RX Setting > i-BUS2 GPS sensor setup > GPS display”, and look over the relevant information
Certifications
FCC Compliance Statement
This device complies with Part 15 of the FCC Rules. Operation is subject to the following two conditions:
- This device may not cause harmful interference, and
- This device must accept any interference received, including interference that may cause undesired operation.
Warning: changes or modifications not expressly approved by the party responsible for compliance could void the user’s authority to operate the equipment.
This equipment has been tested and found to comply with the limits for a Class B digital device, pursuant to Part 15 of the FCC Rules. These limits are designed to provide reasonable protection against harmful interference in a residential installation. This equipment generates, uses and can radiate radio frequency energy and, if not installed and used in accordance with the instructions, may cause harmful interference to radio communications. However, there is no guarantee that interference will not occur in a particular installation.
If this equipment does cause harmful interference to radio or television reception, which can be determined by turning the equipment off and on, the user is encouraged to try to correct the interference by one or more of the following measures:
- Reorient or relocate the receiving antenna.
- Increase the separation between the equipment and receiver.
- Connect the equipment into an outlet on a circuit different from that to which the receiver is connected.
- Consult the dealer or an experienced radio/TV technician for help.
EU DoC Declaration
Hereby, [Flysky Technology co., ltd] declares that the Radio Equipment [FS-iBG01] is in compliance with RED 2014/53/EU.
The full text of the EU DoC is available at the following internet address:
www.flysky-cn.com.
RF Exposure Compliance
This equipment complies with FCC radiation exposure limits set forth for an uncontrolled environment. This equipment should be installed and operated with minimum distance 20cm between the radiator and your body. This transmitter must not be co-located or operating in conjunction with any other antenna or transmitter
Environmentally friendly disposal
Old electrical appliances must not be disposed of together with the residual waste, but have to be disposed of separately. The disposal at the communal collecting point via private persons is for free. The owner of old appliances is responsible to bring the appliances to these collecting points or to similar collection points. With this little personal effort, you contribute to recycle valuable raw materials and the treatment of toxic substances.
http://www.flysky-cn.com
Copyright ©2021 Flysky Technology co., ltd
















