HAMPTON BAY 1004612899 3-Light Mini Head Track Kit Black

Safety Information
IMPORTANT SAFETY INSTRUCTIONS
WHEN INSTALLING OR USING THIS TRACK SYSTEM, BASIC SAFETY PRECAUTIONS SHOULD ALWAYS BE FOLLOWED INCLUDING THE FOLLOWING:
- Read all instructions. Save these instructions and refer to them when additions to or changes made.
- Before energizing, make sure that the lighting system is clear of all material which could cause a direct short, and check all electrical connections to make sure they are secure.
- Do not install any part of this track system less than 7 ft.
- Do not install any lamps closer than 6 in. from any curtain or similar combustible material.
- This track system is not intended for use with a power supply cord or convenience receptacle adaptor.
- This track system must be supplied by a single branch 120 volt circuit.
- The track is not intended to be pendant mounted such as by a stem or cable.
- The mounting screws are to be mounted along the track in the keyhole slots provided.
- Disconnect electrical power before adding to or changing the configuration of the track
- Please note that changes or modifications not expressly approved by the party responsible for compliance could void the user’s authority to operate the equipment.
- FCC responsible party name: Lumitific Corporation./address: 2850 W Horizon Ridge Parkway #200 Henderson, Nevada United States NV89052 /Telephone number: 678-383-4085
WARNING: Do not install this lighting system in a damp or wet location.
CAUTION: Hot surface, keep away from curtains or any other combustible material.
CAUTION: The LEDs in this product are not replaceable.
IMPORTANT: For use with Hampton Bay EC series line voltage track systems only.
NOTE: All electrical connections must be in accordance with the services of a qualified licensed electrician. local codes and the National Electrical Code. If you are unfamiliar with methods of installing electrical wiring, secure the services of a qualified licensed electrician.
This equipment has been tested and found to comply with the limits for a Class B digital device, pursuant to Part 15 of the FCC Rules. These limits are designed to provide reasonable protection against harmful interference in a residential installation. This equipment generates, uses and can radiate radio frequency energy and, if not installed and used in accordance with the instructions, may cause harmful interference to radio communications. However, there is no guarantee that interference will not occur in a particular installation. If this equipment does cause harmful interference to radio or television reception, which can be determined by turning the equipment off and on, the user is encouraged to try to correct the interference by one or more of the following measures:
- Reorient or relocate the receiving antenna.
- Increase the separation between the equipment and receiver.
- Connect the equipment into an outlet on a circuit different from that to which the receiver is connected.
- Consult the dealer or an experienced radio/TV technician for help.
Warranty
The manufacturer warrants this lighting fixture against defects in materials and workmanship for a period of five years from the date of purchase. If within this period the product is found to be defective in material or workmanship, the product must be returned, with a copy of the bill of sale as proof of purchase, to the original place of purchase. The manufacturer will, at its option, repair, replace, or refund the purchase price to the original purchaser or consumer. This warranty does not cover light bulbs or the fixture becoming damaged due to misuse, accidental damage, improper handling and/or installation, and specifically excludes liability for direct incidental, or consequential damages. As some states do not allow exclusions or limitations on an implied warranty, so the above exclusions and limitations may not apply. This warranty gives you specific rights and you may also have other rights that vary from
state to state.
Contact the Customer Service Team at 1-855-HD-HAMPTON or visit www.hamptonbay.com.
Pre-installation
PLANNING INSTALLATION
Read all instructions before assembly.
To avoid damaging this product, assemble it on a soft, non-abrasive surface such as carpet or cardboard. Inspect each part for damage that may have occurred during shipping.
Keep your receipt and these instructions for proof of purchase.
TOOLS REQUIRED

HARDWARE INCLUDED
NOTE: Hardware not shown to actual size.

| Part | Description | Quantity |
| AA | Toggle bolts | 2 |
| BB | Phillips screw | 2 |
| CC | Anchor | 2 |
| DD | Wire connector | 3 |
| EE | Machine screw | 2 |
PACKAGE CONTENTS

| Part | Description | Quantity |
| A | Track mounting screw [preassembled to mounting plate (B)] | 2 |
| B | Mounting plate | 1 |
| C | Twist-lock connector [preassembled to mounting plate (B)] | 1 |
| D | Canopy [preassembled to mounting plate (B)] | 1 |
| E | Canopy screw [preassembled to canopy (D)] | 2 |
| F | Track section | 1 |
| G | Track head | 3 |
| H | Connector’s locking tab [preassembled to track head (G)] | 3 |
Note: Some fixture shapes may vary, not shown for all models but the same assembly method.
Installation
Field cutting the track to special lengths (Optional)
NOTE: Cutting should be done preferably from the dead end of the track.
- Align the track so the open side is facing upward (the side where the copper bus bars are exposed).
- Using a Philips head screwdriver, loosen the tension screw and remove the dead end fitting from the end of the track (F).
- Slide the copper bus bars and insulators flush or even with the end of the track (F).
- With a fine tooth hacksaw, cut off the desired length of track (cut straight down through the track).
- Remove all burrs from the track, insulators, and copper bus bars so the end is smooth to the touch.
- Slide the copper bus bars and insulators back into the track leaving approx. ¼ in space between the end of the track and the insulator, copper bus bar assembly.
- Make appropriate, slight modifications necessary to securely reinstall the dead end fitting back into the track (F).
- Reinstall the dead end fitting and secure with the Philips head tension screw.
- length of track that is 4 ft. or less in length has one mounting opening spaced a maximum of 6 in. from each track end section. A single section of track that is greater than 4 ft.
- After the track has been field cut, make certain that each in length must have mounting openings a maximum of 12 in. from each end of the track with additional openings a minimum of every 4 ft. along the length of the track section. Additional openings every 4 ft. along the track section may be added as needed.

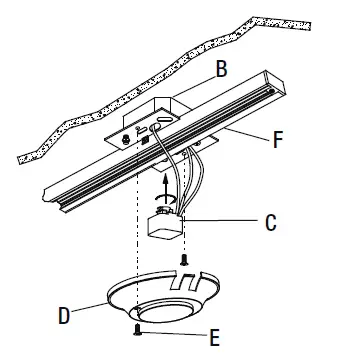
Separating the canopy
- Remove the canopy screws (E) from the canopy (D) to expose the mounting plate (B).
- Loosen the track mounting screws (A) preassembled to the mounting plate (B).
- Do not remove the track mounting screws (A) completely.

Connecting the wires
- Connect the wires (white wires from connector to the white wires from the supply circuit, black wires from the connector to the black wires from the supply circuit, and the green ground wire from the connector to the ground wire of the supply circuit) using the wire connectors (DD).
- Wrap electrical tape (not included) around wire connectors (DD) and make sure they are secure.
- Push all excess wire and wire connectors (DD) back into the outlet box (not included).

Installing the mounting bracket
- Align the holes in the mounting plate (B) with the holes in the outlet box.
- Secure the mounting plate (B) to the outlet box with machine screws (EE).

Installing the track to the ceiling
- Place the linear track section (F) in the desired location on the mounting plate (B) between the two track mounting screws (A).
- Mark the location of the track section (F) on the ceiling with a pencil (not included) through the mounting holes in the bottom of the track section (F).
- Attach the track section (F) to the desired location on the ceiling in one of the following ways:
NOTE: Toggle bolts (AA) should be used for standard installation into drywall, drop ceiling, or suspended ceiling applications. Anchors (CC) are used for masonry installations ONLY.
Toggle bolt installation
- Drill a 5/8 in. hole at each mark on the ceiling.
- Insert toggle bolts (AA) through the track section (F), and thread 1/2 in. toggle onto bolts.
- Place the track section (F) against the ceiling, and insert the toggle bolts (AA) into the holes until the springs open.
- Tighten the bolts (AA).

Anchor installation
- Drill a 7/32 in. hole at each mark on the ceiling, and insert the anchors (CC) into the mounting surface.
- Insert the Phillips screws (BB) through the track section (F), and tighten to the anchors (CC).

Attaching the mounting plate to the track
- Tighten the track mounting screws (A) to secure the track section (F) to the mounting plate (B).

Connecting the canopy to the track
- Twist the twist-lock connector (C) into the track section (F).
- Secure the canopy (D) to the mounting plate (B) by tightening the previously removed canopy screws (E).
- When the twist-lock connector (C) is twisted into position on the track section (F), make sure the two copper tabs on the side of the twist-lock connector (C) align with the two copper strips inside the track section (F). This is necessary to maintain polarity.

Installing the track head to the track
NOTE: The ground side of the track head (G) connector is the side with two metal tabs. The ground side of the track section (F) has an indented groove on the face and two internal copper strips. The track head (G) can only be assembled if the ground sides of the track head (G) connector and the track section (F) are aligned.
- Identify the ground side on the track head (G) connector and track section (F).
- Push the top portion of the track head (G) connector into the slot of the track section (F).
- Pull down the connector’s locking tab (H). Twist the ground side of the track head (G) connector toward the ground side of the track section (F) until the
track head (G) connector snaps into place.

Operation
Removing the track head from the track
- To remove the track head (G) from the track section (F), first allow the track head (G) to cool down.
- Pull down on the track head connector’s locking tab (H), and twist until the track head (G) disengages.

Care and Cleaning
- To clean the fixture, first disconnect power to the fixture by turning off the circuit breaker or by removing the fuse at the fuse box.
- Use a dry or slightly dampened, clean cloth (use clean water, never use a solvent) to wipe the interior and exterior surfaces of the fixture.
- Allow the fixture to dry completely before power is restored.
CAUTION: Do not use chemical solvents or harsh abrasives to clean the fixture or components as damage may Occur.
Troubleshooting

Questions, problems, missing parts?
Before returning to store,
call Hampton Bay Customer Service
7 a.m. – 6 p.m., EST, Monday – Friday, 9 a.m. – 6 p.m., EST Saturday
1-855-HD-HAMPTON
HAMPTONBAY.COM
Retain this manual for future use.















