HAMPTON BAY HB3670-35 Elmcroft Vanity Light

Questions, problems, missing parts? Before returning to the store, call Hampton Bay Customer Service
8 a.m. – 7 p.m., EST, Monday – Friday, 9 a.m. – 6 p.m., EST, Saturday
1-855-HD-HAMPTON
HAMPTONBAY.COM
THANK YOU
We appreciate the trust and confidence you have placed in Hampton Bay through the purchase of this vanity light. We strive to continually create quality products designed to enhance your home. Visit us online to see our full line of products available for your home improvement needs. Thank you for choosing Hampton Bay!
Safety Information
- Before starting installation of this fixture or removal of a previous fixture, disconnect the power by turning off the circuit breaker or by removing the fuse at the fuse box.
- Consult a qualified electrician if you have any electrical questions or need to replace the driver.
- If you have any non-electrical questions about this fixture, please contact our Customer Service Team at 1-855-HD-HAMPTON or www.hamptonbay.com.
![]() | WARNING: Disconnect the power prior to removing or installing a light fixture. |
Warranty
WHAT IS COVERED
The manufacturer warrants this lighting fixture to be free from defects in materials and workmanship for a period of three (3) years from date of purchase. This warranty applies only to the original consumer purchaser and only to products used in normal use and service. If this product is found to be defective, the manufacturer’s only obligation, and your exclusive remedy, is the repair or replacement of the product at the manufacturer’s discretion, provided that the product has not been damaged through misuse, abuse, accident, modifications, alterations, neglect or mishandling.
WHAT IS NOT COVERED
This warranty shall not apply to any product that is found to have been improperly installed, set-up, or used in any way not in accordance with the instructions supplied with the product. This warranty shall not apply to a failure of the product as a result of an accident, misuse, abuse, negligence, alteration, or faulty installation, or any other failure not relating to faulty material or workmanship. This warranty shall not apply to the finish on any portion of the product, such as surface and/or weathering, as this is considered normal wear and tear.
The manufacturer does not warrant and specially disclaims any warranty, whether expressed or implied, of fitness for a particular purpose, other than the warranty contained herein. The manufacturer specifically disclaims any liability and shall not be liable for any consequential or incidental loss or damage, including but not limited to any labor/expense costs involved in the replacement or repair of said product.
Contact the Customer Service Team at 1-855-HD-HAMPTON or visit www.hamptonbay.com.
Pre-installation
PLANNING THE INSTALLATION
Read all instructions before assembly and installation. Before starting installation of the fixture or removal of a previous fixture, disconnect the power by turning off the circuit breaker or by removing the fuse at the fuse box. To avoid damaging this product, assemble it on a soft, non-abrasive surface such as carpet or cardboard.
![]() | NOTE: Keep your receipt and these instructions for Proof of Purchase. |
TOOLS REQUIRED

HARDWARE INCLUDED
![]() | NOTE: Hardware not shown to actual size. |


Part | Description | Quantity |
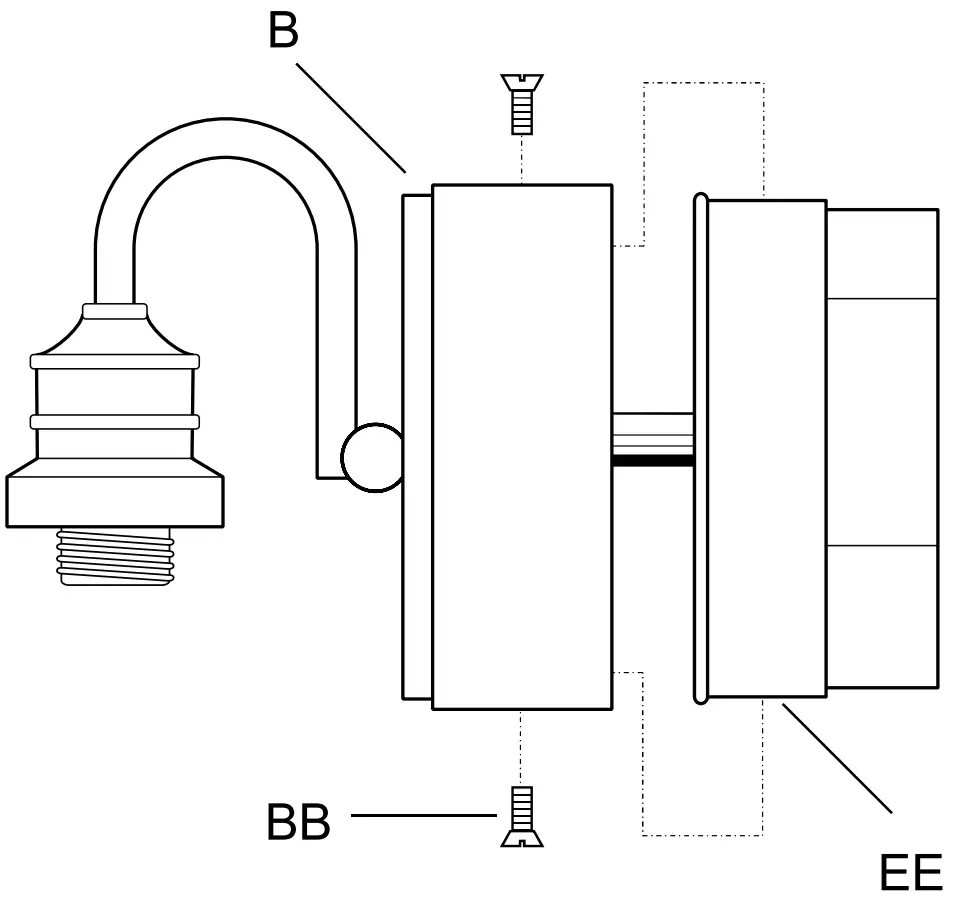
AA | Wire Nut | 3 |
| BB | Fixture Screw | 2 |
CC | Mounting Screw | 2 |
| DD | Socket Ring | 1 |
EE | Mounting Bracket | 1 |
| FF | Socket Tool | 1 |
PACKAGE CONTENTS

Part | Description | Quantity |
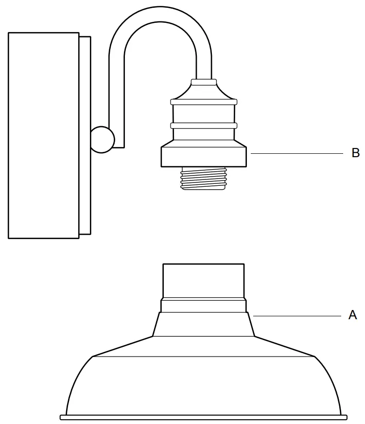
A | Shade | 1 |
| B | Fixture Body | 1 |
Installation
Attaching the mounting bracket

- Pull the supply wires out from the outlet box and mount the mounting bracket (EE) to the outlet box using the mounting screws (CC)
Connecting the wires
![]() | NOTE: If you have electrical questions consult your local electrical code for approved grounding methods. |

- Connect the black supply wire to the black fixture wire using a wire nut (AA).
- Connect the white supply wire to the white fixture wire using a wire nut (AA).
- Loop the supply ground wire around the ground screw on the mounting bracket and tighten it in place.
- Connect the fixture ground wire to the supply ground wire using a wire nut (AA).
- Wrap all wire connections with electrical tape for a more secure connection.
Securing the fixture

- Place the fixture body (B) onto the mounting bracket (EE).
- Attach the fixture body (B) to the mounting bracket (EE) using the Fixture screws (BB).
Assembling the fixture
![]() | NOTE: Do not exceed a 60 watt incandescent light bulb or equivalent CFL or LED bulb. |

- Place the steel shade (A) over the socket on the fixture body (B). Use socket tool (FF) to tighten the ring (DD) and secure the shade (A) in place.
- Screw a bulb into the socket on the fixture body (B).
Operation
- Turn on power at the circuit breaker or fuse box.
- Turn the light switch on to activate the fixture.
Care and Cleaning
![]() | NOTE: Do not use any cleaners with chemicals, solvents, or harsh abrasives. Use only a dry soft cloth to dust or wipe carefully |
EXTERIOR MAINTENANCE
- Use a dry or slightly dampened clean cloth and wipe the surface of the fixture
INTERIOR MAINTENANCE
- Disconnect power to the fixture by turning off the circuit breaker or by removing the fuse at the fuse box.
- Use a dry or slightly dampened clean cloth to wipe the interior surface of the fixture.
Troubleshooting
| Problem | Solution |
| The light will not turn on. |
|
| The fuse blows or circuit breaker trips when light is turned on. |
|
Questions, problems, missing parts? Before returning to the store, call Hampton Bay Customer Service
8 a.m. – 7 p.m., EST, Monday – Friday, 9 a.m. – 6 p.m., EST, Saturday
1-855-HD-HAMPTON
HAMPTONBAY.COM
Retain this manual for future use.















