DAKE 988040 Work A-Matic Bandsaw

Product Information
The Dake Corporation Vertical Bandsaw is a powerful and versatile machine designed to make cutting metal and other materials easy and efficient. The bandsaw features a range of parts and accessories that work together to provide a precise and accurate cutting experience. The product comes with an exploded view and parts list to help users identify and order replacement parts.
Parts List
The parts list for the Dake Corporation Vertical Bandsaw includes the following:
- Tension Handle Assembly (716716)
- Door Latch (86747)
- C-Clamp Assembly (716714)
- Angle Plate with Pin (716703)
- Return Handle (86782)
- Knob, Return Handle (300450)
- Caster Set – Optional (716725)
- Blade Guard (87093)
- Gear Assembly Parts (various part numbers and quantities)
- Stud, Upper/Lower Wheel (86804)
- Retaining Ring, Blade Wheel (300466)
- Wheel Assembly (Includes items: 52, 60, 62, 65 & 69) (716705)
- Wheel Guard (87065A)
- Motor & Gearbox Pulley – 5/8 Pulley Bore – Newer Style 2022 (10042-10)
- Pulley Guard Assembly (300685)
- Washer, Angle Plate (43632)
- Lever Link Weight (86835)
Order Information
Parts for the Dake Corporation Vertical Bandsaw can be purchased directly from Dake or through a distributor. When placing an order, customers will need to provide the part number, name of the part, and model number. All parts are shipped F.O.B. Factory in Grand Haven, MI.
Product Usage Instructions
- Before using the Dake Corporation Vertical Bandsaw, ensure that all parts are properly assembled and in good working condition.
- Adjust the blade tension using the Tension Handle Assembly (716716).
- Open the door using the Door Latch (86747) and place the material to be cut on the table.
- Secure the material in place using the C-Clamp Assembly (716714).
- Adjust the angle of the material using the Angle Plate with Pin (716703).
- Close the door and turn on the machine.
- Use the Return Handle (86782) and Knob (300450) to adjust the blade position and make the cut.
- If desired, use the optional Caster Set (716725) to move the machine to a different location.
- After use, turn off the machine and clean any debris from the blade and table.
Note: Always follow appropriate safety measures when using the Dake Corporation Vertical Bandsaw, including wearing protective gear and avoiding loose clothing or jewelry that could become caught in the machine.
EXPLODED VIEWS & PARTS LISTS

| Item | Part Number | Description | Qty |
| A | 716716 | Tension Handle Assembly | 1 |
| B | 86747 | Door Latch | 1 |
| C | 716714 | C-Clamp Assembly | 1 |
| D | 716703 | Angle Plate with Pin | 1 |
| E1 | 716815 | New Style Complete Electrical Kit – 1 ph 110 volt | 1 |
| E2 | 716816 | New Style Complete Electrical Kit – 1 ph 220 volt | 1 |
| E3 | 716817 | New Style Complete Electrical Kit – 3 ph 230 volt | 1 |
| E4 | 716818 | New Style Complete Electrical Kit – 3 ph 460 volt | 1 |
| F | 86782 | Return Handle | 1 |
| G | 300450 | Knob, Return Handle | 1 |
| H | 716725 | Caster Set – Optional | 1 |
| I | 87093 | Blade Guard | 1 |
Gear Assembly Parts List

| Item | Part Number | Description | Quantity |
| 716712A | Gearbox Assembly – 5/8” Pulley Bore – Newer Style 2022 | 1 | |
| 716712 | Gearbox Assembly – 3/4” Pulley Bore – Older Style | ||
| 300472 | Bearing, Seal | 2 | |
| 300490 | Gasket, Gearbox | 1 | |
| 300491 | Gasket, Gearbox | 4 | |
| 300589 | Dowel Pin 3/16 x ½ | 2 | |
| 43412 | Screw, Soc Cap | 16 | |
| 43414 | Screw, Soc Cap | 6 | |
| 43590 | Screw, Soc Set | 3 | |
| 86820 | Bearing Cover, Small/hole | 2 | |
| 86821 | Bearing Cover, Small | 2 | |
| 86822 | Gearbox Casting | 1 | |
| 86823 | Cover, Gearbox | 1 | |
| I | 300666 | Gear, Worm 40T Bronze | 1 |
| J | 86784 | 80 Tooth Gear | 1 |
| K | 300456 | Worm, 4-Lead | 1 |
| L | 300646 | 24 Tooth Gear | 1 |
| M | 5072-00 | Bearing, Gearbox | 2 |
| N | 5073-00 | Bearing, Gearbox | 2 |
| O | 86785AP | Shaft, Main Drive – 5/8” Pulley Bore – Newer Style 2022 | 1 |
| O | 86785P | Shaft, Main Drive – 3/4” Pulley Bore – Older Style | 1 |
| P | 86781P | Axle, Gearbox-Short | 1 |
| Q | 86783 | Spacer, Gearbox 1-1/4 | 1 |
| R | 86786 | Spacer, Gearbox | 1 |
| S | 300449 | Key, Woodruff #13 | 2 |
| T | 300451 | Key, Woodruff #5 | 1 |

| Item | Part Number | Description | Quantity |
| U | 43450 | Cap Screw | 2 |
| V | 86827 | Wheel Slide Tension Mounting block | 1 |
| W | 10117-00 | Tension Screw | 1 |
| X | 43447 | Cap Screw | 6 |
| Y1 | 86824 | Wheel Slide – External piece | 1 |
| Y2 | 86825 | Wheel Slide Adjustment – Internal piece | 1 |
| Z | 86826 | Rail Wheel Slide | 2 |
| AA1 | 43922 | Nut | 1 |
| AA2 | 43638 | Washer | 1 |
| BB1 | 43452 | Soc Cap Screw 3/8-16 x 1-3/4 | 4 |
| BB2 | 43632 | Washer 5/16” flat | 4 |
| CC | 43591 | Set Screw 3/8-16 x 1 | 1 |
| DD | 86810 | Guide Bar Holder | 1 |
| EE | 300832 | Knob Assembly 1-1/2” | 1 |
| FF | 70287 | Roll pin | 2 |
| GG | 43451 | Cap Screw | 2 |

| Item | Part Number | Description | Quantity |
| N/A | 86806B | Contour Insert, Brass, Large (1/2”) | 1 |
| N/A | 86807B | Contour Insert, Brass, Small (1/4”) | – |
| N/A | 86792 | Contour Guides (Casting) | – |
| N/A | 86808 | Contour Insert Holder | – |
| N/A | 86806A | Carbide Inserts, Set of 2 (1/2”) | – |
| N/A | 86807A | Carbide Inserts, Set of 2 (1/4”) | – |
| N/A | 716723 | Counterweight Assembly | 1 |
| N/A | 86832 | Feedweight | 1 |
| N/A | 716709 | Hydraulic Cylinder – OLD STYLE – Machines before 9/27/02. OBSOLETE – Must retrofit new style 716769 | – |
| N/A | 300867A | Hydraulic Cylinder – NEW STYLE with retrofit kit. For machines after 9/27/02. | – |
| N/A | 300505 | Reservoir, Hydraulic Cylinder (1oz.) OLD STYLE | – |
| N/A | 300510 | Reservoir, Hydraulic Cylinder (2oz.) OLD STYLE | – |
| N/A | 716754 | Cylinder Rebuild Kit – OLD STYLE | – |
| N/A | 300598 | Shoulder Bolt, Hydraulic Cylinder | – |
| N/A | 86836 | Eccentric Roller Gravity Feed | 2 |
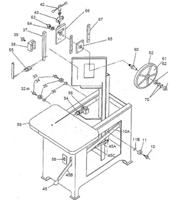
| 10 | 86816 | Stud Flat Track | 1 |
| 10A | 86852 | Flat Track Rail | 1 |
| 11 | 300471 | Bearing Flat Track W204 | 1 |
| 11A | 86839 | Flat Track Roller Spacer | 1 |
| 32 | 300477 | E-Clip | 1 |
| 33 | 86837 | Stud Lever Weight | 1 |
| 34 | 86819 | Stud Grooved Roller | 1 |
| 35 | 716706 | Roller with Groove & Bearing | 1 |
| 36 | 86838 | Spacer Gravity Feed (3/8) | 2 |
| 37 | 86815 | Guide Support Bar – STD | – |
| 37 | 86817 | Guide Support Bar – SXC, XC (Current) | 1 |
| 38 | 86810 | Guide Bar Holder | 1 |
| 39 | 300832 | Guide Bar Lock Knob | 2 |
| 40 | 86813 | Swivel Guide Bar Support | 1 |
| 42 | 716716 | Tension Handle Assembly | 1 |
| 43 | 86827 | Pillow Block | 1 |
| 44 | 86828 | Tension Handle Body | 1 |
| 44A | 43634 | Tension Handle Washer | 1 |
| 44B | 10117-00 | Tension Screw | 1 |
| 45 | 300450 | Return Handle Knob | 1 |
| 45A | 86841 | Return Handle Link | 1 |
| 45B | 86782 | Return Handle | 1 |
| 45C | 43777 | Return Handle Shoulder Bolt (1/2 x 1/2) | 3 |
| 45D | 24565 | Return Handle Axle Bolt (1/2-13 x 3” SHCS) | – |
| 45E | 86839 | Return Handle Spacer (1/4) | 2 |
| N/A | 86798 | Motor Mounting | 1 |
| N/A | 86800 | Motor Mounting Block | 2 |
| 52 | 300459 | Band, Blade Wheel | 2 |
| 53 | 10025-01 | Roll Guide Bearing | 4 |
| 54 | 87087 | Roll Guide (1”) | – |
| 54 | 86809 | Roll Guide (3/4”) | 4 |
| 54A | 716717 | Upper/Lower Roll Guide Assembly (Includes items 53, 54 (3/4”), 55, 56A, and screw) | 1 |
| 55 | 86811 | Guide Roller Holder | 2 |
| 56 | 86805 | Guide Roller Pillow Block | 1 |
| 56A | 86814 | Eccentric Lower Guide | 2 |
| 56B | 86812 | Pin, Lower Guide Rolls | – |
| 57 | 86791 | Frame Stop | 1 |
| 58 | 300832 | Stop Weight Knob | 1 |
| 59 | 86796 | Work Table | 1 |
| 60 | 86803 | Axle, Upper/Lower Wheel | 2 |
| 62 | 86795 | Blade Wheel | 2 |
| 63 | 78650 | Washer | 2 |
| 64 | 300651 | Nut | 2 |
| 65 | 300693 | Wheel Bearing (6205) | 4 |
| 66 | 86824 | Wheel Slide | 1 |
| 67 | 86826 | Rail, Wheel Slide | 2 |
| 68 | 86825 | Wheel Slide Adjustment | 1 |
| 69 | 86804 | Stud, Upper/Lower Wheel | 2 |
| 70 | 300466 | Retaining Ring, Blade Wheel | – |
| N/A | 716705 | Wheel Assembly (Includes items: 52, 60, 62, 65 & 69) | 2 |
| N/A | 87065A | Wheel Guard | 1 |
| N/A | 10042-10 | Motor & Gearbox Pulley – 5/8” Pulley Bore – Newer Style 2022 | 2 |
| N/A | 10043-10 | Motor Pulley – 3/4” Pulley Bore – Older Style | 1 |
| N/A | 300473 | Gearbox Pulley – 3/4 Pulley Bore – Older Style | 1 |
| N/A | 300685 | Pulley Guard Assembly | 1 |
| N/A | 303971 | V-Belt – 5/8” Pulley Bore – Newer Style 2022 | 1 |
| N/A | 300522 | V-Belt – 3/4” Pulley Bore – Older Style | 1 |
| N/A | 43632 | Washer, Angle Plate | 1 |
| N/A | 86835 | Lever Link Weight | 1 |
ORDER INFORMATION
- Please contact factory for current prices
- Parts are available for direct purchase from Dake or through a distributor. When placing a parts order, you will need to provide the part number, name of part, and model number. All parts shipped F.O.B. Factory in Grand Haven, MI.
- If a customer has any questions or concerns regarding a Dake product that was purchased, please email customer service at [email protected]
ABOUT COMPANY
- Dake Corporation 1809 Industrial Park Dr Grand Haven, MI 49417
- www.dakecorp.com



















