DAKE 316798 Technics 250 Manual Cold Saw Instruction Manual
SPECIFICATIONS
| Model | Technics 250 | Maximum feed vise opening | 4” |
| Number | 974250E-1 | Slotting | No |
| Voltage | 110V | Maximum angle | 45° right/ left |
| Phase | 1 | Weight | 378 lbs |
| Horsepower | 1.2 | Work Height | 37” |
| Speeds | 44 rpm | Height | 61” |
| Max blade diameter | 10” | Base | 22” x 36” |
CUTTING CAPACITY
| ![]() | ![]() | ![]() | |
| 0° | 1-1/8” | 2-3/4” | 2-1/2” | 3-1/2” x 1-3/4” |
| 45° | 1” | 2-3/8” | 2-1/8” | 2-1/2” x 2” |
In the space provided record the serial number and model number of the machine. If contacting Dake this information must be provided to assist in identifying the specific machine
| Serial No. | |
| Model No. | |
| Date Purchased: |
SAFETY
This is the safety alert symbol. When you see this symbol on your machine be alert to the potential for personal injury.
Carefully read all safety messages in these instructions and on your machine safety signs. Keep safety labels in good condition. Replace missing or damaged labels.
Employer is responsible to perform a hazard/PPE assessment before work activity
WARNING: This product contains Nickle, a chemical known to the State of California to cause cancer. For more information go to www.P65Warnings.ca.gov
Additional Safety Warnings:
- This machine is intended to be operated by one person. This person should be conscious of the machine movement not only for themselves but also for persons on the immediate area of the machine.
- This machine has been built to comply with national accident prevention regulations. Improper use and/or tampering with the safety devices will relieve the manufacturer of all responsibility.
- Check that the voltage indicated on the plate, normally fixed to the machine motor, is the same as the line voltage.
- Check the efficiency of your electric supply making sure the machine has its own grounded circuit.
- Do not operation machine without safety guards or with the electrical panel cover removed.
- Always disconnect the machine from the power socket before changing the disk or carrying out any maintenance job, even in the case of abnormal machine operation.
- Do not operate this machine without the handle and/or handle switch disconnected.
- Always wear OSHA approved safety glasses when operating this machine.
- Never put your hands or arms into the cutting area while the machine is operating.
- Do not shift or move machine while the machine is in operation.
- Do not wear loose clothing with sleeves that are too long, gloves, bracelets, rings, watches, chains, or any other object that could get caught in the machine during operation; tie back long hair.
- Keep the machine bed free from tools or any object, while the machine is in operation.
Locations of shields:
- Metal shield screwed onto the disk head. (REF. A)
- Self-regulating mobile blue plastic shield fitted coaxially with the fixed shield. (REF. B)
- Black plastic cover, covering the electrical supply box.

Electrical Equipment:
According to European Standard “CENELEC EN 60 204-1” which simulates modification, publication (IED 204-1)
- The electrical equipment ensures protection against electric shock as result of direct or indirect contact. The active parts of this equipment are housed in a box so that access is limited. The screws can only be removed with a standard screwdriver.
- This equipment is protected against splashes of water and dust.
- This machine has been tested in conformity with EN 60204.
SET UP
TRANSPORTING AND MOUNTING
When you receive your machine, you will need a forklift for transporting. When lifting the machine, a sling needs to be used.
Position the machine on a firm cement floor, keeping a minimum distance from 2-1/2 feet from any wall.
ASSEMBLING THE MACHINE
The following parts will be with your machine upon receiving: Handle and stock stop.
Removing the shipping bolt and screw the handle in the hole. There is a white plug that comes out of the handle, plug this into its receptacle located on the side of the electrical box. There is a lever in this attachment, move it to the closed position.
ELECTRICAL CONNECTION
Before connecting the machine to the main power, make sure that the installation has a disconnected box.
The machine is not equipped with an electrical plug, the customer must provide a suitable plug for the machine. See diagram below for wire connection. (Green/Yellow wire = Ground)
CHOOSING A BLADE
First the pitch of the teeth must be chosen, suitable for the material to be cut, according to these criteria:
- Parts with a thing and/or variable section such as profiles, pipes, and plates, need fine toothing, so the number of teeth used simulations cut.
- Parts with solids sections need wide spread toothing penetration.
- Material made of soft plastic, light alloys and mild bronze also require coarse toothing.
- Attached to the on/off switch on the machine you will find a blade pitch calculator (part number 71756) with instructions on how to use.
OPERATION
Use recommendations:
- This machine has been designed to cut metal building materials with different shapes, profiles used in workshops and mechanical structural work.
- Only one operator is needed to use the machine.
- Before starting each cutting operation, ensure that the part is firmly gripped in the vice and that the end is suitably supported.
- Do not use cutting blades of a different size from those states in the cutting capacity section.
- If the cutting blade gets stuck in the work piece, release the blade ON button immediately, switch off the machine and open the vise slowly. Remove the part and make sure that the cutting blade and/or teeth are not damaged or broken.
- Before carrying out any repairs on the machine, consult the distributor or DAKE.
STARTING THE SAW

- Mix the coolant that comes with the machine at a 10:1 ratio. Add about a half-gallon of mixed coolant in the machine bed.
- Place material to be cut in the vice (1) and clamp the material in place by turning the hand wheel (2) clockwise.
- Turn the power switch clockwise to the on position.
- Be sure that the blade is rotating in the correct direction indicated (the blade will rotate clockwise, be sure the blade is on correctly, also see “changing the blade”) and check to make sure the coolant is on.
- When the machine is now ready to cut the material. Keep in mind that the cutting speed and the type of blade, combined with a suitable descent of the head are important for cutting quality and machine performance.
- When starting to cut with a new blade, be sure to take out the back lash (see “changing the blade”) on the blade in order to safeguard the blade life and efficiency. The first two or three cuts must be made while exerting a slight pressure on the part, so that the time taken to cut is about double the normal time.
- Grip the handle and press the button, slowly move the head in the down position and begin to cut the material. When you are done cutting the material, release the blade and move the head in the up position
CHANGING THE BLADE
Refer to the pictures below for part identifications.
WARNING! Before changing the blade, electrical supply must be LOCKED OUT!
Always use gloves while handling loose blades.

- Move the head of the saw into its upright position.
- Using a 5mm hex wrench to remove the safety guard bolt and move the safety guard back out of the way.
- Using a 10mm hex wrench, turn the blade bolt clockwise to loosen. When loosened completely remove the blade bolt and flange that holds the blade on.
- This is a left-hand threaded bolt, to loosen clockwise turning is required.

- This is a left-hand threaded bolt, to loosen clockwise turning is required.
- Take off the old blade.
- Clean both sides of the flange that are on either side of the blade and return the inside flange to its place.
- Clean all surfaces of the new blade before putting the new blade on.
a. Make sure the teeth are in the downward position, and blade turns clockwise.
b. Line up the holes of the blade with the flange pinholes of the first flange half - Making sure the flange pins are lined up with the pinholes through the blade put the second half of the flange back on to hold the blade in place.
- Start to thread the blade bolt back on.
- While tightening the blade bolt (counter-clockwise to tighten), pull the blade up in reverse direction and hold it in place as tightening the bolt until it is secure.
a. This is important to remove the back lash. - Return safety guard back in position and secure it by screwing the safety guard bolt back in to place.

MAINTENANCE
Before performing any maintenance ensure that the machine is LOCKED OUT and unplugged.
Special maintenance operations must be carried out by skilled personnel. However, we advise contacting DAKE. The term special maintenance also covers resetting of protection/safety equipment and devices.
DAILY MAINTENANCE
- Check/fill coolant.
- Check blade wear.
- Check functionality of safety shields.
- Make sure emergency stops are working properly.
- General cleaning and removal of accumulated material.
- Move head to the full upright position when not in use, helps avoid stress on the return spring.
WEEKLY MAINTENANCE
- Sharpen blade.
- Clean blade housing.
- Make sure the gearbox is full of oil.
- Check power chord for any damage.
- Clean and grease the screw and sliding guide vice.
MONTHLY MAINTENANCE
- Check tightness of the screws on the motor, pump, jaws, and safety guard.
- Check safety shields are not broken.
- Grease the head hinge pin.
SIX MONTH MAINTENANCE
- Change gear box oil.
- Flush coolant tank. This can be done by removing the tank cover on the back of the tank. And remove the filter screen on the deck of the saw.
- Check all electrical components and connections in the electrical box. Saw vibration may have loosened items wires or connections.
- Change the gearbox fluid. Drain all oil out and wipe down box and all gears before refilling. Use 90 weight synthetic gear oil.
CHANGING THE GEAR BOX OIL
80/90 Synthetic Gear Oil, we recommend MOBIL SHC635.
Refer to pictures below for further help.
- Disconnect machine from its power supply.
- Remove the handle and the plug coming out of the handle that goes to the electrical box.
- Use a bucket to collect the old oil; unscrew sight level gauge drain the oil into the bucket.
- Once all oil is drained screw the bolt back in.
- Using the hole where the handle was connected pour in oil until it is visible half way up the sight level gauge.
- Screw the handle back on and reconnect the plug.
- Follow local rules and regulations to dispose of oil properly.

TROUBLESHOOTING
| SYMPTOM | CAUSE | SOLUTION |
| Tooth Breakage | Too fast of an advance on the material | Decrease the level of downward feed |
| Wrong cutting speed | Change the blade speed or the diameter of the blade | |
| Wrong tooth pitch | Use the blade calculator to determine the correct pitch or consult your blade provider | |
| Low quality and/or dull blade | Speak with blade provider and sharpener | |
| Poor clamping pressure causing the part to move | Check the material for tightness before cutting | |
| Check the condition of the jaw faces | ||
| Insufficient coolant or incorrect type of coolant | Check the level of coolant in tank and increase the flow of coolant. | |
| Talk to your coolant provider | ||
| Premature Blade Wear | Wrong blade being used | Use the blade calculator to determine the correct pitch or consult your blade provider |
| Wrong cutting speed or feed | ||
| Insufficient coolant or incorrect type of coolant | Check the level of coolant in tank and increase the flow of coolant | |
| Talk to your coolant provider | ||
| Blade sticks in the cut | Too fast of an advance on the material | Decrease the level of downward feed |
| Cutting speed too slow | Increase blade speed | |
| Wrong blade | Use the blade calculator to determine the correct pitch or consult your blade provider | |
| Stick accumulation of material on blade | Use a higher quality of blade | |
| Check the blend of coolant | ||
| Insufficient coolant | Check the level of coolant in tank and increase the flow of coolant | |
| Talk to your coolant provider | ||
| SYMPTOM | CAUSE | SOLUTION |
| Control power indicator light does not work | Bad fuses | Check and/or change fuses |
| Faulty power supply | Check incoming power | |
| Short circuit | Test for short and repair | |
| Bad light bulb | Replace light bulb | |
| Speed switch is off | Turn switch to desired speed | |
| Emergency switch is depressed | Pull switch out and make sure contacts are operating | |
| Thermal overload tripped | Wait 10-15 for motor to cool, check for continuity on the two thermal overload wires, if none, change motor or it have rewound | |
| Transformer | Check the incoming and the outgoing voltages which should be 24 volts | |
| Auxiliary Relay | Check voltages to relay terminals, should be 24 volts. If not check for loose wires, if none relay should be replaced | |
| Motor will not work bit the indicator light is on | Socket and/or plug connecting the switch handle to the electrical box | Check the plug connections and the wire connections inside the handle switch |
| Switch inside the handle | Make sure the switch makes the connection when pressed | |
| Main connection | Make sure there is incoming power and outgoing when the handle switch is made, no shorts if so, change the connector | |
| Motor | Check to see if it spins freely and it is not burnt, may need to be changed or rewound. Check to see if it is receiving voltage from the connector. |
EXPLODED VIEW

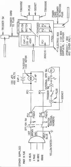
ELECTRICAL DIAGRAM

PART LIST
| Item | Part Name | Part No. |
| 42 | Handgrip | 44600001 |
| 43 | O-Ring (ID 30mm x OD 40mm) | 86001049 |
| 44 | Oil Plug | 88302002 |
| 45 | Spindle | AFC10010 |
| 47 | Drive Pins | AFC10013 |
| 48 | Blade Flange | AFC10011 |
| 49 | Socket Cap Screw (M12-1.75 x 35mm) | S1110136 |
| 50 | Fixed Upper Blade Guard | AGC20085 |
| 51 | Set Screw (M6 x 10mm) | 78828 |
| 52 | Coolant Nozzle | AFC10091 |
| 53 | Lower Blade Guard | AHC20086 |
| 54 | External Snap Ring | 82600000 |
| 55 | Blade Guard Mounting Pin | AF190092 |
| 56 | Socket Cap Screw (M6 x 12mm) | 80625 |
| 57-60 | Blade Guard Support | AFC10088 |
| 61 | Elastic Pin (Ø 5mm) | 82504189 |
| 62 | Socket Cap Screw (M8-1.25 x 20mm) | 80521 |
| 63 | Worm Gear | ABC10016 |
| 64 | Socket Cap Screw (M8-1.25 x 20mm) | 80521 |
| 119 | Bearing | 84500001 |
| 120 | Vice Jaw Washer | AFB80033 |
| 121 | Pin (Ø6mm x 36mm) | 82504217 |
| 122 | Vice Handwheel | 47100000 |
| 124 | Washer (8.5mm ID x 21mm OD) | 82100000 |
| 125 | Vice Cam Lever Spring | AFB80035 |
| 126 | Vice Screw | 99300126 |
| 127 | Anti-Burr Arm | 302961 |
| 131 | Remote Control Switch | 302961 |
| 132 | Fuse Holder | 73142005 |
| 133 | Transformer 30VA | 73327011 |
| 134 | Socket Connector | 73600005 |
| 135 | Plug Connector | 73600052 |
| 136 | Main Power Shut Off | 70201011 |
| 137 | Reset Button | 716812 |
| 138 | Emergency Stop | 716538 |
| 139 | Electrical Box | 230E0017 |
| 140 | Electrical Box Cover | N/A |
| – | Motor, 110V Single Phase | 302933 |
| – | Hex Socket Plug | 302020 |
DAKE STANDARD LIMITED WARRANTY
Finished Machines
Dake warrants to the original purchaser the finished machine manufactured or distributed by it to be free from defects in material and workmanship under normal use and service within 1 year (12 months) from the delivery date to the end user.
Parts
Dake warrants to the original purchaser the component part manufactured or distributed by it to be free from defects in material and workmanship under normal use and service within 30 days from the delivery date to the end user. The standard limited warranty includes the replacement of the defective component part at no cost to the end user.
Sale of Service (Repairs)
Dake warrants to the original purchaser the component part repaired by Dake Corporation at the manufacturing facility to be free from defects in material and workmanship under normal use and service within 90 days from the return date to the end user, as it pertains to the repair work completed. The standard limited warranty includes repair of the defective component part, at no cost to the end user.
Warranty Process
Subject to the conditions hereinafter set forth, the manufacturer will repair or replace any portion of the product that proves defective in materials or workmanship. The manufacturer retains the sole right and option, after inspection, to determine whether to repair or replace defective equipment, parts or components. The manufacturer will assume ownership of any defective parts replaced under this warranty.
All requested warranty claims must be communicated to the distributor or representative responsible for the sale. Once communication has been initiated, the Warranty Representative at Dake Customer Service must be contacted for approval:
Phone: (800) 937-3253
Email: [email protected]
When contacting Dake, please have the following information readily available: – Model # – Serial # – Sales Order #
Purchasers who notify Dake within the warranty period will be issued a Case number and/or a Return Material Authorization (RMA) number. If the item is to be returned per Dake’s request, the RMA number must be clearly written on the exterior packaging. Any item shipped to Dake without an RMA will not be processed.
Warranty Exceptions:
The following conditions are not applicable to the standard limited warranty:
- Part installation or machine service was not completed by a certified professional, and is not in accordance with applicable local codes, ordinances and good trade practices.
- Defects or malfunctions resulting from improper installation or failure to operate or maintain the unit in accordance with the printed instructions provided.
- Defects or malfunctions resulting from abuse, accident, neglect or damage outside of prepaid freight terms.
- Normal maintenance service or preventative maintenance, and the parts used in connection with such service.
- Units and parts which have been altered or repaired, other than by the manufacturer specifically authorized by the manufacturer.
- Alterations made to the machine that were not previously approved by the manufacturer, or that are used for purposes other than the original design of the machine.
RETURN & REFUND POLICY
Thank you for purchasing from Dake! If you are not entirely satisfied with your purchase, we are here to help.
Returns
All Dake manufactured / distributed machines and parts include a 30-day return option. These policies are valid from the date of final shipment to the end user.
To be eligible for a return, the item must be unused and in the same condition as received.
All requested warranty claims must be communicated to the distributor or representative responsible for the sale. Once communication has been initiated, Dake Customer Service must be contacted for approval by the distributor or representative:
Phone: (800) 937-3253
Email: [email protected]
Once the return request has been approved by Customer Service, a representative will supply a Return Material Authorization (RMA) number. The returned item must have the provided RMA number clearly marked on the outside packaging. Any item received without an RMA number clearly visible on the packaging will not be processed. An RMA number can only be provided by the Dake Customer Service team and must be obtained prior to the return shipment.
The item must be shipped and received back to Dake within 30 days from being issued the RMA number, or the return will be void and nonreturnable.
Refunds
Once the item has been received and inspected for damages, a representative will notify the requestor referencing the provided RMA number.
If the return is approved, a refund will be issued to the original method of payment, less a 20% restocking fee. The restocking fee may be waived if an order is placed at the time of return with like-value merchandise.
Transportation costs are the responsibility of the end user and will not be credited upon return approval.
Any item that is returned after the initial 30 days or has excessive/obvious use will not be considered for a full refund.
DAKE STANDARD TERMS & CONDITIONS OF SALE
All proposals and quotations for the original sale of our products are subject to the following terms and conditions:
ACCEPTANCE OF ORDER: All orders are subject to acceptance by Dake at its main office in Grand Haven, Michigan.
APPLICABLE LAWS: This quotation or acceptance shall be governed in all respects by the laws of the State of Michigan.
CANCELLATION: We reserve the right to cancel and/or refuse to complete your order if, in our opinion, you have not established credit to promptly meet the payment terms of your order. Any cancellation from the Purchaser may be subject to a 10% cancellation fee for any of our standard machinery and/or component parts upon the discretion of Dake. All nonstandard or special quotes will not be eligible for cancellation, nor returns.
DELIVERY: The proposed shipment date is an estimate and is contingent upon causes beyond Dake’s control. Under no circumstances shall Dake have any liability for loss of use or for any direct or consequential damages resulting from delay. All shipments from the Dake facilities are F.O.B.
FREIGHT CLAIM: Lost or damage freight claims must be submitted to Dake within thirty (30) days of shipment from Dake’s facility. If shipment for order was set up by the Purchaser, Dake is not liable to handle the freight claims.
PERMITS AND COMPLIANCE: Dake shall not be responsible for obtaining any permits, inspections, certifications, or licenses required for the installation or use of the equipment. Dake makes no promise or representation that the equipment or any services to be furnished by Dake will conform to any federal, state, or local laws, ordinances, regulations, codes orstandards.
PRICES: Unless otherwise agreed to in writing, all prices are F.O.B. from our plants in Grand Haven, Michigan, Grand Prairie, Texas, and Riverside, CA. In any event, the quoted prices for component parts become invalid ten (10) days after date of quotation, and machinery may become invalid sixty (60) days after date of quotation. Unless otherwise specified in Dake’s quotation, installation services and final on-site adjustments are not included in the quotation.
TAXES: Prices do not include taxes. If any sales, use or similar tax is payable to Dake in connection with any transaction or part thereof between the Purchaser and Dake with respect to goods delivered, the Purchaser will, upon demand, pay to Dake the amount of any such tax. If you are tax exempt, please include your exemption document when submitting your order.
TERMS OF PAYMENT: Terms of payment are as stated in Dake’s quotation subject to credit approval by our home office. Dake will invoice Purchaser when the equipment is completed and ready for shipment. Payment terms run from invoice date. Purchaser may be required to issue a down payment before production of order, at the discretion of Dake Accounting. For credit card purchases, a 2% processing fee may be applicable to the order. The following states are exempt from the 2% processing fee: CA, CO, KS, OK, TX, FL, NY, CT, MA, and ME.
WARRANTY: If, within a period of one (1) year from date of shipment of the original order, any part of any equipment sold by Dake is defective in material or workmanship and is so found after inspection by Dake, it will be replaced or repaired at the option of Dake, providing the equipment has been given normal and proper usage and is still the property of the original Purchaser. Purchased components such as Micro Drop mist system or the like, installed as a part of Dake equipment are warranted only to the extent of the original Manufacturer’s warranty. Dake is not responsible for any service work performed unless authorized in advance.
THE FOREGOING WARRANTY IS EXCLUSIVE AND IN LIEU OF ALL OTHER WARRANTIES WHETHER WRITTEN, ORAL, OR IMPLIED (INCLUDING ANY WARRANTY OF MERCHANTABILITY OR FITNESS FOR PARTICULAR PURPOSE). UNDER NO CIRCUMSTANCES SHALL DAKE BE LIABLE FOR ANY INCIDENTAL OR CONSEQUENTIAL DAMAGES





















