
Assembly Instructions for combustion air system

HWAM 3110
| A.
| B.
|
| C.
| D.
|
Bottom/rear connection, HWAM 31 10 on a pedestal
- Remove the top plate (1).
- Loosen and remove the bolt (2) that holds the two sides together. Loosen the bolt (3) that holds the left side in a position slightly, but do not remove it. Lift the left side (4) about 10 mm and pull it away from the stove so that it is lifted free of the guide pins in the bottom plate of the stove. Repeat with the right side (5).
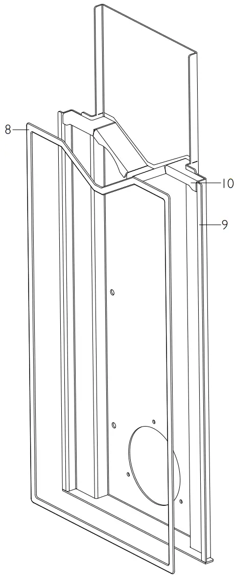
- Loosen and remove the 4 Allen bolts (6) behind the heat shield (7). Lift the heated screen slightly and pull it away from the stove.
- To remove any dirt or grease, wipe the edge of the heat shield (9+10) off with ethanol. Attach the accompanying gasket (8) to the edge of the heated screen (9+10).
- Secure the cover plate (11) to the inside of the heat shield with 3 self-tapping screws M4x 10 mm (12).
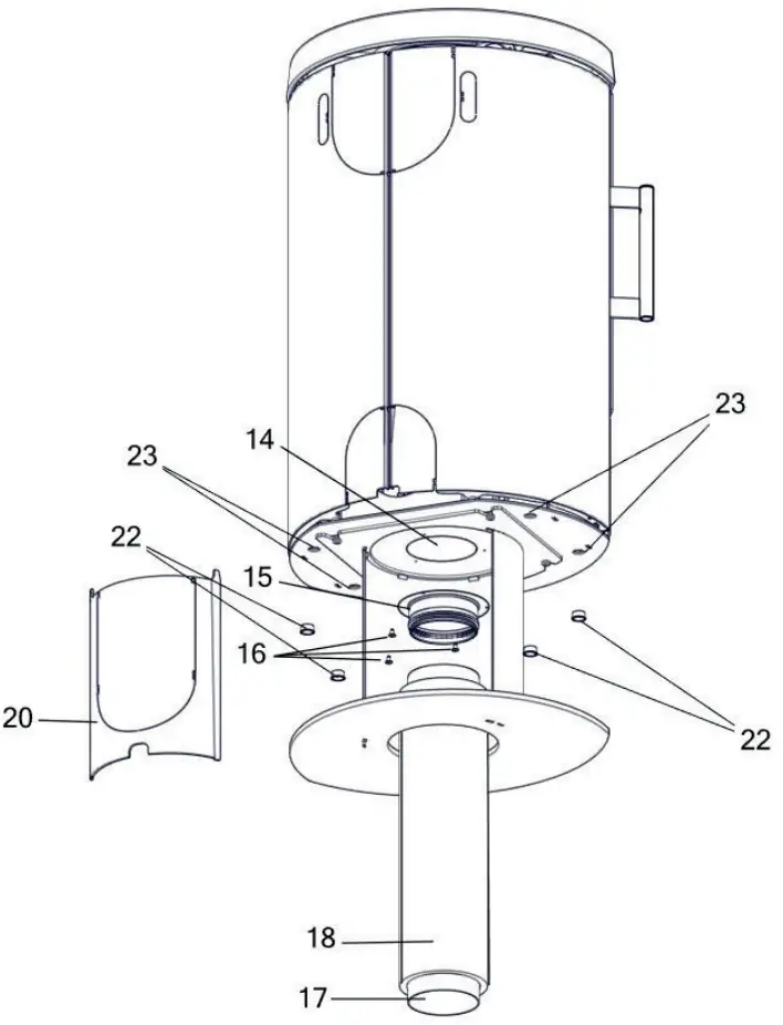
- Remove the rectangular pre-cut plate (13) at the bottom of the rear of the stove by tapping on it with a soft hammer.
- Lift the pedestal rear plate (20) off.
- Remove the pre-cut plate (14) in the bottom plate of the stove by tapping on it with a soft hammer.
- Secure the connector bush (15) to the bottom plate of the stove in the place where you removed the pre-cut plate (14). Use the 3 accompanying self-tapping screws M4,2×9,5 mm (16). Insert and fasten the screw from the bottom of the stove.
- Make sure that the adjustment lever is set to a minimum (anticlockwise). Otherwise, the heat shield cannot be installed. Place the bottom of the heat shield between the stove and the guide pins (19) at the back of the bottom plate on the stove and press it in towards the stove. Secure the heat shield with the 4 Allen bolts (6).
- Place the right side (5) on the guide pins on the bottom plate of the stove and press it in towards the stove. Lift the side and press it lightly inwards until it engages behind the bolt (3) at the top. Secure the bolt (3). Repeat with the left side. Finally, secure the bolt (2) that holds the two sides together.
- Replace the top plate (I) on top of the stove.
- Pull the insulation sleeve (18) onto the Flexi-hose (17) and mount the flex-hose on the connector bush (15), If needed, the insulation sleeve can be attached with a cable fastener.
- If the fresh air supply is connected through the rear, remove the pre-cut plate (21) at the rear of the pedestal by tapping on it with a soft hammer. Connect the fresh air supply and place the rear plate (20) on the pedestal.
- If the fresh air supply is connected through the bottom, make sure the stove is placed in its proper position and connect the fresh air supply. Then place the pedestal rear plate (20) on the pedestal.
- Use the accompanying rubber plugs (22) to close the holes (23) in the bottom plate of the wood-burning stove and seal off the fresh air system.
























