
User’s Manual
3100 Woodburning Stove Designer
![]() | ![]() |
![]() | ![]() |
![]() | |
For UK – The Clean Air Act 1993 and Smoke Control Areas
Under the Clean Air Act local authorities may declare the whole or part of the district of the authority to be a smoke control area. It is an offence to emit smoke from a chimney of a building, from a furnace or from any fixed boiler if located in a designated smoke control area. It is also an offence to acquire an ”unauthorised fuel” for use within a smoke control area unless it is used in an ”exempt” appliance (”exempted” from the controls which generally apply in the Smoke Control Area).
In England appliances are exempted by publication on a list by the Secretary of State in accordance with changes made to sections 20 and 21 of the Clean Air Act 1993 by section 15 of the Deregulation Act 2015. Similarly in Scotland appliances are exempted by publication on a list by Scottish Ministers under section 50 of the Regulatory Reform (Scotland) Act 2014. In Northern Ireland appliances are exempted by publication on a list by the Department of Agriculture, Environment and Rural Affairs under Section 16 of the Environmental Better Regulation Act (Northern Ireland) 2016. In Wales these are Exempted by regulations made by Welsh Ministers.
Further information on the requirements of the Clean Air Act can be found here: https://www.gov.uk/smoke-control-area-rules. Your local authority is responsible for implementing the Clean Air Act 1993 including designation and supervision of Smoke Control Areas and you can contact them for details of Clean Air Act requirements.
The HWAM 3100 stoves detailed below have been recommended as suitable for use in smoke control areas when burning wood logs.
Appliances recommended as suitable for use in Smoke Control Areas :
- HWAM 3110c, HWAM 3110m
- HWAM 3120c, HWAM 3120m
Refuelling on to a low fire bed
If there is insufficient burning material in the firebed to light a new fuel charge, excessive smoke emission can occur. Refuelling must be carried out onto a sufficient quantity of glowing embers and ash that the new fuel charge will ignite in a reasonable period. If there are too few embers in the fire bed, add suitable kindling to prevent excessive smoke.
Fuel overloading
The maximum amount of fuel specified in this manual should not be exceeded, overloading can cause excess smoke.
Operation with door left open
Operation with the door open can cause excess smoke. The appliance must not be operated with the appliance door left open except as directed in the instructions.
Dampers left open
Operation with the air controls or appliance dampers open can cause excess smoke. The appliance must not be operated with air controls, appliance dampers or door left open except as directed in the instructions.
Installation
In general
Congratulations on your new HWAM woodburning stove. We are pleased that you have chosen a HWAM woodburning stove and confident that it will give you much pleasure. To ensure optimum operation and safety, we recommend that the installation should be carried out by an authorised HWAM retailer or a fitter recommended by the retailer. For an overview of HWAM retailers, visit www.hwam.com under “Retailer locations”.
Safety
The installation of your HWAM woodburning stove must always comply with all European, national and local building regulations. The installation must be carried out in accordance with the instructions in the installation and user manuals and subsequently registered with the local authorities. Upon installation, the chimney sweep must approve the installation before you can start using the woodburning stove. All HWAM woodburning stove packaging material must be handled in accordance with local waste management regulations.
Room requirements
It is required to have an approved CO monitor in the same room as the wood burning stove. Always ensure a supply of fresh combustion air to the room where the stove is to be installed. The woodburning stove uses approx. 6-23 m³ of air per hour. A window that can be opened or an adjustable air valve will be sufficient. It must not be possible to block the adjustable air valve/grate. In newly built/airtight dwellings, we recommend that a fresh air system should be installed for the direct supply of external air to the combustion. This fresh-air system may be bought separately. Before installing the stove, you must ensure that the load-bearing capacity of the floor can withstand the weight of the stove and the chimney. The weight of the chimney should be calculated according to its dimensions and height.
Technical measures and data
| Test results from nominal test EN 13240 | |
| Nominal heating effect | 4.8 kW |
| Flue gas temperature EN 13240 measurement point | 241ºC |
| Flue gas temperature measured in the outlet socket | 289ºC |
| Exhaust gas flow | 5.00 g/s |
| Efficiency | 79 % |
| Annual efficiency (EcoDesign) | 69 % |
| PM | 13 mg/m³ |
| OGC | 60 mg/m³ |
| NOx | 88 mg/m³ |
| CO at 13% O2 | 906 mg/m³ |
| CO at 13% O2 | 0.0725 % |
| Energy efficiency index | 105 |
| Energy efficiency class | A |
The declaration of performance (DoP) can be downloaded from our website, www.hwam.com.
| Model | Weight | Height | Width | Depth |
| HWAM 3110c/3110m | 87 kg/84 kg | 75.5 cm | 47.9 cm | 41.4 cm |
| HWAM 3110c/3110m on a pedestal | 101 kg/98 kg | 105.5 cm | 47,8 cm | 41.3 cm |
| HWAM 3120c/3120m | 107 kg/104 kg | 100.5 cm | 47.9 cm | 41.4 cm |
| HWAM 3130c/3130m | 113 kg/110 kg | 126.0 cm | 47.9 cm | 41.4 cm |
| Heat storage stones, HWAM 3130 | 32 kg |
Floor plate
European, national and local regulations must be observed in terms of the size and thickness of a non-combustible floor covering the floor in front of the combustion chamber opening. Ask your HWAM retailer for assistance. The combustion chamber opening is 34.0 cm wide.
Distance to combustible materials
If HWAM 3110 is placed on a combustible floor, always mount it on a plinth whether or not the floor is covered by a non-combustible material, such as a plate of glass or steel. The plinth is an accessory. Contact your HWAM retailer for more information.
| Min. distances – uninsulated flue gas pipe (drawing A) | HWAM 3110 HWAM 3120 HWAM 3130 |
| 1. Recommended for brick wall | 10 cm |
| 1. For combustible back wall | 12.5 cm |
| 2. For combustible side wall | 25.5 cm |
| 1.To combustible wall, corner installation, 45º | 12.5 cm |
| 3. Distance to furnishings in front | 105 cm |
| 5. For combustible wall, side, in front of the stove | 45 cm |
| Distance to mantel piece | 45 cm |
| Min. distances – insulated flue gas pipe (drawing A) | HWAM 3110 HWAM 3120 HWAM 3130 |
| 1. Recommended for brick wall | 10 cm |
| 1. For combustible back wall | 7.5* cm |
| 2. For combustible side wall | 22 cm |
| 1.To combustible wall, corner installation, 45º | 10 cm |
| 3. Distance to furnishings in front | 105 cm |
| 5. For combustible wall, side, in front of the stove | 45 cm |
| Distance to mantel piece | 45 cm |
*We recommend 10 cm to facilitate service on HWAM® Autopilot™
For wall-mounting, HWAM 3110 must be placed at least 8 cm above any combustible flooring.
This also applies to any floorboard placed on the floor.
Remember to pay attention to the applicable regulations concerning the required distance between the wall and smoke pipe.
The distance to a brick wall is set to faciliate the servicing of the HWAM® Autopilot™. HWAM 3110 may be mounted with wall fittings only on a brick wall. The stove must be taken down when the HWAM® Autopilot™ is to be serviced.
Please be aware that not all glass parts are heat-resistant. For this reason, a glass wall should sometimes be treated as a flammable wall, in which case we ask you to contact your local chimney sweep or glass producer to hear at what distance the stove should be kept from glass.
Requirements for chimney and smoke pipe
The height of the chimney must ensure sufficient draught and prevent any smoke nuisance. As a general rule, satisfactory draught conditions are achieved if the chimney is 4 m above the stove and at least 80 cm above the ridge. If the chimney is placed at side walls, the top of the chimney should always be higher than the ridge or the tallest point of the roof. Always be aware of any national and/or local regulations applying to thatched roofs and the location of the chimneys.
The woodburning stove requires a minimum draught of 12 Pa (measured at EN 13240 measurement point). If measured just above the smoke flue socket, the chimney draught must be 18-20 Pa.
The chimney must have a minimum clearing of Ø125 mm or Ø150 mm. The chimney must be provided with an easily accessible cleaning door. The chimney and flue duct must be of flue class T400 and be CE marked. Furthermore, it must have obtained the classification of G in soot fire testing. The required distance to combustible material must be complied with in accordance with the brand label. Ask your HWAM retailer for further information.
Changing the smoke outlet from top outlet to back outlet (drawing H1)
- Removing the top plate of the stove: lift off the top plate (1).
- Removing the sides: loosen and remove the screw (2) that holds the two sides together. Loosen the screw (3) that holds the left side in position lightly, but do not remove it. Lift up the left side (4) approximately 10 mm and pull it away from the stove to disengage it from the guide pins in the bottom plate of the stove. Repeat on the right side (5).
- Hole for the smoke outlet. There is a cut-out on both sides (6) for the smoke outlet. Break off the plates in these cut-outs to make a hole in both sides that together fit the smoke outlet.
- Removing the heat shield (7): there is a heat shield (7) in front of the back outlet. Break it off and remove it.
- Removing the cover plate (8): remove the cover plate in the back of the stove by unscrewing the three screws (Torx Bit no. 30). The cover plate can now be removed.
- HWAM 3130: Loosen the two screws (10) on each side of the heat storage compartment that support the front plate of the heat storage compartment (11), and remove the front plate.
- Removing the smoke ring (9): remove the smoke ring on top of the stove by unscrewing the three screws. The smoke ring can now be removed.
- Installing the smoke ring (9): place the smoke ring in front of the smoke outlet hole in the back of the stove and secure it with the three screws.
- Installing the cover plate (8): place the cover plate over the smoke outlet hole on top of the stove and secure it with the three screws.
- Installing the sides: place the right side (5) on the guide pins in the bottom plate of the stove and press it in towards the stove. Lift up the side and press it gently inwards until it engages behind the screw (3) at the top. Tighten the screw (3) again. Repeat with the left side. Finally, screw in the screw (2) that holds the two sides together.
- Installing the top plate of the stove: replace the top plate (1) on top of the stove.
- HWAM 3130: Install the front (11) on the heat-storage compartment again.
An accessory top flue blanking plate is available to cover the hole in the stove top plate if the smoke outlet is connected at the rear of the stove.
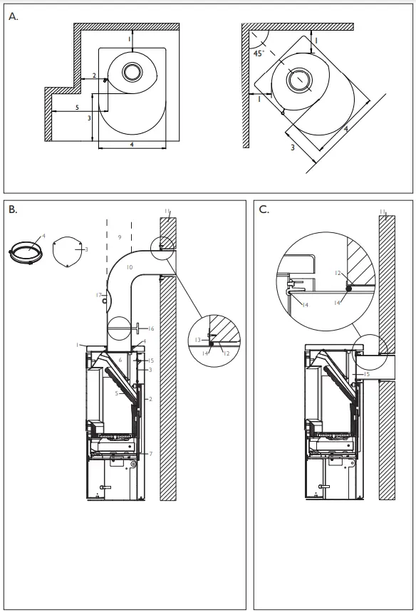
Connection to chimney
All the stoves have both rear and top smoke outlet that can be connected to an approved steel chimney on top or directly out at the rear to a chimney.
Make sure that the chimney is tight and that no false draft is caused around neither the cover plate, in connection with a covered smoke outlet, nor the cleanout door and pipe connections. Please note that bent and/or horizontal smoke pipes will reduce the effect of the chimney draft. Vertical cross-section of smoke flue (Drawing B and C)
B: Top flue outlet
C: Back outlet
- Steel chimney (9).
- Flue gas elbow (10). Fits into smoke flue socket.
- Brick-built jamb of flue (11).
- Built-in pipe sleeve (12). Fits smoke flue.
- Wall rosette (13). Covers disruption to wall around pipe sleeve.
- Joint (14). Sealed with packing material.
- Smoke outlets (15) of the HWAM stove.
- Smoke flue regulating damper (16).
- Soot door (17).
Fitting the loose parts
Before the stove is installed, you must ensure that all loose parts are fitted correctly. Check that all insulation plates of the combustion chamber have been properly placed, i.e. that the bottom plate is horizontal and that the side plates are vertical and reach all the way up to the steel sides of the combustion chamber and down to the bottom plate.
Vertical cross-section of the stoves (Drawing B):
- The top plate of the stove (1).
- Removable rear plate (2). This must always be mounted if the stove is placed next to a combustible wall.
- Back outlet (3). At the factory this is sealed with a cover plate. The smoke outlet is therefore hidden behind the plate.
- Top smoke outlet (4).
- The smoke shelf (5). To be placed on top of the steel rail and on the holders in the sides.
- Two-piece smoke defector plate (6). Each half is hung on the hooks located beneath the top plate.
The two halves join in the holders behind the air pipe. Once the stove has been installed, twist the safety fittings for transportation (drawing G2) off the two hooks by using pliers or a screwdriver. - Loose heat shield (7) under the ash pan. This can be used as a lid when the ash pan is removed for emptying. This must always be mounted when the stove is burning
Chimney
The chimney is the “engine” of the stove and it is crucial for the functioning of the woodburning stove. The chimney draft provides a partial vacuum in the stove. This vacuum removes the smoke from the stove, sucks air through the dampers for the so-called glass pane rinse which keeps the glass free of soot, and sucks in air through both primary and secondary dampers for the combustion. The chimney draft is created by the differences in temperature inside and outside the chimney. The higher the temperature within the chimney, the greater the draft. It is crucial, therefore, that the chimney is warmed up properly before closing the damper and limiting the combustion in the stove (a brick chimney takes longer to warm up than a steel chimney). On days where the weather and wind conditions create insufficient draught inside the chimney, it is even more important to warm up the chimney as quickly as possible. The trick is to quickly get some flames going. Split the wood into extra fine pieces, use an extra firelighter, etc.
If the stove has not been used for a longer period, it is important to check that the chimney pipe is not blocked.
It is possible to connect several devices to the same chimney. However, it is important to first check the applicable rules.
Chimney sweeping
To prevent the risk of chimney fires, the chimney must be cleaned every year. The flue duct and the smoke chamber above the baffle plate must be cleaned together with the chimney. If the chimney is too tall to be cleaned from above, it must be equipped with a soot door.
In case of a chimney fire, close all dampers and call the firefighters. Before any further use, have the chimney checked by the chimney sweeper.
Firing manual – wood
Your first heating session
The lacquer will be fully hardened after the stove has been used, and the door and the ashpan should be opened very carefully as there will otherwise be a risk that the gaskets will stick to the lacquer. In addition the lacquer may initially give off an unpleasant odour, so make sure that the room is well ventilated.
Tips about fuel
Approved fuel types
The wood burning stove is EN approved for combustion of wood only. It is recommended to use dried chopped wood with a water content of a maximum of 18%. Stoking a fire with wet wood results in soot, environmental problems, and a less efficient fuel economy.
Recommended wood types
All types of wood, for instance birch, beech, oak, elm, ash, conifers, and fruit trees can be used as fuel in your insert. The great difference is not in the fuel value, but in the weight of the wood types per cubic metre. Beech weighs more per m³ of wood than common spruce, for instance. This is why more common spruce is required, in terms of volume, to obtain an amount of heat similar to that of beech. Heavy types of wood such as ash, beech, oak and elm are generally not that easy to light up. In addition, they burn more slowly and give off more embers. Light types of wood such as birch, maple, spruce and pine are more easy to light up. They burn faster and give off fewer ambers.
You may therefore take advantage of the light types of wood for lighting and use the heavier types of wood to ensure a longer burning time..
Banned fuel types
It is not allowed to stoke a fire with the following: printed matter, plywood, plastic, rubber, fluid fuels, and rubbish such as milk cartons, lacquered wood or impregnated wood and fossil fuels. The reason that you should not apply any of the above is that during combustion they develop substances that are health hazardous and harmful to the environment. These substances could also damage your wood burning stove and chimney, rendering the product warranty void.
Storage of wood
A moisture content of 12-18% is achieved by storing recently felled wood outdoors under a leanto for at least one year, preferably 2 years. Wood stored indoors has a tendency to become too dry and combust too quickly. However, it might be advantageous to store fuel for lighting a fire indoors for a few days prior to use.
It is recommended to purchase a wood moisture meter to continuously check that the firewood has the correct moisture content before using it for firing.Split the wood and measure the moisture content of the split surfaces.
Recommended dimensions
The dimensions of the fuel are important to good combustion. The dimensions should be as follows:
| Fuel type | Length in cm | Diameter in cm |
| Wood for kindling a fire (finely chopped) | 25-30 | 2-5 |
| Chopped wood | 25-30 | 7-9 |
Lighting the stove (drawing E)
A successful combustion process requires that the wood is lit in the right way. A cold stove and a cold chimney challenge the combustion process. Be careful to make a good lighting with suitably dry wood, using kindling and lighting the fire in the top layers of kindling. It is important to achieve a high flue gas temperature quickly.

Turn the air control knob (1) clockwise to maximum. Place two pieces of wood (5-8 cm in diameter) horizontally in the bottom of the combustion compartment (corresponding to 1-2 kg). Place 5-8 pieces of kindling randomly on top. Place two firelighters between the top layer of kindling. Light up the fire-lighters and close the stove door. If condensation forms on the glass, keep the door ajar for a little while and close again. When the kindling is burning well, turn the air control knob (1) to middle position. If the fire goes out when the air control knob is turned, return it to maximum position again until the fuel catches fire and then turn it to middle position again. Allow the kindling to burn up completely until there are no longer any visible flames. The stove can then be stoked again.
Important! The ash pit must not be opened when lighting up. It must always be closed when the stove is in use. Otherwise the HWAM® Autopilot™ does not function. The door should only be opened when lighting up, when restoking, and when cleaning the stove. Never leave a stove before there are lasting flames in the wood after firing!
Stoking (drawing E)
When there are no more visible yellow flames, and a right ember is there, you can fire again. The layer of embers is suitable when the pieces of wood begin to disintegrate and the bottom of the stove is covered by embers. Carefully open the door to prevent smoke and embers from escaping. Put at least two pieces of wood into the stove, weighing up to 1 kg each. Do not regulate the stove again as the HWAM® Autopilot™ will do this, but the temperature can be adjusted with the air control knob (1). Turning it to minimum (counter-clockwise) will reduce the rate of combustion and make the stove burn slower. Turning to maximum (clockwise) will increase the rate of combustion and make the stove burn faster. Wait until the layer of embers is suitably low before stoking again.
During combustion, the outer surfaces of the stove will become hot, and due care must therefore be shown.
When burning is complete
When the stove is not in use, turn the air control knob all the way to the left.
Cleaning the glass
We recommend wiping the glass after a fire. This is best done using a paper towel.
Fuelling with coal or pet coke
The stove is not approved to use coal or pet coke as a fuel.
Operating the heat compartment damper – HWAM 3130
There is a damper at the back of the stove between the top plate and the heat compartment that opens and closes the flow of convection air in the heat compartment. The supply of convection air can be opened by moving the damper to the left and closed by moving the damper to the right.
We recommend that the convection damper is kept closed when fuelling the stove in order to heat up and thereby store heat in the heat storage stones in the heat compartment as rapidly as possible. Keeping the convection damper closed retains the heat stored in the heat storage stones as long as possible. When the damper is opened, the heat from the heat storage stones in the heat compartment will rapidly be transferred to the room.
Firing in general
Rapid or fierce heat
Rapid or fierce heat is obtained by burning many small pieces of wood.
Maximum amounts of fuel:
The maximum allowed amount of fuel per hour is:
Wood: 1.46 kg
If these limits are exceeded, the stove will no longer be covered by the factory guarantee, and it may also become damaged due to excessive heat, the glass may turn white, for example.. The stove has been approved for intermittent use.
Typical re-firing interval
Typical re-firing interval at nominal performance
Wood: 45 min. (1.1 kg)
Prolonged burning time
The longest burning time is achieved by turning the air control knob counter-clockwise (to the left) when the flames are about to die. This will ensure the longest period with embers. When adding new firewood, always remember to check that the wood has caught fire properly. If not, the air supply must be increased by turning the air control knob to the right. When the air control knob is turned all the way to the left, no primary air will enter the wood-burning stove through the bottom plate in the combustion chamber. The stove cannot be lit after a new firing without the air control knob being turned to the right, which allows primary air to enter the unit.
If the air control knob is turned 45º from its minimum position (i.e. set at 25% capacity), the stove can restart following a new firing without further adjustment.
Insufficient firing
If the fireproof materials in the combustion chamber are blackened after a fire, then the stove is polluting, and the automatic air flow regulation system is malfunctioning. Therefore, more air must be supplied by turning the air control knob clockwise (to the right). It may also be necessary to burn more wood.
How to achieve the best combustion
- Use clean and dry wood.
Wet wood results in inefficient combustion, plenty of smoke, and soot. Furthermore, the heat will dry the wood, not heat up the room. - The fire should only be stoked with a little wood at a time.
You achieve the best combustion by starting up a fire often and using only a little wood. If you use too much firewood, it will take some time before the temperature reaches a level where you achieve a good combustion. - Make sure there is the right amount of air.
You should also make sure that there is plenty of air – especially in the beginning – so the temperature in the wood burning stove climbs quickly. In this way the gasses and particles released during the combustion will be consumed by the fire. Otherwise they build up soot in the chimney (constituting a chimney fire risk) or will be released in a non-combusted state into the environment. The wrong amount of air supply creates inefficient combustion and a modest effect. - Don’t savour the fire during night time
We advise against adding fire wood to your stove and reducing the air supply at night in an attempt to still have some embers left in the morning. If you do so, large amounts of hazardous smoke will be emitted, and your chimney will be exposed to unnecessarily large amounts of soot with the risk of a chimney fire.
Maintenance
Cleaning
Any maintenance of the stove should only be carried out when it is cold. Daily maintenance is limited to vacuum cleaning the stove externally, using the soft brush attachment. You can also dust the stove using a dry, soft cloth or brush. But remember, only when the stove is cold. Do not use water, spirit or any other kind of cleaner, as this will damage the lacquer.
Once a year, the stove should be thoroughly serviced. The combustion chamber should be cleared of ashes and soot. The hinges and the closing hook must be greased with liquid copper fat spray (heat-resistant up to 1100°C), see drawing K. Lift the door approx. ½ cm and spray copper fat onto the hinge leaf.
Service inspection
Your stove should be given a thorough, preventive inspection once every two years. This includes:
- Thorough cleaning of the stove.
- Check the spring in the HWAM® Autopilot™ unit and replace if necessary.
- Checking gaskets. Replace gaskets if they are not intact or have softened.
- Checking of heat insulating material and possibly replacement.
- Checking of the bottom/shaking grate.
- Lubricating the hinges and the locking hook with cobber grease (drawing K).
All service checks must be performed by an authorised fitter. Use only original spare parts.
Inside cleaning
Before chimney sweeping can be performed, the air control knob must be set to its minimum position to prevent soot and ash from entering the HWAM ® Autopilot™. Unless the safety fittings for transportation have not already been removed, twist the safety fittings for transportation (drawing G2) off the two hooks by using pliers or a screwdriver. The smoke shelf and baffle plate is to be removed from the stove before cleaning (drawing F).
- First lift the smoke shelf (1) out of the steel rail (2) at the back of the combustion chamber. Next, lower it beneath the holders (3) and slide it out.
- Lift each half of the steel smoke plate (4) off the holder (5) behind the smoke pipe, and remove them from the hook (6) beneath the top plate.
Ashes
The ash pan is best emptied by pulling a waste bag over the pan, tipping it and then carefully pulling it out of the bag. Ashes are disposed of via the domestic waste collection.
Please note that there may be embers in the ashes for up to 24 hours after the fire has gone out!
Insulation
The efficient, but porous insulation of the combustion chamber may, in time, be worn and damaged. Cracks in the insulation are irrelevant to the efficiency of the stove. However, it should be replaced, if there are actual holes due to parts of the lining falling off or when, due to wear and tear, it has been reduced to less than half its original thickness.
HWAM® Autopilot™ (Drawing G1)
Remove the top plate. Loosen and remove the bolt that holds the two sides together. Loosen the bolt that holds the left side in position slightly, but do not remove it. Lift the left side about 10 mm and pull it away from the stove so that it is lifted free of the guide pins in the bottom plate of the stove. Repeat with the right side. Loosen and remove the 4 Allen bolts behind the heat shield. Lift the heat shield slightly and pull it away from the stove.
On a cold stove, the starting point of the feeler is controlled. The starting point on a cold stove is about 30º above horizontal. It should feel easy going and bouncy when you push it, no matter if the stove is cold or hot. By rising or falling temperatures it must not move at a bound. The damper plates must be dry and clean and slide together unhindered. Control bars and slide gates may have to be smeared with WD40 (never oil).
Place the bottom of the heat shield between the stove and the guide pins at the back of the bottom plate on the stove and press it in towards the stove. Secure the heat shield with the 4 Allen bolts. Place the right side on the guide pins on the bottom plate of the stove and press it in towards the stove. Lift the side and press it lightly inwards until it engages behind the bolt at the top. Secure the bolt. Repeat with the left side. Finally secure the bolt that holds the two sides together. Replace the top plate on top of the stove.
Door/glass
A sooty glass door can easily be cleaned with a piece of moist kitchen roll dipped in ash. Go about it in vertical movements (up and down). Follow up with a dry piece of kitchen roll.
Seals
Check frequently to ensure that seals in the door and ash pan are intact and not brittle. Failing this, they should be replaced. Use original seals only.
Surface
Usually, it is not necessary to any treatment to the painted surfaces of the wood-burning stove.
Any damage to the paint may, however, be remedied with spray paint, which can be bought from your stove retailer.
Guarantee
The guarantee does not cover damage due to insufficient maintenance!
Operational problems
Blackened glass
- The wood is too damp. Only use wood stored for at least 12 months under cover and with a moisture level not exceeding 12-18% RH.
- Faulty seal in door. Fit new seal.
Smoke in the room when opening door
- The grate in the chimney may be closed. Open the grate.
- Insufficient chimney draft. See section on chimney or contact chimney sweep.
- Soot door leaking or dislodged. Replace or refit.
- Never open the door when there are still flames on the wood.
Uncontrollable combustion
- Faulty seal in door or ash pan. Fit new seal.
- If there is an excessive chimney draft, it may be necessary to close the air control knob. Close the air control knob when the stove is not in use.
- If the steel plates in the combustion chamber develop scales or become deformed, this is due to excessive heat. Stop using the stove and contact the retailer.
At interruptions that you cannot yourself rectify, you should contact the retailer.
Declaration of Performance
The Declaration of Performance can be downloaded from our website via the following links: www.hwam.com/dop/3100_g22.
Product information on solid fuel local space heaters according to Comission regulation (EU) 2015/1185
| Model | HWAM 3110, HWAM 3120, HWAM 3130 |
| Direct heat output [kW] | 4,8 |
| Indirect heating functionality | No |
| Indirect heat output [kW] | – |
| Type of heat output/room temperature control | Two ore more manual stages, no temperature control |
| Space heating performance at nominal heat output | ||
| Fuel | Preferred fuel | Seasonal space heating energy efficiency[%] |
| Wood logs with moisture content 12-18 % | Yes | 105 |
| Emissions | mg/m3 (13% O₂) | |
| Particulate matter (PM) | 906 | |
| Organic gaseous compounds (OGC) | ||
| Carbon monoxide (CO) | 0 | |
| Nitrogen oxides (NOₓ) | 13 | |
| Characteristics when operating with the prefered fuel only | |
| Nominal heat output [kW] | |
| Electric power consumption nominal heat output [kW] | – |
| Electric power consumption minimum heat output [kW] | – |
| Electric power consumption standby mode [kW] | – |
| Useful efficiency at nominal heat output [%] | – |
| Energy efficiency index | |
| Energy efficiency class | |
Specific Precautions during Assembling, Installing & Maintenance:
See installation instructions for more information
Product End-of-Life/Recycling:
To dispose of the stove after the product life has expired, please observe the following information
- Dispose of the items correctly i.e. separate the parts to be disposed of in material groups
- Always dispose of items in a way that is as sustainable as possible and that is in line with the current environmental protection, reprocessing/recycling and disposal technology
HWAM A/S
Nydamsvej 53
DK-8362 Hørning
www.hwam.com
























