Hwam 3700 Woodburning Stove

INSTALLATION








HWAM® SmartControl
Congratulations on your new wood-burning stove complete with a HWAM® SmartControlTM We are pleased that you have chosen a HWAM woodburning stove and confident that it will give you much pleasure. The HWAM® SmartControlTM is a digital control of the combustion in your new wood-burning stove. The purpose of the HWAM® SmartControlTM is to control the combustion in an environmentally optimal and economically efficient way, with a view to generating greater user comfort. The HWAM® SmartControlTM is a new patented technology, which electronically adjusts the air supply to the combustion chamber. Your new wood-burning stove continually measures the temperature and the oxygen levels of the combustion. Moreover, it is programmed to supply oxygen to the fire through three important air inlets in the right amount, and at the right time and place in the combustion chamber. By downloading a free app for your smartphone or tablet, you can use the app among other things: to set the thermostat to the desired room temperature level, choose time for night-time reduction and keep your stove updated. The app also gives you current information on burning in the stove. See details in separate manuals for the app IHS Smart ControlTM or in the Quickguide. Your new wood-burning stove and the HWAM® SmartControlTM will ensure the cleanest possible combustion as well as a good fuel economy, regardless of external conditions such as the type of firewood used, the chimney, the user’s experience, and other external circumstances.
The HWAM® SmartControlTM consists of the following components
- Air box: the Air box contains a printed circuit board/software, as well as three motors and dampers that control primary, secondary, and tertiary combustion air. The fresh air system can be mounted on the Air box to the back or in the bottom.
- Two sensors: a temperature sensor and an oxygen sensor transmit information from the wood-burning stove to the Air box.
- Room temperature sensor: The room temperature sensor with batteries communicates with the HWAM® SmartControlTM via a wireless connection. It should be placed so it does not have direct radiant heat from the stove. Note that the maximum distance between stove and room temperature indicator is about 4-5 metres. The range is reduced if there are walls or other obstructions between the stove and the room temperature indicator.
- Electricity supply: from the Air box to the nearest wall socket.
- App “IHS Smart ControlTM:The app can be downloaded free from the App Store or Google Play Store. See details in separate manuals for the app IHS Smart ControlTM or in the Quickguide.
Installation
In general Congratulations on your new HWAM woodburning stove. We are pleased that you have chosen a HWAM woodburning stove and confident that it will give you much pleasure. To ensure optimum operation and safety, we recommend that the installation should be carried out by an authorised HWAM retailer or a fitter recommended by the retailer. For an overview of HWAM retailers, visit www.hwam.com under “Retailer locations”.
Safety
The installation of your HWAM woodburning stove must always comply with all European, national and local building regulations. The installation must be carried out in accordance with the instructions in the installation and user manuals and subsequently registered with the local authorities. Upon installation, the chimney sweep must approve the installation before you can start using the woodburning stove. All HWAM woodburning stove packaging material must be handled in accordance with local waste management regulations.
Room requirements
For UK: It is required to have an approved CO monitor in the same room as the wood burning stove. Always ensure a supply of fresh combustion air to the room where the stove is to be installed. The woodburning stove uses approx. 4-15 m3 of air per hour. A window that can be opened or an adjustable air valve will be sufficient. It must not be possible to block the adjustable air valve/grate. In newly built/airtight dwellings, we recommend that a fresh air system should be installed for the direct supply of external air to the combustion. This fresh-air system may be bought separately. Before installing the stove, you must ensure that the load-bearing capacity of the floor can withstand the weight of the stove and the chimney. The weight of the chimney should be calculated according to its dimensions and height.
Technical measures and data
| Test results from nominal test EN 13240 | |
| Nominal heating effect | 4.5 kW |
| Flue gas temperature EN 13240 measurement point | 270ºC |
| Flue gas temperature measured in the outlet socket | 323ºC |
| Exhaust gas flow | 3.50 g/s |
| Efficiency | 81 % |
| Annual efficiency (EcoDesign) | 71 % |
| PM | 12 mg/m3 |
| OGC | 59 mg/m3 |
| NOx | 83 mg/m3 |
| CO at 13% O2 | 1050 mg/m3 |
| CO at 13% O2 | 0.0840 % |
| Energy efficiency index | 107 |
| Energy efficiency class | A+ |
| Model | Weight | Height | Width | Depth |
| HWAM 3740c/3740m: | 104/101 kg | 102.5 cm | 49.9 cm | 37.5 cm |
| HWAM 3760c/3760m: | 117/113 kg | 125.4 cm | 49.9 cm | 37.5 cm |
| Heat storing slabs, HWAM 3760 | 32 kg |
Floor plate
European, national and local regulations must be observed in terms of the size and thickness of a non-combustible floor covering the floor in front of the combustion chamber opening. Ask your HWAM retailer for assistance. The combustion chamber opening is 34.0 cm wide.
Distance to combustible materials
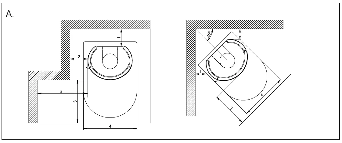
| Min. distances – uninsulated flue gas pipe (drawing A) | HWAM 3740 HWAM 3760 |
| 1. Recommended for brick wall | 10 cm |
| 1. For combustible back wall | 14 cm |
| 2. For combustible side wall | 19.5 cm |
| 1.To combustible wall, corner installation, 45º | 10 cm |
| 3. Distance to furnishings in front | 100 cm |
| 5. For combustible wall, side, in front of the stove | 40 cm |
| Min. distances – insulated flue gas pipe (drawing A) | HWAM 3740 HWAM 3760 |
| 1. Recommended for brick wall | 10 cm |
| 1. For combustible back wall | 11.5 cm |
| 2. For combustible side wall | 19.5 cm |
| 1.To combustible wall, corner installation, 45º | 10 cm |
| 3. Distance to furnishings in front | 100 cm |
| 5. For combustible wall, side, in front of the stove | 40 cm |
Remember to pay attention to applicable regulations concerning the required distance between the wall and smoke pipe.
The distance to a brick wall is set to faciliate the servicing of the HWAM® SmartControl™ system. Please be aware that not all glass parts are heat-resistant. For this reason, a glass wall should sometimes be treated as a combustible wall, in which case we ask you to contact your local chimney sweep or glass producer to hear at what distance the stove should be kept from glass.
Requirements for chimney and smoke pipe
The height of the chimney must ensure sufficient draught and prevent any smoke nuisance. As a general rule, satisfactory draught conditions are achieved if the chimney is 4 m above the stove and at least 80 cm above the ridge. If the chimney is placed at side walls, the top of the chimney should always be higher than the ridge or the tallest point of the roof. Always be aware of any national and/or local regulations applying to thatched roofs and the location of the chimneys. The stove requires a minimum draught of 11 Pa (measured at EN 13240 measurement point). If measured just above the smoke flue socket, the chimney draught must be 17-19 Pa. The chimney must have a minimum clearing of Ø 150 mm. The chimney must be provided with an easily accessible cleaning door. The chimney and flue duct must be of flue class T400 and be CE marked. Furthermore, it must have obtained the classification of G in soot fire testing. The required distance to combustible material must be complied with in accordance with the brand label. Ask your HWAM retailer for further information.
Changing the smoke outlet from top outlet to back outlet – HWAM 3740 (drawing D)
If a wood-burning stove from the factory is supplied with a top outlet but you want to change it to a back outlet, this can be done by following the instructions below. If this change is made, a closed top plate without a hole for the top outlet can be purchased.
- Removing the external heat shield (1). Lift the heat shield (1) up and remove it from the stove. The heat shield has a cut-out for the flue duct. Break off the pre-cut plate (2); the resulting hole fits the flue duct.
- Removing the rear plate (3). Lift the rear plate and pull it away from the stove so that it disengages from the guide pins (4) on the bottom plate of the stove. There is a cut-out in the rear plate for the smoke outlet. Break off the plate (5) within this cut-out to make a hole in the rear plate so there is room for the smoke outlet.
- Removing the internal heat shield (6). Lift the heat shield (6) up and remove it from the stove. The heat shield has a cut-out for the flue duct. Break off the pre-cut plate (7); the resulting hole fits the flue duct.
- Removing the top plate (8). Remove the two screws (9) beneath the top plate and lift the top plate (8) off.
- Removing side (16). Remove the 2 screws (17) Lift one side about 10 mm and pull it away from the stove so that it disengages from the guide pins on the bottom plate of the stove. Repeat on the other side.
- Open the metallic tabs (19) and take the wires out.
- Removing the cover plate (10). Remove the cover plate (10) on the back of the stove by removing the three screws (Torx Bit no. 30). Now the cover plate can be removed from the rear-facing smoke
- Removing the flue spigot (11). Remove the three screws. The flue spigot (11) can now be removed from the upward-facing smoke outlet.
- Installing the flue spigot (11). Place the flue spigot (11) in front of the smoke outlet on the rear of the stove and secure it with the three screws.
- Installing the cover plate (10). Place the cover plate (10) above the smoke outlet on the top of the stove and secure it with the three screws.
- Fix the two wires by closing the metallic tabs (19) again.
- Installing side. Put the side (16) on the guide pins in the bottom plate of the stove and press it in towards the stove. Lift the side and press it lightly inwards until it engages with the guide pins. Secure the side with the two screws (17).
- Installing the top plate of the stove (8). Place the top plate (8) on the fittings and secure it with the two screws (9).
- Installing the internal heat shield (6). Replace the heat shield (6) at the back of the stove.
- Installing the rear plate (3). Place the rear plate (3) on the guide pins at the back of the bottom plate of the stove; then press it in towards the stove. Lift the rear plate and press it lightly inwards until it engages with the guide pins.
- Installing the external heat shield (1). Replace the heat shield (1) at the back of the stove.
Changing the smoke outlet from top outlet to back outlet – HWAM 3760 (drawing D)
If a wood-burning stove from the factory is supplied with a top outlet but you want to change it to a back outlet, this can be done by following the instructions below. If this change is made, a closed top plate without a hole for the top outlet can be purchased.
- Removing the external heat shield (1). Lift the heat shield (1) up and remove it from the stove. The heat shield has a cut-out for the flue duct. Break off the pre-cut plate (2); the resulting hole fits the flue duct.
- Removing the rear plate (3). Lift the rear plate and pull it away from the stove so that it disengages from the guide pins (4) on the bottom plate of the stove. There is a cut-out in the rear plate for the smoke outlet. Break off the plate (5) within this cut-out to make a hole in the rear plate so there is room for the smoke outlet.
- Removing the internal heat shield (6). Lift the heat shield (6) up and remove it from the stove. The heat shield has a cut-out for the flue duct. Break off the pre-cut plate (7); the resulting hole fits the flue duct.
- Removing the top plate (8). Remove the two screws (9) beneath the top plate and lift the top plate (8) off.
- Removing side (16). Remove the 2 screws (17) Lift one side about 10 mm and pull it away from the stove so that it disengages from the guide pins on the bottom plate of the stove. Repeat on the other side.
- Removal of the front of the heat storage compartment (12). Loosen the two screws (13) at the top of the front. Loosen the two screws (14) on each side of the front of the heat magazine – these screws should not be removed, only partially loosened. Now pull the front forward.
- Removing the cover plate (10). Remove the cover plate (10) on the back of the stove by removing the three screws (Torx Bit no. 30). Now the cover plate can be removed from the rear-facing smoke outlet.
- Open the metallic tabs (19) and take the wires out.
- Pull the lambda sensor coupling (21) free of the wire fastener (22).
- Remove the temperature monitor (23) from the flue spigot (11).
- Removing the flue spigot (11). Remove the three screws. The flue spigot (11) can now be removed from the upward-facing smoke outlet.
- Installing the flue spigot (11). Place the flue spigot (11) in front of the smoke outlet on the rear of the stove and secure it with the three screws.
- Reattach the temperature monitor (23) in the flue spigot (11), leading the sensor about 3 cm into the flue spigot.
- Reposition the lambda sensor coupling (21) in the wire fastener (22).
- Fix the two wires by closing the metallic tabs (19) again.
- Installing the cover plate (10). Place the cover plate (10) above the smoke outlet on the top of the stove and secure it with the three screws.
- Installing the front of the heat storage compartment (12). Put the front of the heat storage compartment in place and tighten the 2 screws (13) at the top of the front and the 2 screws (14) on each side of the front.
- Installing side. Put the side (16) on the guide pins in the bottom plate of the stove and press it in towards the stove. Lift the side and press it lightly inwards until it engages with the guide pins. Secure the side with the two screws (17).
- Installing the top plate of the stove (8). Place the top plate (8) on the fittings and secure it with the two screws (9).
- Installing the internal heat shield (6). Replace the heat shield (6) at the back of the stove.
- Installing the rear plate (3). Place the rear plate (3) on the guide pins at the back of the bottom plate of the stove; then press it in towards the stove. Lift the rear plate and press it lightly inwards until it engages with the guide pins.
- Installing the external heat shield (1). Replace the heat shield (1) at the back of the stove.
Connection to chimney
All the stoves have both back and top smoke outlet that can be connected to an approved steel chimney on top or directly out at the rear to a chimney. Make sure that the chimney is tight and that no false draft is caused around neither the cover plate, in connection with a covered smoke outlet, nor the cleanout door and pipe connections. Please note that bent and/or horizontal smoke pipes will reduce the effect of the chimney draft.
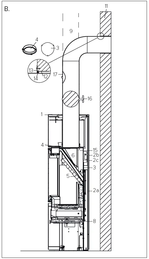
Vertical cross-section of smoke flue (Drawing B and C)
- Top smoke outlet
- Back outlet
- Steel chimney (9).
- Flue gas elbow (10). Fits into smoke flue socket.
- Brick-built jamb of flue (11).
- Built-in pipe sleeve (12). Fits smoke flue.
- Wall rosette (13). Covers disruption to wall around pipe sleeve.
- Joint (14). Sealed with packing material.
- Smoke outlets (15) of the HWAM stove.
- Smoke flue regulating damper (16).
- Soot door (17).
Fitting the loose parts
Before the stove is installed, you must ensure that all loose parts are fitted correctly. Check that all insulation plates of the combustion chamber have been properly placed, i.e. that the bottom plate is horizontal and that the side plates are vertical and reach all the way up to the steel sides of the combustion chamber and down to the bottom plate.
Vertical cross-section of the stoves (Drawing B)
- The smoke shelf (5). To be placed on top of the steel rail and on the holders in the sides.
- Two-piece smoke defector plate (6). Each half is hung on the hooks located beneath the top plate. The two halves join in the holders (7) behind the air pipe. Once the stove has been installed, twist the protection off the two hooks by using pliers or a screwdriver.
- Removable rear plate (2a), covering HWAM® Autopilot™. This must always be mounted if the stove is placed next to a combustible wall.
- Removable external heat shield (2b). This must always be mounted if the stove is placed next to a combustible wall.
- Removable internal heat shield (2c). This must always be mounted if the stove is placed next to a combustible wall.
- Loose heat shield (8) under the ash pan. This can be used as a lid when the ash pan is removed for emptying. This must always be mounted when the stove is burning
Connection of the HWAM® SmartControlTM
Before using the stove it must be connected to power. See the instructions in the separate manuals for the app IHS SmartControlTM or in the Quickguide in order to connect to stove with the app and the wireless room temperature sensor.
Chimney
The chimney is the “engine” of the stove and it is crucial for the functioning of the woodburning stove. The chimney draft provides a partial vacuum in the stove. This vacuum removes the smoke from the stove, sucks air through the dampers in the Air box for the so-called glass pane rinse which keeps the glass free of soot, and for the combustion.The chimney draft is created by the differences in temperature inside and outside the chimney. The higher the temperature within the chimney, the greater the draft (a brick chimney takes longer to warm up than a steel chimney). On days where the weather and wind conditions create insufficient draught inside the chimney, it is even more important to warm up the chimney as quickly as possible. The trick is to quickly get some flames going. Split the wood into extra fine pieces, use an extra firelighter, etc. If the stove has not been used for a longer period, it is important to check that the chimney pipe is not blocked. It is possible to connect several devices to the same chimney. However, it is important to first check the applicable rules.
Chimney sweeping
To prevent the risk of chimney fires, the chimney must be cleaned every year. The flue duct and the smoke chamber above the baffle plate must be cleaned together with the chimney. If the chimney is too tall to be cleaned from above, it must be equipped with a soot door. In case of a chimney fire and overheating, the HWAM® SmartControlTM will enter a security mode and automatically adjust all dampers in the Air box, effectively quenching the fire. Do not open the door for the burning chamber, since that might cause the fire to rekindle. Contact the fire brigade. After a fire, the stove should be checked by a chimney sweep before use.
Firing manual – wood
Your first heating session
The lacquer will be fully hardened after the stove has been used, and the door and the ashpanV should be opened very carefully as there will otherwise be a risk that the gaskets will stick to the lacquer. In addition the lacquer may initially give off an unpleasant odour, so make sure that the room is well ventilated.
Tips about fuel
Approved fuel types The wood burning stove is EN approved for combustion of wood only. It is recommended to use dried chopped wood with a water content of 12-18%. Stoking a fire with wet wood results in soot, environmental problems, and a less efficient fuel economy. It is recommended to purchase a hygrometer to continuously check that the firewood has the correct moisture content before using it for firing.
Recommended wood types
All types of wood, for instance birch, beech, oak, elm, ash, conifers, and fruit trees can be used as fuel in your insert. The great difference is not in the fuel value, but in the weight of the wood types per cubic metre. Beech weighs more per m3 of wood than common spruce, for instance. This is why more common spruce is required, in terms of volume, to obtain an amount of heat similar to that of beech. Heavy types of wood such as ash, beech, oak and elm are generally not that easy to light up. In addition, they burn more slowly and give off more embers. Light types of wood such as birch, maple, spruce and pine are more easy to light up. They burn faster and give off fewer ambers. You may therefore take advantage of the light types of wood for lighting and use the heavier types of wood to ensure a longer burning time.
Banned fuel types
It is not allowed to stoke a fire with the following: printed matter, plywood, plastic, rubber, fluid fuels, and rubbish such as milk cartons, lacquered wood or impregnated wood and fossil fuels. The reason that you should not apply any of the above is that during combustion they develop substances that are health hazardous and harmful to the environment. These substances could also damage your wood burning stove and chimney, rendering the product warranty void.
Storage of wood
A moisture content of 12-18% is achieved by storing recently felled wood outdoors under a leanto for at least one year, preferably 2 years. Wood stored indoors has a tendency to become too dry and combust too quickly. However, it might be advantageous to store fuel for lighting a fire indoors for a few days prior to use. It is recommended to purchase a wood moisture meter to continuously check that the firewood has the correct moisture content before using it for firing.Split the wood and measure the moisture content of the split surfaces.
Recommended dimensions
The dimensions of the fuel are important to good combustion. The dimensions should be as follows:
| Fuel type | Length in cm | Diameter in cm |
| Wood for kindling a fire (finely chopped) | 25-30 | 2-5 |
| Chopped wood | 25-30 | 7-9 |
Lighting the stove
A successful combustion process requires that the wood is lit in the right way. A cold stove and a cold chimney challenge the combustion process. Be careful to make a good lighting with suitably dry wood, using kindling and lighting the fire in the top layers of kindling. It is important to achieve a high flue gas temperature quickly.
Open the door. Place two pieces of wood (5-8 cm in diameter) horizontally in the bottom of the combustion compartment. Place 5-8 pieces of kindling randomly on top. Place two fire-lighters in between the top layers of kindling. Light up the fire-lighters and close the stove door. Select the desired room temperature level. As soon as the door is opened the HWAM® SmartControlTM is activated. If lighting up does not occur within 15 minutes, the HWAM® SmartControlTM will automatically go back to standby and the dampers in the Air box will be closed. If the smoke temperature does not reach a high enough level after lightning or stoking, the app IHS Smart ControlTM and the wireless room temperature sensor emit a restoking alarm, even if there is still unburned wood and flames in the combustion chamber. The restoking alarm is emitted to make you aware that the fire needs more energy. Restoking with small pieces of kindling wood can often provide a more rapid and sufficient temperature rise. The HWAM® SmartControlTM closes all three air dampers in the Air box when the stove is in standby mode. This prevents hot air from the room to enter the chimney (heat loss). This might on the other hand result in a very cold chimney when the stove is lit. In certain cases it is necessary to assist the draught in the chimney by opening the door to the burning chamber 3-5 minutes before lightning the stove. Read more on www.hwam.com about the function of the chimney.
Important!
The ash pit must not be opened when lighting up. It must always be closed when the stove is in use. Otherwise the HWAM® SmartControlTM does not function. The door should only be opened when lighting up, when restoking, and when cleaning the stove. Never leave a stove before there are lasting flames in the wood after firing!
The Thermostat Function
The HWAM® SmartControlTM will in general have an environmentally friendly combustion and adapt to the desired room temperature. The thermostat function is designed as a radiator valve. The user enters a desired heat level, which suits the room in which the stove is installed. When the thermostat is set at a heat level, the control function will adapt to this temperature.
- If the room temperature is lower than the desired heat level, the HWAM® SmartControlTM increases the flue gas temperature in order to increase the heat radiation from the stove.
- If the room temperature is higher than the desired heat level, the HWAM® SmartControlTM decreases the flue gas temperature, thereby giving the layer of embers as long a life as possible before restoking. This will reduce the heat radiation from the stove and facilitate restoring without having to light up the fire anew. If the room temperature drops below the desired level, the ember phase will be shortened, and the HWAM® SmartControlTM will activate a restoring alarm. The HWAM® SmartControlTM will signal that a restoking is due at the flue gas temperature of 180° C, and at 100° C the HWAM® SmartControlTM will enter standby mode and all dampers will close.
- Should the room temperature be much lower than the desired heat level, the HWAM® SmartControlTM increases the flue gas temperature. If a satisfactory increase in temperature does not occur, the control will activate a restoking alarm, since it expects that more wood is needed to increase the heat level in the room.
- If the room temperature after a new restoking still does not reach the desired level, the water content in the firewood may be too high or the draught in the chimney too weak. The HWAM® SmartControlTM always strives for a sufficiently high flue gas temperature to ensure an environmentally friendly combustion.
Stoking
When alarm for restoking sounds the stove is ready for restoking. The alarm for restoking will come via the room temperature sensor or the acquired remote control. The app IHS Smart ControlTM will also come with a notification that it is time for restoking if the app is opened. For more information on the app, see details in separate manuals for the app IHS Smart ControlTM or in the Quickguide. The amount of wood that is used for restoking should be adjusted based on the current heat demand. In terms of combustion technique, you should always stoke the stove with at least two pieces of wood at a time even if you only use a small amount of wood. You can also choose not to restoke. After a while the stove will then automatically go in stand-by mode. During combustion, the outer surfaces of the stove will become hot, and due care must therefore be shown. Cleaning the glass We recommend wiping the glass after a fire. This is best done using a paper towel. Fuelling with coal or pet coke The stove is not approved to use coal or pet coke as a fuel.
Rapid or fierce heat
Rapid or fierce heat is obtained by burning many small pieces of wood.
Maximum amounts of fuel
- The maximum allowed amount of fuel per hour is:
- Wood: 1.35 kg
If these limits are exceeded, the stove will no longer be covered by the factory guarantee, and it may also become damaged due to excessive heat, the glass may turn white, for example. If the flue gas temperature exceeds 580oC, the HWAM® SmartControlTM will revert to safety adjustments and automatically turn down the air valves to avoid overheating. When the temperature is reduced to 450oC, the normal functions apply again. The stove has been approved for intermittent use.
- Typical re-firing interval
- Typical re-firing interval at nominal performance
- Wood: 47 min (1.06 kg)
Long burning times
You achieve the slowest combustion by setting the desired room temperature at level 0. At this level the combustion takes place with the lowest possible flue gas temperature and the ember phase will be drawn out as long as possible.
How to achieve the best combustion
The HWAM® SmartControlTM is purposely designed to generate the cleanest and the most economical combustion. A good combustion is achieved when the fire gets the right amount of oxygen supply at the right time and place in the combustion chamber. The HWAM® SmartControlTM allows for variations in external circumstances. Nevertheless, it is important to use clean and dry wood (humidity approx. 12-18%). Read more on www.hwam.com.
Maintenance
Cleaning
Any maintenance of the stove should only be carried out when it is cold. Daily maintenance is limited to vacuum cleaning the stove externally, using the soft brush attachment. You can also dust the stove using a dry, soft cloth or brush. But remember, only when the stove is cold. Do not use water, spirit or any other kind of cleaner, as this will damage the lacquer. Once a year, the stove should be thoroughly serviced. The combustion chamber should be cleared of ashes and soot. The hinges and the closing hook must be greased with liquid copper fat spray (heat-resistant up to 1100°C), see drawing F. Lift the door approx. ½ cm and spray copper fat onto the hinge leaf.
Service inspection
Your stove should be given a thorough, preventive inspection once every two years. This includes:
- Thorough cleaning of the stove.
- Checking gaskets. Replace gaskets if they are not intact or have softened.
- Checking of heat insulating material and possibly replacement.
- Checking of the bottom/shaking grate.
- Use copper grease for hinges and locking hooks (see drawing F).
All service checks must be performed by an authorised fitter. Use only original spare parts.
Inside Cleaning
Unless the safety fittings for transportation have not already been removed, twist the safety fittings for transportation off the two hooks by using pliers or a screwdriver. TThe smoke shelf and baffle plate is to be removed from the stove before cleaning (Drawing E):
- First lift the smoke shelf (1) out of the steel rail (2) at the back of the combustion chamber. Next, lower it beneath the holders (3) and slide it out.
- Lift each half of the steel smoke plate (4) off the holder (5) behind the smoke pipe, and remove them from the hook (6) beneath the top plate.
Ashes
The ash pan is best emptied by pulling a waste bag over the pan, tipping it and then carefully pulling it out of the bag. Ashes are disposed of via the domestic waste collection. Please note that there may be embers in the ashes for up to 24 hours after the fire has gone out!
Insulation
The efficient, but porous insulation of the combustion chamber may, in time, be worn and damaged. Cracks in the insulation are irrelevant to the efficiency of the stove. However, it should be replaced, if there are actual holes due to parts of the lining falling off or when, due to wear and tear, it has been reduced to less than half its original thickness.
Door/glass
A sooty glass door can easily be cleaned with a piece of moist kitchen roll dipped in ash. Go about it in vertical movements (up and down). Follow up with a dry piece of kitchen roll.
Seals
Check frequently to ensure that seals in the door and ash pan are intact and not brittle. Failing this, they should be replaced. Use original seals only.
Surface
Usually, it is not necessary to any treatment to the painted surfaces of the wood-burning stove. Any damage to the paint may, however, be remedied with spray paint, which can be bought from your stove retailer.
Guarantee
The guarantee does not cover damage due to insufficient maintenance!
Maintenance Alarms
If a maintenance alarm goes off, you can continue using the wood-burning stove, but contact your dealer as soon as possible. Your stove could be affected by impure combustion.
Operational problems
Blackened glass
- The wood is too damp. Only use wood stored for at least 12 months under cover and with a moisture level not exceeding 12-18 % RH.
- Faulty seal in door. Fit new seal.
Smoke in the room when opening door
- The grate in the chimney may be closed. Open the grate.
- Insufficient chimney draft. See section on chimney or contact chimney sweep.
- Soot door leaking or dislodged. Replace or refit.
- Never open the door when there are still flames on the wood.
Uncontrollable combustion
- Faulty seal in door or ash pan. Fit new seal.
Safety Alarms
In case the safety alarms go off, you must not use the stove. Contact your retailer as soon as possible. At interruptions that you cannot yourself rectify, you should contact the retailer.
Declaration of Performance
The DoP can be downloaded from our website via the following links: www.hwam.com/dop/3700_ihs_g22
Product information on solid fuel local space heaters according to Comission regulation (EU) 2015/1185
| Model | HWAM 3740 IHS, HWAM 3760 IHS |
| Direct heat output [kW] | 4,5 |
| Indirect heating functionality | No |
| Indirect heat output [kW] | – |
| Type of heat output/room temperature control | With electronic room temperature control |
| Space heating performance at nominal heat output | ||
| Fuel | Preferred fuel | Seasonal space heating energy efficiency [%] |
| Wood logs with moisture content 12-18 % | Yes | 72 |
| Emissions | mg/m3 (13% O ) 2 | |
| Particulate matter (PM) | 8 | |
| Organic gaseous compounds (OGC) | 66 | |
| Carbon monoxide (CO) | 1105 | |
| Nitrogen oxides (NOₓ) | 81 | |
| Characteristics when operating with the prefered fuel only | |
| Nominal heat output [kW] | 4,5 |
| Electric power consumption nominal heat output [kW] | 0,015 |
| Electric power consumption minimum heat output [kW] | 0,012 |
| Electric power consumption standby mode [kW] | 0,0015 |
| Useful efficiency at nominal heat output [%] | 82 |
| Energy efficiency index | 109 |
| Energy efficiency class | A+ |
Specific Precautions during Assembling, Installing & Maintenance:
See installation instructions for more information
Product End-of-Life/Recycling:
To dispose of the stove after the product life has expired, please observe the following information
- Dispose of the items correctly i.e. separate the parts to be disposed of in material groups
- Always dispose of items in a way that is as sustainable as possible and that is in line with the current environmental protection, reprocessing/recycling and disposal technology
www.hwam.com 01.08.2022 / 97-9705 www.hwam.com




















