Montpellier MMRC60FX 60cm Ceramic Mini Range Cooker in Stainless Steel

Please read these instructions carefully before attempting to install or use this appliance. We recommend that you keep these instructions in a safe place for future reference.
Welcome
Thank you for choosing this Montpellier appliance.
Our appliances have been designed to provide you with the best combination of style, reliability and performance to give you years of trouble-free use. You may be familiar with a similar product. but please take time to read these instructions carefully before installing or using your appliance to ensure you get the most from your purchase.
We recommend that you keep this manual in a safe place for future reference
Your appliance is covered by a comprehensive two-year Parts & Labour Guarantee. In the unlikely event that you experience a problem with your appliance, you can rest assured that you are fully protected against the cost of repairs for the first 24 months. Please note that any claim must be accompanied by the model reference number, serial number, and proof of purchase.
To activate your guarantee, you will need your product serial number. This can be found inside your appliance.
NB: Please make sure that you keep a copy of your original sales invoice as this will be needed if any service call is required.
There are three ways to register your Guarantee:
- Online: Visit the Support page on our website and complete the online Product Registration form. www.montpellier-appliances.com
- By Post: Simply detach and fill in the form provided, attach a stamp and send it in the post. Don’t forget to include your e-mail address so that we can send confirmation to you.
- By Phone: Contact our warranty registration department on 0808 1961388.
Thank you for choosing this product. This User Manual contains important safety information and instructions on the operation and maintenance of your appliance. Due to constant changes in technical specifications and features may be subject to change without prior notice. Please take the time to read this User Manual before using your appliance and keep this book for future reference.
SAFETY INSTRUCTIONS
- Carefully read all instructions before using your appliance and keep them in a convenient place for reference when necessary.
- This manual has been prepared for more than one model therefore your appliance may not have some of the features described within. For this reason, it is important to pay particular attention to any figures whilst reading the operating manual.
GENERAL SAFETY WARNINGS
This appliance can be used by children aged from 8 years and above and by persons with reduced physical, sensory or mental capabilities or lack of experience and knowledge if they have been given supervision or instruction concerning use of the appliance in a safe way and understand the hazards involved. Children should not play with the appliance. Cleaning and user maintenance should not be made by children without supervision.
WARNING:
The appliance and its accessible parts become hot during use. Care should be taken to avoid touching heating elements. Keep children less than 8 years of age away unless they are continually supervised.
WARNING:
Unattended cooking on a hob with fat or oil can be dangerous and may result in fire. NEVER try to extinguish such a fire with water, but switch off the appliance and cover the flame with a lid or a fire blanket.
CAUTION:
The cooking process has to be supervised. A short-term cooking process has to be supervised continuously.
WARNING:
- The danger of fire: Do not store items on the cooking surfaces.
- If the surface is cracked, switch off the appliance to avoid the possibility of electric shock.
- For models which incorporate a hob lid, clean any spillages off the lid before use and allow the cooker to cool before closing the lid.
- Do not operate the appliance with an external timer or a separate remote-control system.
- To prevent appliance tipping, the stabilizing brackets must be installed. (For detailed information refer to the anti-tilting kit set guide.)
- During use, the appliance will get hot. Care should be taken to avoid touching heating elements inside the oven.
- Handles may become hot after a short period of time during use.
- Do not use harsh abrasive cleaners or scourers to clean oven surfaces. They can scratch the surfaces which may result in the shattering of the door glass or damage to surfaces.
- Do not use steam cleaners to clean the appliance.
- To avoid the possibility of electric shocks, make sure that the appliance is switched off before replacing the lamp.

CAUTION:
- Accessible parts may be hot when cooking or grilling. Keep young children away from the appliance when it is in use.
- Your appliance is produced in accordance with all applicable local and international standards and regulations.
- Maintenance and repair work should only be carried out by authorised service technicians. Installation and repair work that is carried out by unauthorised technicians may be dangerous. Do not alter or modify the specifications of the appliance in any way. Inappropriate hob guards can cause accidents.
- Before connecting your appliance, make sure that the local distribution conditions (nature of the gas and gas pressure or electricity voltage and frequency) and the specifications of the appliance are compatible. The specifications for this appliance are stated on the label.
CAUTION:
This appliance is designed only for cooking food and is intended for indoor domestic household use only. It should not be used for any other purpose or in any other application, such as for non-domestic use, in a commercial environment or for heating a room.
- Do not use the oven door handles to lift or move the appliance.
- All possible measures have been taken to ensure your safety. Since the glass may break, care should be taken while cleaning to avoid scratching. Avoid hitting or knocking the glass with accessories.
- Make sure that the supply cord is not trapped or damaged during installation. If the supply cord is damaged, it must be replaced by the manufacturer, its service agent or similarly qualified persons in order to prevent a hazard.
- Do not let children climb on the oven door or sit on it while it is open.
- Please keep children and animals away from this appliance.
INSTALLATION WARNINGS
- Do not operate the appliance before it is fully installed.
- The appliance must be installed by an authorised technician.
- The manufacturer is not responsible for any damage that might be caused by incorrect placement and installation by unauthorised people.
- When the appliance is unpacked, make sure that it has not been damaged during transportation.
- In the case of a defect, do not use the appliance and contact a qualified service agent immediately. The materials used for packaging (nylon, staplers, styrofoam, etc.) may be harmful to children and they should be collected and removed immediately.
- Protect your appliance from the atmosphere. Do not expose it to sun, rain, snow, dust or excessive humidity.
- Materials around the appliance (i.e. cabinets) must be able to withstand a minimum temperature of 100°C.
- The appliance must not be installed behind a decorative door, in order to avoid overheating.
DURING USE
- When you first use your oven you may notice a slight smell.
- This is perfectly normal and is caused by the insulation materials on the heater elements. We suggest that, before using your oven for the first time, you leave it empty and set it at maximum temperature for 45 minutes. Make sure that the environment in which the product is installed is well-ventilated.
- Take care when opening the oven door during or after cooking. Hot steam/air from the oven may cause burns.
- Do not put flammable or combustible materials in or near the appliance when it is operating.
- Always use oven gloves to remove and replace food in the oven.
- Under no circumstances should the oven be lined with aluminium foil as overheating may occur.
- Do not place dishes or baking trays directly onto the base of the oven whilst cooking. The base becomes very hot and damage may be caused to the product.
Do not leave the cooker unattended when cooking with solid or liquid oils. They may catch fire under extreme heating conditions. Never pour water on to flames that are caused by oil, instead switch the cooker off and cover the pan with its lid or a fire blanket.
- Always position pans over the centre of the cooking zone, and turn the handles to a safe position so they cannot be knocked.
- If the product will not be used for a long period of time, turn the main control switch off. Turn the gas valve off when gas appliances are not in use.
- Make sure the appliance control knobs are always “(stop) position when the appliance is not in use.
- The trays incline when pulled out. Take care not to spill or drop hot food when removing it from the oven.
- Do not place anything on the oven door when it is open. This could unbalance the oven or damage the door.
- Do not place heavy or flammable items (e.g. nylon, plastic bags, paper, cloth, etc.) into the drawer. This includes cookware with plastic accessories (e.g. handles).
CAUTION:
The inside surface of the storage compartment may get hot when the appliance is in use. Avoid touching the inside surface.
- Do not hang towels, dishcloths or clothes from the appliance or its handles.
DURING CLEANING AND MAINTENANCE
- Make sure that your appliance is turned off at the mains before carrying out any cleaning or maintenance operations.
- Do not remove the control knobs to clean the control panel.
- To maintain the efficiency and safety of your appliance, we recommend you always use original spare parts and call our authorised service agents when needed.
CE Declaration of conformity
We declare that our products meet the applicable European Directives, Decisions, and Regulations and the requirements listed in the standards referenced.
This appliance has been designed to be used only for home cooking. Any other use (such as heating a room) is improper and dangerous. The operating instructions apply to several models. You may notice differences between these instructions and your model.
Disposal of your old machine
This symbol on the product or on its packaging indicates that this product should not be treated as household waste. Instead, it should be handed over to the applicable collection point for the recycling of electrical and electronic equipment.
By ensuring this product is disposed of correctly, you will help prevent potential negative consequences for the environment and human health, which could otherwise be caused by inappropriate waste handling of this product. For more detailed information about recycling of this product, please contact your local city office, your household waste disposal service or the retailer who you purchased this product from.
INSTALLATION AND PREPARATION FOR USE
WARNING:
This appliance must be installed by an authorised service person or qualified technician, according to the instructions in this guide and in compliance with the current local regulations.
- Incorrect installation may cause harm and damage, for which the manufacturer accepts no responsibility and the warranty will not be valid.
- Prior to installation, ensure that the local distribution conditions (electricity voltage and frequency and/or nature of the gas and gas pressure) and the adjustments of the appliance are compatible. The adjustment conditions for this appliance are stated on the label.
- The laws, ordinances, directives and standards in force in the country of use are to be followed (safety regulations, proper recycling in accordance with the regulations, etc.).
- If the product contains removable shelf guides (wire racks) and the user manual includes recipes like yogurt, the wire racks shall be removed and the oven operated in the defined cooking mode. Removal of the Wire Shelf information is included in the CLEANING AND MAINTENANCE section.
INSTRUCTIONS FOR THE INSTALLER
General instructions
- After removing the packaging material from the appliance and its accessories, ensure that the appliance is not damaged. If you suspect any damage, do not use it and contact an authorised service person or qualified technician immediately.
- Make sure that there are no flammable or combustible materials in the close vicinity, such as curtains, oil, cloth etc. which may catch fire.
- The worktop and furniture surrounding the appliance must be made of materials resistant to temperatures above 100°C. The appliance should not be installed directly above a dishwasher, fridge, freezer, washing machine or clothes dryer.
- The appliance can be placed close to other furniture on condition that, in the area where the appliance is set up, the furniture’s height does not exceed the height of the cooktop.
Installation of the Cooker
- If kitchen cupboards or units are to be fitted on the wall above the worktop adjacent to the cooker they must be a minimum of 420mm above the worktop (A).
- If a cooker hood or cupboard is to be installed above the appliance, the safety distance between the cooktop and any cupboard/cooker hood should be as per the manufacturer’s guidelines. The standard minimum distance is 650mm above a ceramic hob (B).
- If the kitchen furniture is higher than the cooktop, the kitchen furniture must be at least 10 cm away from the sides of the appliance for air circulation and safety (D).

ELECTRICAL CONNECTION AND SAFETY
WARNING:
The electrical connection of this appliance should be carried out by an authorised service person or qualified electrician, according to the instructions in this guide and in compliance with the current local regulations.
WARNING: THE APPLIANCE MUST BE EARTHED
- During installation, please ensure that isolated cables are used. An incorrect connection could damage your appliance. If the mains cable is damaged and needs to be replaced this should be done by qualified personnel.
- Before connecting the appliance to the power supply, the voltage rating of the appliance (stamped on the appliance identification plate) must be checked for correspondence to the available mains supply voltage, and the mains electric wiring should be capable of handling the appliance’s power rating (also indicated on the identification plate).
- Do not use adaptors, multiple sockets, and/or extension leads.
- The supply cord should be kept away from hot parts of the appliance and must not be bent or compressed. Otherwise, the cord may be damaged, causing a short circuit.
- If the appliance is not connected to the mains with a plug, a all-pole disconnector (with at least 3 mm contact spacing) must be used in order to meet the safety regulations.
- The appliance is designed for a power supply of 220-240 V-.380-415 3N
- If your supply is different, contact the authorized service personnel or qualified electrician.
- The power cable (H05VV-F) must be
- Tong enough to be connected to the appliance.
- The fused switch must be easily accessible once the appliance has been installed.
- Ensure all connections are adequately tightened.
- Fix the supply cable in the cable clamp and then close the cover
- The terminal box connection is placed on the terminal box.
- Green/Yellow (Earth) wire to the terminal marked “PE
- Brown (Live) wire to the terminal marked
- Blue (Neutral) wire to the terminal marked “N”.
- For this connection, a ‘Twin and Earth 6242Y type cable should be used.

ANTI-TILTING KIT
The document bag contains an anti-tilting kit. Loosely attach the anti-tilting bracket (1) to the wall using the screw (2) and wall plug (3), following the measurements shown in the figure and table below. Adjust the height of the anti-tilting bracket so that it lines up with the slot on the cooker and tighten the screw. Push the appliance towards the wall making sure that the anti-tilting bracket is inserted into the slot on the rear of the appliance.

ADJUSTING THE FEET
Your product stands on four adjustable feet. For safe operation, it is important that your appliance is correctly balanced. Make sure the appliance is level prior to cooking. To increase the height of the appliance, turn the feet anti-clockwise. To decrease the height of the appliance, turn the feet clockwise.
It is possible to raise the height of the appliance up to 30 mm by adjusting the feet. The appliance is heavy and we recommend that a minimum of 2 people lift it. Never drag the appliance.
PRODUCT FEATURES
Important:
Specifications for the product vary and the appearance of your appliance may differ from that shown in the figures below.
List of Components
- Cooktop
- Control Panel
- Top Oven Door Handle
- Top Oven Door
- Main Oven Door Handle
- Main Oven Door
- Adjustable Feet

Control Panel
- Timer
- Main Oven Control Knob
- Top Oven Control Knob
- Hob Control Knob
USE OF PRODUCT
HOB CONTROLS
Ceramic Heater
The ceramic heater is controlled by a 6-position knob. The ceramic heater is operated by turning the control knob to the required setting. Near each control, the knob is a symbol that indicates the heater that is controlled by that knob. The on/off light on the control panel will show if any of the ceramic heaters are in use.

Important:
The knob rotation direction may differ according to the product specification.
Residual Heat Indicator
After using the hob there will be heat stored in the vitroceramic glass called residual heat. If the residual heat level is greater than +60°C, the residual heat
indicator will be active for the cooking zone which is above this temperature.
If the power supply to the hob is disconnected while the residual heat indicator is on, the warning light will flash when the power is reconnected. The display will flash until the residual heat has decreased or until one of the cooking zones is activated.
Hints and Tips
Important:
When ceramic heaters are operated in higher heat settings, the heated areas may be seen switching on and off. This is due to a safety device that prevents the glass from overheating. This is normal at high temperatures, causing no damage to the hob and little delay in cooking times.
WARNING:
- Never operate the hob without pans in the cooking zone.
- Use only flat-bottomed saucepans with a sufficiently thick base.
- Make sure the bottom of the pan is dry before placing it on the hob.
- While the cooking zone is in operation, it is important to ensure that the pan is centered correctly above the zone.
- In order to conserve energy, never use a pan with a different diameter to the hotplate being used.

- Do not use pans with rough bottoms since these can scratch the glass ceramic surface.
- If possible, always place lids on the pans.
- The temperature of accessible parts may become high while the appliance is operating. Keep children and animals well away from the hob during operation and until it has fully cooled after the operation.
- If you notice a crack on the cooktop, it must be switched off immediately and replaced by authorised service personnel.
OVEN FUNCTIONS
Main Oven
Defrost Function:
Switch on the DEFROST function using the main oven function control knob. The oven’s warning lights will switch on, and the fan will start operating. To use the defrost function, place your frozen food on a shelf in the middle of the Oven. It is recommended that you put an oven tray under the defrosting food to catch accumulated water due to melting ice. This function will not cook or bake your food, it will only help to defrost it.
Turbo Function:
Switch on the TURBO function using the main oven function control knob. The oven’s thermostat and warning lights will switch on, and the ring heating element and fan will start operating. The temperature can be adjusted using the main oven function control knob. The turbo function evenly disperses the heat in the oven so all food on all racks will cook evenly. It is recommended that you preheat the oven for 10 minutes.
Top Oven
Static Cooking Function:
Switch on the STATIC function using the top oven function control knob. The oven thermostat and warning lights will illuminate, and the upper and lower heating elements will switch on. The temperature can be adjusted using the top oven function control knob. Ihe heat generated by the upper and lower heating elements ensures that food is cooked evenly. You will find this setting Ideal for cooking cakes, baked pasta, lasagne, and pizza. We recommend that the oven is preheated for 10 minutes before use and that you cook on one rack at a time.
Lower Heating Function:
Switch on the LOWER function using the top oven function control knob. The oven thermostat and warning lights will illuminate, and the lower heating element will switch on. The temperature setting will be set to the highest level for this function. The LOWER heating function is ideal for warming pizza as the heat rises up from the bottom of the oven, warming the food. This function is suitable or heating food instead of cooking.
Upper Heating Function:
Switch on the UPPER function using the top oven function control knob. The oven thermostat and warning lights will illuminate, and the upper heating element will switch on. The temperature setting will be set to the highest level for this function. The UPPER heating function is ideal for heating food or for frying the top of the food that has already been cooked, as the heat radiates from the upper heating element closest to the top of the food.
Grilling Function:
Switch on the GRILL function using the top oven function control knob. The oven thermostat and warning lights will illuminate, and the grill heating element will switch on. Use this function for grilling. When you have finished grilling, switch the top oven off. Keep children away from the Oven during grilling and until it has fully cooled after use.
Warning: The top oven door must be fully open when this function is selected.
USE OF THE DIGITAL TIMER


Time adjustment
The time must be set before you start using the oven. Following the power connection, the symbol “A and 000 ” will flash on the display.
- Press the “+” and “-” keys simultaneously.
Symbols will appear, and the dot in the middle of the screen will start to flash.
- Adjust the time while the dot is flashing using the “+” and “-” keys.
- After a few seconds, the dot will stop flashing and will remain illuminated.

Audible warning time adjustment
The audible warning time can be set to any time between hours. The audible warning time is for warning purposes only. The oven will not be activated with this function.
- Press “MODE”. The symbol
will begin to flash and “000” will be displayed.
- Select the desired time period using the and -keys while
flashing.
- The symbol
will remain illuminated, the time will be saved and the warning will be set.
When the timer reaches zero, a liable warning will sound and the symbol
will flash on the display. Press and key to stop the audible warning and the
symbol will disappear.
Semi-automatic time adjustment (cooking period)
This function helps you to cook for a fixed period of time. A time range between 0 and 10 hours can be set. Prepare the food for cooking and put it in the oven.
- Select the desired cooking function and the temperature using the control knobs.
- Press “MODE” until you see “dur” and the symbol on the display screen. The symbol Awill flash.
- Select the desired cooking time period using the “+” and “-” keys.

- The current time will reappear on the screen and the symbols A
and
will remain illuminated.
When the timer reaches zero, the oven will switch off and an audible warning will sound. The symbols will flash. Turn both control knobs to the ” and press any key on the timer to stop the warning sound. The symbols will disappear and the timer will switch back to the manual function.
Semi-automatic time adjustment (finishing time)
This function automatically starts the oven so that cooking will finish at a set time. You can set an end time of up to 10 hours after the current time of day. Prepare the food for cooking and put it in the oven.
- Select the desired cooking function and the temperature using the control knobs.
- Press”MODE” until you see “end” and the symbol on the display Screen. “A” and the current time of day will flash.
- Use the “+” and “- buttons to set the desired finishing time.
- The current time will reappear on the screen, the symbol “A”,
and will remain illuminated.
When the timer reaches zero, the oven will switch off and an audible warning will sound. The symbol ” will flash. Turn both control knobs to the ” and press any key on the timer to stop the sound. The symbol will disappear and the timer will switch back to the manual function.
Full-automatic programming
This function is used to start cooking after a certain period of time and for a certain duration. A time of up to 10 hours after the current time of day can be set. Prepare the food for cooking and put it in the oven.
- Select the desired cooking function and the temperature using the control knobs.
- Press “MODE” until you see “dur” and the symbol on the screen. The symbol “A” will flash.
- Select the desired cooking time period using the “+” and ” keys.

- The current time will reappear on the screen, the symbol “A”,
and will remain illuminated.
- Press”MODE” until you see “end” and
the symbol on the screen. The time and the symbols “A” and Bi will flash.
- Select the desired finishing time using the “+” and “-” keys.

- Add the cooking period to the current time of day. You can set a time of up to 23 hours and 59 minutes after this.

- The current time will reappear on the screen, and the symbol “A”,
and
will remain illuminated.
The operating time will be calculated and the oven will automatically start so that cooking will finish at the set finishing time. When the timer reaches zero, the oven will switch off, an audible warning will sound and the symbols will flash. Turn both control knobs to the ” and press any key to stop the sound. The symbol will disappear and the timer will switch back to the manual function.
Sound Adjustment
To adjust the volume of the audible warning sound, while the current time of day is displayed, press and hold the”-” button for 1-2 seconds until an audible signal sounds. After this, each time the”-” button is pressed, a different signal will sound. There are three different types of signal sounds. Select the desired sound and do not press any other buttons. After a short time, the selected sound will be saved.
ACCESSORIES
The Grill Pan and Handle Set The grill pan set is best used for grilling steaks and similar foods.
WARNING:
The grill pan has a detachable handle. Make sure when using the grill pan handle that it is centralized and secure, as shown in the figure. Do not leave the handle in position while grilling is in operation.
The Wire Grid
The wire grid is best used for grilling or for processing food in oven-friendly containers.
WARNING
Place the grid to any corresponding rack in the oven cavity correctly and push it to the end.
CLEANING AND MAINTENANCE
CLEANING
WARNING:
Switch off the appliance and allow it to cool before cleaning is to be carried out.
General Instructions
- Check whether the cleaning materials are appropriate and recommended by the manufacturer before use on your appliance.
- Use cream cleaners or liquid cleaners which do not contain particles. Do not use caustic (corrosive) creams, abrasive cleaning powders, rough wire wool or hard tools as they may damage the cooker surfaces.
Do not use cleaners that contain particles, as they may scratch the glass, enameled, and/or painted parts of your appliance. - Should any liquids overflow, clean them immediately to avoid parts becoming damaged.
Do not use steam cleaners for cleaning any part of the appliance.
Cleaning the Inside of the Oven
- The inside of enameled ovens is best cleaned while the oven is warm.
- Wipe the oven with a soft cloth soaked in soapy water after each use. Then, wipe the oven over again with a wet cloth and dry it.
- You may need to use a liquid cleaning material occasionally to completely clean the oven.

Catalytic Cleaning
- Catalytic liners are installed within the oven cavity. These are the matte-finished, light-colored panels on the sides and/or the matte-finished panel at the rear of the oven. They work by collecting any grease and oil residue during cooking.
- The liner self-cleans by absorbing fats and oils and burning them to ash, which can then be easily removed from the floor of the oven with a damp cloth. The lining must be porous to be effective. The liner may discolor with age.
- If a large amount of fat is spilled onto the liner, it may reduce its efficiency. To overcome this problem, set the oven to a maximum temperature for about 20 – 30 minutes. preferably after cooking as the oven will still be hot. After the oven has cooled, wipe out the floor of the oven.
- Manual cleaning of the catalytic liners is not recommended. Damage will occur if a soap-impregnated steel wool pad or any other abrasives are used. In addition, we do not recommend the use of aerosol cleaners on the liners. The walls of a catalytic liner may become ineffective due to excess grease. The excess grease can be removed with a soft cloth or sponge soaked in hot water, and the cleaning cycle can be carried out as described above.
Removal of Catalytic Liner
To remove the catalytic liner, firstly remove the metal side rails (refer to page 22).
Remove the screws holding each catalytic panel to the oven.
Cleaning the Ceramic Glass
Ceramic glass can hold heavy utensils but may be broken if it is hit with a sharp object.
WARNING:
Ceramic Cooktops – if the surface is cracked, to avoid the possibility of an electric shock, switch off the appliance and call for service.
- Use a cream or liquid cleaner to clean the vitroceramic glass. Then, rinse and dry the glass thoroughly with a dry cloth.
- Do not use cleaning materials meant U for steel as they may damage the glass.
- If substances with a low melting point are used in the cookware’s base or coatings. they can damage the glass-ceramic cooktop.lf plastic, tin foil, sugar or sugary foods have fallen on the hot glass-ceramic cooktop, please scrape it off the hot surface as quickly and as safely as possible. If these substances melt, they can damage the glass-ceramic cooktop. When you cook very sugary items like jam, apply a layer of a suitable protective agent beforehand if it is possible.
- Dust on the surface must be cleaned with a wet cloth.
- Any changes in color to the ceramic glass will not affect the structure or durability of the ceramic and is not due to a change in the material.
Colour changes to the ceramic glass may be for a number of reasons:
- Spilled food has not been cleaned off the surface.
- Using incorrect dishes on the hob will erode the surface.
- Using the wrong cleaning materials.
Cleaning the Glass Parts
- Clean the glass parts of your appliance on a regular basis.
- Use a glass cleaner to clean the inside and outside of the glass parts. Then, rinse and dry them thoroughly with a dry cloth.
Cleaning the Enamelled Parts
- Clean the enamelled parts of your appliance on a regular basis.
- Wipe the enamelled parts with a soft cloth soaked in soapy water. Then, wipe them over again with a wet cloth and dry them.
- Do not clean the enamelled parts while they are still hot from cooking.
- Do not leave vinegar, coffee, milk, salt, water, lemon or tomato juice on the enamel for a long time.
Cleaning the Stainless Steel Parts
- Clean the stainless steel parts of your appliance on a regular basis.
- Wipe the stainless steel parts with a soft cloth soaked in only water. Then, dry them thoroughly with a dry cloth.
- Do not clean the stainless steel parts while they are still hot from cooking.
- Do not leave vinegar, coffee, milk, salt, water, lemon or tomato juice on the stainless steel for a long time.
- Do not wash these parts in a dishwasher.
Cleaning Painted Surfaces
Spots of tomato, tomato paste, ketchup, lemon, oil derivatives, milk, sugary foods, sugary drinks, and coffee should be cleaned with a cloth dipped in warm water immediately. If these stains are not cleaned and allowed to dry on the surfaces they are on, they should NOT be rubbed with hard objects (pointed objects, steel, and plastic scouring wires, surface-damaging dish sponge) or cleaning agents containing high levels of alcohol, stain removers, degreasers, surface abrasive chemicals. Otherwise, corrosion may occur on the powder-painted surfaces, and stains may occur. The manufacturer will not be held responsible for any damage caused by the use of inappropriate cleaning products or methods.
Removal of the Inner Glass
You must remove the oven door glass before cleaning, as shown below.
- Push the glass in the direction of release from the location bracket (x). Pull the glass out in the direction of.

To replace the inner glass: - Push the glass towards and under the location bracket (Y ), in the direction of.

- Place the glass under the location bracket (x ) in the direction of.

If the oven door is a triple glass oven door, the third glass layer can be removed the same way as the second glass layer.
Removal of the Oven Door
Before cleaning the oven door glass, you must remove the oven door, as shown below.
- Open the oven door.

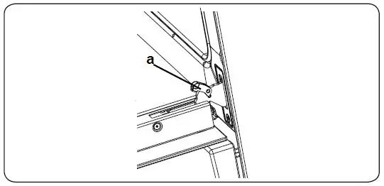
- Open the locking catch (a ) (with the aid of a screwdriver) up to the end position.

- Close the door until it almost reaches the fully closed position and remove the door by pulling it towards you.

To replace the door first locate the hinges in the door guides in the oven. Close the locking catch and close the oven door making sure that it closes correctly before use.
Removal of the Wire Racks
To remove the wire rack, pull the wire rack as shown in the figure. After releasing it from the clips (a ), lift it up and out of the locating holes.
To replace the wire racks, first, hook the guides back into the locating holes then push the rack back into the clips (a).
MAINTENANCE
WARNING:
The maintenance of this appliance should be carried out by an authorised service person or qualified technician only.
Changing the Oven Lamp
Disconnect the appliance from the mains supply and ensure 1t Is cool before attempting to change the bulb in your oven.
- Remove the glass lens, then remove the bulb.
- Insert the new bulb (resistant to 300 °C) to replace the bulb that you removed (230 V, 15-25 Watt, Type E14).
- Replace the glass lens, and your oven is ready for use.
- The product contains a light source of energy efficiency class G.
- The included light source is not intended for use in other applications.
The lamp is designed specifically for use in household cooking appliances. It is not suitable for household room illumination.
TROUBLESHOOTING & TRANSPORT
TROUBLESHOOTING
If you still have a problem with your appliance after checking these basic troubleshooting steps, please contact an authorised service person or qualified technician.
TRANSPORT
If you need to transport the product, use the original product packaging and carry it using its original case. Follow the transport signs on the packaging. Tape all independent parts of the product to prevent damaging the product during transport. If you do not have the original packaging, prepare a carriage box so that the appliance, especially the external surfaces of the product, is protected against external threats.
ENERGY FICHE

Here For You
After-sales assistance
If you continue to experience problems with your appliance, please call the Montpellier customer service helpline on: 01759 487839 Please have all your product details available, including the model number, serial number, original sales invoice (clearly showing the model number, date of purchase and your retailer’s details) before registering a fault.
The service call cannot progresS without this information.
Your 2-year Manufacturer’s guarantee
THIS DOES NOT AFFECT YOUR STATUTORY RIGHTS
Your new Montpellier appliance carries a free guarantee which protects you against the cost of repairs during the first 24 months from the date of purchase provided that:
Any claim is accompanied by evidence of the model reference, model serial number, and proof of purchase, such as a Sales Receipt, showing that the appliance was purchased within the 24 months prior to the date of claim.
What is not covered under the Guarantee
- Any appliance not correctly installed and operated in accordance with the manufacturer’s instructions
- Any appliance that is used for anything other than domestic purposes.
- Any defect caused by accident, misuse, unauthorized modification or inexpert repair.
- Cost of Call-out where a fault cannot be found with the appliance.
- Cost of Call-out for work covering routine maintenance, such as, but not exclusively, cleaning of filters or defrosting.
- Cost of Call-out for work required to correct the alignment of doors following door reversal procedures carried out by you.
- Use of the appliance by anyone other than the Householder.
- Use in any commercial environment.
- Consumable items, such as but not exclusively, fuses in plugs, bulbs, and breakable items which require routine replacement.
- Repair costs incurred that have not been authorised by Montpellier service and/or carried out by a non-approved Montpellier engineer.
- Montpellier Appliances do not accept claims for consequential loss, rusting, corroding, delivery damage, or Scratches.
YOUR GUARANTEE IS VALID ONLY IN THE UK & REPUBLIC OF IRELAND
To register your appliance simply complete the card in your appliance pack and return it with a stamp affixed or alternatively, you can register online at www,montpellier-appliances.com support.
SERVICE HELP-LINE
Should your appliance develop a fault, please call the Montpellier customer service helpline on 01759 487839
Please remember to have all your product details available, including the model number, serial number, date of purchase, and your retailer’s details before registering a fault.
Montpellier Domestic Appliances Ltd.
Unit 1, Tewkesbury Retail Park, Northway Lane, Tewkesbury, Gloucestershire GL20 8JU.
www.montpellier-appliances.com
The symbol on the product or on its packaging indicates that this product may not be treated as household waste. Instead, it shall be handed over to the applicable collection point for the recycling of electrical and electronic equipment. By ensuring this product is disposed of correctly. you will help prevent potential negative consequences for the environment and human health, which could otherwise be caused by inappropriate waste handling of this product. For more detailed information about recycling this product, please contact your local city office, your household waste disposal service, or the shop where you purchased the product.










































