
Instruction Manual / Installation Manual
MODEL: EMCER64
Congratulations on the purchase of your new Ceramic Hob.
We recommend that you spend some time reading this Instruction/installation manual in order to fully understand how to install correctly and operate it. For installation, please read the installation section. Read all the safety instructions carefully before use and keep this Instruction /Installation Manual for future reference.
Safety Warnings
Cut Hazard
- Take care – panel edges are sharp.
- Failure to use caution could result in injury or cuts.
INSTALLATION – Important safety instructions
- Read these instructions carefully before installing or using this appliance.
- No combustible material or products should be placed on this appliance at any time.
- Please make this information available to the person responsible for installing the appliance as it could reduce your installation costs.
- In order to avoid a hazard, this appliance must be installed according to these instructions.
- This appliance is to be properly installed and earthed only by a suitably qualified person.
- This appliance should be connected to a circuit that incorporates an isolating switch providing full disconnection from the power supply.
- Failure to install the appliance correctly could invalidate any warranty or liability claims.
Operation and maintenance
Electrical Shock Hazard
- Do not cook on a broken or cracked cooktop. If the cooktop surface should break or crack, switch the appliance off immediately at the mains power supply (wall switch) and contact a qualified technician.
- Switch the cooktop off at the wall before cleaning or maintenance.
- Failure to follow this advice may result in electrical shock or death.
Health Hazard
- This appliance complies with electromagnetic safety standards.
- However, persons with cardiac pacemakers or other electrical implants (such as insulin pumps) must consult with their doctor or implant manufacturer before using this appliance to make sure that their implants will not be affected by the electromagnetic field.
- Failure to follow this advice may result in death.
Hot Surface Hazard
- During use, accessible parts of this appliance will become hot enough to cause burns.
- Do not let your body, clothing, or any item other than suitable cookware contact the Induction glass until the surface is cool.
- Never leave metal objects (such as kitchen utensils) or empty pans on the cooktop as they can become hot very quickly. Keep children away.
- Handles of saucepans may be hot to touch. Check saucepan handles do not overhang other cooking zones that are on. Keep handles out of reach of children.
- Failure to follow this advice could result in burns and scalds.
Cut Hazard
- The razor-sharp blade of a cooktop scraper is exposed when the safety cover is retracted. Use with extreme care and always store safely and out of reach of children.
- Failure to use caution could result in injury or cuts.
Important safety instructions
- Never leave the appliance unattended when in use. Boil over causes smoking and greasy spillovers that may ignite.
- Never use your appliance as a work or storage surface.
- Never leave any objects or utensils on the appliance.
- We recommend using plastic or wooden kitchen utensils for cooking with your ceramic cooktop.
- Never use your appliance for warming or heating the room.
- After use, always turn off the cooking zones and the cooktop as described in this manual (i.e. by using the touch controls)
- Do not allow children to play with the appliance or sit, stand, or climb on it.
- Do not store items of interest to children in cabinets above the appliance. Children climbing on the cooktop could be seriously injured.
- Do not leave children alone or unattended in the area where the appliance is in use.
- Children or persons with a disability that limits their ability to use the appliance should have a responsible and competent person to instruct them in its use. The instructor should be satisfied that they can use the appliance without danger to themselves or their surroundings.
- Do not repair or replace any part of the appliance unless specifically recommended in the manual. All other servicing should be done by a qualified technician.
- Do not use a steam cleaner to clean your cooktop.
- Do not place or drop heavy objects on your cooktop.
- Do not stand on your cooktop.
- Do not use pans with jagged edges or drag pans across the glass surface as this can scratch the glass.
- Do not use scourers or any other harsh abrasive cleaning agents to clean your cooktop, as these can scratch the Induction glass.
- If the power supply cable is damaged, it must only be replaced by a qualified technician.
- Do not operate your cooktop by means of an external timer or separate remote-control system.
- This appliance is intended to be used in households and similar applications.
THIS APPLIANCE IS NOT INTENDED FOR USE IN COMMERCIAL APPLICATIONS.
Product Overview
Top View 
- max. 1200 W zone
- max. 1800 W zone
- max. 1200 W zone
- max. 1800 W zone
- Glass plate
- Control panel
Control Panel 
- ON/OFF control
- keylock control
- Power regulating controls
Product Information
The microcomputer ceramic cooker hob can meet different kinds of cuisine demands using resistance wire heating, micro-computerized control, and multi-power selection.
Before using your New Ceramic Hob
- Read this guide, taking special note of the ‘Safety Warnings’ section.
- Remove any protective film that may still be on your ceramic hob.
Using the Touch Controls
- The controls respond to touch, so you don’t need to apply any pressure.
- Use the ball of your finger, not the tip.
- You will hear a beep each time a touch is registered.
- Make sure the controls are always clean, dry, and that there is no object (e.g. a utensil or a cloth) covering them. Even a thin film of water may make the controls difficult to operate.

Choosing the right Cookware
Do not use cookware with jagged edges or a curved base.

Make sure that the base of your pan is smooth, sits flat against the glass, and is the same size as the cooking zone. Always center your pan on the cooking zone.
Always lift pans off the ceramic hob – do not slide, or they may scratch the glass.
Using your Ceramic Hob
To start cooking
- Touch the ON/OFF
control.
• After power on, the buzzer beeps once, all the indicators light up for 1 minute then go out, indicating that the ceramic hob has entered the state of standby mode.
- Place a suitable pan on the cooking zone that you wish to use.
• Make sure the bottom of the pan and the surface Of the cooking zone are clean and dry.
- Select a heat setting by touching the or control.
• If you don’t choose a heat setting within 1 minute, the ceramic hob will automatically switch off. You will need to start again at step 1.
• You can modify the heat setting at any time during cooking.
When you have finished cooking
1a. Turn the cooking zone off by scrolling down to “- “or touching
and
controlling together. 
1b. Turn the whole cooktop off by touching the ON/OFF
control.
2. Beware of hot surfacesH will show which cooking zone is hot to touch. It will disappear when the surface has cooled down to a safe temperature. It can also be used as an energy-saving function if you want to heat further pans, use the hotplate that is still hot.

Locking the Controls
- You can lock the controls to prevent unintended use (for example children accidentally turn the cooking zones on).
- When the controls are locked, all the controls except the ON/OFF control are disabled.
To lock the controls
Touch the keylock
control. The indicator next to the keylock will light up
To unlock the controls
- Make sure the ceramic hob is turned on.
- Touch and hold the keylock control
for 2 seconds. - You can now start using your ceramic hob.
When the hob is in the lock mode, all the controls are disabled except the ON/OFF, you can always turn the ceramic hob off with the ON/OFF
control in an emergency, but you shall unlock the hob first in the next operation
Over-Temperature Protection
A temperature sensor inside the ceramic hob will stop the ceramic hob operation automatically.
Residual Heat Warning
When the hob has been operating for some time, there will be some residual heat. The letter “ ”appears to warn you to keep away from it.
Auto Shutdown
Another safety feature of the hob is auto shutdown. This occurs whenever you forget to switch off a cooking zone. The default shutdown times are shown in the table below:
| Power level | 1 | 2 | 3 | 4 | 5 | 6 | 7 | 8 | 9 |
| Default working timer (hour) | 8 | 8 | 8 | 4 | 4 | 4 | 2 | 2 | 2 |
Cooking Guidelines
Take care when frying as the oil and fat heat up very quickly. At extremely high temperatures oil and fat will ignite spontaneously and this presents a serious fire risk.
Cooking Tips
- When food comes to a boil, reduce the temperature setting.
- Using a lid will reduce cooking times and save energy by retaining the heat.
- Minimize the amount of liquid or fat to reduce cooking times.
- Start cooking on a high setting and reduce the setting when the food has heated through.
Simmering, cooking rice
- Simmering occurs below boiling point, at around 85˚C when bubbles are just rising occasionally to the surface of the cooking liquid. It is the key to delicious soups and tender stews because the flavors develop without overcooking the food. You should also cook egg-based and flour-thickened sauces below boiling point.
- Some tasks, including cooking rice by the absorption method, may require a setting higher than the lowest setting to ensure the food is cooked properly in the time recommended.
Searing steak
To cook juicy flavorsome steaks:
- Stand the meat at room temperature for about 20 minutes before cooking.
- Heat up a heavy-based frying pan.
- Brush both sides of the steak with oil. Drizzle a small amount of oil into the hot pan and then lower the meat onto the hot pan.
- Turn the steak only once during cooking. The exact cooking time will depend on the thickness of the steak and how cooked you want it. Times may vary from about 2 – 8 minutes per side. Press the steak to gauge how cooked it is – the firmer it feels the more ‘well done it will be.
- Leave the steak to rest on a warm plate for a few minutes to allow it to relax and become tender before serving.
For stir-frying
- Choose an induction-compatible flat-based wok or a large frying pan.
- Have all the ingredients and equipment ready. Stir-frying should be quick. If cooking large quantities, cook the food in several smaller batches.
- Preheat the pan briefly and add two tablespoons of oil.
- Cook any meat first, put it aside and keep warm.
- Stir-fry the vegetables. When they are hot but still crisp, turn the cooking zone to a lower setting, return the meat to the pan and add your sauce.
- Stir the ingredients gently to make sure they are heated through.
- Serve immediately.
Heat Settings
The settings below are guidelines only. The exact setting will depend on several factors, including your cookware and the amount you are cooking. Experiment with the cooktop to find the settings that best suit you.
| Heat setting | Suitability |
| 1 -2 | •delicate warming for small amounts of food •melting chocolate, butter, and foods that burn quickly •gentle simmering •slow warming |
| 3 -4 | •reheating •rapid simmering •cooking rice |
| 5 -6 | •pancakes |
| 7 -8 | •sautéing •cooking pasta |
| 9 | •stir-frying •searing |
| • bringing soup to the boil • boiling water |
Care and Cleaning
| What? | How? | Important! |
| Everyday soiling on glass (fingerprints, marks, stains left by food or non-sugary spillovers on the glass) | 1. Switch the power to the cooktop off. 2. Apply a cooktop cleaner while the glass is still warm (but not hot!) 3. Rinse and wipe dry with a clean cloth or paper towel. 4. Switch the power to the cooktop back on. | • When the power to the cooktop is switched off, there will be no ‘hot surface’ indication but the cooking zone may still be hot! Take extreme care. • Heavy-duty scourers, some nylon scourers, and harsh/abrasive cleaning agents may scratch the glass. Always read the label to check if your cleaner or scourer is suitable. • Never leave cleaning residue on the cooktop: the glass may become stained. |
| Boilovers melts and hot sugary spills on the glass | Remove these immediately with a fish slice, palette knife or razor blade scraper suitable for ceramic glass cooktops, but beware of hot cooking zone surfaces: 1. Switch the power to the cooktop off at the wall. 2. Hold the blade or utensil at a 30° angle and scrape the soiling or spill to a cool area of the cooktop. 3. Clean the soiling or spill up with a dishcloth or paper towel. 4. Follow steps 2 to 4 for ‘Everyday soiling on glass’ above. | • Remove stains left by melts and sugary food or spillovers as soon as possible. If left to cool on the glass, they may be difficult to remove or even permanently damage the glass surface. • Cut hazard: when the safety cover is retracted, the blade in a scraper is razor-sharp. Use with extreme care and always store safely and out of reach of children. |
| Spillovers on the touch controls | 1. Switch the power to the cooktop off. 2. Soak up the spill 3. Wipe the touch control area with a clean damp sponge or cloth. 4. Wipe the area completely dry with a paper towel. 5. Switch the power to the cooktop back on. | • The cooktop may beep and turn itself off, and the touch controls may not function while there is liquid on them. Make sure you wipe the touch control area dry before turning the cooktop back on. |
Hints and Tips
| Problem | Possible causes | What to do |
| The cooktop cannot Be turned on. | No power. | Make sure the cooktop is connected to the power supply and that it is switched on. Check whether there is a power outage in your home or area. If you’ve checked everything and the problem persists, call a qualified technician. |
| The touch controls are unresponsive. | The controls are locked. | Unlock the controls. See section ‘Using your induction cooktop’ for instructions. |
| The touch controls are difficult to operate. | There may be a slight film of water over the controls or you may be using the tip of your finger when touching the controls. | Make sure the touch control area is dry and use the ball of your finger when touching the controls. |
| The glass is being scratched. | Rough-edged cookware. Unsuitable, abrasive scourer or cleaning products being used. | Use cookware with flat and smooth bases. See ‘Choosing the right cookware. See ‘Care and cleaning’. |
| Some pans make crackling or clicking noises. | This may be caused by the construction of your cookware (layers of different metals vibrating differently). | This is normal for cookware and does not indicate a fault. |
Technical Specification
| Cooking Hob | EMCER64 |
| Cooking Zones | 4 zones |
| Supply Voltage | 220-240V— 50/60Hz |
| Installed Electric Power | 5500-6600W |
| Product Size DxWxH(mm) | 590X520X50 |
| Building-in Dimensions AxB (mm) | 560X490 |
Weight and Dimensions are approximate. Because we continually strive to improve our products we may change specifications and designs without prior notice.
Installation
Selection of installation equipment
Cut out the work surface according to the sizes shown in the drawing. For the purpose of installation and use, a minimum of 5 cm space shall be preserved around the hole. Be sure the thickness of the work surface is at least 30mm. Please select heat-resistant work surface material to avoid larger deformation caused by the heat radiation from the hotplate. As shown below:

| L(mm) | W(mm) | H(mm) | D(mm) | A(mm) | B(mm) | X(mm) |
| 590 | 520 | 50 | 46 | 560 | 490 | 50 mini |
Under any circumstances, make sure the ceramic cooker hob is well ventilated and the air inlet and outlet are not blocked. Ensure the ceramic cooker hob is in good work state. As shown below
| A(mm) | B(mm) | C(mm) | D | E |
| 760 | 50 mini | 20 mini | Air exit 5mm | Air intake |
Note: The safety distance between the hotplate and the cupboard above the hotplate should be at least 760mm.
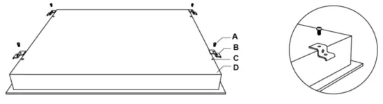
Before locating the fixing brackets
The unit should be placed on a stable, smooth surface (use the packaging). Fix the hob on the work surface by screwing four brackets on the bottom of the hob (see picture) after installation.
Adjust the bracket position to suit for different work surface thicknesses.
Cautions
- The ceramic cooker hob must be installed by qualified personnel or technicians. We have professionals at your service. Please never conduct the operation by yourself.
- The ceramic cooker hob shall not be mounted to cooling equipment, dishwashers, and rotary dryers.
- The wall and induced heating zone above the work surface shall withstand heat.
- To avoid any damage, the sandwich layer and adhesive must be resistant to heat.
- A steam cleaner is not to be used.
Connecting the hob to the mains power supply
The power supply should be connected in compliance with the relevant standard,or a single-pole circuit breaker.the method of connection is shown below.

- If the cable is damaged or needs replacing, this should be done by an aftersales technician using the proper tools, so as to avoid any accidents.
- If the appliance is being connected directly to the main supply, an omnipolar circuit breaker must be installed with a minimum gap of 3mm between the contacts.
- The installer must ensure that the correct electrical connection has been made and that it complies with safety regulations.
- The cable must not be bent or compressed.
- The cable must be checked regularly and only replaced by a properly
GLEM GAS AUSTRALASIA PTY. LTD. PO BOX 63 BLAXCELL PO,
SOUTH GRANVILLE NSW 2142 Tel. 02 9721 2755 Fax: 9721 2766
PRODUCT WARRANTY
Thank you for choosing an Emilia Glem Appliance, the purchase of this appliance is an important investment in your home and so to protect your investment we urge you to complete the registration card attached, please return it immediately. The benefits conferred by this warranty are in addition to all other conditions and warranties in respect of this product which the consumer may have under the Trade Practices Act 1874 of the Commonwealth of Australia and/or similar State or Territory Laws. Glem Gas Australasia P/L. warrants, this appliance to be free from defects in workmanship and materials for a period of: Where the appliance is intended to be used and is used for DOMESTIC USE – 24 MONTHS FROM
DATE OF DELIVERY TO THE ORIGINAL PURCHASER.
Where the appliance is intended to be used and is used for COMMERCIAL USE – 90 DAYS FROM DATE OF DELIVERY TO THE ORIGINAL PURCHASER Glem Gas Australasia P/L., during the period of warranty, will at its option, and subject to the terms and conditions stated below, repair or replace free of charge this appliance or any component part, which upon examination by Glem Australasia P/L. is found to be defective.
This Warranty shall not apply:
- If the rating plate has been removed or the serial number or other details on it have been removed or rendered illegible.
- If the appliance is connected to any voltage other than shown on the rating plate.
- If the appliance has been subjected to misuse, abuse accident, or want of care.
- If the appliance has been installed, operated, or maintained contrary to the instructions supplied by Glem Gas Australasia P/L.
- If the appliance has been installed by anyone other than a licensed electrician. Proof of the authorized installation is required when making a claim on the Warranty.
- If any defect or failure is due to a connection to an inadequate or faulty power supply.
- If damage is caused by foreign objects on the appliance or by reason of its use for purposes other than that for which it was delivered.
- If a repair has been made or attempted by the purchaser.
- Where the appliance is installed outside an 80km. radius from the G.P.O. of any Australian Capital City, to freight or travel costs beyond that radius.
- This warranty does not cover any glass damage or replacement of light bulbs.
Glem Gas Australasia P/L. accepts no liability pursuant to this Warranty for any cost or consequential damage or economic loss whether direct or indirect, to any person or property, arising from breakdown or failure of this appliance or any part thereof, and no responsibility is to be implied or accepted over and above the replacement value of the product. Parts covered under warranty that need replacing i.e.: seals, knobs, and burner caps. These can be posted to customers to put on at their discretion. This Warranty is given by Glem Gas Australasia Pty Ltd. and no other person or organization is authorized to vary its provisions and conditions.
Complete this section and keep for your own record.
ApplianceType……………………………………………………………..
Model No…………………………………………………………………….
Serial No……………………………………………………………….
Purchased From……………………………………………………
Date of purchase……….I……….I………
Please complete the section below and return to:
Glem Gas Australasia Pty Ltd, P.O. Box 63 Blaxcell PO, South Granville NSW, 2142 or Email [email protected]
Appliance Type…………………………………..Model No…………………………
Serial No……………………………………………………………..
Purchased from……………………………………………………….
Date of purchase………………………………………………………
Customer name…………………………………………………………..
Address…………………………………………………………….Post Code ……………
Installers signature…………………………..……..………………………..
Installer License……………………………..……..…………………………..
Installers compliance number……………………………………………..




















