Varimixer AR30 V L -1S Planetary Mixer

ORDERING OF SPARE PARTS
Sales of spare parts for our mixers, are handled in our sales and service department. When ordering spare parts, the following information must be provided:
- Type of machine.
- Number of the machine.
- Article number of the spare part in question. (Order no.)
- Method of conveyance.
If one of the above pieces of information is missing, please contact our sales and service department before placing the order, as then we can assist you in finding the correct article number (order no.) of the spare part in question.
A few spare parts are not sold alone, in such cases reference is made at the pos.number to the assembly number to be used for ordering. The assembly numbers are shown on the relevant pages.
Returning of spare parts is only allowed when agreed with: Varimixer A/S
Speed regulation
| FIG NO. | Order no. | Description |
| 1 | 56SN20-30 | Microswitch |
| 2 | AE31-86.16 | Pin |
| 3 | AR30-318.1M | Cap with scale |
| 4 | AR30-47.10 | Disc with arrow |
| 5 | AR30-47.11 | Clamp, speed indicator |
| 6 | AR30-517 | Actuator |
| 7 | AR31-520.11 | Bracket, limit switch |
| 8 | AR31-520.3 | Limit switch, cam washer |
| 9 | AR60-543E | Servo arm |
| 10 | AR31-519.4 | Pin |
| 11 | R20-47.1M | Speed selector lever |
| 12 | R30E-47.1 | Change over shaft |
| 13 | STA3414 | Circlip |
| 14 | STA5247 | Screw |
| 15 | STA5254 | Self tapping Screw |
| 16 | STA5434 | Screw |
| 17 | STA5436 | Screw |
| 18 | STA5607 . | Screw |
| 19 | STA5619 | Screw |
| 20 | STA5819 | Nut |
| 21 | STA6056 . | Lock washer |
| 22 | STA6205 . | Cotter pin |
| 23 | AR31-520.11M | Limit switch, assembly |
| 24 | STA5712 | Screw |
| 25 | AR31-519.11 | Bracket |
| 26 | STA5322 | Screw |

Transmission
| Fig no. | Order no. | Description |
| 1 | STA6018 | Washer |
| 7 | R27-128. | V-belt pulley |
| 9 | STA2024 | Feather Key |
| 10 | STA3220 | Grease nipple |
| 11 | STA3410 | Circlip |
| 12 | 6205 2RS | Ball bearing |
| 13 | STA3514 | Circlip |
| 15 | R15-143 | Distance bushing |
| 16 | R30-6 | Bearing arm |
| 17 | STA5348 | Hex cap screw |
| 18 | STA6033 | Washer |
| 19 | R27-91 | V-belt |
| 31 | R27-227Z | Clamping ring |
| 32 | STA2011 | Feather Key |
| 33 | STA5018 | countersunk head screw |
| 35 | R60-61.1E | Base for motor |
| 37 | STA5810 | Hex Nut |
| 38 | STA5895 | Hex flange nut |
| 38a | STA5812 | Hex Nut |
| 39 | AR31-305. | Stud bolt |
| 40 | R20-26.1 | Support bracket for belt |
| 41 | STA5447 | Hex cap screw |
| 42 | STA6026 | Washer |
| 43 | STA5345 | Hex cap screw |
| 44 | R27-16 | Fork for belt tightener, lower |
| 45 | R20-19 | Fork for belt tightener |
| 46 | R20-275 | Compression spring |
| 47 | R15-46 | Toothed rack shaft |
| 48 | STA5815 | Hex Nut |
| 49 | STA3407 | Circlip |
| 50 | STA6040 | Washer |
| 51 | STA5433 | Hex cap screw |
| 52 | STA6034 | Washer |
| 53 | R15-142 | Grease gun |
| 54 | STA6043 | Shim washer |
| 55 ………………*3) | *3) .. R40-129 | V-belt pulley |
| 55a …………….*4) | *4) .. R40-129A. | |
| 56 | STA2030 | Feather Key |
| 57 | STA3425 | .Circlip |
| 58 ………………*3) | R40-90. | V-belt |
| 58a …………….*4) | R40-90.1 | |
| ………………….*3) | 50 Hz power supply | |
| ………………….*4) | 60 Hz power supply |

R15-59.1Z …………. Motor pulley, assembly
R27-6Z ……………… Pulley bearing arm, assembly
R15-41.1Z …………. Pulley assembly
R15-18Z ……………. Bearing bracket, assembly
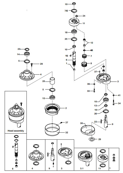
Planetary head
| Fig no | Order no. | Description |
| *1) .. R30-2.2M. | Planetary head assembly | |
| 3) .. R30-2.3MR | ||
| 1 | R30-101Z | Needle bearing, assembly |
| 2 | R30-1. | Gear wheel rim |
| 3 | R30-2Z | Eccentric head, kit |
| 3.1 | *1) .. R30-2.2Z | Eccentric head assembly |
| 4 | R40-3Z | Main bearing, assembly |
| 5 + 26 | STA3526 | Circlip |
| 6 | R30-30Z | Main shaft, assembly |
| 7 | R30-31 | Rim pinion |
| 8 | R30-32 | Rim pinion, lower |
| 9 | R30-33Z | Bayonet shaft, kit |
| 10 | R30-37 | Distance piece |
| 11 | R30-36Z | Eccentric disc mounted |
| 12 | R30-96 | Needle bearing |
| 13 | R30-97 | Ball bearing |
| 14 | R30-98 | Ball bearing |
| 15 | R30-99 | Ball bearing |
| 16 | R40-34 | Distance piece |
| 18 | R30-100 | Ball bearing |
| 20 | R40-141 | Distance tube |
| 21 | STA2030 | Key |
| 22 | STA2038 | Key |
| 23 | STA3425 | Circlip |
| 24 | STA3472 | Circlip |
| 25 | STA3520 | Circlip |
| 26 | STA3522 | Circlip |
| 27 | STA5263 | Screw |
| 28 | STA5333 | Screw |
| 29 | W40-209 | Seal ring |
| 30 | W40-272 | Cap, planetary head |
| 32 ………………*1) | AR30-162H | Plastic cap, white |
| ………………….*3) | AR30-162G | Plastic cap, grey |
| 33 | STA5645 | Screw |
| 34 | STA5363 | Screw |
| 35 | STA6043 | Washer |
| 36 | STA6055 | Lock washer |
| 37 | STA6460 | Grooved pin |
| 40 | STA6046 | Washer |
| 41 | STA6030 | Washer |
| ………………….*1) . | Standard version | |
| ………………….*3) | Stainless steel frame version |

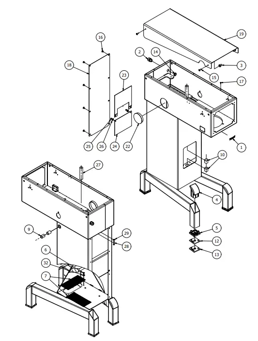
Machine column
| Fig no. | Order no. | Description |
| 1 | R15-245 | Arrow sign |
| 2 | STA3002 | Cable gland |
| 3 | STA6580 | Threaded bushing |
| 4 | AR30-212 | Blanking plug |
| 5 | AR30-213 | Levelling feet |
| 6 | STA5045 | Screw |
| 7 | AR31-22.180 | Grate |
| 9 | STA2515 | Bearing bushing |
| 10 | STA2520 | Bearing bushing |
| 12 | AR30-214.3 | Adjustment plate, 3 mm |
| 13 | AR30-214.6 | Adjustment plate, 6 mm |
| 14 | STA3014 | Cable gland nut |
| 15 | STA5017 | Screw |
| 16 | STA5080 | Screw |
| 17 | STA5232 | Self tapping Screw |
| 18 | AR31-22.17R | Cover plate |
| 19 | AR31P-21P | Top cover |
| 22 | STA6510 | Plug button |
| 24 | AR31-271M | Cover plate, lower |
| 25 | STA5834 | Lock Nut |
| 26 | STA6027 | Washer |
| 27 | AR31-148E | Stay |
| 28 | STA5625 | Screw |
| 29 | STA6056 | Lock washer |
| 32 | STA6165 | Washer |

Safety guard
| Fig | Order no. | Description |
| 1 | 56AR31-102.1 | Mounting shaft |
| 1.1 | STA3143 | O-ring |
| 2 | 56AR31-107M | Shield hinge |
| 4 | 56AR31-21M | Safety guard removable |
| 5 | 56AR31-22 | Safety guard fixed |
| 6 | 56AR31-280 | Filling tray Grey |
| 8 | STA5047 | Hex flange bolt |
| 9 | STA5332 | Hex flange bolt |

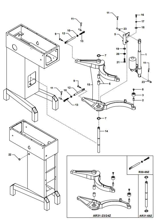
Lifting system
| Fig no. | Order no. | Description |
| 1 | AR30-86.2 | Lifting motor |
| 2 | AR31-127 | Roller shaft |
| 3 | AR31-128 | Roll for bowl clamping |
| 4 | AR31-519.4 | Pin |
| 5 | AR31-86.15 | Fitting for lifting motor |
| 6 | STA2522 | Bearing bushing |
| 7 | STA3467 | Circlip |
| 8 | STA5088 | Screw |
| 9 | STA5690 | Shoulder bolt |
| 10 | STA5827 | Nut |
| 11 | STA6205 | Cotter pin |
| 12+13+10 | R30-69Z | Tensile rod |
| 14 | AR31-68Z | Bowl arm, guide rod |
| 15 | AR31-23/24Z | Bowl arm set, colour black** |
| ** | For other colours, please contact Varimixer A/S | |
| 16 | STA5312 | Screw |
| 17 | STA6053 | Spring lock washer |
| 18 | STA6027 | Washer |
| 19 | STA6026 | Washer |
| 20 | STA6057 | Spring lock washer |
| 21 | STA5728 | Screw |
| 22 | STA6517 | Blanking plug |

Attachment drive
| Fig no. | Order no. | Description |
| 1 | R15-5 | Bearing hub |
| 2 | R20-9 | Worm wheel |
| 3 | R15-10 | Gear case |
| 4 | R15-11 | Gear case cover |
| 5 | R20-49 | Worm shaft |
| 6 | R20-52Z | Gear shaft assembly |
| 7 | R15-50Z. | Attachment drive shaft assembly |
| 8 | STA2032 | Key |
| 9 | R20-104 | Ball bearing |
| 10 | R20-107 | Oil seal |
| 11 | R20-300 . | Gasket |
| 12 | R20-300Z | Gasket kit |
| 13 | R20-301 . | Gasket |
| 14 | STA2007 | Key |
| 15 | STA2011 | Key |
| 16 | STA3410 | Circlip |
| 17 | STA5018 | Screw |
| 18 | 6005 2RS | Ball bearing |
| 19 | STA5433 | Screw |
| 20 | STA5908 | Seal washer |
| 21 | STA6020 | Washer |
| 23 + 29 | STA6056 | Lock washer |
| 24 | R15-211 | Rubber ring |
| 25 | R15-215 | End cover |
| 26 | R15-8M0 | Engagement hub, white |
| 27 | STA5322 | Screw |
| 28 | STA5561 | Finger screw |
| 29 | R20-249 | .Label, “Greased for life” |
| 30 | STA6316 | Pin |
……Identification of motor, see page 18.
31 ..Drive unit, cable included
……Motor R40-85.1, 1,1 kW
……07040-1130
……07040-1130R. stainless steel frame version
32 ..Drive unit with attachment Drive, cable included
……Motor R40-85.1
……07030-1140 … 3F 1,1kW
……07030-1140R. 3F 1,1kW, stainless steel frame version




Microswitches
| Fig no. | Order no. | Description |
| 1 | 56CR10-111M | Safety Switch |
| 2 | STA5320 | Hex cap screw |
| 3 | STA5837 | Lock Nut |
| 4 | STA5721 | Hex cap screw |
| 5 | AR31-53 | Bracket for switch |
| 6 | STA5253 | Screw |
| 7 | AR61-522 | Microswitch |

Cables
| Fig no. | Order no. | Description |
| 1 | AR31-194.19M | Cable, safety switches |
| 2 | AR31-194.90M | Signal cable |
| 3 | AR30-194.41M | Lifting signal cable |
| 5 | AR31-194.87M | .Supply cable |
| 6 | AR31-194.62M | Motor supply cable |
| 7 | AR31-194.59M | Power supply cable, with neutral |
| AR31-194.65M | Power supply cable, without neutral |


Electric components
| Fig no. | Order no. | Description |
| 1 | AR30-453.1 | Physical earth label |
| 2 | AR31-152.2M | Enclosure assembly |
| 3 | AR31-194.18M | Safety cable |
| 4 | AR31-194.82M | Supply cable |
| 5 | AR31-194.88M | Supply cable |
| 6 | AR31-194.91M | Signal cable |
| 7 | AR31-530.16M | Front panel assembly |
| 8 | STA5232 | Self tapping Screw |
| 9 | STA5897 | Hex flange nut |
| Frequency [Hz] | Voltage [V] | Motor [Item no.] | Power [kW] | Current [A] | Connection | Contactor, [fig.22] | Thermal Over load Relay [fig.23] | Overload relay setting [fig.23a] [A] |
| 50 | 3×230 | 5,0 | fl. | AR31-88.104+ | AR31-88.203 | 6,3 | ||
| 3×380-415 | R40-85.1 | 1,1 | 2,9 | AR31-88.146 | 3,6 | |||
| 60 | 3×480 | 2,6 | y | AR31-88.115+ AR31-88.146 | AR31-88.201 | 3,3 |

Front panel assembly
| Fig no. | Order no. | Description |
| 1 | AR31-174.35 | Switch emergency stop |
| 2 | AR31-174.36 | Switch mounting Collar |
| 3 | AR31-174.37 | Switch contact block |
| 4 | AR31-194.41M | Grounding cable |
| 5 | AR31-194.82M | Supply cable |
| 6 | AR31-530.6 | Front Panel |
| 7 | AR31-532.11 | Control board |
| 8 | AR31-562 | Gasket |
| 9 | STA5762 | Pan head screw Hex flange nut |
| 10 | STA5897 | Hex flange nut |
Enclosure box assembly
| Fig no. | Order no. | Description |
| 1 | AR31-418.9M | Enclosure |
| 2 | AR31-418.6 | Enclosure cover |
| 3 | AR31-414.1. | Power Supply |
| 4 | AR30-425.1 | Electronic limit switch |
| 5 | AR31-194.58M. | Wire harness |
| 6 | AR31-194.64M | Wire harness |
| 7 | AR31-194.86M | Wire harness |
| 8 | STA6161 | Cable tie mount |
| 9 ………………..*1) | AR30E-430 | Isolating transformer |
| 10 | STA3002 | Cable gland |
| 11 | AR30-457 | Screw terminal |
| 22 ………………*2) | Contactor | |
| 23 ………………*2) | Thermal Overload Relay | |
| ………………….*1) | With isolating transformer, >380V without neutral | |
| ………………….*2) | See page 18 | |
Front panel assembly


Bowls and mixing tools
| Fig no. | Order no. | Description | |
| 1 | RN30-75M | A | Bowl |
| 1 | RN30-75AM | B | Bowl |
| 2 | RN30-78M | A | Hook |
| 2 | R27-78AM | B | Hook |
| 3 | RN30-27.2M | A | Flat beater |
| 3 | R27-27A2M | B | Flat beater |
| 4 | R27-28AM | B | Stirring whip |
| 4 | RN30-28M | A | Stirring whip |
| 4 | RN30-28MS | A | Whip, reinforced |
| 4 | R30-28MT | A | Whip with thinner wires |
| 6 | 14R30A | B | Wing whip |
| 6 | 14RN30 | A | Wing whip |
| 7 | 39RN30 | A | Powder mixer |
| 8 …….** | 42RN30 | A | Scraper with Blade (PA) and holder |
| 8 | 42RN30A | B | Scraper with Blade (PA) and holder |
| 8 | 42RN30AT | B | Scraper with Blade (PTFE) and holder |
| 8 | 42RN30T | A | Scraper with Blade (PTFE) and holder |
| 9 | 42NR30A-202T | B | Scraper with Blade (PTFE) |
| 9 | 42RN30-202 | A | Scraper with Blade (PA) |
| 9 | 42RN30-202T | A | Scraper with Blade (PTFE) |
| 9 | 42RN30A-202 | B | Scraper with Blade (PA) |
| 10 | 42R40-105 | Scraper holdeR | |
| 11 | 42RN30-204T | A | Blade (PTFE) for scraper |
| 11 | 42RN30-204 | A | Blade (PA) for scraper |
| 11 | 42RN20-204T | B | Blade (PTFE) for scraper |
| 11 | 42RN20A-204 | B | Blade (PA) for scraper |
| 12 | STA5652 | Screw | |
| 13 | STA6029 | Washer | |
| 14 | 48R20Z | Rack for mixing tools | |
| 15 | 22AR30 | A | Bowl truck |
| 15 | 22AR30A | A | Bowl truck |
| 16 | 22R276 | Bowl truck Handle | |
| 17 | 22R30-41 | Bowl Truck Frame | |
| 18 | 22R140.1-9W | B | Spacer |
| 18 | 22R140.1-8W | A | Spacer |
| 19 | STA5642 | Socket head screw | |
| 20 | 22R30-520 | Castor wheel | |
| 21 | STA5608 | Hex socket set screw | |
| 22 | STA5675 | Slotted set screw |
………………All materials Stainless steel, unless otherwise specified
………** …..Adapted by mounting
………A……Full size bowl
………B……Half size bowl





CUSTOMER SERVICES
Varimixer A/S
Elementfabrikken 9
DK-2605 Brøndby
P: +45 4344 2288
E: [email protected]
www.varimixer.com
![]()













