
Original operating instructions
Refrigerator
Read the operating instructions before switching on for the first time

7083 208-00
BKV 5040 Refrigerator
| identifies a situation involving direct the danger which, if not obviated, may result in death or severe bodily injury. | |
| identifies a dangerous situation that, if not obviated, may result in death or severe bodily injury. | |
| identifies a dangerous situation that, if not obviated, may result in minor or medium bodily injury. | |
| identifies a dangerous situation that, if not obviated, may result in damage to property. | |
| Note | identifies useful information and tips. |
EPREL database
As of 1 March 2021, information about energy labeling and ecodesign requirements will be available in the European product database (EPREL). You can access the product database using the following link: https://eprel.ec.europa.eu/. You will be asked to enter the model identifier. You will find the model identifier on the type plate.
Safety instructions and warnings
– WARNING: do not seal ventilation openings on the appliance housing or enclosure.
– WARNING: only use the mechanical devices or other aids recommended by the manufacturer to help speed up the defrosting process.
– WARNING: do not damage the refrigerant circuit.
– WARNING: do not use any electrical devices in the refrigerator compartment which do not comply with the design recommended by the manufacturer.
– WARNING: the mains cable must not be damaged while installing the appliance.
– WARNING: multi-sockets or distributor strips and other electronic devices (such as halogen transformers) must not be positioned and operated at the rear of appliances. – WARNING: this appliance must be secured as described in the operating instructions to rule out any potential risks due to its instability.
– This appliance can be used by children of 8 years old and over, and also by persons with restricted physical, sensory or mental capacity or lack of experience and knowledge if they are supervised or have been instructed on safe use of the appliance and understand the resulting risks. Children must not be allowed to play with the appliance. Cleaning and user maintenance must not be carried out by children without supervision.
– Do not store any explosive substances, such as aerosol containers with flammable propellant gas, inside the appliance.
– To prevent injury and damage to property, the appliance should only be installed by two people.
– After unpacking it, check the appliance for signs of damage. Contact the supplier if it is damaged. Do not connect the appliance to the main power supply.
– Avoid prolonged skin contact with cold surfaces (e.g. chilled/frozen products). If necessary, take safety action (e.g. gloves).
– All repairs and work on the appliance may only be carried out by customer service personnel or other trained personnel. The same applies to changing the main power cable.
– Only carry out repair and other work on the appliance when the mains plug has visibly been disconnected.
– Only install, connect and dispose of the appliance as described in these operating instructions.
– In the event of a fault, pull out the plug or switch off the fuse.
– When disconnecting the appliance from the mains, pull on the plug. Do not pull on the cable.
– Ensure that food that has been stored for too long is not consumed. Dispose of food that has been stored for too long properly.
– Do not allow naked flames or ignition sources to enter the appliance.
– Alcoholic drinks or other vessels containing alcohol should be sealed tightly for storage.
Symbols on the appliance
| The symbol can be located on the compressor. It refers to the oil in the compressor and indicates the following danger: swallowing or inhaling can be fatal. This is only relevant for recycling. There is no danger in normal operation. | |
| Warning about inflammable substances. | |
| A sticker to this effect may be applied to the rear of the appliance. It refers to the foam-padded panels in the door and/or the housing. This is only relevant for recycling. Do not remove the sticker. |
Intended use
The appliance is suited only for cooling food.
This appliance may be used to display food and drink in retail sales outlets. It is suitable for commercial use, for example in restaurants, canteens, hospitals, and in commercial businesses such as bakeries, butcher shops, supermarkets, etc.
This professional refrigeration appliance is designed for storing chilled food. It is not designed for the presentation of food or for the removal of food by customers.
The appliance is designed for use in enclosed rooms. All other types of use are not permitted.
Foreseeable incorrect use
Do not use the appliance for the following applications:
- Storage and cooling of medicines, blood plasma, laboratory preparations or similar substances and products subject to the Medical Devices Directive 2007/47/EC.
- Use in potentially explosive atmospheres.
- Use outdoors or in areas where it is exposed to splash water or damp conditions.
Incorrect use of the appliance will result in damaging or spoiling the goods stored in it.
Declaration of conformity
The refrigerant circuit has been tested for leaks. The appliance complies with the relevant safety regulations and EU Directives 2006/42/EG, 2014/30/EU, 2009/125/EG and 2011/65/EU.
Noise emissions from the appliance
The noise level while the appliance is operating is below 70 dB(A) (relative noise level 1 pW).
Climate rating
The climate rating indicates at what room temperature the appliance may be operated to achieve full cooling capacity and what the maximum humidity level in the area around
the appliance may be to ensure that no condensation forms on the exterior housing.
The climate rating is indicated on the type plate.
| Climate rating | Max. room temperature | Max. relative humidity |
| 3 | 25 °C | 60% |
| 4 | 30 °C | 55% |
| 5 | 40 °C | 40% |
| 7 | 35 °C | 75% |
The minimum room temperature at the place of installation is 10°C.
Appliance dimensions

Description of the appliance

(1) Temperature control
(2) Temperature display
(3) Type plate
(4) Adjustable-height feet
Leveling the appliance
Compensate floor unevenness using adjustable feet.
NOTICE
The appliance must be aligned horizontally and vertically. If the appliance is not level, the main body of the appliance can be deformed and the door will not close properly.
Setting up
- Avoid positioning the appliance in direct sunlight or near cookers, radiators, and similar sources of heat.
- The more coolant there is in the appliance, the larger the room in which the appliance is installed must be. If the room is too small, any leak may create a flammable mixture of gas and air.
For each 8 g of coolant, the installation space must be at least 1 m³. Information on the coolant is on the model plate inside the appliance. - Always install the appliance directly against the wall.
- If several appliances are installed next to each other, leave a gap of 30 mm between them.
If this gap is too narrow, condensation forms between the side walls.

Electrical connection
Only operate the appliance with alternating current (AC).
The permissible voltage and frequency are indicated on the type plate. The position of the type plate is shown in the section entitled Description of the appliance.
The socket must be properly earthed and protected by a fuse. The tripping current of the fuse must be between 10 A and 16 A.
The socket must not be situated behind the appliance and must be easily accessible.
Do not connect the appliance using an extension cable or extension socket.

Do not use stand-alone inverters (conversion of direct current to alternating current/three-phase current) or energy-saving plugs.
Risk of damage to the electronic control system!
Equipment
Fit the supplied shelf rails to the right and left of the appliance.

Suspend the rails at the desired height, by inserting them into the rear clip-in strip first and then clipping in at the front.
Stop brackets for shelf rails
When installing the shelf rails in the top 7 positions of the clip-in strip, one of the supplied stop brackets must be inserted in the corresponding rail.

This stops the baking tray from hitting the fan cover.
Inserting the stop bracket
Insert the stop bracket in the rail from above and slide it backward.

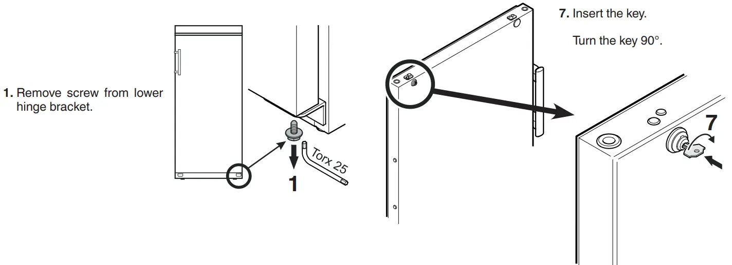
Safety lock
The lock in the appliance door is equipped with a safety mechanism.
Locking the appliance
- Insert the key as shown by arrow 1.
- Turn the key 90°.

To unlock the appliance, the same procedure must be repeated in the same order.
Temperature display
The temperature display is powered by a battery that is available from your specialist dealer.

Changing the battery
- Open the battery compartment using a small screwdriver.
- Replace the battery.
- Close the battery compartment.
If Er or HH appears in the display, the appliance has a fault. Consult the customer service department indicating the fault number displayed.
Switching the appliance on and off
You are recommended to clean the interior of the appliance before switching it on for the first time (see Cleaning).
Switching the appliance on
Connect the appliance to the mains – the appliance is switched on.

Switching the appliance off
Pull out the mains plug or set the temperature control to 0.
Note
When the temperature control is turned to “0”, the refrigeration system is switched off, but the appliance is not completely disconnected from the mains.
Setting the temperature
Set the temperature inside the appliance using the temperature control.

Note
The temperature in the warmest area of the interior may be higher than the temperature setting.
If the door is left open for a lengthy period, the temperature in the appliance’s compartments may rise dramatically.

Humidity function
Certain foods must be stored in a humid atmosphere (e.g. baked goods).
To prevent such foods from drying out, the humidity function must be activated.


Defrosting
The refrigerator compartment defrosts automatically.
When operating at a very cold thermostat setting, the interior rear wall may ice up. In this case, the appliance must be defrosted manually.
- Pull out the mains plug!
- Remove the food from the appliance and store in a cool place.
- Leave the door of the appliance open while defrosting. After defrosting mop up the remaining water and clean the appliance.
CAUTION
Risk of damage to the appliance components and risk of injury due to hot steam. Do not use steam cleaning equipment to clean the appliance.
NOTICE
Surfaces that may come into contact with food and accessible drain systems must be cleaned at regular intervals.
- Clean the inside, equipment parts, and outer walls with lukewarm water and a little detergent. Do not use chemical solvents or any cleaning agents containing sand or acid.
- To avoid short circuits, ensure no cleaning water penetrates into the electrical components when cleaning the appliance.
- Dry all parts well with a cloth.
- Use a commercially available stainless-steel cleaning agent for stainless-steel appliances.
- Do not damage or remove the type plate on the inside of the appliance. It is very important for servicing purposes.
Malfunctions
You may be able to rectify the following faults by checking the possible causes yourself:
- Appliance does not function:
– Is the appliance switched on?
– Is the plug correctly fitted in the mains socket?
– Is the fuse intact? - The temperature is not low enough:
– Is the temperature setting correct (see “Setting the temperature”)?
– Does the separately installed thermometer show the correct reading?
– Is the ventilation system working properly?
– Is the appliance set up too close to a heat source?
If none of the above causes apply and you cannot rectify the fault yourself, contact the nearest customer service department stating the type designation 1, service number 2 and appliance number 3 as indicated on the type plate.

The position of the type plate is shown in the section entitled Description of the appliance.
Shutting your appliance down
If the appliance is left empty for a lengthy period, it must be switched off, defrosted, cleaned, and dried and the door is to be left open to prevent mold formation.
Disposal notes
The appliance contains reusable materials and should be disposed of properly – not simply with unsorted household refuse. Appliances that are no longer needed must be disposed of in a professional and appropriate way, in accordance with the current local regulations and laws.
Do not damage the refrigerant circuit of an appliance that is no longer needed during its disposal.
This appliance contains inflammable gases in the refrigerant circuit and insulation foam.
Your local council or a waste disposal contractor can provide information about how to dispose of the appliance correctly.
Changing over door hinges
Door hinges should only be changed by a trained expert.
Changing the door hinges must be done by two people.











Liebherr-Hausgeräte GmbH
Memminger Straße 77-79
88416 Ochsenhausen
Germany
home.liebherr.com


















