LIEBHERR SGNPBS4365 Side-by-Side Refrigerator Instruction Manual
General safety information
The manufacturer works constantly on the further development of all the types and models. Therefore please understand that we have to reserve the right to make design, equipment and technical modifications.
To get to know all the benefits of your new appliance, please read the information contained in these instructions carefully.
The instructions apply to several models. Differences may occur. Text relating only to specific appliances is marked with an asterisk (*).
Instructions for action are marked with a
, the results of action are marked with a
.
The socket must be easily accessible so that the appliance can be quickly disconnected from the supply in an emergency. It must be outside the area of the rear of the appliance.
| DANGER | identifies a situation involving direct danger which, if not obviated, may result in death or severe bodily injury. | |
| WARNING | identifies a dangerous situation which, if not obviated, may result in death or severe bodily injury. | |
| CAUTION | identifies a dangerous situation which, if not obviated, may result in minor or medium bodily injury. | |
| NOTICE | identifies a dangerous situation which, if not obviated, may result in damage to property. |
| Note | identifies useful information and tips. |
External dimensions of the appliance

Fig. 1
| Model | a [mm] | b [mm] | c [mm] | d [mm] | e [mm] | f [mm] | g [°] | h [mm] |
| SBS(e s/bs) 86.., SBSes 84.. | 1210 | 1850 | 600 x | 665 x | 1185 x | 1752 | 115 | 35 |
If you are using wall spacers, add 15 mm to the dimensions.
With the door open, the dimensions apply to an opening angle of 115 °. Distances vary depending on the opening angle.
Side-by-side assembly
Install the freezer or the appliance with freezer compartment on the left as viewed from the front. These appliances have a sidewall heating on the right-hand side to prevent the formation of condensation.
All the assembly components are supplied with the appliance.
Fitting parts in the accessory kit.

Fig. 2
Fitting parts, supplied in the appliance

Ensure that the following tools are to hand:
- SW 23/10 open-ended wrench (supplied)
- Torx® 25/20/15 screwdriver
- Power screwdriver
- Spirit level
Information for moving the combined appliance:
- Before assembling the appliances, site them as closely as possible to the final position.
For proper assembly, the appliances must however be accessible on all sides. - When moving the appliances after assembly, always grasp the front outside corners. Never press your knee against the side walls or door.
- The combined appliance is easiest to shift diagonally by moving the left and right corner alternately.
Once the combined appliance is exactly in front of the aperture, push it straight in.
- If the combined appliance has to be pulled out of the aperture again, take hold of it in the lower third area and pull it straight forwards.

NOTICE
Risk of damage when moving the combined SBS appliance!
The combined SBS appliance is heavy once assembled. The appliance may be dented by improper movement.
Observe the information given on moving the appliance (see above).
- Remove all protective film from the outside of the housing.
Bottom front of the appliance:
- Tighten the outer adjustment feet. The appliances can be moved easier
- Push both appliances together up to approx. 10 mm apart so that they stand flush at the front.
- Line the appliances up with a spirit level on the top of the appliance.
Top front of the appliance:

Fig. 6
- Remove the existing covers.
- Before fitting the top bracket remove both earthing screws Fig. 6 (14).
- Store the earthing screws safely. The screws are necessary for fitting the bracket as shown below.

Fig. 7 - Slide the bracket Fig. 7 (3) onto the pins with the spacer between the appliances. Screw the brackets in loosely alternately right and left with four screws Fig. 7 (4) and the previously removed earthing screws Fig. 7 (14).
- If necessary, line the appliances up with a spirit level on the top of the appliance.
Bottom front of the appliance:

Fig. 8
- Remove the existing covers.
- Slide the bracket Fig. 8 (6) on with the spacer between the appliances and screw in loosely with the 4 screws Fig. 8 (4).
- If necessary line the appliances up again.
- Now tighten the screws firmly at the top and bottom.
Top back of the appliance:

Fig. 9
Slide the bracket Fig. 9 (7) onto the top of the appliance with the lugs and with the spacer between the appliances. Screw in firmly with the 2 screws Fig. 9 (5).
Bottom back of the appliance:

Fig. 10
NOTICE
Holes for the screws must be pre-drilled.
- Slide the bracket Fig. 10 (8) on with the slots over the retainer for the wall spacers.
- Mark the position of the holes to be drilled with a pencil.
- Remove the bracket again.

Fig. 11
NOTICE
Only drill through the metal plate. Drilling depth approx. 1mm.
- Pre-drill the screw holes with a 3 mm drill and deburr.

Fig. 12 - Slide the bracket Fig. 12 (8) on once more with the slots over the retainer for the wall spacers.
- Screw in tightly with the 2 screws Fig. 12 (5).
Before fitting the top and front cover strips, push the two bars together over the whole length. The strips can be inserted more easily into the gap. Use a soft cloth to push the strips in to avoid dents in the surface of the cover strips. Press the strips into the gap carefully and evenly in order to achieve an optimum bond.

Fig. 13
- On the top press the short cover strip Fig. 13 (9) into the horizontal gap.

Fig. 14 - On the front, press the long trim Fig. 14 (10) into the vertical gap. Ensure that the strip rests on the connecting plate.
- Peel the protective film off the cover strip.*

Fig. 15 - Snap the top cover Fig. 15 (11) onto the still open gap between the two control panel trims. Make sure that the outer sides of the cover form a flush finish with the control panel trims

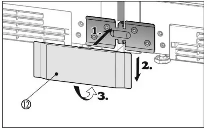
Fig. 16 - Place the bottom cover Fig. 16 (12) onto the bracket from the front (1), slide it down (2) and snap it in at the bottom (3).
- To disassemble the cover, insert a screwdriver at the bottom on the side below the cover and release both lower hooks.
The cover can swing out towards the top. - Connect the combination to the mains according to the manual.
Appliances with IceMakers:
Connect the appliance to the fixed water connection according to the manual.
NOTICE
Risk of damage when moving the combined SBS appliance!
The combined SBS appliance is heavy once assembled. The appliance may be dented by improper movement.
Observe the information given on moving the appliance (see above).
- Carefully slide the combination into the intended position.
- If necessary, align the height with the height-adjustable feet.
- Then support the door: Lower the adjustment feet on the mounting block until they rest on the floor then turn a further 90°.
The doors can be aligned in height with the aid of the outer, lower turn hinges:
- Extend the threaded pin Fig. 17 (17) a little (by one turn at most!).


Fig. 18 - In order to lift the door unscrew the mounting block
Fig. 18 (18)clockwise with the supplied open-end wrench
Fig. 18 (2). When delivered the mounting block is completely screwed in. - Tighten the threaded pin Fig. 17 (17) again to secure the bearing pin.
Liebherr-Hausgeräte Ochsenhausen GmbH
Memminger Straße 77-79
88416 Ochsenhausen
Deutschland
home.liebherr.com




























