Setting up
- Avoid positioning the appliance in direct sunlight or near cookers, radiators and similar sources of heat.
- The floor on which the appliance stands should be horizontal and level.
- Do not cover ventilation openings or grille.
- Standard EN 378 specifies that the room in which you install your appliance must have a volume of 1 m³ per 8 g of R 600a refrigerant used in the appliance, so as to avoid the formation of inflammable gas/air mixtures in the room where the appliance is located in the event of a leak in the refrigerant circuit. The quantity of refrigerant used in your appliance is indicated on the type plate on the inside of the appliance.
Electrical connection
Only operate the appliance with alternating current (AC).
The permissible voltage and frequency are indicated on the type plate. The position of the type plate is shown in the section entitled Description of the appliance (in the operating instructions). The socket must be properly earthed and protected by a fuse. The tripping current of the fuse must be between 10 A and 16 A. Do not connect the appliance using an exten- sion cable or extension socket.
Do not use stand-alone inverters (conversion of direct current to alternating/three-phase current) or energy-saving plugs. Risk of dam-age to the electronic control system!

Appliance dimensions

- A = 76 mm
- B = 2027 mm
- C = 910 mm
- D = 102 mm
- E = 610 mm
- G = 1078 mm
- H = 943 mm
Appliance venting
The required air flow is directed through the plinth. It is important to use the provided ventilation grille for the ventila-tion opening. This opening must not be covered.
Installation dimensions
The socket must be positioned within the areas marked in grey or above the installation recess. The ice maker is fitted in the freezer compartment of the com-bined refrigerator-freezer. It must be connected to the mains water supply to work. The water shut-off valve must be positioned within the areas marked in grey.
WARNING!
The water shut-off valve must not sit directly above the socket! The gap between the water shut-off valve and the socket must comply with the regulations of the country in which the appliance is used!

Mounting the anti-tipping device
WARNING!
The supplied anti-tipping bracket must be installed in all cases. This prevents the appliance from tipping over when the fully loaded door is opened.
Installation:
- Mark the centre line of the appliance on the floor. Align the anti-tipping bracket centre to the centre line.
CAUTION!
Ensure that there are no electric cables or water pipes in the wall section to which the anti-tipping bracket is to be secured. These could be damaged during installation.
- Secure the anti-tipping bracket to the floor using the 3 screws (6 mm x 60 mm) included in the accessory pack. The distance between the leading edge of the body of the unit and the rear edge of the anti-tipping bracket is 610 mm.
Important!
When securing the anti-tipping bracket to a concrete floor, use suitable plugs! If the floor slopes down sideways, the anti-tipping bracket must be fitted horizontally. Lay down spacers in the appropriate positions.

Connection to the water supply
Safety instructions and warnings
- Do not connect to the water supply while the combined refriger-ator-freezer is connected to the electricity supply.
- The connection to the mains water supply may only be made by trained personnel.
- The water quality must comply with the drinking water directives of the country in which the appliance is used.
- The ice maker is designed exclusively to make ice cubes in quantities required by a household and may only be operated with water suitable for this purpose.
- All repairs and work on the ice maker may only be carried out by customer service personnel or other trained personnel.
- The manufacturer cannot accept liability for damage caused by a faulty connection to the mains water supply.
Water pressure
The water pressure must be between 0.15 and 0.6 MPa (1.5 – 6 bar).
Important!
If the water filter is inserted in the appliance, the water pressure must lie between 0.3 and 0.6 MPa (3 – 6 bar). If the water pressure with the inserted water filter is too low, this may cause the ice maker to malfunction.
The water supply to the appliance must be through a cold water pipe that can withstand the operating pressure and complies with the hygiene regulations. For this, use the stainless steel hose supplied (length 3 m).
Installation
- Place the appliance in front of the installation recess.
- Apply cover strips on the side walls of the appliance.

- Insert the bent section of the hose through the opening at the rear of the appliance.

- Connect the hose to the solenoid valve at the front side of the appliance.

- Route the mains cable towards the socket.
- Route the water hose towards the water shut-off valve.
WARNING!
Do not connect the appliance to the power supply until the installation is completed.
CAUTION!
Lay the mains cable and the water hose in such a way that they will not be damaged when the appliance is slid into the installation recess.
- Push the appliance slowly into the recess until the compressor mounting plate touches the anti-tipping bracket.
WARNING!
To prevent the appliance from tipping forwards, the com-pressor mounting plate must be touching the anti-tipping bracket!
- Connect the hose to the shut-off tap. Open the shut-off tap and check the system for leakage.
Important!
After the ice maker has been switched on, the water supply system must be bled. See the section Bleeding the ice maker in the operating instructions.
Levelling the appliance
- Adjust the height of the appliance at the front by twisting the adjustable feet 1 (A/F 27). Use the open-ended spanner provided.
Caution!
The front feet of the ap-pliance must be firmly placed on the floor. - Adjust the height of the appliance at the rear by turning the adjusting bars 2. Turn the adjusting bars clockwise until the compressor mounting plate touches the anti-tipping bracket.
Adjusting the front of the drawer
If required, the front of the freezer drawers can be adjusted. Transfer the screws shown in the illustration (on the left and right sides of the freezer drawer) individually to the long slots below. Tighten the screws in the front of the drawer once it is in the right position.

Fastening the appliance in the recess
Fasten the appliance in the recess through the upper and lower hinges of the refrigerator doors. Use 2 screws for each hinge.
Before fitting the door panels
Remove cover 1 and unscrew attachment bracket 2 from the refrigerator doors. These attachment brackets will be mounted onto the refrigerator door panels.
Important!
The securing nuts are needed for re-mounting the pre-assembled door panels onto the refrigerator doors.
Unscrew the attachment brackets 3 from the freezer drawers. These attachment brackets will be mounted onto the freezer panels.
Important!
The screws are needed for re-mounting the pre-assembled freezer panels onto the freezer drawers.
Panel dimensions
Min. panel thickness = 16 mm Max. panel thickness = 19 mm
Maximum panel weight
Refrigerator panel = 12 kg Freezer drawer panel = 10 kg
Mounting the attachment brackets onto the door panels
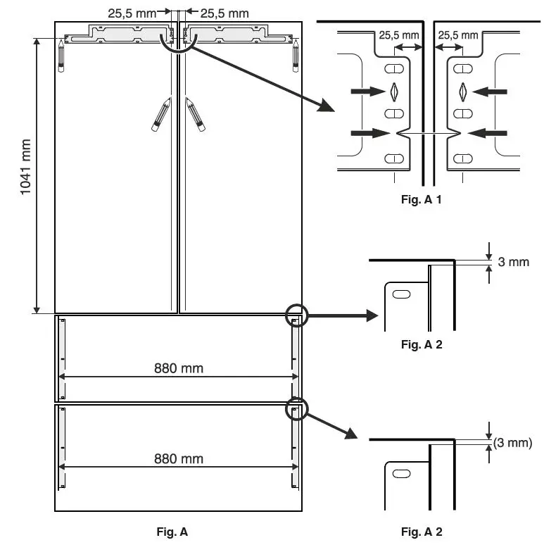
Mark lines on the refrigerator door panels as shown in fig. A. Align the dismounted brackets of the refrigerator doors to the lines on the refrigerator door panels as shown in fig. A 1. Fasten each bracket with any hole wherever possible using a minimum of 6 screws 4 x 16 mm. Fasten the brackets provided onto the freezer drawer panels using three screws (4 x 16 mm) for each bracket (Fig. A 2).
Mounting the refrigerator panel
The description is for one panel only. The procedure is the same for both panels.
- Open the refrigerator door and suspend the refrigerator panel on the top adjusting pins.
- Screw securing nuts onto the adjusting pins and slightly tighten.

- Close the refrigerator door and check the height of the panel.
- Adjust the height of the panel if necessary. Undo the securing nuts and use the adjusting pins to adjust.

- To make it possible to fasten the refrigerator panel at the bottom the soft-stop cylinder must be dismantled.
- 6. Grasp the soft-stop cylinder and pull down. The soft-stop cylinder retracts in the detached state.

- Transfer the lower edge of the attachment bracket onto the panel using a pencil. Remove the panel from the refrigerator door. Dismantle the lower attachment bracket from the refrigeratordoor. Align the bracket to the lines on the refrigerator door panel. Fasten the bracket using a minimum of 6 screws 4 x 16 mm.


- Open the refrigerator door and suspend the refrigerator panel on the top adjusting pins.
- Screw securing nuts onto the adjusting pins and slightly tighten.

- Move the panel to the left until it makes contact with the rail.
- Tighten the hex nuts finally.

- Fasten the refrigerator panel using the same screws that held the lower bracket before removal.

- Extend the soft-stop cylinder and connect with the ball stud

- Click cover into place.

Mounting the freezer panels
- Pull out the top freezer drawer and screw on the pre-assembled panel. The same screws must be used as those used to screw on the attachment brackets (3.5 x 13).
- Close the freezer drawer and check the position of the panel. Adjust the height of the panel by undoing the left and right screws. Tighten the screws.
- Pull out the bottom freezer drawer and mount the panel in the same way.
- For both drawers, cover the gap between the drawer and the panel with the cover strips supplied. Remove the protective film from the trim and insert into the gap at the top.

Mounting the dust filter
The supplied dust filter prevents that dirt enters the motor compart-ment, reducing the refrigeration performance. Therefore always install the dust filter.
- Pull the bottom freezer drawer right out.
- Remove the protective film from the dust filter. Insert the filter at the bottom, press the button down and click the filter into place.

Mounting the ventilation grille
Important!
To ensure fault-free operation of the appliance, you must install the supplied ventilation grille. Do not obstruct the ventilation opening or cover it with a panel!





































