LIEBHERR 7088279-00 Full-Height Biofresh Fridge

Appliance at a glance
Overview of the appliance and its equipment
Exemplary illustration of the appliance model
- Operating and control elements
- LED interior lighting (7) Rating plate
- Biofresh compartment (8) VarioSpace
- Ventilation grid (9) Rear transport handles
- Adjusting feet
- Front transport handles, rear transport castors
- Rating plate
- VarioSpace
- Rear transport handles

Note
Shelves, drawers and baskets are arranged for optimum energy efficiency on delivery.
Appliance range of use
Intended use
The appliance is only suitable for cooling food products in a domestic or household-like envi-ronment. This includes, for example, use:
- in staff kitchens, bed and breakfast establish-ments,
- by guests in country houses, hotels, motels and other accommodation,
- for catering and similar services in the whole-sale trade.
The appliance is not suitable for freezing food; The appliance is not suitable as a built-in unit. All other types of use are not permitted. Foreseeable misuse
The following applications are expressly forbidden:
- Storing and refrigerating medicines, blood plasma, laboratory preparations or similar substances and products based on the Medical Device Directive 2007/47/EC
- Use in areas at risk of explosions
- Use on moving substrates, such as ships, rail travel or aeroplanes
- Storing live animals
Misusing the appliance may lead to damage to the goods stored or they may spoil.
Climate classifications
Depending on the climate classification the appliance is designed to operate in restricted ambient temperatures. The climate classifica-tion applying to your appliance is printed on the rating plate.
Note
uKeep to the specified ambient temperatures in order to guarantee that the appliance works properly.
| Climate classi- fication | for ambient temperatures of |
| SN | 10 °C to 32 °C |
| N | 16 °C to 32 °C |
| ST | 16 °C to 38 °C |
| T | 16 °C to 43 °C |
Conformity
The refrigerant circuit has been tested for leaks. This appliance complies with the applicable safety stipulations and with direc-tives 2014/35/EU, 2014/30/EU, 2009/125/EG, 2011/65/EU and 2010/30/EU.
The BioFresh compartment meets the requirements of a cold storage compartment as set out in DIN EN 62552:2020.
EPREL database
Details about energy labelling and ecodesign requirements will be available on the European product database (EPREL) from 1st March 2021. You can access the product database at the following link: https://eprel.ec.europa. eu/ You will be asked to enter the model ID. You can find the model ID on the name-plate.
Installation dimensions
| Model | a (mm ) | b (mm) | c (mm ) | d (mm ) | e (mm ) | f (mm ) | g (mm ) | h (°) |
| B 28… | 600 | 1250 | 600x | 665x | 709x | 122 3x | 640 | 90 |
x When using wall spacers, the dimensions increase by 15 mm (see 4.2 Installing the appliance) .
Saving energy
- Pay attention to good ventilation. Do not cover ventilation holes or grids.
- Always keep the fan air slits clear.
- Do not install the appliance in direct sunlight, next to an oven, radiator or similar.
- Energy consumption depends on the installation conditions,
- g. the ambient temperature (see 1.2 Appliance range of use) . A warmer ambient temperature can increase the energy consumption.
- Open the appliance for as short a time as possible.
- The lower the temperature is set the higher the energy consumptioan.
- Keep all food properly packed and covered. This prevents frost from forming.
- Only take food out for as long as necessary so that it doesn’t warm up too much.
- Inserting warm food: allow to cool down to room temperature first.
- Use the holiday function if you intend to be away for an extended period .
General safety information
Example of food arrangement
Smart device
The appliance is ready for integration into a smart home and for extended services. With a SmartDe-vice Box, you can activate this and other options. This is activated via the MyLiebherr customer portal.
Note
The SmartDevice Box is available for purchase from the Liebherr Household Store (home.liebherr.com). You will find more information about availability and prerequi-sites and the individual options on the website, www.smartde-vice.liebherr.com.
Danger for the user:
- This device can be used by children and people with impaired physical, sensory or mental abilities or with a lack of experi-ence and knowledge provided that they are supervised or have received instruction in the safe use of this device, and about the resulting hazards. Children must not play with this appliance. Cleaning and user main-tenance work must not be carried out by chil-dren without adult supervision. Children aged between 3 and 8 are allowed to load and unload the appliance. Children below the age of 3 must be kept away from the appliance unless they are under continuous adult super-vision.
- When disconnecting the appliance from the supply, always take hold of the plug. Do not pull the cable.
- In the event of a fault pull out the mains plug or deactivate the fuse.
- Do not damage the mains power cable. Do not operate the appliance with a defective mains power cable.
- Only customer service or other specially trained staff may repair or perform other oper-ations on the appliance.
- Only assemble, connect and dispose of the appliance according to the instructions.
- Please keep these instructions in a safe place and pass them on to any subsequent owners.
Fire hazard:
- The coolant used (information on the model plate) is eco-friendly but also flammable. Any leaking coolant may ignite.
- Do not damage the refrigerant circuit pipes.
- Do not handle ignition sources inside the
- Do not use electrical appliances inside the appliance (e.g. steam cleaners, heaters, ice cream makers, etc.).
- If the refrigerant leaks: remove any naked flames or ignition sources from the vicinity of the leakage point. Properly air the room. Inform customer services.
- Do not store explosives or sprays using combustible propellants such as butane, propane, pentane, etc. in the appliance. To identify these spray cans, look for the list of contents printed on the can, or a flame symbol. Gases possibly escaping may ignite due to electrical components.
- Keep burning candles, lamps and other items with naked flames away from the appliance so that they do not set the appliance on fire.
- other packaging containing alcohol in tightly closed containers. Any alcohol that leaks out may be ignited by electrical components.
Danger of tipping and falling:
- Do not misuse the plinth, drawers, doors etc. as a step or for support. This applies particu-larly to children.
Danger of frostbite, numbness and pain:
- Avoid prolonged skin contact with cold surfaces or refrigerated/frozen goods or take protective measures, e.g wear use gloves.
Danger of injury and damage:
- Hot steam can lead to injury. Do not use elec-trical heating or steam cleaning equipment, open flames or defrosting sprays to defrost.
- Do not use sharp implements to remove the ice.
Danger of crushing:
- Do not hold the hinge when opening and closing the door. Fingers may get caught.
Symbols on the appliance:
- The symbol can be located on the compressor. It refers to the oil in the compressor and indicates the following danger: Swallowing or inhaling can be fatal. This is only relevant for recycling. There is no danger in normal operation.
- This symbol is found on the compressor and indicates the danger of flammable materials. Do not remove the sticker.
- A sticker to this effect may be applied to the rear of the appliance. It refers to the foam-padded panels in the door and/or the housing. This is only relevant for recycling. Do not remove the sticker.
Please observe the specific information in the other sections:
| DANGER | identifies a situation involving direct danger which, if not obviated, may result in death or severe bodily injury. | |
| WARNING | identifies a dangerous situation which, if not obviated, may result in death or severe bodily injury. | |
| CAUTION | identifies a dangerous situation which, if not obviated, may result in minor or medium bodily injury. | |
| NOTICE | identifies a dangerous situation which, if not obviated, may result in damage to property. | |
| Note | It contains useful instructions and tips. |
Controls and displays
Home screen
- BioFresh field (3) Screen
- Menu field
The home screen is the first screen the user sees. All settings can be made from there. All functions can be called up by touching the screen and values can be changed.
Operating structure
BioFresh field
- BioFresh symbol
- BioFresh temperature
In the BioFresh field, the BioFresh temperature setting is displayed.
The following settings can be entered:
- Temperature settings
- Switch off appliance. Screen remains functional.
Menu field
- Main menu
- Option selected
The menu field gives access to the appliance options and settings. Selected options are also displayed.
Navigation
Touch the menu to access the individual options. An audible signal sounds after confirming an option or a setting. The display switches to the home screen.
The appliance is operated using the following symbols:
- Standby:
Switches the appliance or tempera-ture zone on. - Menu:
Calls up options. - Minus / Plus:
Changing settings (e.g. adjusting temperatures). - Left/right navigation arrow:
Selects options and navigates through the menu. You can scroll through the individual options using the navigation arrows. The first option is displayed again after the last one. - Back:
Cancels the selection. The display switches to the next higher level or to the home screen - OK:
Confirms the selection. After confirmation the display switches to the home screen. ON / OFF, START / STOP Starts/ stops options. After selecting or cancelling an option the display switches to the home screen. - RESET:
Resets timer. Access to customer service
Note
If no selection is made after 1 minute the display switches to the home screen.
Display symbols
Display symbols provide information on the current appliance status:
- Up arrows:
The temperature increases.
Down arrows:
The temperature reduces.
Standby:
The appliance or temperature zone is switched off.
Messages:
There are active error messages and reminders.
Appliance options
You can select or set the following options; explanations and setting options, (see 5 Control) :
Option
- SabbathMode
- Child safety devicex
- Holiday function
- Temperature unit
- Humidityx
x If the option is selected, the relevant symbol is displayed in the menu field. The symbol disappears if the option ends or is disabled.
Putting into operation
Transporting the appliance
- Transport the appliance only in suitable packaging.
- Transport the appliance upright.
- Do not transport the appliance on your own.
Installing the appliance
WARNING
- Fire hazard due to dampness! If live parts or the mains lead become damp this may cause short circuits.
The appliance is designed for use in enclosed areas. Do not operate the appliance outdoors or in areas where it is exposed to splash water or damp conditions. - Risk of fire due to short circuit! If the mains cable/connector of the appliance or of another appliance touch the rear of the appliance, the mains cable/ nmconnector may be damaged by the appliance vibrations, nmleading to a short circuit.
Stand the appliance so that it is not touched by connectors or main cables.
Do not plug the appliance or any others into sockets located near the rear of the appliance.
NOTICE
Risk of damage due to condensate!
Do not install the appliance directly alongside a further refrigerator/freezer.
Note
If you have several appliances next to one another, leave a gap of 70mm between appliances. Otherwise condensation will build up between the units.
- Before you connect the appliance, report any damage imme-diately to the delivery company.
- The floor of the installation site must be horizontal and even.
- Do not install the appliance in direct sunlight, next to an oven, radiator or similar.
- Install the appliance with the rear panel up against the wall and always use the supplied wall spacers (see below).
- Only ever move the appliance when it is empty.
- The surface supporting the appliance must be at the same level as the surrounding floor.
- Do not install the appliance on your own.
- The more coolant there is in the appliance, the larger the room in which the appliance is installed must be. If the room is too small, any leak may create a flammable mixture of gas and air. For each 8 g of coolant the installation space must be at least 1 m3. Information on the coolant is on the model plate inside the appliance.
NOTICE
Risk of damage from stainless steel care products!
The stainless steel doors and stainless steel side panels are treated with a premium surface finish.
Putting into operation
- If your appliance comes with wall spacers, mount these on the back of the appliance, bottom left and right.
- Dispose of packaging material (see 4.5 Disposing of pack-aging) .
- Align the appliance so that it stands firmly and on a level by applying the accom- panying spanner to the adjust-able-height feet (A) and using a spirit level.

Note Clean the appliance (see 6.2 Cleaning the appliance) .
Reversing the door
If necessary, you can change the way the door opens: Ensure that the following tools are available:
- Torx® 25 (T25)
- Torx® 15 (T15)
- Slotted screwdriver
- Open-ended wrench SW10
- Spirit level
- Open-ended wrench supplied with the T25 tool
- If necessary, a cordless screwdriver
- Get a stepladder if necessary
- If necessary, a second person for assembly
Remove the door
NOTICE
Risk of damage!
If the door seal is damaged, the door may fail to close properly and the cooling will be inadequate.
- Remove the outer cover. Fig. 8 (1)
- Disengage and release the bearing bracket cover. Remove the bearing bracket cover. Fig. 8 (2)
- Unlatch the panel with a slotted screwdriver and swivel it to one side. Fig. 8 (3)

CAUTION
Risk of injury if the door tips!
- Take good hold of the door.
- Set down the door carefully.
- Carefully remove the protective cover. Fig. 9 (1)
- Undo the bolt a little with a T15 screwdriver. Fig. 9 (2)
- Hold the door and remove the bolts with your fingers. Fig. 9 (3)
- Pull the bearing bush out of the guide. Insert from the other side and click into place. Fig. 9 (4)
- Lift the door and set it aside.
- Carefully lift the plugs out of the door bearing bush with a slotted screwdriver and remove. Fig. 9 (5)
Moving the upper bearing parts to the other side
- Remove both screws with the T25 screwdriver.
- Lift and remove the bearing bracket.

- Release the cover and remove from the side. Fig. 11 (1)
- Rotate the cover 180° and clip onto the other side from the right. Fig. 11 (2)
- Click the cover into place. Fig. 11 (3)
- Position the screw with a T25 screwdriver. Fig. 11 (4)
- Position the upper bearing bracket. Fig. 11 (5)
- Tighten the screw. Fig. 11 (4)
- Insert the screw with a T25 screwdriver and tighten. Fig. 11 (6)
Moving the lower bearing parts to the other side
- Lift the bearing pin completely upward and remove. Fig. 12 (1)
- Undo the screws with a T25 screwdriver and remove the bearing bracket Fig. 12 (2)

- Loosen the screw using a T25 screwdriver. Fig. 13 (1)
- Lift the door closure aid and turn it 90° to the right in the hole. Fig. 13 (2)
- Tighten the screw using a T25 screwdriver. Fig. 13 (3)

- Remove the cover and fix it on the other side. Fig. 14 (1)
- Place the bearing bracket on the other side and screw in with the aid of a T25 screwdriver. Start with screw 2 at the bottom in the middle. Fig. 14 (2)
- Screw in screws 3 and 4. Fig. 14 (3, 4)
- Insert the bearing pin completely. Make sure that the catch mechanism is pointing to the rear. Fig. 14 (5)
Moving the door bearing parts to the other side
- Underside of door faces upwards: Turn the door.
- Push the tab downwards with a slotted screwdriver. Fig. 15 (1)
- Pull the door latch out of the guide. Fig. 15 (2)
- Push the door latch into the guide on the other side. Fig. 15 (3)
- Upper side of door faces upwards: Turn the door.
Moving the handles to the other side
- Pull off the cover. Fig. 16 (1)
- Remove the screws with the T15 screwdriver. Fig. 16 (2)
- Remove the handle. Fig. 16 (3)
- Carefully lift up the side plugs with a slotted screwdriver and pull them out. Fig. 16 (4)
- Insert the plugs again on the other side. Fig. 16 (5)

- Position the handle on the other side. Fig. 17 (1)
- Tighten the screws with the T15 screwdriver. Fig. 17 (2)
- Position the covers on the side and push in. Fig. 17 (3)
Fitting the door
- Place the door on the lower bearing pins.
- Align the top of the door with opening in the bearing bracket. Fig. 18 (1)
- Insert the bolt and tighten with a T15 screwdriver. Fig. 18 (2)
- Fit the protective cover to protect the door: Insert the protec-tive cover and check that it is attached to the door. If not, insert the bolt fully. Fig. 18 (3)
- Insert the plugs. Fig. 18 (4)
Aligning the door
WARNING
Risk of injury due to the door dropping out!
If the bearing parts are not screwed into place firmly enough, the door may drop out. This may lead to severe injuries. What is more, the door may not close and therefore the appliance may fail to cool properly.
- Screw the turn hinges firmly into place with 4 Nm.
- Check all of the screws and retighten if necessary.
- Align the doors flush with the appliance housing using the two oblong holes in the lower bearing bracket if needed. To do this undo the middle screw in the bottom bearing bracket with the T25 tool supplied. Undo the remaining screws a little with the T25 tool or with a T25 screwdriver and align using the slotted holes.
- Support the door: Take off the adjustable foot on the bearing bracket using the open-ended wrench SW10 until it comes into contact with the floor, then turn an additional 90°.
Fit the covers
- Position the bearing bracket and engage. If necessary push apart carefully. Fig. 19 (1)
- Position the panel on the side and click into place. Fig. 19 (2)

- Slide on the external cover. Fig. 20 (1)
- Close the upper door. Fig. 20 (2)
Sliding into the row of units
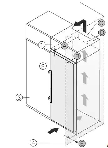
| A [mm] | B [mm] | C [cm2] | D [mm] | E [mm] |
| 665 x | 65 | min. 300 | min. 50 | min. 46 |
x If using wall spacers, add 15 mm (see 4.2 Installing the appli-ance) . The appliance can be built into kitchen units. A top cupboard Fig. 21 (2) can be added above the appliance in order to bring the appliance Fig. 21 (1) up to the height of the fitted kitchen units. The appliance can be installed right next to the kitchen cabinet Fig. 21 (3) . The appliance must protrude by depth Fig. 21 (B) from the front of the cabinet so that the doors can be opened fully. The appliance may protrude further depending on the depth of the kitchen cabinets and whether wall spacers are used.
NOTICE
Danger of overheating due to insufficient air ventilation!
The compressor may be damaged if there is insufficient air ventilation.
- Take care to ensure adequate air ventilation.
- Observe the ventilation requirements.
Ventilation requirements:
- There are spacer fins at the back of the appliance to provide adequate ventilation. Make sure these do not end up in recesses or openings.
- t the back of the top cabinet, there must be an air outlet shaft with depth Fig. 21 (D) , spanning the entire width.
- The ventilation shaft Fig. 21 (C) must be observed under the ceiling.
- The wider the ventilation clearance, the more efficiently the appliance will run.
If the appliance is installed with the hinges next to a wall Fig. 21 (4) , the distance Fig. 21 (E) between the appliance and the wall must be observed. This is how far the handle protrudes when the door is open.
Disposing of packaging
WARNING
Danger of suffocation due to packing material and plastic film!
The packaging is made of recyclable materials:
- corrugated board/cardboard
- expanded polystyrene parts
- polythene bags and sheets
- polypropylene straps
- nailed wooden frame with polyethylene panel*
Connecting the appliance
WARNING Failure to connect properly Fire hazard.
- Do not use an extension cable.
- Do not use distributor blocks.
NOTICE
Failure to connect properly Damage to the electronics.
- Do not use a standalone inverter.
- Do not use an energy saving plug.
Note
Only use the power connection lead supplied.
- A longer power connection lead can be ordered from Customer Service.

| a | b | c | d | G |
| ~ 1800 mm | ~ 1400 mm | ~ 2100 mm | ~ 200 mm | Appliance plugs |
Ensure that the following conditions are met:
- The type of current and voltage at the installation site corre-spond to the information on the model plate (see 1 Appli-ance at a glance) .
- The socket is earthed according to the regulations and fused.
- The fuse tripping current is between 10 and 16 A.
- The socket is easily accessible.
- The socket is outside the back of the appliance area in the specified area Fig. 22 (a, b, c) .
- Insert the appliance plug Fig. 22 (G) into the back of the appliance. Ensure that it clicks into place.
- Insert the appliance plug Fig. 22 (G) into the back of the appliance. Ensure that it clicks into place.
- The Liebherr logo appears on the screen.
- The display switches to the standby symbol.
Switching on the appliance
Note
If the appliance is in demo mode, DEMO appears on the home-screen.
Connect and switch on appliance approx. 2 hours before loading for the first time.
Switch on appliance
If the standby symbol is displayed over the whole screen:
- The appliance is switched on. The display switches to the home screen.
- The appliance sets itself to the displayed temperature. This is shown by down arrows.
If the standby symbol is displayed in the Biofresh field:
- The appliance is switched on.
- The appliance sets itself to the displayed temperature. This is shown by down arrows.
If the screen is black:
- The standby symbol appears on the whole screen.
- The appliance is switched on. The display switches to the home screen.
- The appliance sets itself to the displayed temperature. This is shown by down arrows.
Setting the clean ventilation grid timer
The ventilation grid must be cleaned at least once a year for sufficient ventilation. The timer can be set as a reminder.
- Press menu.
- Press the navigation arrows until the ventilation grid is displayed.
- Press the ventilation grid symbol.
- Press ON.
- prompts you to clean the ventilation grid.
Control
Changing the temperature unit
The temperature display can be switched from °C to °F.
- Press the navigation arrow until °C is displayed.
- The temperature is displayed in °F. Switch from °F to °C in the same way.
Child proofing
The child-proofing function enables you to make sure that the appliance is not inadvertently switched off by playing children.
Switching on the child safety device
- Press menu.
- Press the navigation arrows until the child safety device is displayed.
- Press ON.
Switching the child safety device off
- Press the navigation arrows until the child safety device is displayed.
- The child safety device is switched off.
- Press menu.
SabbathMode
This function meets the religious requirements on the Sabbath or Jewish festivals. Turn on SabbathMode to switch off certain controls. After setting up SabbathMode, you no longer need to worry about indicator lights, figures, symbols, displays, alarms or fans. The thawing cycle only works for the specified time without taking account of fridge use. After a power cut the appliance automatically returns to SabbathMode. There is a list of Star-K certified appliances at www.star-k.org/appliances.
WARNING
Danger of food poisoning.
If there is a power cut while the appliance is in SabbathMode, this message is not saved. Once power is restored, the appli-ance continues in SabbathMode. When this mode is over no message about the power cut is displayed on the temperature display.
If there was a power cut during SabbathMode:
- All functions are locked until SabbathMode is switched off.
- If functions such as SuperFrost, SuperCool, Ventilation, etc. are activated when SabbathMode is on, they remain active.
- No audible signals are emitted and the temperature display does not indicate any warnings or settings (such as a temperature alarm or door alarm).
- The internal light is off.
Control
Setting HydroSafe
On the humid setting the HydroSafe is suitable for storing loose salad, vegetables and fruit with a high moisture content. When the drawer is very full a very fresh climate is set with a humidity of up to a max. of 90%.
- Press menu.
- Press the navigation arrows until DrySafe appears.
- Press HydroSafe.
Setting DrySafe
The DrySafe is suitable for storing dry or packaged food (e.g. dairy products, meat, fish, sausage). Here a relatively dry storage climate is set.
- Press menu.
- Press the navigation arrows until HydroSafe appears.
- Press DrySafe.
Storing food
Note
- tive vegetables including cucumbers, aubergines, tomatoes, courgettes and any cold-sensitive tropical fruits.
- To prevent food spoilage due to transfer of germs: Store unwrapped animal and vegetable products separate from one another in the drawers. This also applies to different sorts of meat.
- If food has to be stored together due to lack of space: wrap the food.
- The top drawer can be loaded with a max. of 15 kg, the bottom drawer with a max. of 10 kg and the other drawers each with a max. of 25 kg.
Storage times
| Guidelines for storage periods at low humidity 0 °C | |||
| Butter | up to | 90 | days |
| Hard cheese | up to | 110 | days |
| Milk | up to | 12 | days |
| Cold meats | up to | 9 | days |
| Poultry | up to | 6 | days |
| Pork | up to | 7 | days |
| Beef | up to | 7 | days |
| Game | up to | 7 | days |
Note
shellfish and crustaceans deteriorate faster than fish, fish faster than meat.
| Guidelines for storage periods at high humidity 0 °C | |||
| Vegetables, salads | |||
| Artichokes | up to | 14 | days |
| Celery | up to | 28 | days |
| Cauliflower | up to | 21 | days |
| Guidelines for storage periods at high humidity 0 °C | |||
| Broccoli | up to | 13 | days |
| Chicory | up to | 27 | days |
| Leaf lettuce | up to | 19 | days |
| Peas | up to | 14 | days |
| Kale | up to | 14 | days |
| Carrots | up to | 80 | days |
| Garlic | up to | 160 | days |
| Cabbage | up to | 55 | days |
| Round lettuce | up to | 13 | days |
| Herbs | up to | 13 | days |
| Leeks | up to | 29 | days |
| Mushrooms | up to | 7 | days |
| Radishes | up to | 10 | days |
| Sprouts | up to | 20 | days |
| Asparagus | up to | 18 | days |
| Spinach | up to | 13 | days |
| Savoy cabbage | up to | 20 | days |
| Fruit | |||
| Apricots | up to | 13 | days |
| Apples | up to | 80 | days |
| Pears | up to | 55 | days |
| Blackberries | up to | 3 | days |
| Dates | up to | 180 | days |
| Strawberries | up to | 7 | days |
| Figs | up to | 7 | days |
| Blueberries | up to | 9 | days |
| Raspberries | up to | 3 | days |
| Red currants | up to | 7 | days |
| Cherries, sweet | up to | 14 | days |
| Kiwis | up to | 80 | days |
| Peaches | up to | 13 | days |
| Plums | up to | 20 | days |
| Cranberries | up to | 60 | days |
| Rhubarb | up to | 13 | days |
| Gooseberries | up to | 13 | days |
| Grapes | up to | 29 | days |
Setting the temperature
The temperature depends on the following factors:
- the amount of times the door is opened
- how long the door is open for
- the room temperature of the installation site
- the type, temperature and amount of food
The temperature can be set from 0 °C to 3 °C. At 0 °C the temperature may drop below 0 °C so that the food can freeze. Recommended temperature setting: 0 °
Holiday mode
Holiday mode saves energy and prevents any odours from building up if the appli-ance door of the BioFresh section stays closed for a prolonged period.
Switching on the Holiday function
- Remove all food as otherwise it will spoil.
- Press menu.
- Press the navigation arrow until you see the Holiday function.
- Press ON.
Switching off the Holiday function
- The Holiday function is off.
- The temperature is set to the preset value again. Down arrows show the temperature reduction.
Drawers
- To store the food straight on the shelves: Pull the drawer forwards and lift it out.
Shelves
Moving shelves
- To remove the shelf: lift up at the front and pull out.
- To put the shelf back: simply push in as far as it will go.

VarioSpace
You can remove the shelves and drawers. This leaves more room for larger food items such as poultry, meat, large game and tall baked goods, which can be frozen whole before further preparation.
- The top drawer can be loaded with a max. of 15 kg, the bottom drawer with a max. of 10 kg and the other drawers each with a max. of 25 kg.
- The shelves can each be loaded with 35 kg of frozen food.
Maintenance
Cleaning the ventilation grid
The ventilation grid ensures that the appliance works properly due to optimum aeration and ventilation.
- Clean the ventilation grid regularly with a vacuum cleaner.
- Remove stubborn stains with a soft cloth.
- When the timer is set a message on the display prompts you to clean it. The clean ventilation grid symbol appears on the screen.
- Press the clean ventilation grid symbol.
The message can be displayed again by pressing the menu field until it has been cleaned and this has been confirmed.(see 8 Messages) .
Confirming that the ventilation grid has been cleaned
- Press menu.
- Press the navigation arrows until the ventilation grid is displayed.
- Press the ventilation grid symbol.
- Press the navigation arrows until clean ventilation grid is displayed.
- Press RESET.
- The timer is reset. The cleaning interval starts all over again.
Turning the timer off
If the reminder function is to be switched off the timer can be turned off.
- Press menu.
- Press the navigation arrows until the ventilation grid is displayed.
- Press the ventilation grid symbol.
- Press OFF.
Malfunctions
Your appliance is designed and manufactured for a long life span and reliable operation. If a malfunction nonetheless occurs during operation, check whether it is due to a handling error. In this case you will have to be charged for the costs incurred, even during the warranty period. You may be able to rectify the following faults yourself:
Appliance does not work.
- Switching on the appliance.
The power plug is not properly inserted in the wall socket. - Check power plug.
The fuse of the wall socket is not in order. - Check fuse.
The appliance plug does not fit the appliance properly. - Check the appliance plug.
The compressor runs for a long time.
- The compressor switches to a low speed when little cold is needed. Although the running time is increased as a result, energy is saved.
- This is normal in energy-saving models.
The door seal is defective or needs to be replaced for another reason.
- The door seal can be replaced. It can be replaced without the need for special tools.
- Contact Customer Service (see 6 Maintenance) : The unit has iced up or condensation has formed.
- The door seal may have also slipped out of its groove.
- Check to ensure that the door seal is seated properly in the groove.
Messages
Error messages and reminders are displayed by an audible signal and a message on the screen. The audible signal gets louder and louder when error messages appear. It only stops when the message is confirmed. Highest priority messages are displayed first if several occur at the same time. Each message must be cleared separately. The message stays in the menu field as long as it is active or the fault is not eliminated.
Note
Details on the message can be displayed again via the menu field.
- Press menu.
- Press the message symbol.
- The display switches to the next message when you press one. After the last active message the display switches to the home screen.
Decommissioning
Door alarm
An audible warning sounds if the door is open for longer than 60 seconds. The door alarm symbol appears on the display. The audible warning stops automatically when the door is closed. The audible warning can be switched off when the door is open. The audible alarm is switched off while the door is open.
- The door alarm stops.
- The display switches to the home screen.
- Close the door.
Appliance faults
An audible warning sounds. The appliance fault symbol appears on the display with the relevant error code. An appliance component indicates a fault.
- Open the door.
- Note down the fault code.
- Press the appliance fault symbol.
- The audible signal stops. The display switches to the home screen.
- Close the door.
- Contact Customer Services (see 6 Maintenance) .
Other messages
Clean the ventilation grille (see 6 Mainte-nance)
Disposing of the appliance
The appliance contains some reusable materials and should be disposed of properly – not simply with unsorted household refuse. Appliances which are no longer needed must be disposed of in a professional and appropriate way, in accordance with the current local regulations and laws. Do not damage the disused appliance while removing it from the cooling circuit, in case the coolant (information on the model plate) ) or oil inside leaks out.
For Germany:
The appliance can be disposed of free of charge in Class 1 collection containers at your local recycling centre. When purchasing a new fridge/freezer and if your sales area is > 400 m2, the retailer with also take back the old appliance free of charge.
Decommission the appliance:
- Pull out the plug.
- Remove the connection cable from the appliance.
Liebherr-Hausgeräte Ochsenhausen GmbH Memminger Straße 77-79
88416 Ochsenhausen
Deutschland
home.liebherr.com




























