Installation
Instructions
For Fully Integrated NoFrost
Combined Refrigerator-Freezers
HC 1570 / 1571
7084 997-00
HC1571 Counter Depth Bottom Freezer Refrigerator
IMPORTANT
All types and models are subject to continuous improvement. The manufacturer reserves the right to make modifications to the shape, equipment, andtechnology.
Please Read and Follow these
Instructions
These instructions contain Danger, Warning, and Caution notes.
This information is important for safe and efficient installation and operation.
Always read and comply with all Danger, Warning, and Caution notes!
DANGER!
Danger indicates a hazard which will cause serious injury or death if precautions are not followed.
WARNING!
Warning indicates a potentially hazardous situation which, if not avoided, could result in death or serious injury.
CAUTION!
Caution indicates a potentially hazardous situation which, if not avoided, may result in minor or moderate injury.
IMPORTANT
This indicates information that is especially relevant to a problem-free installation and operation.
Note to the Installer
It is very important to follow the instructions in the manual to ensure proper installation and operation of the unit. Before installing the unit, be sure to thoroughly read and understand all of the information in this manual.
WARNING!
Electrocution hazard.
Do not connect to the electrical outlet before the installation is completed.
Important Safety Information
- WARNING: Keep ventilation openings, in the appliance enclosure or in the built-in structure, clear of obstruction.
- WARNING: Do not use mechanical devices or other means to accelerate the defrosting process, other than those recommended by the manufacturer.
- WARNING: Do not damage the refrigerant circuit.
- WARNING: The power cord must not be damaged while installing the appliance.
- WARNING: Multi-sockets or distributor strips and other electronic devices (such as halogen transformers) must not be positioned and operated at the rear of appliances.
- WARNING: Danger of injury through electric shock! There are live parts under the cover. Only have the interior LED light replaced or repaired by customer service staff or trained personnel.
- WARNING: Risk of injury from the LED lamp. The light intensity of the LED light complies with risk group RG 2. If the cover is defective, do not look directly at the light through optical lenses from close distance. This may damage your eyes.
- WARNING: This appliance must be secured as described in the Use and Care Manual (Installation Instructions) to rule out any potential risks due to its instability.
- WARNING: Do not use electrical appliances inside the food storage compartments of the appliance, unless they are of the type recommended by the manufacturer.
- Any repairs and work on the appliance should only be performed by the customer service department. Unauthorized work may be dangerous to the user. The power source cable should only be changed or replaced by the customer service department. Component parts and power cords shall be replaced with like components performed by factory authorized service personnel only.
- Do not stand on the toe kick, drawers or doors or use them to support anything else.
- This appliance is not intended for use by persons (including children) with reduced physical, sensory or mental capabilities or lack of experience and knowledge unless they have been given initial supervision or instruction concerning use of the appliance by a person responsible for their safety. Children should be supervised to ensure that they do not play with the appliance.
- Do not store explosive substances such as aerosol cans with a flammable propellant in this appliance.
- To prevent injury and damage to property, the appliance should only be installed by 4 people.
- Check the appliance for signs of damage after unpacking. Contact the supplier if it is damaged. Do not connect the appliance to the mains power supply.
- Avoid prolonged skin contact with cold sur- faces (e.g., chilled/frozen products). If necessary, take safety action (e.g., gloves).
- Do not consume food which has been stored for too long; it could cause food poisoning.
- Any repairs and work on the appliance should only be performed by the customer service department or other trained personnel. The same applies to changing the power cord.
- Only perform repair and other work on the appliance when the plug has visibly been disconnected.
- Only install, connect, and dispose of the appliance as described in this Use and Care Manual.
- In the event of a fault, pull out the plug or switch off the fuse.
- When disconnecting the appliance from the power source, pull it out by the plug, never pull on the cable.
- If you have a lockable appliance, do not keep the key near the appliance or within reach of children.
- The appliance is designed for use in enclosed rooms. Do not operate the appliance outdoors or in areas where there is moisture or splashing water.
- Do not use the interior LED light to light the room. The interior LED light is only designed to illuminate the interior of the appliance.
- Do not allow naked flames or ignition sources to enter the appliance.
- Alcoholic drinks or other vessels containing alcohol should be sealed tightly for storage.
R600a Refrigerant
WARNING!
The refrigerant R600a contained within the appliance is environmentally friendly, but flammable. Leaking refrigerant can ignite.
Disposal of Old Appliance
WARNING!
Risk of child entrapment.
Child entrapment and suffocation are not problems of the past. Junked or abandoned refrigerators are still dangerous – even if they will sit for “just a few days.” If you are getting rid of your old refrigerator, please follow these instructions to help prevent accidents. Before you discard old appliances:
- Take off the doors.
- Leave the shelves in place so that children may not easily climb inside.
- Cut off the power cord from the discarded appliance. Discard separately from the appliance.
- Be sure to follow your local requirements for disposal of appliances. Contact the trash collection agency in your area for additional information.
Disposal of Packaging Material
WARNING!
Keep packaging materials away from children. Polythene sheets and bags can cause suffocation!
If possible, please recycle packaging material at a recy-cling facility.
Electrical Safety
Connect this appliance to a 15 amp or 20 amp, 110120 VAC circuit which is grounded and protected by a circuit breaker or fuse. We recommend using a dedicated circuit for this appliance to prevent circuit overload and the chance of interruption to the appliance. This appliance is equipped with a three-prong (grounding) polarized plug for your protection against possible shock hazards. Where a two-prong wall receptacle is encountered, contact a qualified electrician and have it replaced with a properly grounded three-prong receptacle in accordance with all local codes and ordinances.
WARNING!
Electrocution hazard.
Electrical grounding required.
- Do not remove the round grounding prong from the plug.

- Do not use extension cords or ungrounded (two prong) adapters.
- Do not use a power cord that is frayed or damaged.
- Do not use a power strip.

Failure to follow these instructions may result in fire, electric shock or death.
Blocking for Safety
WARNING!
To avoid a hazard due to instability of the appliance, it must be fixed in accordance with the instructions.
PLANNING INFORMATION
Unit Dimensions – Figure 1, Figure 2

A = 3″ (76 mm)
B = 79-13/16″ (2027 mm)
C = 29-7/8″ (757 mm)
D = 24″ (610 mm)
E = 55 1/4″ (1413 mm)
F = 37-1/8″ (952 mm)

Door Swing Clearance – Figure 3
Please allow for door swing clearance at locations next to a wall. The illustrated measurement is without mounted front panels. Be sure to add your panel thickness and handle depth to this measurement in order to avoid interferences.

Unit Venting – Figure 4
HC appliances do not require any ventilation openings in the cabinet. The required air flow is directed through the toe kick area. Only use the ventilation grille provided with the appliance. This grille is required for proper operation of the appliance.
This opening must not be covered with a cabinet base.
Failure to use the supplied grille can result in product failure and will void the warranty.

Cabinet Opening Dimensions – Figure 5
| Cabinet Height | Inset cabinet Depth D | Frameless/faceframe cabinet Depth D |
| 80″ | 24″ + panel thickness | 24″ |
| 84″ | 24″ + panel thickness | 24″ |

For appliance with panel to be flush, adjacent cabinetry depth must equal appliance depth (24″) plus panel thickness (5/8″ – 3/4″).
(1) This is where the power cord extends from the back of the appliance.
Free length of the power cord = 90 inch (2280 mm) Be sure to take these specifications into consideration when choosing the location of the electrical outlet.
IMPORTANT
The electrical outlet must not be situated behind the appliance and must be easily accessible.
Panel Dimensions – Inset Installation Style – Figure 6
Appliance and panels sit fully within theopening and are flush with what could beits own box, between two pantry cabinetsor decorative columns, etc. This is themost common installation scenario.

You can order stainless steel panels for inset installation style. Refrigerator door panel 80″- article number 9900 287-00 Refrigerator door panel 84″- article number 9900 285-00 Freezer drawer panels – article number 9900 283-00

| Cabinet opening A | Refrigerator door panel B |
| 80″ (2032 mm) | 45-1/4″ (1150 mm) |
| 84″ (2134 mm) | 49-1/4″ (1251 mm) |
The panels should be at least 5/8 inch (16 mm) thick to allow the connecting rails to be fastened to them.
IMPORTANT
The maximum panel thickness is 3/4″ (19 mm).
The door panel weight must not exceed 60 lb (27 kg).
Panel Dimensions – Frameless Installation Style – Figure 7
With this installation style, these wider appliance panels partially overlay the shared side gables of adjacent cabinetry so as to mimic the look of a frameless style cabinet.


| Cabinet opening C | Refrigerator door panel D |
| 80″ (2032 mm) | 45-3/4″ (1162 mm) |
| 84″ (2134 mm) | 49-3/4″ (1264 mm) |
The panels should be at least 5/8 inch (16 mm) thick to allow the connecting rails to be fastened to them.
IMPORTANT
The maximum panel thickness is 3/4″ (19 mm).
The door panel weight must not exceed 60 lb (27 kg).
BLOCKING FOR SAFETY
WARNING!
- The anti tipping bracket must be mounted to prevent the appliance from tipping when the fully stocked door is opened.
- Be sure that there is no plumbing or electrical wiring located in this area which screws or drills could damage.

Mounting the Anti Tipping Device in Cabinets deeper than 24″ – Figures 12 – 13
A proper function of the anti tipping bracket is warranted within a cabinet depth of between 24″ and 25″. If the cabinet is deeper than 25″, a wooden spacer must be mounted between appliance and wall.
WARNING!
Be sure the wooden spacer is fastened securely to the floor.
Measuring for mounting the wooden spacer on inset kitchen cabinets – Figure 12

Measuring for mounting the wooden spacer on frameless kitchen cabinets – Figure 13

IMPORTANT
If the floor slopes down sideways, the anti tipping bracket must be fitted horizontally. Lay down spacers in the appropriate positions.
Cover Strips – Figure 14
Apply cover strips above, between and below the securing plates on the side walls of the appliance.
Cut the cover strips to the length shown in Figure 14.
Fit the adhesive cover strips leaving a gap of 1/4″ to each securing plate. This ensures problem-free fitting of the covers.

Move the appliance slowly into the recess until the appliance back slides into the anti tipping bracket (Figure 15).

INSTALLATION
Leveling the Appliance – Figure 16
- Adjust the height of the appliance at the front by twisting the leveling feet (1). Use the open-ended spanner provided. Turn the spanner counterclockwise to raise the appliance front and clockwise to lower it. Position the spanner accordingly (Figure 16 – (1)).
- Adjust the height of the appliance at the rear by turning the adjusting bolts (2). Use a 1/4″ box spanner or the Torx 25 wrench provided.
- Rotate leveling feet (1)until firmly in place against the floor.
WARNING!
To prevent the appliance from tipping forward the leveling feet (1) (Figure 16) must have contact with the floor.

Fastening the Appliance in the Recess – Figure 17
Fasten the appliance in the recess through the premounted securing plates at left and right on the appliance housing using screws 4 x 16 mm. Then click the covers supplied into place.

Adjusting the Refrigerator Door – Figure 18
IMPORTANT Under normal conditions, the factory adjustment of the refrigerator door should not be changed. Only if heavy loading of the refrigerator door is expected, may the adjustment be changed. Undo screws (1). Adjust the lateral tilt using the grub screw (2) (Allen key A/F 2.5).

Adjusting the Drawer Front – Figure 19
If required, the front of the freezer drawers can be adjusted. Transfer the screws shown in the illustration (on the left and right sides of the freezer drawer) individually to the long slots below. Tighten the screws in the front of the drawer once it is in the right position.

Mounting the Ventilation Grille
- Pull out the bottom freezer drawer.
- Remove the blue protection film from the dust filter provided and insert the filter into its opening in the toe kick area as shown in Figure 20. Engage the filter at the bottom, press down the button and click into place.

- Remove the locking pins of both supports. The supports are provided with the appliance accessory pack (Figure 21).

- Insert the supports for the ventilation grille on the left and right sides in the motor compartment (Figure 22).

- The front edge of the brackets is flush with the front of the ventilation grille. Adjust the supports accordingly (Figure 23).

- Insert the locking pins to block the supports (Figure 24).

- Install the ventilation grille (Figure 25).
The grille has bolts on the inside (see detail in Figure 25 a). These bolts must be inserted into theholes of the supports.
- Adjust the height of the ventilation grille (Figure 26).
• Loosen the grub screws at the front of the grille (Allen key A/F 2.5).
• Adjust the ventilation grille to the desired height.
• Tighten the grub screws.
Before Mounting the Door Panels – Figures 27, 28
Remove cover (1) and unscrew the upper and lower attachment bracket (2) of the refrigerator door. These brackets will be mounted onto the refrigerator door panel.
IMPORTANT
The nuts are needed to fit the premounted panel onto the refrigerator door.

Unscrew the attachment brackets of both freezer drawers. These brackets will be mounted onto the freezer drawerpanels (Figure 28).
IMPORTANT
The screws are needed to fit the premounted panels onto the freezer drawers.

Mounting the Attachment Brackets onto the Door Panels – Figure 29
Mark a line with a distance of 41″ and 4-1/4″ from the bottom of the refrigerator door panel. Align one of the dismounted brackets of the refrigerator door to the line on the refrigerator door panel as shown in Figure 29 a. Fasten the bracket with any hole wherever possible using a minimum of 6 screws 4 x 16 mm. Align the second bracket of the refrigerator door to the bottom line on the refrigerator door panel as shown in Figure 29 b. Fasten the bracket with any hole wherever possible using a minimum of 6 screws 4 x 16 mm. Fasten the brackets provided onto the freezer drawer panels using three screws (4 x 16 mm) for each bracket considering the measurement in Figure 29 c.

Mounting the Refrigerator Door Panel
- Turn in the adjusting bolts on the bottom of the refrigerator door as far as possible (Figure 30).

- Open the refrigerator door and hang the panel on the top adjusting bolts (Figure 31).
- Screw on the hex nuts to the adjusting bolts and finger tighten temporarily (Figure 31).

- Close the door and check the height of the panel.
- Align the panel in its vertical position if necessary.
Loosen the hex nuts and turn the adusting bolts (Figure 32).
- Align the panel horizontally (with the long holes in the attachment bracket) (Figure 33).
- Tighten the hex nuts.

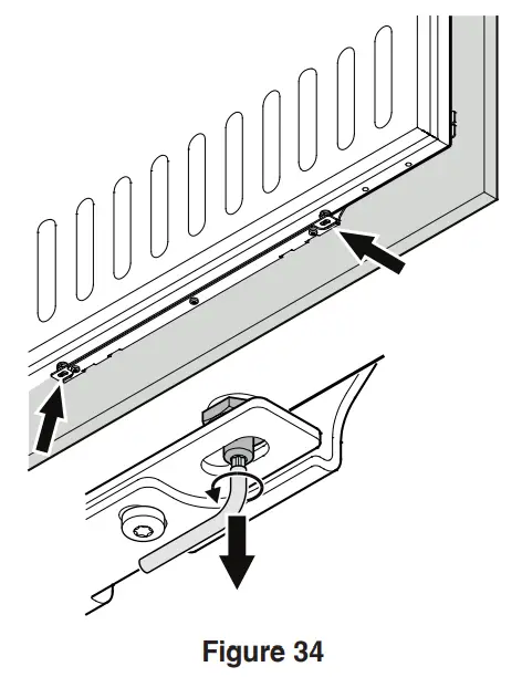
- Turn the adjusting bolts (bottom refrigerator door) until they make contact with the attachment bracket (Figure 34).

- Screw on the hex nuts and tighten (Figure 35).

- Loosen the three screws on the top of the attachment bracket, align the panel as shown in Figure 36 and tighten the screws. This can also be done with the lower attachment bracket.

- Click cover (1) into place.
Insert the cover strip provided (2) between refrigerator door and panel (Figure 37).
Mounting the Freezer Drawer Panels – Figure 38
- Pull out the upper freezer drawer and screw on the panel with three screws on the left and right sides using the screws as shown in Figure 38.
- Close the drawer and check the position to the surrounding cabinet panels. Align the panel in vertical direction by loosening the screws left and right. Finally tighten the screws.
IMPORTANT
Do not overtighten. Do not use a power driver. - Pull out the lower freezer drawer and fasten the lower panel in the same way.
- Finally cover the gap between the drawer and the panel of both freezer drawers with the strips provided. Remove the foil from the adhesive surface of the strip and stick on the top of the appliance drawer making sure the flexible gasket is fully inserted in the gap.

For Service in the U.S.
Liebherr Service Center
Toll Free: 1-866-LIEBHER or 1-866-543-2437
Email: [email protected]
PlusOne Solutions, Inc.
3501 Quadrangle Blvd, Suite 120
Orlando, FL 32817
For Service in Canada
Liebherr Service Center
Toll Free: 1-888-LIEBHER or 1-888-543-2437
www.euro-parts.ca
EURO-PARTS CANADA
39822 Belgrave Road
Belgrave, Ontario, N0G 1E0
Phone: (519) 357-3320
Fax: (519) 357-1326

http://lhg.short-co.de/6rtme
www.liebherr-appliances.com































