
REFRIGERATOR FREEZER
RF135BRPJX6 N FP US
PRODUCT CODE: 25935-B
PARTS MANUAL
US CA
INTRODUCTION
| BRAND | VOLTAGE | MODEL | PRODUCT CODE |
| Fisher & Paykel | 110-120 60Hz | RF135BRPJX6 N FP US | 25935-B |
MODELS
The models covered by this manual are listed on the front cover.
The information detailed in this manual is subject to change without notice. The latest version is indicated by the reprint date and replaces any earlier editions.
KIT PARTS
Where a part number is shown against the descriptions for kit components, they are also available as separate items. In addition, some parts may be supplied with these kits that are not available as separate items, and are therefore either not listed, or a part number is not shown against the part description in this manual.
PARTS LIST KEY
| NI | As a part reference, indicates the part is not illustrated on the diagram. |
| NOT USED | As a part number, indicates the diagram part reference is not used in this manual. |
| NS | As a part number, indicates the part is not serviceable. |
| Fisher & Paykel Appliances Inc e-mail: [email protected] tel: 888 936 7872 Fax: (714) 372-7003 | Fisher & Paykel Appliances Canada Inc e-mail: [email protected] tel: 888 936 7872 |
DOOR COMPONENTS

| REFERENCE | PART NUMBER | PART DESCRIPTION |
| 1 | 843902 | COVER DOOR TOP 635 GR |
| 2 | 839659 | BEARING HINGE WATER RH UD |
| 3 | 842103 | COVER DOOR TOP NONHINGE GR |
| 4 | 839718 | COVER SHELF DAIRY 635 |
| 5 | 839722 | SHELF DOOR SOLID 635 |
| 6 | 821805 | DIVIDER BOTTLE 522B |
| 7 | 839716 | SHELF DOOR BOTTOM 635 |
| 8 | 839717 | RAIL SHELF DOOR 635 |
| 9 | 845266 | BOOK UUC AS U-DOOR USA CA |
| 9 | 846248 | BOOK U&C AS U_DOOR US-CA FRCA |
| 10 | 848380P | DOOR PC 635X1052.5 P SX2 RH |
| 11 | 842369P | COVER DOOR BOT NONHINGE RH GR |
| 12 | 851058 | MAGNET 12MM HALL SENSOR |
| 13 | 842122 | COVER MAGNET DOOR UD GR |
| 14 | 842483P | PLUG DOOR BOTTOM GR |
| 15 | 817825P | SCREW #8X22 WAFER PH ST TV |
| 16 | 842372 | COVER DR BOT UD HINGE RH GR |
| 17 | 814537 | DOORSTOP ASSY |
| 18 | 843387 | CLOSING HOOK DR STOP RH GR NO FLAG |
| 19 | 849060P | DOOR FC 635X605 P SX2 RH |
| 20 | 844778 | COVER DOOR TOP 635 GR RH |
| 21 | 813931 | BEARING HINGE TOP GR |
| 22 | 841363P | GASKET FRAME PUSHIN 635B FC |
| 23 | 841360P | GASKET FRAME PUSHIN 402B PC |
CABINET COMPONENTS

| REFERENCE | PART NUMBER | PART DESCRIPTION |
| 1 | 846778P | COVER HINGE LOW NEW GRY R |
| 2 | 817818P | SCREW M5X20 HEX PH ST TV (PKT 10) |
| 3 | 820717 | BRACKET HINGE IW RH |
| 4 | 846774P | SUPPORT HINGE LOW NOW |
| NI | 847437 | KIT COVER HINGE LOW GRY RH |
| Includes 846778P | COVER HINGE LOW NEW GRY R | |
| Includes 846774P | SUPPORT HINGE LOW NOW | |
| 5 | 821917 | CONNECTOR PCB RAST 8 WAY |
| 6 | 873279 | CONNECTOR RAST 7234-008-500 |
| 7 | 883948P | PLUG TAPPED HOLE SILVER (PKT 3) |
| 8 | 883951 | TRIM CORNER SILVER 680/790 |
| 9 | 880656P | SCREW 10GX25CSK SQ SS (PKT 10) |
| 10 | 881283P | BRACKET CTR HINGE RH (PKD) |
| Includes 883988P | CAP DOOR CLOSING RH HGE BRKT G | |
| 11 | 883988 | CAP DOOR CLOSING RH HGE BRKT G |
| 12 | 821286P | MOD DISP AS U2 INT 8 BUT SVC |
| 13 | 838437 | HARNESS DISPLAY SPARES |
| 14 | 820736 | HOUSING FRONT LED PC |
| 15 | 817816P | SCREW 6 X12 AB TRUSS PH ST TV (PKT 10) |
| 16 | 845096P | MOD LAMP AS CEILING SVC |
| 17 | 820737 | WINDOW LED PC |
| 18 | 848320P | PC 3W FAN ASSY JST/DCT |
| Includes | FAN HOUSING PC ASSY | |
| Includes | DUCT JUNCTION | |
| Includes | CONNECTOR IDC UP2 (2) | |
| Includes | LABEL WARNING 12 VOLT DC | |
| Includes | SHEET INSTRUCTION PC FAN ASSY | |
| 19 | 836808 | RETAINER & SLIDE 680 RH ASSY RC |
| Includes | RETAINER SLIDE PC B RH | |
| Includes 836700 | SLIDE 305 RH ASSEMBLY | |
| Includes 836520P | CLIP SLIDE | |
| 836807 | RETAINER & SLIDE 680 LH ASSY RC | |
| Includes | RETAINER SLIDE PC B LH | |
| Includes 836701 | SLIDE 305 LH ASSEMBLY | |
| Includes 836520P | CLIP SLIDE | |
| 20 | 836700 | SLIDE 305 RH ASSEMBLY RC |
| Includes 836520P | CLIP SLIDE | |
| 836701 | SLIDE 305 LH ASSEMBLY RC | |
| Includes 836520P | CLIP SLIDE | |
| 21 | 836520P | CLIP SLIDE (PKT 2) |
| 22 | 836545 | RETAINER SLIDE FC RH |
| 836546 | RETAINER SLIDE FC LH | |
| 23 | 836702 | SLIDE 355 RH ASSEMBLY |
| Includes 836520P | CLIP SLIDE | |
| 836703 | SLIDE 355 LH ASSEMBLY | |
| Includes 836520P | CLIP SLIDE | |
| 24 | 884011 | COVER REED SWITCH ST4 SILVER |
| 881420 | COVER REED SWITCH WHITE ST4 | |
| 25 | 865214P | MOD HALL SWITCH RF |
| 26 | 836593 | DUCT RETURN AIR FC 635 |
| 27 | 883953P | CAP SCREW CROSS RAIL SILVER |
| 880595P | CAP SCREW CROSS RAIL WHITE | |
| 28 | 817822P | SCREW #10X19 AB #2 SQ TV (PKT 10) |
| 29 | 847316P | RETAINER WHEEL STEEL KIT |
| Includes | RETAINER WHEEL STEEL | |
| Includes | SCREW 8-32X8 TY T PAN PH TV | |
| Includes | ROLLER FOOT FRONT | |
| Includes | PIN ROLLER PLATED | |
| 30 | 818614P | BRACKET HINGE BASE RH (PKD) |
| Includes 883988P | CAP DOOR CLOSING RH HGE BRKT G | |
| 31 | 813481 | BOLT BLIND END HINGE BRACKET |
| 32 | 880512 | FOOT LEVELLING ASSEMBLY |
| Includes | WHEEL LEVELLING FOOT ASSY | |
| Includes | BASE LEVELLING FOOT | |
| 33 | 838362P | SHELF GL PC 635 ASSY SC |
| Includes | SHELF GLASS PC 635 | |
| Includes | TRIM SHELF PC 635 SC | |
| Includes | STIFFENER SHELF PC 635 GR | |
| Includes 836567 | PLUG TRIM SHELF RH | |
| Includes 836568 | PLUG TRIM SHELF LH | |
| 34 | 839631P | SHELF GL HCL 635B ASSY SC |
| Includes | SHELF GLASS PC 635 | |
| Includes | TRIM SHELF HCL 635 SC | |
| Includes | STIFFENER SHELF PC 635 GR | |
| Includes 836567 | PLUG TRIM SHELF RH | |
| Includes 836568 | PLUG TRIM SHELF LH | |
| Includes 836580 | RETAINER HCL FRONT 635 | |
| Includes 836631 | SLIDE CONTROL HUMIDITY RH | |
| Includes 836633 | SLIDE CONTROL HUMIDITY LH | |
| Includes 836632 | GUIDE CONTROL HUMIDITY RH | |
| Includes 836634 | GUIDE CONTROL HUMIDITY LH | |
| 35 | 836729 | LID HUMIDITY CONTROL 635B |
| 36 | 836580 | RETAINER HCL FRONT 635 |
| 37 | 836633 | SLIDE CTRL HUMIDITY LH |
| 836631 | SLIDE CTRL HUMIDITY RH | |
| 38 | 836634 | GUIDE CTRL HUMIDITY LH |
| 836632 | GUIDE CTRL HUMIDITY RH | |
| 39 | 836522 | BIN SMALL |
| 40 | 836512 | TRAY 635 |
| 41 | 836585 | SKID TRAY RH |
| 836586 | SKID TRAY LH | |
| 42 | 836517 | WHEEL & CHASSIS ASSEMBLY (PKT 2) |
| 43 | 836659 | BIN LARGE 635 ASSY |
| 44 | 860593 | HOLDER BOTTLE SINGLE ASSY |
| 45 | 837192 | CONNECTOR WATER ELBOW C10308W |
| 46 | 837193P | COLLET LOCKING CLIP PIC1808R (PKT 2) |
| NI | 874107 | TRAY ICE BASE |
| NI | 874121 | TRAY ICE LID |
| JOINER KIT FOR SIDE BY SIDE CABINET CONNECTION | ||
| Used for combining any of the following 1695mm high cabinet models: N388, C450, E402B, E411T, E415H, E440T, E442B, E521T and E522B | ||
| NI | 819264 | KIT JOINER SILVER |
ICEMAKER COMPONENTS & ICE BIN

DWG 005397
ICEMAKER COMPONENTS & ICE BIN
| REFERENCE | PART NUMBER | PART DESCRIPTION |
| 1 | 836929 | SCOOP ICE |
| 2 | 836886 | BIN AND SCOOP ASSEMBLY |
| Includes 836928 | BIN ICE | |
| Includes 836929 | SCOOP | |
| 3 | 836936 | SPIGOT FILL ICE MAKER |
| 4 | 836915 | HOUSING ICE MAKER |
| 5 | 820833P | ICEMAKER ASSEMBLY LARGE |
| Includes 820841 | TRAY ICE AUTO LARGE | |
| Includes 836910 | LEVER GEARBOX ICE | |
| Includes 836915 | HOUSING ICE MAKER | |
| Includes 836934 | GEARBOX ICE MAKER | |
| Includes 836948 | SCREW 6X1/2 PAN PH SS | |
| 6 | 836934 | GEARBOX ICE MAKER |
| 7 | 836912 | LEVER BIN DETECT |
| 8 | 836948P | SCREW 6X1/2 PAN PH SS (PKT 10) |
| 9 | 836910 | LEVER GEARBOX ICE |
| 11 | 820841 | TRAY ICE AUTO LARGE |
| 12 | 836909 | FOAM CLIP SENSOR |
| 13 | 837180 | CLIP SENSOR ICE TRAY |
| 14 | 321107 | ICE MAKER SENSOR LEAD WIRE KIT |
| Includes | SENSOR THERMISTOR ICEMAKER | |
| Includes | CONNECTOR IDC UY2 – 3MS | |
| Includes | INSTRUCTIONS ICE SENSOR KIT | |
| 15 | 821689P | ICE FILL TUBE HEATER KIT MK2 |
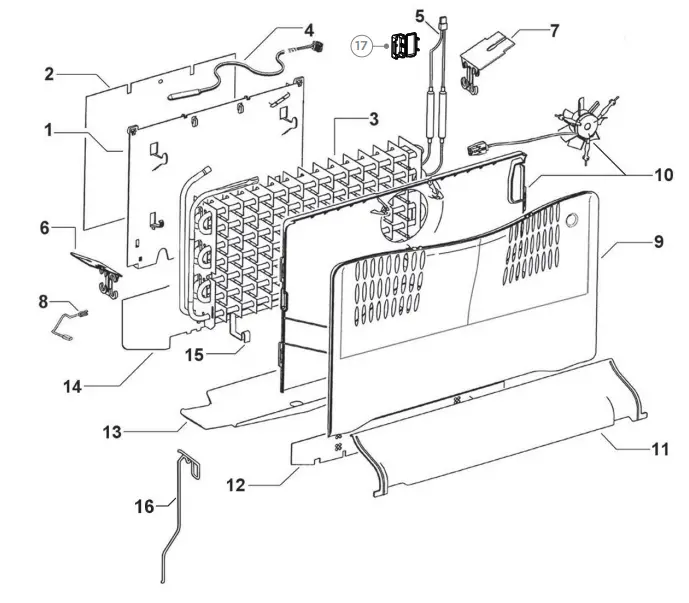
FAN, COVER AND EVAPORATOR COMPONENTS

DWG 005374
FAN, COVER AND EVAPORATOR COMPONENTS
| REFERENCE | PART NUMBER | PART DESCRIPTION |
| 1 | 814446 | CHASSIS EVAP 635 B |
| 2 | 880423P | DEF HRT CHASSIS |
| 3 | 821064P | EVAP ASSY 635B 120V DP |
| Includes | EVAPORATOR FINNED 635 R600A | |
| Includes 814446 | CHASSIS EVAP 635 B | |
| Includes 814631 | SHIELD EVAP B CHASSIS | |
| Includes 847021 | HEATER DEF DBLE 120V 635 | |
| Includes 880423P | DEF HRT CHASSIS | |
| Includes 820604 | CLIP EVAP BAFFLE | |
| Includes 813992 | CLIP ACTIVE SMART BAFFLE | |
| Includes 820835 | CLIP DEFROST HEATER B SHORT (2) | |
| Includes 814460 | HARNESS EARTH 100MM | |
| Includes | CABLE TIE 200MMX3.6 | |
| 4 | 855203P | SENSOR KIT ASSY |
| Includes | HEATSHRINK 25MM | |
| Includes | HARNESS SENSOR PC | |
| Includes | CONNECTOR BUTT (2) | |
| Includes | SHEET INSTRUCTION BUTT CONNECTORS | |
| 5 | 847021 | HEATER DEF DBLE 120V 635 |
| 6 | 813992 | CLIP ACTIVE SMART BAFFLE |
| 7 | 820604 | CLIP EVAP BAFFLE |
| 8 | 814460 | HARNESS EARTH 100MM |
| 9 | 873398 | COVER FAN FC FRONT 635B |
| 10 | 848314P | FAN FC 3W KIT 635 SERIES A TO |
| Includes 880409P | COVER HEAT SHIELD ALUM 635 | |
| Includes | COVER FAN FC REAR 635 | |
| Includes | CONNECTOR IDC UP2 (2) | |
| Includes | FAN DC SUSPENDED FC ASSY | |
| 11 | 836593 | DUCT RETURN AIR FC 635 |
| 12 | 880409P | COVER HEAT SHIELD ALUM 635 P42 |
| 13 | 872831 | SHIELD DRAIN HTR DEFROST 635B |
| 14 | 814631 | SHIELD EVAP B CHASSIS |
| 15 | 820835 | CLIP DEFROST HEATER B SHORT |
| 16 | 821251 | WIRE DRAIN HEATER DOUBLE B |
| 17 | 821745 | COVER PLUG TYCO |
DUCT COVER COMPONENTS

DWG 002944
DUCT COVER COMPONENTS
| REFERENCE | PART NUMBER | PART DESCRIPTION |
| 1 | 837405 | COVER DUCT PC TOP B |
| 2 | 873950 | INSULATION COVER DUCT LONG B |
| 3 | 855203P | SENSOR KIT ASSY |
| Includes | CONNECTOR BUTT | |
| Includes | HARNESS SENSOR PC | |
| 4 | 836861 | COVER DUCT PC B LONG WATER |
| 5 | 813287 | GRILLE PC RETURN AIR B MODEL |
| 6 | 872823 | INSULATION INSERT PID |
TERMINAL, PLUGS & SOCKETS

DWG 002630
TERMINAL, PLUGS & SOCKETS
| REFERENCE | PART NUMBER | PART DESCRIPTION | COMMENTS |
| 1 | 819607P | TERMINAL SYF-01T PKT 10 | 26/20 AWG |
| 819608P | TERMINAL SYF-41T PKT 10 | 20/16 AWG | |
| 2 | 819609P | PIN/TERM SYM-01T PKT 10 | 26/20 AWG |
| 819610P | PIN/TERM SYM-41T PKT 10 | 20/16 AWG | |
| 3 | 819615 | JST SOCKET 2PIN YLR-02V | |
| 819616 | JST SOCKET 3PIN YLR-03V | ||
| 819617 | JST SOCKET 4PIN YLR-04V | ||
| 819618 | JST SOCKET 6PIN YLR-06VF | ||
| 819619 | JST SOCKET 8 PIN YLR-08V | ||
| 4 | 819611 | JST PLUG 2PIN YLP-02V | |
| 819612 | JST PLUG 4PIN YLP-04V | ||
| 819613 | JST PLUG 6PIN YLP-06V | ||
| 819614 | JST PLUG 8PIN YLP-08V | ||
| 5 | 819620 | RETAINER 2 WAY YLS-02V | |
| 819621 | RETAINER 3 WAY YLS-03V | ||
| 6 | 881588 | CONNECTOR RAST 9290-02-AB01 | MAINS CORD |
| 881589 | CONNECTOR RAST 9290-02-BA01 | DEFROST HEATER | |
| 881590 | CONNECTOR RAST 9290-02-EE01 | RUN CAPACITOR | |
| 7 | 881591 | CONNECTOR RAST 9290-04-EF02 | COMPRESSOR CABLE |
| 8 | 873251 | CONNECTOR RAST 7234-003-500 | |
| 873250 | CONNECTOR RAST 7234-004-500 | ||
| 881135 | CONNECTOR RAST 7234-005-500 | ||
| 873247 | CONNECTOR RAST 7234-006-500 | ||
| 873279 | CONNECTOR RAST 7234-008-500 | ||
| 873248 | CONNECTOR RAST 7234-010-500 | ||
| 873243 | CONNECTOR RAST 7234-012-500 | ||
| 881136 | CONNECTOR RAST 7234-014-500 | ||
| 881137 | CONNECTOR RAST 7234-017-502 | ||
| 9 | 820687P | ADAPTOR JST REC TO MOLEX KIT | |
| Includes 884412 | COVER PLUG MOLEX | ||
| 10 | 820688P | ADAPTOR JST PLUG TO MOLEX KIT | |
| Includes 884412 | COVER PLUG MOLEX |
NOTE: THE NUMBERS IN THE DESCRIPTION OF THE RAST CONNECTOR DENOTE THE NUMBER OF CONNECTIONS – EXAMPLE: 7234-017-502 =17 WAY CONNECTOR
COMPRESSOR AREA COMPONENTS

COMPRESSOR AREA COMPONENTS
| REFERENCE | PART NUMBER | PART DESCRIPTION |
| 1 | 821301 | PANEL BACK FORMED 635-1660 |
| 2 | 837283 | TUBE DISCHARGE COILED |
| 3 | 820573 | TRAY EVAP COMPACT ASSY PP |
| 4 | 815236P | SCREW #12X1/2 CSK PH TV (PKT 10) |
| 5 | 817834P | SCREW #8X16 HEX (PKT 10) |
| 6 | 839481 | CLIP DRIER |
| 8 | 814843P | FILTER DRIER LONG TAIL XH9 12 GRM |
| 9 | 841291P | POST COMP MTG 26MM PKT X4 |
| 10 | 843824P | GROMMET 26MM KIT |
| 11 | 855270P | CLIP FOOT COMPRESSOR (PKT 4) |
| 12 | 207432P | COMPR PKD EMB VESD9CEVO |
| includes | COMPR EMB VESD9CEVO | |
| includes 207310 | COVER PROTECTOR VEM | |
| includes 207313 | SCREW INVERTER VEM (4) | |
| includes | FILTER PREBRAZED LONG TAIL | |
| includes | POST COMPR MNTG 26MM (4) | |
| includes | GROMMET COMPR MTG 26MM (4) | |
| includes | CLIP FOOT COMPRESSOR (4) | |
| includes | PIN LOCKING COMP (4) | |
| 13 | 207437P | INVERT PKD VESD9CEVO 115V FA |
| 14 | 207310 | COVER PROTECTOR VEM |
| 15 | 207313P | SCREW INVERTER VEM (PKT10) |
| 16 | 817828P | SCREW 8-32X8 TY T PAN PH TV (PKT 10) |
| 17 | 863228 | HARNESS MOD VCC UL EMB |
| 18 | 837802 | CORD SET USA MODEL |
| 19 | 851578P | MOD CTRL VES AS51 120-230V SVC |
| 20 | 849742 | SUCTION CAPILLARY BENT B |
| 21 | 880911 | BRACKET STABILITY ASSY |
| 22 | 815267P | SCREW #10X40 TAB PAN PH STS TV (PKT 10) |
| 23 | 820718 | VALVE ICE WATER 16 WATT |
| 24 | 820335 | TRAY COMP MOUNTING 635VCC |
| 25 | 864164 | KIT INSTL FILTER WATER FIXATION THE US |
| includes 847200 | REFRIGERATOR WATER FILTER | |
| includes 847480 | BRACKET FILTER WATER ASSY | |
| includes 611812 | SCREW ST 10X5/8 MSH PAN HP 430 (3) | |
| includes 847848 | TUBE FILTER WATER 1/4″ 500MM | |
| includes 312198 | ADAPTOR TUBE-TAP1/4″-7/16″ UNS | |
| includes 847700 | CLIP LOCKING I&W | |
| includes 847538 | BRACKET WALL PLV | |
| includes 846219 | VALVE PRESSURE LIMIT 550KPA | |
| includes 847312 | HEAD FILTER WATER 90 DEG FS | |
| includes 863600 | WATER INLET FIXATION ASSY | |
| 26 | 847200 | REFRIGERATOR WATER FILTER |
| 27 | 847312 | HEAD FILTER WATER 90 DEG FS |
| 28 | 847480 | BRACKET FILTER WATER ASSY |
| 29 | 611812P | SCREW ST 10X5/8 MSH PAN PKT 10 |
| 30 | 312198 | ADAPTOR TUBE-TAP1/4”-7/16” UNS |
| 31 | 847700 | CLIP LOCKING I&W |
| 32 | 847848 | TUBE FILTER WATER 1/4” 500MM |
| 33 | 863600 | WATER INLET FIXATION ASSY |
| 34 | 847538 | BRACKET WALL PLV |
| 35 | 846219 | VALVE PRESSURE LIMIT 550KPA |
© Fisher & Paykel Appliances 2021. All rights reserved.
The models shown in this guide may not be available in all markets and are subject to change at any time.
The product specifications in this guide apply to the specific products and models described at the date of issue. Under our policy of continuous product
improvement, these specifications may change at any time.
For current details about model and specification availability in your country, please go to our website or contact your local Fisher & Paykel dealer.
PRODUCT CODE: 25935-B
06.21



















