FISHER PAYKEL RF135BDRX4 N FP US 25 Inch Counter Depth Bottom-Freezer Refrigerator
INTRODUCTION
| BRAND | VOLTAGE | MODEL | PRODUCT CODE |
| Fisher & Paykel | 110-120 60Hz | RF135BDRX4 N FP US | 25932-B |
MODELS
The models covered by this manual are listed on the front cover.
The information detailed in this manual is subject to change without notice. The latest version is indicated by the reprint date and replaces any earlier editions.
KIT PARTS
Where a part number is shown against the descriptions for kit components, they are also available as separate items. In addition, some parts may be supplied with these kits that are not available as separate items, and are therefore either not listed, or a part number is not shown against the part description in this manual.
PARTS LIST KEY
| NI | As a part reference, indicates the part is not illustrated on the diagram. |
| NOT USED | As a part number, indicates the diagram part reference is not used in this manual. |
| NS | As a part number, indicates the part is not servicable. |
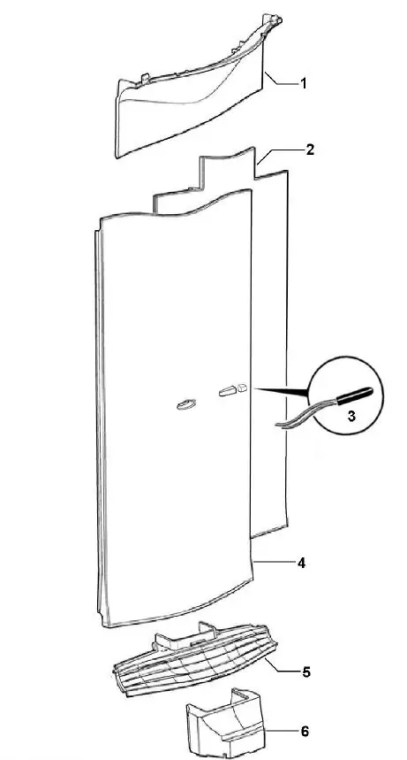
DOOR COMPONENTS
| REFERENCE | PART NUMBER | PART DESCRIPTION |
| 1 | 820801 | COVER DOOR HINGE RH |
| 2 | 860419 | TRIM DOOR DESIGNER X |
| 3 | 817825P | SCREW #8X22 WAFER PH ST TV (PKT 10) |
| 4 | 820845 | BEARING HINGE WATER RH |
| 5 | 865681P | DR PC 635X1052 F SX2 RH HSW |
| Includes 864803 | MAGNET DOOR SW 10X30 | |
| Includes 864794 | COVER MAGNET DOOR GR | |
| Includes | GASKET FRAME E402B PC | |
| 6 | 821099P | GASKET FRAME E402B PC |
| 7 | 814621 | CLOSING HOOK DR STOP CH RH |
| 8 | 814537 | DOOR STOP ASSY |
| 9 | 813931 | BEARING HINGE TOP DOOR FLAT |
| 10 | 865685P | DR FC 635X610 F SX2 RH HSW |
| Includes 864803 | MAGNET DOOR SW 10X30 | |
| Includes 864794 | COVER MAGNET DOOR GR | |
| Includes | GASKET FRAME E402B E372B FC | |
| 11 | 821100P | GASKET FRAME E402B E372B FC |
| 12 | 864803 | MAGNET HALL SW 10X30 |
| 13 | 864794 | COVER MAGNET DOOR GR |
| Includes | SCREW ST 8X5/16 TAB MTS PH NP | |
| 14 | NOT USED | ITEM NOT USED IN THIS MODEL |
| 15 | 315017 | KIT COVER DOOR SHELF 635 |
| Includes 876503 | COVER DOOR SHELF CLEAR LH | |
| Includes 876504 | COVER DOOR SHELF CLEAR RH | |
| 16 | 315017 | KIT COVER DOOR SHELF 635 |
| Includes 876503 | COVER DOOR SHELF CLEAR LH | |
| Includes 876504 | COVER DOOR SHELF CLEAR RH | |
| 17 | 874973 | SHELF DOOR SML LH 635 WHITE |
| 18 | 876719 | SHELF EGG RACK 635 |
| 19 | 874974 | SHELF DOOR SML RH 635 WHITE |
| 20 | 883121 | DIVIDER BOTTLE RAIL WHITE |
| 21 | 818849 | RAIL BOTTLE SUPPORT 635 SL |
| 22 | 876281P | PLUG DOOR SHELF WHITE (PKT 2) |
| 23 | 883941 | SHELF DOOR LGE 635 WHITE |

| REFERENCE | PART NUMBER | PART DESCRIPTION |
| 24 | 860795P | BOSS HANDLE FLAT SPARES KIT |
| 25 | 819646P | SCREW M5X40 CAP (PKT 10) |
| 26 | 820581 | HANDLE D3 612 BRUSHED |
| Includes 837467 | SCREW M5X14 CAP | |
| Includes 819646 | SCREW M5X40 CAP | |
| 27 | 837467P | SCREW M5X14 CAP (PKT 10) |
| 28 | 820582 | HANDLE D3 374 BRUSHED |
| Includes 837467 | SCREW M5X14 CAP | |
| Includes 819646 | SCREW M5X40 CAP | |
| 30 | 813926 | TRIM CORNER DOOR FLAT |
CABINET COMPONENTS
| REFERENCE | PART NUMBER | PART DESCRIPTION |
| 1 | 820647 | COVER HINGE TOP IW RH |
| 2 | 817818P | SCREW M5X20 HEX PH ST TV (PKT 10) |
| 3 | 820652 | BRACKET HINGE IW RH ASSY |
| 4 | 821019 | SUPPORT HINGE TOP NIW |
| 5 | 883948P | PLUG TAPPED HOLE SILVER (PKT 3) |
| 6 | 883951 | TRIM CORNER SILVER 680/790 |
| 7 | 880656P | SCREW 10GX25CSK SQ SS (PKT 10) |
| 8 | 881283P | BRACKET CTR HINGE RH (PKD) |
| Includes 883988P | CAP DOOR CLOSING RH HGE BRKT G | |
| 9 | 883988P | CAP DOOR CLOSING RH HGE BRKT G |
| 10 | 837327P | MOD DISP AS U2 INT 6 BUT SVC |
| 11 | 839618 | HARNESS MOLEX 5 WAY SPARES |
| 12 | 820736 | HOUSING FRONT LED PC |
| 13 | 817816P | SCREW 6 X12 AB TRUSS PH ST TV (PKT 10) |
| 14 | 845096P | MOD LAMP AS CEILING SVC |
| 15 | 820737 | WINDOW LED PC |
| 16 | 848320P | PC 3W FAN ASSY JST/DCT |
| Includes | FAN HOUSING PC ASSY | |
| Includes | DUCT JUNCTION | |
| Includes | CONNECTOR IDC UP2 (2) | |
| Includes | LABEL WARNING 12 VOLT DC | |
| Includes | SHEET INSTRUCTION PC FAN ASSY | |
| 17 | 836808 | RETAINER & SLIDE 680 RH ASSY |
| Includes 836700 | SLIDE 305 RH ASSEMBLY | |
| Includes 836520P | CLIP SLIDE | |
| 836807 | RETAINER & SLIDE 680 LH ASSY | |
| Includes 836701 | SLIDE 305 LH ASSEMBLY | |
| Includes 836520P | CLIP SLIDE | |
| 18 | 836700 | SLIDE 305 RH ASSEMBLY |
| Includes 836520P | CLIP SLIDE | |
| 836701 | SLIDE 305 LH ASSEMBLY | |
| Includes 836520P | CLIP SLIDE | |
| Includes 836520P | CLIP SLIDE |

| REFERENCE | PART NUMBER | PART DESCRIPTION |
| 19 | 836520P | CLIP SLIDE (PKT 2) |
| 20 | 836545 | RETAINER SLIDE FC B RH |
| 836546 | RETAINER SLIDE FC B LH | |
| 21 | 836702 | SLIDE 355 RH ASSEMBLY |
| Includes 836520P | CLIP SLIDE | |
| 836703 | SLIDE 355 LH ASSEMBLY | |
| Includes 836520P | CLIP SLIDE | |
| 22 | 884011 | COVER REED SWITCH ST4 SILVER |
| 881420 | COVER REED SWITCH WHITE ST4 | |
| 23 | 865214P | MOD HALL SWITCH RF |
| 24 | 836593 | DUCT RETURN AIR FC 635 |
| 25 | 883953P | CAP SCREW CROSS RAIL SILVER |
| 880595P | CAP SCREW CROSS RAIL WHITE | |
| 26 | 817822P | SCREW #10X19 AB #2 SQ TV (PKT 10) |
| 27 | 315090P | KIT WHEEL BRACKET CLIP |
| Includes | PIN ROLLER PLATED | |
| Includes | ROLLER FOOT FRONT | |
| Includes | CLIP WHEEL BRACKET | |
| 28 | 818614P | BRACKET HINGE BASE RH (PKD) |
| Includes 883988P | CAP DOOR CLOSING RH HGE BRKT G | |
| 29 | 813481 | BOLT BLIND END HINGE BRACKET |
| 30 | 818535 | WHEEL LEVELING FOOT ASSY RC |
| Includes | WHEEL LEVELLING FOOT ASSY | |
| Includes | BASE LEVELLING FOOT | |
| 31 | 838362P | SHELF GL PC 635 ASSY SC |
| Includes | SHELF GLASS PC 635 | |
| Includes | TRIM SHELF PC 635 SC | |
| Includes | STIFFENER SHELF PC 635 GR | |
| Includes 836567 | PLUG TRIM SHELF RH | |
| Includes 836568 | PLUG TRIM SHELF LH |

| REFERENCE | PART NUMBER | PART DESCRIPTION |
| 32 | 839631P | SHELF GL HCL 635B ASSY SC |
| Includes | SHELF GLASS PC 635 | |
| Includes | TRIM SHELF HCL 635 SC | |
| Includes | STIFFENER SHELF PC 635 GR | |
| Includes 836567 | PLUG TRIM SHELF RH | |
| Includes 836568 | PLUG TRIM SHELF LH | |
| Includes 836580 | RETAINER HCL FRONT 635 | |
| Includes 836631 | SLIDE CONTROL HUMIDITY RH | |
| Includes 836633 | SLIDE CONTROL HUMIDITY LH | |
| Includes 836632 | GUIDE CONTROL HUMIDITY RH | |
| Includes 836634 | GUIDE CONTROL HUMIDITY LH | |
| 33 | 836729 | LID HUMIDITY CONTROL 635B |
| 35 | 836580 | RETAINER HCL FRONT 635 |
| 36 | 836631 | SLIDE CONTROL HUMIDITY RH |
| 836633 | SLIDE CONTROL HUMIDITY LH | |
| 37 | 836632 | GUIDE CONTROL HUMIDITY RH |
| 836634 | GUIDE CONTROL HUMIDITY LH | |
| 38 | 836522 | BIN SMALL |
| 39 | 836512 | TRAY 635 |
| 40 | 836585 | SKID TRAY RH |
| 836586 | SKID TRAY LH | |
| 41 | 836517 | WHEEL & CHASSIS ASSEMBLY (PKT 2) |
| 42 | 836659 | BIN LARGE 635 ASSY |
| 43 | 874107 | TRAY ICE BASE |
| 44 | 874108 | TRAY ICE LID |
| 45 | 860593 | BOTTLE HOLDER SINGLE |
EVAPORATOR AREA COMPONENTS
| REFERENCE | PART NUMBER | PART DESCRIPTION |
| 1 | 814446 | CHASSIS EVAP 635 B |
| 2 | 880423P | DEF HRT CHASSIS |
| 3 | 821064P | EVAP ASSY 635B 120V DP |
| Includes | EVAPORATOR FINNED 635 R600A | |
| Includes 814446 | CHASSIS EVAP 635 B | |
| Includes 814631 | SHIELD EVAP B CHASSIS | |
| Includes 847021 | HEATER DEF DBLE 120V 635 | |
| Includes 880423P | DEF HRT CHASSIS | |
| Includes 820604 | CLIP EVAP BAFFLE | |
| Includes 813992 | CLIP ACTIVE SMART BAFFLE | |
| Includes 820835 | CLIP DEFROST HEATER B SHORT (2) | |
| Includes 814460 | HARNESS EARTH 100MM | |
| Includes | CABLE TIE 200MMX3.6 | |
| 4 | 855203P | SENSOR KIT ASSY |
| Includes | HEATSHRINK 25MM | |
| Includes | HARNESS SENSOR PC | |
| Includes | CONNECTOR BUTT (2) | |
| Includes | SHEET INSTRUCTN BUTT CONNECTORS | |
| 5 | 847021 | HEATER DEF DBLE 120V 635 |
| 6 | 813992 | CLIP ACTIVE SMART BAFFLE |
| 7 | 820604 | CLIP EVAP BAFFLE |
| 8 | 814460 | HARNESS EARTH 100MM |
| 9 | 873398 | COVER FAN FC FRONT 635B |
| 10 | 848314P | FAN FC 3W KIT 635 SERIES A TO |
| Includes 880409P | COVER HEAT SHIELD ALUM 635 | |
| Includes | COVER FAN FC REAR 635 | |
| Includes | CONNECTOR IDC UP2 (2) | |
| Includes | FAN DC SUSPENDED FC ASSY | |
| 11 | 836593 | DUCT RETURN AIR FC 635 |
| 12 | 880409P | COVER HEAT SHIELD ALUM 635 P42 |
| 13 | 872831 | SHIELD DRAIN HTR DEFROST 635B |
| 14 | 814631 | SHIELD EVAP B CHASSIS |
| 15 | 820835 | CLIP DEFROST HEATER B SHORT |
| 16 | 821251 | WIRE DRAIN HEATER DOUBLE B |
| 17 | 821745 | COVER PLUG TYCO |
DUCT COVER COMPONENTS
| REFERENCE | PART NUMBER | PART DESCRIPTION |
| 1 | 837405 | COVER DUCT PC TOP B |
| 2 | 873950 | INSULATION COVER DUCT LONG B |
| 3 | 855203P | SENSOR KIT ASSY |
| Includes | CONNECTOR BUTT | |
| Includes | HARNESS SENSOR PC | |
| 4 | 836861 | COVER DUCT PC B LONG WATER |
| 5 | 813287 | GRILLE PC RETURN AIR B MODEL |
| 6 | 872823 | INSULATION INSERT PID |
TERMINAL, PLUGS & SOCKETS
| REFERENCE | PART NUMBER | PART DESCRIPTION | COMMENTS |
| 1 | 819607P | TERMINAL SYF-01T PKT 10 | 26/20 AWG |
| 819608P | TERMINAL SYF-41T PKT 10 | 20/16 AWG | |
| 2 | 819609P | PIN/TERM SYM-01T PKT 10 | 26/20 AWG |
| 819610P | PIN/TERM SYM-41T PKT 10 | 20/16 AWG | |
| 3 | 819615 | JST SOCKET 2PIN YLR-02V | |
| 819616 | JST SOCKET 3PIN YLR-03V | ||
| 819617 | JST SOCKET 4PIN YLR-04V | ||
| 819618 | JST SOCKET 6PIN YLR-06VF | ||
| 819619 | JST SOCKET 8 PIN YLR-08V | ||
| 4 | 819611 | JST PLUG 2PIN YLP-02V | |
| 819612 | JST PLUG 4PIN YLP-04V | ||
| 819613 | JST PLUG 6PIN YLP-06V | ||
| 819614 | JST PLUG 8PIN YLP-08V | ||
| 5 | 819620 | RETAINER 2 WAY YLS-02V | |
| 819621 | RETAINER 3 WAY YLS-03V | ||
| 6 | 881588 | CONNECTOR RAST 9290-02-AB01 | MAINS CORD |
| 881589 | CONNECTOR RAST 9290-02-BA01 | DEFROST HEATER | |
| 881590 | CONNECTOR RAST 9290-02-EE01 | RUN CAPACITOR | |
| 7 | 881591 | CONNECTOR RAST 9290-04-EF02 | COMPRESSOR CABLE |
| 8 | 873251 | CONNECTOR RAST 7234-003-500 | |
| 873250 | CONNECTOR RAST 7234-004-500 | ||
| 881135 | CONNECTOR RAST 7234-005-500 | ||
| 873247 | CONNECTOR RAST 7234-006-500 | ||
| 873279 | CONNECTOR RAST 7234-008-500 | ||
| 873248 | CONNECTOR RAST 7234-010-500 | ||
| 873243 | CONNECTOR RAST 7234-012-500 | ||
| 881136 | CONNECTOR RAST 7234-014-500 | ||
| 881137 | CONNECTOR RAST 7234-017-502 | ||
| 9 | 820687P | ADAPTOR JST REC TO MOLEX KIT | |
| Includes 884412 | COVER PLUG MOLEX | ||
| 10 | 820688P | ADAPTOR JST PLUG TO MOLEX KIT | |
| Includes 884412 | COVER PLUG MOLEX |
COMPRESSOR AREA COMPONENTS
| REFERENCE | PART NUMBER | PART DESCRIPTION |
| 1 | 821301 | PANEL BACK FORMED 635-1660 |
| 2 | 819598 | TUBE EVAP FORMED 900 |
| 3 | W10137529P | GROMMET-CONDENSER PKT10 |
| 4 | 815236P | SCREW #12X1/2 CSK PH TV (PKT 10) |
| 5 | 851186 | TRAY EVAP FLAT |
| 6 | 817834P | SCREW #8X16 HEX (PKT 10) |
| 7 | 839481 | CLIP DRIER |
| 8 | 814843P | FILTER DRIER LONG TAIL XH9 12 GRM |
| 9 | 841291P | POST COMP MTG 26MM PKT X4 |
| 10 | 843824P | GROMMET 26MMM KIT 4PACK |
| includes | POST COMP MTG 26MM (4) | |
| includes | GROMMET COMPR MTG 26MM (4) | |
| includes | CLIP FOOT COMPRESSOR (4) | |
| 11 | 855270P | CLIP FOOT COMPRESSOR (PKT 4) |
| 12 | 207432P | COMPR PKD EMB VESD9CEVO |
| includes | COMPR EMB VESD9CEVO | |
| includes 207310 | COVER PROTECTOR VEM | |
| includes 855270 | CLIP FOOT COMPRESSOR (4) | |
| includes 814843 | FILTER PREBRAZED LONG TAIL | |
| includes | SCREW INVERTER VEM (4) | |
| includes | POST COMPR MNTG 26MM (4) | |
| includes | GROMMET COMPR MTG 26MM (4) | |
| includes | PIN LOCKING COMP (4) | |
| 13 | 207437P | INVERT PKD VESD9CEVO 115V FA |
| 14 | 207310 | COVER PROTECTOR VEM |
| 15 | 207313P | SCREW INVERTER VEM (PKT10) |
| 16 | 817828P | SCREW 8-32X8 TY T PAN PH TV (PKT 10) |
| 17 | 863228 | HARNESS MOD VCC UL EMB |
| 18 | 817823P | SCREW 6-20X12 PAN PH TV EMBRA (PKT 10) |
| 19 | 837802 | CORD SET USA MODEL |
| 20 | 851578P | MOD CTRL VES AS51 120-230V SVC |
| 21 | 849742 | SUCTION CAPILLARY BENT B |
| 22 | 880911 | BRACKET STABILITY ASSY |
| 23 | 815267P | SCREW #10X40 TAB PAN PH STS TV (PKT 10) |
| 24 | 820335 | TRAY COMP MOUNTING 635VCC |
© Fisher & Paykel Appliances 2021. All rights reserved.
The models shown in this guide may not be available in all markets and are subject to change at any time.
The product specifications in this guide apply to the specific products and models described at the date of issue. Under our policy of continuous product improvement, these specifications may change at any time.
For current details about model and specification availability in your country, please go to our website or contact your local Fisher & Paykel dealer.

























