BEA UL MAGLOCKS 600LB Electromagnetic Locks

Description
The Electromagnetic Lock (Maglock) series is a surface-mounted, magnetic-lock assembly. They are available in single- and dual-lock varieties, various holding forces, and also avaible with or without built-in Door Status Switch (“DS” versions). All models are designed for standard installation on most types of doors.

| door configuration | door status sensor | |||
| single | dual | with | without | |
| 10MAGLOCK3UL | TICK | TICK | ||
| 10MAGLOCK3ULDS | TICK | TICK | ||
| 10MAGLOCK6UL | TICK | TICK | ||
| 10MAGLOCK6ULDS | TICK | TICK | ||
Specifications
ATTENTION: This product must be powered from a UL-listed, regulated, power-limited, power supply!
| DESCRIPTION | 10MAGLOCK3UL 10MAGLOCK3ULDS | 10MAGLOCK6UL 10MAGLOCK6ULDS |
| Lock: | single | dual |
| Input Voltage: | 12 or 24 VDC | 12 or 24 VDC |
| Relay Rating: | 1.0 A @ 24 VDC resistive | 1.0 A @ 24 VDC resistive |
| Reed Switch Rating: | SPDT 0.5 amp @ 30 VAC/VDC resistive | SPDT 0.5 amp @ 30 VAC/VDC resistive |
| Power Consumption: | 505 mA @ 12 VDC / 260 mA @ 24 VDC | 505 × 2 mA @ 12 VDC / 260 × 2 mA @ 24 VDC |
| Dimensions: | 9.84 x 1.65 x 1.02 in 250 x 42 x 26 mm | 19.76 x 1.65 x 1.02 in 502 x 42 x 26 mm |
| Certification: | UL1034 | UL1034 |
| Operating Temperature: | 14 – 131 °F (-10 – 55 °C) | 14 – 131 °F (-10 – 55 °C) |
| Operating Humidity: | 0 – 95% | 0 – 95% |
NOTE: The specifications listed above are for an indoor, dry, installation location.
Precautions
- Shut off all power going to door or header before attempting any wiring procedures.
- Maintain a clean and safe environment when working in public areas.
- Constantly be aware of pedestrian traffic around the door area.
- Always stop pedestrian traffic through the doorway when performing tests that may result in unexpected reactions by the door.
- Always check placement of all wiring before powering up to ensure that moving door parts will not catch any wires and cause damage to equipment or cable insulation.
- Ensure compliance with all applicable safety standards (i.e. ANSI A156.10) upon completion of installation.
Installation Notes
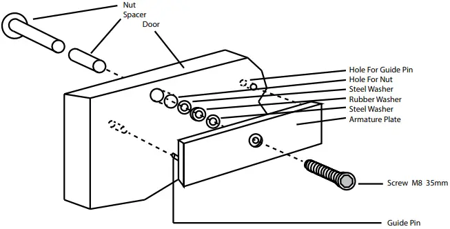
- Handle the equipment with care. Damaging the mating surfaces of the magnet and armature plate may reduce locking efficiency. 5 The maglock mounts rigidly to the door frame. The armature plate mounts to the door with the hardware provided. This allows
the armature plate to pivot about its center to compensate for door wear and misalignment. - Template use must take place with the door in its normally closed position.
- Add threadlocker to all screws before installing, and firmly tighten screws.
- Install only for indoor, dry applications.
- Installation and wiring must be performed in compliance with ANSI/NFPA70 regulations.
- The Maglock shall be installed within the same room as other equipment and circuitry connecting to the Maglock (per UL 864).
Installation – Mechanical
TYPICAL INSTALLATION

Use the applicable mounting template. See image of template below.

Mounting Options

DO NOT over-tighten the armature plate.
The rubber washer is designed to allow the armature plate to automatically adjust position for best mating position between the magnet and armature plate.
Armature Plate Installation

Align the black, plastic piece of the armature plate with the cover plate (i.e. magnet must line up with the switch).
Installation – Electrical

CIRCUIT BOARD
NOTE: Terminals ratings: 12~24AWG
CAUTION! Observe proper circuit board orientation!
POWER
- The product must be powered from a UL-listed, regulated, power-limited, power supply.
- If power switch is not wired between DC source voltage(+) and magnet, it will take a longer time to de-energize the magnet simulating residual magnetism.
- Dual MAGLOCK models have two circuit boards that must both be powered; repeat these steps on each side

12 VDC INPUT
- Required power: See Specifications on page 2.
- Connect positive (+) lead from a 12 VDC power source to Terminal 1.
- Connect negative (-) lead from a 12 VDC power source to Terminal 2.
- Check jumper for 12 VDC operation.
24 VDC INPUT
- Required power: See Specifications on page 2.
- Connect positive (+) lead from a 24 VDC power source to Terminal 1.
- Connect negative (-) lead from a 24 VDC power source to Terminal 2.
- Check jumper for 24 VDC operation.

SWITCHES
LOCK STATUS RELAY CONTACTS (SPDT)
- Relay dry contacts are rated 1A at 24 VDC for safe operation, DO NOT exceed this rating.
- If a NO switch is required, connect the wires from the system to Terminal 3 and Terminal 4.
- If a NC switch is required, connect the wires from the system to Terminal 4 and Terminal 5.

DOOR STATUS SWITCH (DS versions only)
- Connect the positive (+) lead from the power source to the black wire of the Door Status Sensor switch.
- Connect the negative (-) lead from the power source to one end of the light for door status.
- Connect the red or green wire of the Door Status Sensor switch to the other end of the light for door status.
- red = light off with door closed
- green = light on with door closed
- Reed switch dry contacts are rated 0.25 amp at 30 VAC/VDC for safe operation. Do not exceed this rating.

BEA, INC. INSTALLATION/SERVICE COMPLIANCE EXPECTATIONS
- BEA Inc., the sensor manufacturer, cannot be held responsible for incorrect installations or incorrect adjustments of the sensor/device; therefore, BEA Inc. does not guarantee any use of the sensor/device outside its intended purpose.
- BEA Inc. strongly recommends that installation and service technicians be AAADM-certifi ed for pedestrian doors, IDA-certifi ed for doors/gates, and factory-trained for the type of door/gate system.
- Installers and service personnel are responsible for executing a risk assessment following each installation/service performed, ensuring that the sensor/device system performance is compliant with local, national, and international regulations, codes, and standards.
- Once installation or service work is complete, a safety inspection of the system shall be performed and documented per the manufacturer’s recommendations or industry guidelines. Examples of compliance may apply to ANSI 156.10, ANSI 156.19, ANSI/DASMA 102, ANSI/DASMA 107, UL294, UL325, and International Building Code.
Tech Support & Customer Service: 1-800-523-2462 | General Tech Questions: [email protected] | Tech Docs: www.BEAsensors.com























