LIEBHERR Fridge Freezer

The manufacturer works constantly on the further development of all the types and models. Therefore please understand that we have to reserve the right to make design, equipment and technical modifications.
To get to know all the benefits of your new appliance, please read the information contained in these instructions carefully.
The instructions apply to several models. Differences may occur. Text relating only to specific appliances is marked with an asterisk (*).
Instructions for action are marked with a , the results of action are marked with a .
Appliance at a glance
Description of appliance and equipment

- Operating and control elements
- Fan
- LED light column
- Shelf
- Shelf, sectioned
- VarioSafe
- Water tank*
- Drain hole
- Coldest zone
- BioCool
- VarioBox
- Can rack
- Bottle rack
- Bottle holder
- LED lighting, freezer compartment
- IceMaker*
- Freezer pack
- Information system
- Freezer compartment drawer
- Soft stop mechanism
- Type plate
Note:
- Place food inside the appliance as shown in the diagram. This allows the appliance to save energy during operation.
- Shelves, drawers and baskets are arranged for optimum energy efficiency on delivery.
Appliance range of use
Intended use
The appliance is only suitable for cooling food products in a domestic or household-like environment. This includes, for example, use: – in staff kitchens, bed and breakfast establishments,
- by guests in country houses, hotels, motels and other accommodation,
- for catering and similar services in the whole-sale trade.
All other types of use are not permitted.
Foreseeable misuse
The following applications are expressly forbidden:
- Storing and refrigerating medicines, blood plasma, laboratory preparations or similar substances and products based on the Medical Device Directive 2007/47/EC
- Use in areas at risk of explosions Misusing the appliance may lead to damage to the goods stored or they may spoil.
Climate classifications
Depending on the climate classification the appliance is designed to operate in restricted ambient temperatures. The climate classification applying to your appliance is printed on the rating plate.
Note: Keep to the specified ambient temperatures in order to guarantee that the appliance works properly.
| Climate classification | for ambient temperatures of |
| SN | 10 °C to 32 °C |
| N | 16 °C to 32 °C |
| ST | 16 °C to 38 °C |
| T | 16 °C to 43 °C |
Conformity
The refrigerant circuit has been tested for leaks. In installed condition, this appliance complies with the applicable safety stipulations and with directives 2014/35/EU, 2014/30/EU, 2009/125/EG, 2011/65/EU and 2010/30/EU.
Product data
Product data is included with the appliance, as per Directive (EU) 2017/1369. The complete product data sheet is available on the Liebherr website under Downloads.
EPREL database
Details about energy labelling and ecodesign requirements will be available on the European product database (EPREL) from 1st March 2021. You can access the product database at the following link: https://eprel.ec.europa.eu/ You will be asked to
enter the model ID. You can find the model ID on the nameplate.
Saving energy
- Pay attention to good ventilation. Do not cover ventilation holes or grids.
- Always keep the fan air slits clear.
- Do not install the appliance in direct sunlight, next to an oven, radiator or similar.
- Energy consumption is dependent on the installation conditions, e.g. ambient temperature (see 1.2 Appliance range of use) . If the ambient temperature deviates from the standard temperature of 25°C, the energy consumption may differ.
- Open the appliance for as short a time as possible.
- The lower the temperature is set the higher the energy consumption.
- Arrange the food in an organised way (see 1 Appliance at a glance) .
- Keep all food properly packed and covered. This prevents frost from forming.
- Only take food out for as long as necessary so that it doesn’t warm up too much.
- Inserting warm food: allow to cool down to room temperature first.
- Thaw frozen food in the refrigerator.
- If you intend to be on holiday for a long time empty the refrigerator and switch it off.
General safety information
Danger for the user:
- This device can be used by children and people with impaired physical, sensory or mental abilities or with a lack of experience and knowledge provided that they are super-vised or have received instruction in the safe use of this device, and about the resulting hazards. Children must not play with this appliance. Cleaning and user maintenance work must not be carried out by children without adult supervision. Children aged between 3 and 8 are allowed to load and unload the appliance.
- Children below the age of 3 must be kept away from the appliance unless they are under continuous adult super-vision.
- When disconnecting the appliance from the supply, always take hold of the plug. Do not pull the cable.
- In the event of a fault pull out the mains plug or deactivate the fuse.
- Do not damage the mains power cable. Do not operate the appliance with a defective mains power cable.
- Repairs, interventions on the appliance and the replacement of mains connection line may only be carried out by After-Sales Service or other suitably trained specialist personnel.
- Only install, connect and dispose of the appliance according to the instructions.
- Only use the appliance when it is installed.
- Please keep these instructions in a safe place and pass them on to any subsequent owners.
Fire hazard:
- The coolant used (information on the model plate) is eco-friendly but also flammable. Any leaking coolant may ignite.
- Do not damage the refrigerant circuit pipes.
- Do not handle ignition sources inside the appliance.
- Do not use electrical appliances inside the appliance (e.g. steam cleaners, heaters, ice cream makers, etc.).
- If the refrigerant leaks: remove any naked flames or ignition sources from the vicinity of the leakage point. Properly air the room. Inform customer services.
- Do not store explosives or sprays using combustible propellants such as butane, propane, pentane, etc. in the appliance. To identify these spray cans, look for the list of contents printed on the can, or a flame symbol. Gases possibly escaping may ignite due to electrical components.
- Please be sure to store alcoholic drinks or other packaging containing alcohol in tightly closed containers. Any alcohol that leaks out may be ignited by electrical components.
Danger of tipping and falling: - Do not misuse the plinth, drawers, doors etc. as a step or for support. This applies particularly to children.
Danger of food poisoning: - Do not consume food which has been stored too long.
Danger of frostbite, numbness and pain: - Avoid prolonged skin contact with cold surfaces or refrigerated/frozen goods or take protective measures, e.g wear use gloves.
Danger of injury and damage: - Hot steam can lead to injury. Do not use electrical heating or steam cleaning equipment, open flames or defrosting sprays to defrost.
- Do not use sharp implements to remove the ice.
Danger of crushing: - Do not hold the hinge when opening and closing the door. Fingers may get caught.
Symbols on the appliance:
- The symbol can be located on the compressor. It refers to the oil in the compressor and indicates the following danger: Swallowing or inhaling can be fatal. This is only relevant for recycling. There is no danger in normal operation.
- This symbol is found on the compressor and indicates the danger of flammable materials. Do not remove the sticker.
- A sticker to this effect may be applied to the rear of the appliance. It refers to the foam-padded panels in the door and/or the housing. This is only relevant for recycling. Do not remove the sticker.
Please observe the specific information in the other sections:
|
| DANGER | identifies a situation involving direct danger which, if not obviated, may result in death or severe bodily injury. |
| WARNING | identifies a dangerous situation which, if not obviated, may result in death or severe bodily injury. | |
| CAUTION | identifies a dangerous situation which, if not obviated, may result in minor or medium bodily injury. | |
| NOTICE | identifies a dangerous situation which, if not obviated, may result in damage to property. | |
| Note | It contains useful instructions and tips. |
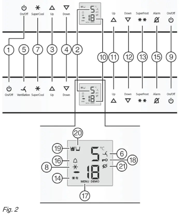
Controls and displays
Operating and control elements

- Refrigerator compartment On/Off button
- Refrigerator compartment temperature display
- Refrigerator compartment Up setting button
- Refrigerator compartment Down setting button
- Ventilation button*
- Ventilation symbol*
- SuperCool button
- SuperCool symbol
- Refrigerator compartment On/Off button
- Freezer compartment temperature display
- Freezer compartment Up setting button
- Freezer compartment Down setting button
- SuperFrost button
- SuperFrost symbol
- Alarm button
- Alarm symbol
- Menu symbol
- Child lock symbol
- IceMaker symbol*
- Water tank symbol*
- Power failure symbol
Temperature display
During normal operation, the display shows:
- the highest freezing temperature
- the average cooling temperature
The freezer temperature display flashes if/when: - You change the temperature setting
- The appliance is not cold enough after switching on
- The temperature rises by several degrees Stripes flash in the display if/when:
- The freezer temperature exceeds 0 °C.
Putting into operation
Switching on the appliance
Note: The manufacturer recommends: Store frozen produce at -18 °C or colder.
Switch on the appliance approx. 2 hours before loading for the first time.
Switching on the entire appliance at the freezer compartment
- Open the door.
- Press On/Off button, freezer compartment Fig. 2 (9) .
- The temperature display of the refrigerator compartment indicates the current temperature inside.
- The temperature display of the freezer compartment and the alarm symbol flash until the temperature is sufficiently low. If the temperature is above 0 °C, dashes flash. If it is below, the current temperature flashes.
- If “DEMO” is displayed, demo mode is activated. Please contact the after sales service.
Switching on the refrigerator compartment
Note: Before going on holiday, or other prolonged periods of non-use
- You can switch the fridge section on/off separately from the freezer section.
- Open the door.
- Press On/Off button, refrigerator compartment Fig. 2 (1) .
- The fridge section is on: Fridge temperature display Fig. 2 (2) is on. When you open the door the interior light comes on.
Control
Child proofing
The child-proofing function enables you to make sure that the appliance is not inadvertently switched off by playing children.
Setting the child lock function
- To activate the setting mode: press SuperFrost button Fig. 2 (13) for about 5 s.
- c flashes on the display.
- The menu symbol Fig. 2 (17) shines.
- Briefly press the SuperFrost button Fig. 2 (13) .to confirm. When c1 is indicated in the display:
- T to activate the child lock, briefly press the SuperFrost button Fig. 2 (13) .
- The child lock symbol Fig. 2 (18) shines. c flashes in the display.
When c0 is indicated in the display:
- to deactivate the child lock, briefly press the SuperFrost button Fig. 2 (13) .
- The child lock symbol Fig. 2 (18) goes out. c flashes in the display.
- To deactivate the set-up mode: press On/Off button, freezer compartment Fig. 2 (9) .
or - Wait for 5 minutes.
- The temperature is indicated again in the temperature display.
Door alarm
For the fridge and freezer compartments
An audible warning sounds if the door is open for longer than 60 seconds.
The audible warning stops automatically when the door is closed.
Muting the door alarm
The audible alarm can be muted when the door is open. The sound switch-off function is active as long as the door is left open.
- Press alarm button Fig. 2 (15) .
- The door alarm is silenced.
Temperature alarm
The audible alarm sounds if the freezer temperature is not cold enough.
The temperature display and the alarm symbol Fig. 2 (16) flash at the same time.
The cause of the temperature being too high may be:
- warm fresh food was placed inside
- too much warm ambient air flowed in when rearranging and removing food
- Prolonged power outage
- the appliance is faulty
The audible alarm is automatically silenced, the alarm symbol Fig. 2 (16) goes out and the temperature display stops flashing when the temperature is sufficiently cold again.
If the alarm status persists: (see 7 Malfunctions) .
Note: Food may be spoilt if the temperature is not cold enough.
Check the quality of the food. Do not consume spoiled food.
Muting the temperature alarm
The audible alarm can be muted. When the temperature is sufficiently cold again, the alarm function is active again.
- Press alarm button Fig. 2 (15) .
- The audible alarm is silenced.
Refrigerator compartment
The natural circulation of air in the refrigerator compartment results in zones differing in temperature. It is coldest directly above the vegetable drawers and at the rear wall. It is warmest at the top front of the compartment and in the door.
Refrigerating food
Note: The energy consumption increases and the cooling performance decreases if the ventilation is inadequate.
- Always keep the air slits of the fan free.
- Store perishable foods such as ready-to-eat meals, meat and sausages in the coldest area. Place butter and preserves in the top area and in the door. (see 1 Appliance at a glance)
- Use reuseable plastic, metal, aluminium, glass containers and foil wrap to store food.
- Always store raw meat and fish in clean, sealed containers on the bottom shelf of the refrigerator, to prevent them coming into contact with or dripping onto other foods.
- Foods that easily absorb or give off smell or taste, as well as liquids, should be stored in sealed containers or covered.
- Use the front area of the base shelf only to temporarily set down refrigerated foods, for example while rearranging or sorting the contents. Remember not to leave refrigerated foods here as they could shift to the back or tip over when you close the door.
- Do not pack foods too closely together, as the air needs to circulate.
Setting the temperature
The temperature depends on the following factors:
- the frequency of opening the door
- how long the door is open for
- the room temperature of the installation location
- the type, temperature and quantity of the food
The temperature can be set from 9 °C to 1 °C, the recommended temperature is 5 °C.
- For a higher temperature setting: press Up button, refrigerator compartment Fig. 2 (3) .
- For a lower temperature setting: press Down button, refrigerator compartment Fig. 2 (4) .
- When the button is pressed for the first time, the previously set value is indicated, flashing, in the refrigerator compartment temperature display.
- To change the temperature in 1 °C steps: briefly press the button.
- To change the temperature continuously: hold down the button.
- The value is displayed flashing during the setting operation.
- The actual temperature is displayed about 5 s after the last press of a button. The temperature slowly adjusts to the new value.
SuperCool
SuperCool is for maximum cooling. This option is for very low temperatures:
In the fridge compartment
Use SuperCool to quickly cool large amounts of food.
When SuperCool is activated, the fan* may run. The appliance operates with maximum cooling performance, which means that the noise of the refrigeration unit may be temporarily louder.
The SuperCool function uses slightly more energy.
Switching on SuperCool
- Briefly press SuperCool button Fig. 2 (7) .
- The SuperCool Fig. 2 (8) symbol lights up in the display.
- The cooling temperature drops to the lowest setting.
- SuperCool is on.
- SuperCool turns off automatically. The appliance continues in energy-saving Normal mode.
To prematurely deactivate SuperCool - Briefly press SuperCool button Fig. 2 (7) .
- The SuperCool symbol Fig. 2 (8) goes out in the display.
- SuperCool is deactivated.
Shelves
Moving or removing shelves
The shelves are prevented from being pulled out accidentally by pull out stops.

- Lift the shelf and pull forward a little.
- Adjust the height of the shelf. To do this move the slots along the supports.
- In order to remove the shelf fully, place it at a slant and pull out towards the front.
- Insert shelf with the raised edge pointing upwards at the back.
- The food does not freeze onto the rear wall.
Dismantling shelves

The shelves can be dismantled for cleaning.
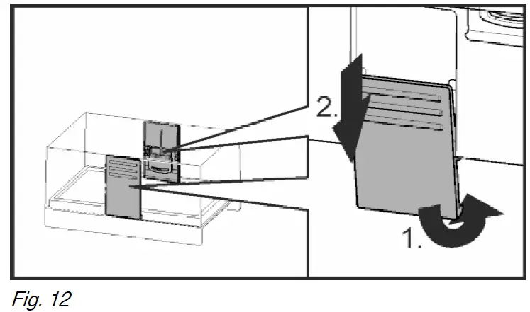
Using the sectioned shelf
u Slide the sectioned shelf under, as shown in the illustration.


- Attach the support rails, paying attention to the right (R) and left (L) part!
- The glass shelf with stop face (2) has to be at the back.
- The glass plate (1) with pull-out stops must be at the front so that the stops (3) face downwards.
VarioSafe
The VarioSafe provides space for small items of food and packages, tubes and jars.
Using VarioSafe
The VarioSafe drawer can be taken out and pushed in at two different heights.- The VarioSafe can also be height-adjusted as a whole.
- To remove them completely, set them at an angle and pull towards you.

Dismantling VarioSafe

The VarioSafe can be dismantled for cleaning.
Door racks
Moving the storage rack


You can use just one or both boxes. To store oversized bottles, just suspend one box over the bottle rack. Store the other box in the holder.
Re-positioning the boxes: Lift them for removal and re-position them as required.

Dismantling door racks


The door racks can be dismantled for cleaning.
Using the bottle holder
To avoid the bottles tipping over, push the bottle holder along.

Butter dish
Opening/closing the butter dish

Dismantling the butter dish

You can take the butter dish apart for cleaning.
Egg tray
You can take out and rotate the egg tray. You can use the two parts of the egg tray to mark different use-by dates, for example.

- Use the top part to store e.g. chicken eggs.
- Use the bottom part to store quails’ eggs.
BioCool box
Controlling humidity
Low humidity: Move the slide controller forward.
High humidity:
Move the slide controller back.

Removing the BioCool box
BioCool box on extendible rails:

- Pull out the drawer, lift it at the back and remove it from the front.
- Slide the rails in.
- BioCool box can be removed for cleaning.
Freezer compartment
You can store frozen food, make ice cubes and freeze fresh food in the freezer compartment.
Freezing food
The rating plate indicates the maximum quantity of fresh food you can freeze within 24 hours (see 1 Appliance at a glance) under “Freezing capacity … kg/24h”.
Each drawer can hold a max. of 25 kg of frozen food.
The shelves can each be loaded with 35 kg of frozen food.
A vacuum is generated after the door is closed. After closing the door, wait for about 1 minute and then it opens more easily.
CAUTION
Risk of injury due to broken glass!
Bottles and cans containing drinks may burst when being frozen. This applies particularly to sparkling drinks.
- Do not freeze bottles and cans containing drinks!
So that the food is rapidly frozen through to the core, do not exceed the following quantities per pack - Fruit, vegetables up to 1 kg
- Meat up to 2.5 kg
- Pack the food in portions in freezer bags, reusable plastic, metal or aluminium containers
Thawing food
- in the refrigerator compartment
- in a microwave oven
- in a conventional or fan oven
- at room temperature
- Remove only as much food as is required. Use thawed food as quickly as possible.
- Food once thawed should be re-frozen only in exceptional cases.
Setting the temperature in the freezer compartment
The appliance is pre-set for normal operation.
The temperature can be set between -14 °C and -26 °C, the recommended temperature is -18 °C.
- To set the temperature higher: press Up button, freezer compartment Fig. 2 (11) .
- To set the temperature lower: press Down button, freezer compartment Fig. 2 (12) .
- When the button is pressed the first time, the previous value is indicated in the temperature display of the freezer compartment.
- To change the temperature in 1 °C steps: briefly press the button.
or - To change the temperature continuously: hold down the button.
- The value is displayed flashing during the setting operation.
- The actual temperature is displayed approx. 5 seconds after the button is last pressed. The temperature gradually adjusts to the new value.
SuperFrost
With this function you can freeze fresh food quickly through to the core. The appliance operates with maximum refrigeration. The noise of the refrigeration unit may be temporarily louder as a result.
You can freeze as many kilograms of fresh food within 24 hrs as is indicated on the type plate under “Freezing capacity … kg/ 24hrs”. This maximum freezing quantity can vary depending on model and climate class.
You have to activate SuperFrost in good time, depending on how much fresh food is to be frozen: about 6 hours before placing the food inside in case of small amounts and about 24 hours in advance in case of the maximum amount of food to be frozen.
Wrap produce and spread it out as far as possible. Do not allow produce to be frozen to touch produce that is already frozen to prevent the latter thawing.
You do not have to activate SuperFrost in the following cases:
- when placing frozen food in the freezer
- when freezing up to approx. 2 kg fresh food daily
Freezing with SuperFrost
- Briefly press the SuperFrost button Fig. 2 (13) once.
- The SuperFrost symbol Fig. 2 (14) shines.
- The freezing temperature drops, the appliance operates with the maximum cooling capacity.
For a smaller quantity of produce to be frozen: - wait approx. 6 h.
- Place wrapped produce in the top drawers.
For the maximum quantity of produce to be frozen: - wait approx. 24 h.
- Remove top drawers and place produce directly on the top shelves.
- SuperFrost is automatically deactivated. Depending on the quantity placed inside, after 30 h at the earliest, 65 h at the latest.
- The SuperFrost symbol Fig. 2 (14) extinguishes once freezing is completed.
- Place produce in the drawers and push the latter back in again.
- The appliance continues to operate in the energy-saving, normal mode.
Drawers
Note: The energy consumption increases and the cooling performance decreases if there is insufficient ventilation.
For appliances with NoFrost:
- Leave the bottom drawer in the appliance!
- Always keep the air slits of the fan free at the rear wall!

- To store frozen food directly on the shelves pull the drawer forward and lift it out.
Shelves
Moving shelves
- To remove the shelf: lift up at the front and pull out.
- To put the shelf back: simply push in as far as it will go.

Removing shelves
The shelves may be removed for cleaning.

VarioSpace
You can remove the shelves and drawers. This leaves more room for larger food items such as poultry, meat, large game and tall baked goods, which can be frozen whole before further preparation.

- Each drawer can hold max. 25 kg of frozen food.
- The shelves can each be loaded with 35 kg of frozen food.
Information system

- Bread
- Ice cream
- Fish
- Vegetables
- Meat
- Fruit

Ice cubes*
The figures indicate the storage time in months for several types of frozen food in each case. Storage times given are guide times.
Ice cube tray

- Hold ice cube tray under hot water for a short time.
- Remove the lid.
- Gently turn the ends of the ice cube tray in opposite directions and release the cubes.
Dismantling the ice cube tray

You can take the ice cube tray apart for cleaning.
Freezer pack
Freezer packs prevent the temperature rising too quickly should there be a power cut.
Using freezer packs
Put the fully frozen freezer packs on the frozen food in the top front section of the freezer compartment.

IceMaker*
The IceMaker produces ice cubes using the water container located in the refrigerator compartment. The water container can also be used to provide chilled drinking water.
The IceMaker is in the top drawer of the freezer compartment. The drawer is marked “IceMaker”.
Make certain that the following conditions are met:
- The appliance is level.
- The appliance is connected.
- The freezer compartment is switched on.
- The water tank was cleaned with water and is filled.
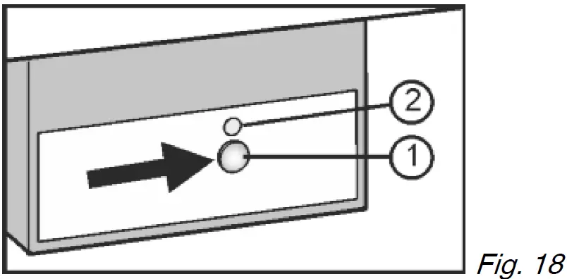
Switching on the IceMaker*

- Pull out the drawer.
- Press the On/Off button Fig. 18 (1) so that the LED Fig. 18 (2) shines.
- Push in the drawer.
- The IceMaker symbol Fig. 2 (19) shines.
Maintenance
NOTICE:
Risk of damage to the IceMaker!
Liquids containing sugar, such as soft drinks, fruit juices or similar, gum up the pump and therefore lead to total pump failure and, as a consequence, to damage to the IceMaker.
Fill the water tank with cold drinking water only! Do not use liquids containing sugar, such as soft drinks, fruit juices or similar!
Note:
Through the use of filtered, decarbonised water, drinking water with the best possible flavour is achieved, and this can be used for problem-free production of ice cubes.
This water quality can be achieved using a table water filter of the kind available in trade retail outlets.
The IceMaker is supplied with water from a water tank in the refrigerator compartment (see 1 Appliance at a glance) .
When the water tank is empty, the water tank symbol Fig. 2 (20) shines.
Before initial operation:
clean the water tank thoroughly with water to remove any dust etc.

- Pull the water tank forwards.
- Remove cover and fill tank with water.
- Replace the lid, put the filled water tank back into the holder and push it right to the back.
Defrosting with NoFrost
The NoFrost system automatically defrosts the appliance. Refrigerator compartment:
The defrost water evaporates due to the compressor heat. Drops of water on the rear wall are perfectly normal.
Freezer compartment:
The moisture condenses on the evaporator, is periodically defrosted and evaporates.
Cleaning the appliance
Clean the appliance regularly.
WARNING:
Risk of injury and damage as a result of hot steam!
Hot steam can lead to burns and can damage the surfaces.
NOTICE:
Incorrect cleaning damages the appliance!
- Do not use cleaning agents in concentrated form.
- Do not use any scouring or abrasive sponges or steel wool.
- Do not use any sharp or abrasive cleaning agents, nor any that contain sand, chloride or acid.
- Do not use chemical solvents.
- Do not damage or remove the type plate on the inside of the appliance. It is important for the customer service.
- Do not pull off, bend or damage cables or other components.
- Do not allow any cleaning water to enter the drain channel, ventilation grille or electrical parts.
- Please use soft cleaning cloths and a universal pH-neutral cleaning agent.
- Please use cleaning and care products suitable for contact with foodstuffs in the appliance interior.
- Empty appliance.
- Pull out the power plug.
- Clean plastic outer and inner surfaces with lukewarm water and a little washing-up liquid.
- Clean drain hole: Remove deposits with a narrow instrument, e.g. a cotton bud.

- Empty water collect tray: remove water tank. Carefully unlatch tray at front and then remove from below.*
- Clean the water container by hand using lukewarm water and a small amount of dish washing liquid.*
- The water container and cover are dishwasher safe up to max. 60° *

- Most of the parts can be dismantled for cleaning: see the relevant chapter.
- Clean drawers by hand with lukewarm water and a little washing up liquid.
- All the other fittings can be put in the dishwasher.
- Only use a damp cloth to clean the telescopic rails. The grease in the runners is for lubrication purposes and must not be removed.
Note: Clean water reservoir when not in use for more than 24 h.*
After cleaning:
- Wipe dry the appliance and items of equipment.
- Connect the appliance and switch it on again.
- Switch on SuperFrost (see 5.5.4 SuperFrost) . When the temperature is sufficiently cold:
- Put the food back inside.
Disposing of the appliance
The appliance contains some reusable materials and should be disposed of properly – not simply with unsorted household refuse. Appliances which are no longer needed must be disposed of in a professional and appropriate way, in accordance with the current local regulations and laws.
When disposing of the appliance, ensure that the refrigeration circuit is not damaged to prevent uncontrolled escape of the refrigerant it contains (data on type plate) and oil.
- Disable the appliance.
- Pull out the plug.
- Cut through the connecting cable.
Liebherr-Hausgeräte Ochsenhausen GmbH Memminger Straße 77-79
88416 Ochsenhausen
Deutschland
home.liebherr.com

The VarioSafe drawer can be taken out and pushed in at two different heights.

















