

Installation instructions
Freezer
7085 863-00
Please read and follow these instructions.
These instructions contain Danger, Warning, and Caution notes.
This information is important for safe and efficient installation and operation.
Always read and comply with all Danger, Warning, and Caution notes!
DANGER!
Danger indicates an imminent hazard that will cause serious injury or death if precautions are not followed.
WARNING!
Warning indicates a hazardous situation that, if not avoided, could result in death or serious injury.
CAUTION!
Caution indicates a potentially hazardous situation that, if not avoided, may result in minor or moderate injury.
IMPORTANT
This indicates information that is especially relevant to a problem-free installation and operation.
Note to the installer
It is very important to follow the instructions in the manual to ensure the proper installation and operation of the appliance. Before installing the appliance, be sure to thoroughly read and understand all of the information in this manual.
WARNING!
Risk of electric shock.
Do not connect to the socket before the installation is completed.
Mounting the anti-tipping device
WARNING!
To avoid a hazard due to the instability of the appliance, it must be secured in accordance with the instructions.
Setting up
- Do not place the appliance in direct sunlight or near cookers, radiators and similar sources of heat.
- The floor on which the appliance stands should be horizontal and level.
- Do not cover ventilation openings or grilles.
- The door front must finish at least 102 mm above the floor to guarantee adequate ventilation and air extraction.

- Standard EN 378 specifies that the room in which you install your appliance must have a volume of 1 m 3 per 8 g of R 600a refrigerant used in the appliance, so as to avoid the formation of inflammable gas/air mixtures in the room where the appliance is located in the event of a leak in the refrigerant circuit. The quantity of refrigerant used in your appliance is indicated on the type plate on the inside of the appliance.
Electrical connection
Only operate the appliance with alternating current (AC). The permissible voltage and frequency are indicated on the type plate. The position of the type plate is shown in the section entitled Description of the appliance (Operating instructions). The socket must be properly earthed and protected by a fuse. The tripping current of the fuse must be between 10 A and 16 A. Do not connect the appliance using an extension cable or extension socket.
Do not use stand-alone inverters (conversion of direct current to alternating current/three-phase current) or energy-saving plugs. Risk of damage to the electronic control
system!
Appliance dimensions

Stated minimum height dimensions include when the adjustable feet are fully inserted.
Width will increase by 6.5 mm when mounting strips are installed.
Door swing clearance (top view)

Internal door panel
A = 210 mm
B = 12.5 mm
C = 505 mm
External door panel
A = 216 mm
B = 12.5 mm
C = 517 mm

Internal door panel
A = 273 mm
B = 12.5 mm
C = 658 mm
External door panel
A = 279 mm
B = 12.5 mm
C = 670 mm

Internal door panel
A = 337 mm
B = 12.5 mm
C = 810 mm
External door panel
A = 343 mm
B = 12.5 mm
C = 822 mm

Internal door panel
A = 400 mm
B = 12.5 mm
C = 962 mm
External door panel
A = 406 mm
B = 12.5 mm
C = 975 mm
Dimension A and B: add panel thickness and handle projection to calculate distance to wall.
Installation dimensions

A
Recess depth for external door panel
= 635 mm
Recess depth for internal door panel = 635 mm plus panel thickness
B
This is the point where the main cable exits from the appliance rear. 19 mm from the left and 127 mm from the floor. Free length of the mains cable is 2.5 m.
IMPORTANT
The socket must be easily accessible so that the appliance can be disconnected from the mains quickly in an emergency. It must not be behind the back of the appliance.
C
The appliance has a recess in this area for cable and water line laying. 25 mm in depth and 140 mm in height over the whole width of the appliance.
D
This surface is visible when the appliance door is open. The designed finish is required.

A
Recess depth for external door panel = 635 mm
Recess depth for internal door panel = 635 mm plus panel thickness
B
This is the point where the main cable exits from the appliance rear. 19 mm from the left and 127 mm from the floor. Free length of the mains cable is 2.5 m.
IMPORTANT
The socket must be easily accessible so that the appliance can be disconnected from the mains quickly in an emergency. It must not be behind the back of the appliance.
C
The appliance has a recess in this area for cable and water line laying. 25 mm in depth and 140 mm in height over the whole width of the appliance.
D
This surface is visible when the appliance door is open. The designed finish is required.
Panel dimensions

457 mm recess
Internal door panel
H = 2029 mm
W = 451 mm
External door panel
H = 2032 mm plus overlapping of the panel on the top W = 457 mm plus overlapping of the panel on both sides
Minimum panel thickness = 16 mm*
Maximum panel thickness = 25 mm
Maximum panel weight = 25 kg
610 mm recess
Internal door panel
H = 2029 mm
W = 603 mm
External door panel
H = 2032 mm plus overlapping of the panel on the top W = 610 mm plus overlapping of the panel on both sides
Minimum panel thickness = 16 mm*
Maximum panel thickness = 25 mm
Maximum panel weight = 30 kg

* If a “shaker style” panel is used which undershoots the minimum panel thickness, shorter screws than those supplied in the accessory pack must be used.
762 mm recess
Internal door panel
H = 2029 mm
W = 756 mm
External door panel
H = 2032 mm plus overlapping of the panel on the top W = 762 mm plus overlapping of the panel on both sides
Minimum panel thickness = 16 mm*
Maximum panel thickness = 25 mm
Maximum panel weight = 35 kg
914 mm recess
Internal door panel
H = 2029 mm
W = 908 mm
External door panel
H = 2032 mm plus overlapping of the panel on the top W = 914 mm plus overlapping of the panel on both sides
Minimum panel thickness = 16 mm*
Maximum panel thickness = 25 mm
Maximum panel weight = 40 kg

* If a “shaker style” panel is used which undershoots the minimum panel thickness, shorter screws than those supplied in the accessory pack must be used.
Unpacking
- Cut the straps and remove them.

- Press in the lug, tear or cut the carton on the edge and remove it.
- Remove all polystyrene packing material from the sides and top.

- Remove the box with mounting accessories.
- Remove the ventilation grille.

- Secure the appliance door with tape to prevent it from being opened accidentally.

- Remove the rear transportation safety components and anti-tipping device.
Remove the packed cover strips and support strips from the appliance rear.
WARNING! Risk of injury and damage. Four people are required to safely remove the appliance from the bottom pallet. - One person tilts the appliance backward carefully and holds it in place.
- Two people grasp the appliance from the bottom and lift. One on each side.

- One person removes the pallet. Place the appliance carefully on the floor.
Alternative possibility:
Tilt the appliance slightly sideways.
Slide a transport dolly between the appliance and packaging.
Tie the appliance to the dolly with straps.
Tilt the appliance onto the dolly.
Place the appliance carefully on the floor.




SmartDeviceBox
Includes module for smartphone connectivity
DO NOT DISCARD!
Forward to appliance user!
SmartDevice functions are not available in all countries.
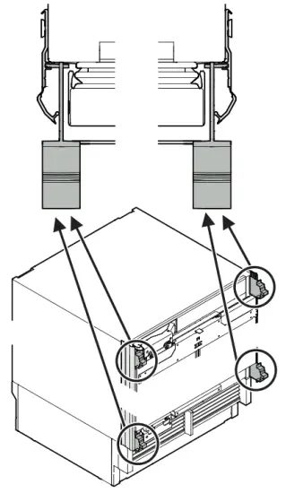
Anti-tipping device
The supplied anti-tipping bracket must be installed in all cases.
This prevents the appliance from tipping over when the fully loaded door is opened.
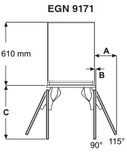
Mounting the anti-tipping device in recesses deeper than 610 mm – figure 1 – 2
To ensure the compressor mounting plate touches the anti-tipping bracket in recesses deeper than 610 mm, a wooden spacer must be mounted between the appliance back and the rear wall of the kitchen unit. The anti-tipping bracket is fastened to the floor downwards and to the spacer backward.
WARNING!
Ensure that the spacer is fastened securely to the floor.
Dimensions for mounting the spacer on kitchen units with an internal door panel – figure 1
Dimensions for mounting the spacer on kitchen units with an external door panel – figure 2
IMPORTANT
If the floor slopes down sideways, the anti-tipping bracket must be fitted horizontally. Put spacers underneath where necessary.
Mounting the anti-tipping device on wooden floors – figure 3
- Mark the centre line of the appliance on the rear wall. Align the anti-tipping bracket center to this centerline.
WARNING!
Ensure that there are no electric cables or water pipes in the wall section to which the anti-tipping bracket is to be secured. These could be damaged by screws or drills during installation. - Fasten the anti-tipping bracket to the wooden floor using screws (6 x 55). Drill pilot holes if necessary.
- Fasten the anti-tipping bracket to the rear wall using 3 screws (6 x 55).

Mounting the anti-tipping device on concrete floors
– figure 4 – 5
- Mark the centre line of the appliance on the rear wall. Align the anti-tipping bracket centre to this centre line.
WARNING!
Ensure that there are no electric cables or water pipes in the wall section to which the anti-tipping bracket is to be secured.
These could be damaged by screws or drills during installation. - Drill 10 mm diameter holes in the positions shown in figure 4 using a carbide drill bit.
The depth of the holes must exceed the overall length of the anchors.
Clean the holes after drilling. - Fit the washer and screw on the hex nut to the end of each anchor.
Drive-in all three anchors.
Align the anti-tipping bracket center to the center line on the rear wall again.
Fasten the anchors by turning the hex nut. - Fasten the anti-tipping bracket to the rear wall (figure 5) using 3 screws (6 x 55).

Safety instructions and warnings for water connection
- Do not install the water connection while the appliance is connected to an electrical socket.
- The connection to the mains water supply may only be made by a trained and licensed plumber.
WARNING!
Connect to potable water supply only.
Water connection requirements - The water pressure must be in the range of 0.28-0.62 MPa (2.8-6.2 bar).
Failure to meet these requirements may result in IceMaker malfunction and a water leak that can damage flooring and surrounding furniture. - A shut-off valve must be installed between the waterline and the mains water supply. It must be easily accessible so that the water supply can be stopped immediately if necessary.
IMPORTANT
Do not install the shut-off valve behind the appliance.
The water supply to the appliance must be through a cold water pipe that can withstand the operating pressure and complies with the hygiene regulations. For this, use the
stainless steel hose supplied (length 3 m).
IMPORTANT
Do not use any old or already premounted water supply lines.
Appliance installation
Move the appliance towards the final position and leave enough space to work behind.

IMPORTANT
Make sure that the connection is fitted with a seal and is tight.


Insert the water filter as far as it will go with the front knobs in a horizontal position and turn clockwise until it snaps in.

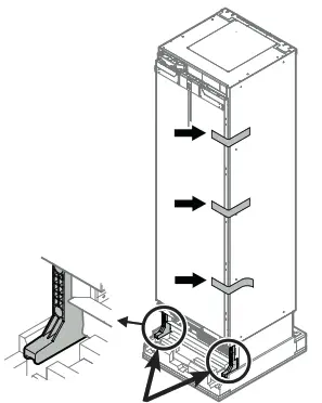
Apply the appliance cover strips to the left and right front edge of the appliance housing, align in height with the appliance top and screw into place. The strip is transparent so that the designed attachment holes on the appliance housing are visible. We recommend that you mark and pre-drill the hole positions in the strip.
IMPORTANT Use the correct flat-headed screws, otherwise the edges of the kitchen unit will be damaged when sliding the appliance into the recess.
Mounting the depth adjustment aid into the cover strips



Internal 22 mm door panel
X = 66 mm
Internal 19 mm door panel
X = 63 mm
Internal 16 mm door panel
X = 60 mm
External door panel
X = 44 mm
or
with the depth adjustment aid: The surface of the depth adjustment aid must be flush with the surface of the recess (example shows 19 mm).

DANGER!
Risk of death or serious injury due to appliance tipping.
Do not open the appliance door before the height adjustment is finished and the antitipping bracket supports the appliance.

Raise the appliance evenly by turning the screws successively until the appliance back touches the anti-tipping bracket (lift approx. 6.5 mm).
Maximum height adjustment of the appliance = 19 mm
IMPORTANT
When turning the screws with an electric screwdriver, please make absolutely sure that:
Maximum rotation speed = 400 rpm
Maximum torque = 1 Nm
Failure to follow this instruction will result in
damage to the height adjustment.

Remove the depth adjustment aid before fastening the appliance in the recess.


Fasten the appliance in the recess through the appliance cover strips using eight 4 x 14 screws for each side. We recommend that you mark and pre-drill the hole positions in the strip.
Close the front part of the appliance cover strips.
Hint:
Use the removed transportation safety component to help with closing.
Push the mounting strip upwards.
The bottom edge of the mounting strip must be aligned with the top edge of the adjacent unit door.
Internal door panel
Open the door.
Unscrew the attachment bracket with the mounting strip. To do so, use the ring spanner provided.

Position the attachment bracket in the middle of the door panel, align horizontally and secure to the door panel using eight 4 x 14 screws.
IMPORTANT
Risk of damaging the panel.
Do not undershoot the minimum panel thickness (shaker style).
IMPORTANT
Door handles should be mounted now because the panel support strips will cover the attachment holes.
Only use countersunk screws for handle mounting.
The holes should be countersunk.
The screw heads should be flush with the panel.
Position the panel support strips with the top lug in the cut-out of the top attachment bracket.
Align the strips parallel to the side edge of the panel and screw into place with ten 4 x 14 screws.
IMPORTANT
If the door has to be limited to a 90° opening angle, it must be done before the panel is mounted onto the appliance door. See chapter “Important note for changing over
door hinges or limiting the door opening angle to 90°” on page 48.
Open the appliance door.
Place the door panel on the top adjust screws and align in the center.
Screw the hex nuts onto the adjusting bolts and tighten.
Use the 10 mm spanner provided.
Close the door and check the position of the door panel.

Align the panel in its depth at the bottom.
Loosen the screws, align the panel and tighten the screws. Use the Torx 20 key provided.

IMPORTANT
Risk of damaging the panel.
Do not undershoot the minimum panel thickness (shaker style).
Insert the panel supports between the panel and appliance door and screw them into place with two M6 x 12 screws each.
Hook the door cover strips to the front of the supports and snap in at the back.


Please note in case of removing the appliance from the recess
If the appliance has to be removed from the recess again, please make sure you take account of the following:
- Empty the appliance.
- Disconnect the appliance from the mains.
- Remove the door panel.
- Lower the appliance using the height adjustment unit.

DANGER!
Risk of death or serious injury due to the appliance tipping over.
Do not remove the appliance without the mounted transportation safety components.
Important note for changing over door hinges or limiting the door opening angle to 90°
Changing the door hinges or limiting the door opening angle to 90° should only be carried out by a trained expert.
The door hinges are fitted with strong closing springs. If the hinge accidentally snaps shut, this can lead to serious injury.
The door itself is very heavy. Do not try to remove the door yourself.
Contact the Liebherr customer service department for more information. See contact details on the back of this manual.

![]()
Liebherr Hausgeräte Lienz GmbHD
Dr.-Hans-Liebherr-Strasse
1 A-9900 Lienz
Austria
www.liebherr.com



















