LIEBHERR CS 1400 PC Combined Refrigerator Freezers

Product Information
The product is a NoFrost Combined Refrigerator-Freezer, available in three models: CS 1400 PC, CS 1400 R, and CS 1410. It is designed for safe and efficient installation and operation. The user manual contains important information, including Danger, Warning, and Caution notes that should be read and followed to prevent serious injury or damage.
The refrigerant used in the appliance is R600a, which is environmentally friendly but flammable. Leaking refrigerant can ignite, so precautions should be taken to prevent possible ignition.
The packaging materials used are recyclable, and it is important to keep them away from children to avoid suffocation. Please recycle the packaging materials where facilities are available.
Electrical safety is crucial, and failure to follow the provided instructions may result in fire, electrical shock, or death. It is essential to complete the installation before connecting the appliance to the electrical outlet.
The appliance should be fixed according to the instructions to avoid hazards due to instability.
Product Usage Instructions
- Before installing the unit, thoroughly read and understand all the information in the user manual.
- Ensure proper installation by following the instructions provided.
- Complete the installation before connecting the appliance to the electrical outlet to avoid electrocution hazards.
- Dispose of the old appliance properly, considering the risk of child entrapment.
- Recycle the packaging material where facilities are available and keep them away from children to prevent suffocation.
- Follow the provided electrical safety instructions to prevent fire, electrical shock, or death.
- Fix the appliance according to the instructions to ensure stability and avoid hazards.
- Refer to the user manual for appliance dimensions and cabinet opening dimensions.
- Properly level the appliance using the instructions provided.
- Mount the anti-tipping device as instructed to enhance safety.
- If required, follow the instructions to change over door hinges for CS 1400 R, CS 1410, or CS 1400 PC models.
IMPORTANT
Please Read and Follow these Instructions
These instructions contain Danger, Warning and Caution notes.
This information is important for safe and efficient installation and operation.
Always read and comply with all Danger, Warning and Caution notes!
DANGER!
Danger indicates a hazard which will cause serious injury or death if precautions are not followed.
WARNING!
Warning indicates a potentially hazardous situation which, if not avoided, could result in death or serious injury.
CAUTION!
Caution indicates a potentially hazardous situation which, if not avoided, may result in minor or moderate injury.
IMPORTANT
This indicates information that is especially relevant to a problem-free installation and operation.
Note to the Installer
It is very important to follow the instructions in the manual to ensure proper installation and operation of the unit.
Before installing the unit, be sure to thoroughly read and understand all of the information in this manual.
WARNING!
Electrocution hazard.
Do not connect to the electrical outlet before the installation is completed.
R600a Refrigerant
WARNING!
The refrigerant contained within the appliance R600a is environmentally friendly, but flammable. Leaking refrigerant can ignite.
To prevent possible ignition follow the warnings below:
- Keep ventilation openings, in the appliance enclosure or in the built-in structure, clear of obstruction.
- Do not damage the refrigerant circuit.

- Component parts and power cords shall be replaced with like components performed by factory authorized service personnel only.
SAFETY
Disposal of Old Appliance
DANGER!
Risk of child entrapment.
Child entrapment and suffocation are not problems of the past.
Junked or abandoned refrigerators are still dangerous – even if they will sit for “just a few days.”
If you are getting rid of your old refrigerator, please follow these instructions to help prevent accidents.
Before you discard old appliances:
- Take off the doors.
- Leave the shelves in place so that children may not easily climb inside.
- Cut off the power cable from the discarded refrigerator. Discard separately from the refrigerator.
- Be sure to follow your local requirements for disposal of appliances.
Contact the trash collection agency in your area for additional information.
Disposal of Carton
The packaging is designed to protect the appliance and individual components during moving and is made of recyclable materials.
WARNING!
Keep packaging materials away from children. Polythene sheets and bags can cause suffocation!
Please recycle packaging material where facilities are available.
Electrical Safety
Connect this appliance to a 15 amp or 20 amp, 110-120 VAC, circuit which is grounded and protected by a circuit breaker or fuse.
We recommend using a dedicated circuit for this appliance to prevent circuit overload and the chance of interruption to the appliance.
This appliance is equipped with a three-prong (grounding) polarized plug for your protection against possible shock hazards.
Where a two-prong wall receptacle is encountered, con-tact a qualified electrician and have it replaced with a properly grounded three-prong receptacle in accordance with all local codes and ordinances. Disconnect power before installing optional Side By Side Kit.
WARNING!
Electrocution hazard. Electrical grounding required.
- Do not remove the round grounding prong from the plug.
- Do not use extension cords or ungrounded (two prong) adapters.

- Do not use a power cord that is frayed or damaged.
- Do not use a power strip. Failure to follow these instructions may result in fire, electrical shock or death.

Blocking for Safety
WARNING!
To avoid a hazard due to instability of the appliance, it must be fixed in accordance with the instructions.
PLANNING INFORMATION
Appliance Dimensions


Cabinet Opening Dimensions
The appliance can be used freestanding or semi built-in.
If semi built-in, please consider the cabinet opening dimensions.

IMPORTANT
The power plug must be easily accessible so that the appliance can be disconnected from the mains quickly in an emergency. It must not be behind the back of the appliance.
Clearance on the back must be 2 inch (51 mm).
NOTE
If the gap between the rear of the appliance and the wall is less than 2 inch (51 mm), the power consumption level may increase
INSTALLATION
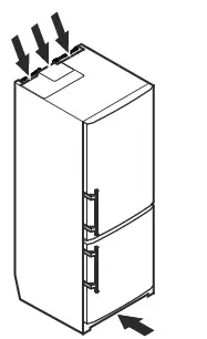
Unit Venting
Do not restrict the air flow.
The ventilation opening can either be directly over the appliance (1), above the cabinet and below the ceiling (2) or through a vent installed in a soffit (3).
IMPORTANT
The clear ventilation cross-section must be at least 31 in² (200 cm²) from the lower ventilation opening right to the upper one.
The section below the freezer door and the floor must not be covered.

Leveling the Appliance

IMPORTANT
After final installation, this screw must be turned down until it has proper floor contact to support the hinge bracket.
CAUTION
Risk of injury or damage from the appliance tip-ping or the door falling open!
If the additional adjustable foot on the base sup-port is not correctly positioned on the floor, there is a risk of the door falling open or the appliance tipping. This can lead to injury or property damage.
- Unscrew the additional adjustable foot on the support until it reaches the floor.
- Then turn it another 90°.
BLOCKING FOR SAFETY
Mounting the anti tipping device
WARNING!
Tip over hazard!
The anti tipping brackets must be mounted to prevent the appliance from tipping when the fully stocked door is opened.
IMPORTANT
Be sure that there is no plumbing or electrical wiring located in this area which screws or drills could damage.
- Mark the center of the appliance on the back wall.
- Mount the anti tipping brackets within the given area.

IMPORTANT
The screws for fastening the anti-tip device are not supplied with the appliance. Appropriate screws must be used for the material (wood, concrete, etc.) in which the safety device is mounted.
REVERSING DOOR HINGES
Changing Over Door Hinges – CS 1400 R, CS 1410
Door hinges should only be changed by a trained expert.
Changing over the door hinges requires two people.
- Open top door, pry off door cover and pivot to the left.

- Let door cover hang down.
- Slide red safety bracket over the hinge.
IMPORTANT
The two knobs on the safety bracket must be fully inserted into the marked openings on the hinge.
- Pull the left-hand side of the cover approx. 1/4″ (6 mm) towards you.
- Remove pin.

- Open top door wide and remove covers.

- Remove cover.
IMPORTANT
The door must now be held secure by another person.
- Remove cover from upper door mounting and unscrew door.

- Transfer fastener for soft stop mechanism to the opposite side.
- Transfer cover plate to the opposite side.

- Remove cover.

- Open bottom door, pry off door cover.

- Pivot door cover to the left.
- Slide red safety bracket over the hinge.
- Remove pin.

- Open bottom door wide and remove cover.

IMPORTANT
The door must now be held secure by another person. - Pull out middle hinge pin.
- Remove bottom door.

- Unscrew hinge bracket.
- Transfer cover plate to the opposite side.
- Turn hinge bracket through 180° and screw into place.

- Remove hinge bushing, turn through 180° and re-fit.

- Tilt appliance slightly back-wards and unscrew the adjust-able foot.
- Remove the hinge pin.
- Unscrew hinge bracket.

- Transfer fastener for soft stop mechanism on hinge bracket to the opposite side.
- Transfer cover to the opposite side.

- Transfer cover plate to the opposite side.
- Screw hinge bracket into place.

- Tilt appliance slightly backwards, insert pin and attach using the adjustable foot.

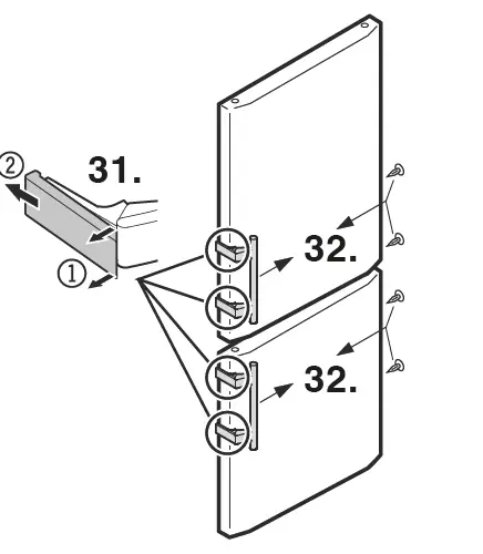
- Release pressure plates at the front (1) and pull them backwards to remove (2).
- Transfer door handle and plugs to the opposite side.

- Transfer panels of both door covers to the opposite side.

Both doors - Remove screw.
- Pivot soft stop mechanism outwards on the right, pull to the right and remove.
- Slide spacer to the left and remove.

Both doors - Turn spacer through 180° and re-fit on the opposite side.
- Turn soft stop mechanism through 180° and re-fit on the opposite side. Then secure both parts with screws.

- Suspend bottom door on hinge pin.

IMPORTANT
The door must now be held secure by another person. - Insert middle hinge pin.

- Slide door cover over soft stop mechanism hinge.

- Move soft stop mechanism hinge to the fastener and insert pin.
- Remove red safety bracket.
- Pivot door cover to the left and click into place on the door.

- Click cover into place.

- Using a screwdriver, push out the hinge from underneath and remove it from the door .

- Using a screwdriver, push out the plug from underneath and transfer it to the opposite side.

- Insert hinge.

- Suspend top door on hinge pin. For this, the door must be open at least 90°.

IMPORTANT
The door must now be held secure by another person. - Secure door with screws and click cover into place.

- Click cover into place.
- Slide door cover over soft stop mechanism hinge.

- Pull the right-hand side of the cover approx. 1/4″ (6 mm) towards you.
- Move soft stop mechanism hinge to the fastener and insert pin.
- Remove red safety bracket.

- Pivot door cover to the left and click into place on the door.

- Click cover into place.

- Place the appliance in its final position at the place of installation.
Extend the adjustable foot at the bottom hinge bracket until it rests on the floor and then make a further 90° turn.
Changing Over Door Hinges – CS 1400 PC
Door hinges should only be changed by a trained expert.
Changing over the door hinges requires two people.
IMPORTANT
The door must now be held secure by another person.
- Remove cover from upper door mounting and unscrew door.

- Transfer cover plate to the opposite side.

IMPORTANT
The door must now be held secure by another person. - Pull out middle hinge pin.
- Remove bottom door.

- Unscrew hinge bracket.
- Transfer cover plate to the opposite side.
- Turn hinge bracket through 180°and screw into place.

- Remove hinge bushing, turn through 180° and re-fit.

- Tilt appliance slightly backwards and unscrew the adjustable foot.
Remove the hinge pin. - Unscrew hinge bracket.

- Transfer the hinge component on the hinge bracket to the opposite side.
- Transfer cover to the opposite side.

- Transfer cover plate to the opposite side.
- Screw hinge bracket into place.

- Tilt appliance slightly backwards, insert pin and attach using the adjustable foot.

Both doors - Release pressure plates at the front (1) and pull them backwards to remove (2).
- Transfer door handle and plugs to the opposite side.

Both doors - Transfer spring clip to the opposite side.
- Suspend bottom door on hinge pin.

IMPORTANT
The door must now be held secure by another person. - Insert middle hinge pin.

- Using a screwdriver, push out the hinge and remove it from the door .

- Using a screwdriver, push out the plug and transfer it to the opposite side.

- Insert hinge.

IMPORTANT
The door must now be held secure by another person. - Suspend top door on hinge pin. For this, the door must be open at least 90°.

- Secure door with screws and click cover into place.

- Place the appliance in its final position at the place of installation.
Extend the adjustable foot at the bottom hinge bracket until it rests on the floor and then make a further 90° turn.
For Service in the U.S.
Liebherr Service Center
Toll Free: 1-866-LIEBHER or 1-866-543-2437
Email: [email protected]
PlusOne Solutions, Inc.
3501 Quadrangle Blvd, Suite 120
Orlando, FL 32817
For Service in Canada
Liebherr Service Center
Toll Free: 1-888-LIEBHER or 1-888-543-2437
www.euro-parts.ca
EURO-PARTS CANADA
39822 Belgrave Road
Belgrave, Ontario, N0G 1E0
Phone: (519) 357-3320
Fax: (519) 357-1326
*708558900*





IMPORTANT




































































