LIEBHERR CTEL2931-21 Fridge Freezer

Appliance at a glance
The appliance is designed to provide both cooling and freezing functions. The following are the contents of the user manual:
Overview of the appliance and equipment
The appliance is designed to save energy during operation. The shelves, drawers, and baskets are arranged for optimum energy efficiency on delivery. The appliance has a freezer compartment with a glass storage shelf, an adjustable door rack (number depends on model), an adjustable shelf (number depends on model), a thermostat housing, an internal light, a drain opening, a coldest area, and a door rack for large items.
Appliance range of use
The appliance is suitable for domestic use only and is intended for storing food and drinks in a household environment.
Conformity
The appliance meets the relevant safety requirements and standards for electrical appliances.
EPREL database
The appliance is registered in the European Product Registry for Energy Labelling (EPREL) database.
External dimensions of the appliance
The external dimensions of the appliance vary depending on the model.
Saving energy
To save energy, place food inside the appliance as shown in the diagram provided in the manual.
General safety instructions
The user manual provides general safety instructions that must be followed to ensure the safe usage of the appliance.
Controls and displays
The appliance has operating controls that are described in detail in the user manual.
Control
The user manual provides instructions on how to control the temperature of the refrigerator and freezer compartments.
Refrigerator compartment
The user manual provides instructions on how to adjust the temperature of the refrigerator compartment.
Freezer compartment
The user manual provides instructions on how to adjust the temperature of the freezer compartment.
Maintenance
The user manual provides instructions on how to maintain the appliance, including manual defrosting, cleaning, and changing the interior light.
Manual defrosting
The user manual provides instructions on how to manually defrost the appliance.
Cleaning the appliance
The user manual provides instructions on how to clean the appliance.
Changing the interior light
The user manual provides instructions on how to change the interior light of the appliance.
Customer service
The user manual provides information on customer service that can be utilized in case of any issues with the appliance.
Energy efficiency class lighting
The user manual provides information on the energy efficiency class lighting of the appliance.
Malfunctions
The user manual provides information on possible malfunctions and how to troubleshoot them.
Decommissioning
The user manual provides instructions on how to switch off and take the appliance out of service.
Switching off the appliance
The user manual provides instructions on how to switch off the appliance.
Taking the Appliance out of Service
The user manual provides instructions on how to take the appliance out of service.
Disposal
The user manual provides instructions on how to prepare the appliance for disposal and how to dispose of it in an environmentally friendly manner.
Preparing appliances for disposal
The user manual provides instructions on how to prepare the appliance for disposal.
Disposing of the appliance in an environmentally friendly manner
The user manual provides instructions on how to dispose of the appliance in an environmentally friendly manner.
Note: The manufacturer reserves the right to make design, equipment, and technical modifications. Please read the user manual carefully to understand all the benefits of your new appliance.
Thank you for choosing our product!
The manufacturer works constantly on the further development of all the types and models. Therefore please understand that we have to reserve the right to make design, equipment, and technical modifications. To get to know all the benefits of your new appliance, please read the information contained in these instructions carefully. The instructions apply to several models. Differences may occur. Text relating only to specific appliances is marked with an asterisk (*). Instructions are marked with a
, and results are marked with a
.
Appliance at a glance
Overview of the appliance and equipment
Note
- Place food inside the appliance as shown in the diagram.
- This allows the appliance to save energy during operation.
- Shelves, drawers, and baskets are arranged for optimum energy efficiency on delivery.

- Freezer compartment, glass storage shelf
- The door rack, is adjustable, the number depends on the model
- The shelf, is adjustable, and the number depends on the model
- Thermostat housing, internal light
- Drain opening
- Coldest area
- Door rack for large bottles
- Vegetable bins
- Type plate
- Front adjustable feet
- Egg tray
- Ice-cube tray
- Bottle rack *
Appliance range of use Intended use
The appliance is only suitable for cooling food products in a domestic or household-like environment. This includes, for example, use
- in staff kitchens, bed and breakfast establishments, – by guests in country houses, hotels, motels, and other accommodations,
- for catering and similar services in the wholesale trade.
The appliance is not suitable as a built-in unit. All other types of use are not permitted.
Foreseeable misuse
The following applications are expressly forbidden:
- Storing and refrigerating medicines, blood plasma, laboratory preparations or similar substances and products based on the Medical Device Directive 2007/47/EC
- Use in areas at risk of explosions Misusing the appliance may lead to damage to the goods stored or they may spoil.
Climate classifications
Depending on the climate classification the appliance is designed to operate in restricted ambient temperatures. The climate classification applied to your appliance is printed on the rating plate.
Note
Keep to the specified ambient temperatures in order to guarantee that the appliance works properly.
| Climate classification | for ambient temperatures of |
| SN | 10 °C to 32 °C |
| N | 16 °C to 32 °C |
| ST | 16 °C to 38 °C |
| T | 16 °C to 43 °C |
| SN-ST | 10 °C to 38 °C |
| SN-T | 10 °C to 43 °C |
Conformity
The refrigerant circuit has been tested for leaks. The appliance complies with the applicable safety regulations and with the corresponding directives. For the EU market: The appliance complies with directive 2014/53/EU. For the GB market: The appliance complies with Radio Equipment Regulations 2017 SI 2017 No. 1206. The full text of the EU Declaration of Conformity is available on the following website: www.Liebherr.com
EPREL database
Details about energy labeling and ecodesign requirements will be available on the European product database (EPREL) from 1st March 2021. You can access the product database at the following link: https://eprel.ec.europa.eu/ You will be asked to enter the model ID. You can find the model ID on the nameplate.
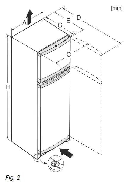
External dimensions of the appliance
| A | C | D | E | G | H | |
| CT(el)2131 | 550 | 559 | 1128x | 630x | 616x | 1241 |
| CT(el)2531 | 550 | 559 | 1128x | 630x | 616x | 1401 |
| CT(el)2931 | 550 | 559 | 1128x | 630x | 616x | 1571 |
This dimension increases by 35 mm (see 4.2 Installing the appliance) with devices that use wall spacer brackets.
Saving energy
- Pay attention to good ventilation. Do not cover ventilation holes or grids.
- Do not install the appliance in direct sunlight, next to an oven, radiator or similar.
- Energy consumption depends on the installation conditions, e.g. the ambient temperature (see 1.2 Appliance range of use) . A warmer ambient temperature can increase energy consumption.
- Open the appliance for as short a time as possible.
- The lower the temperature is set the higher the energy consumption.
- Sort your food: home.liebherr.com/food.
- Keep all food properly packed and covered. This prevents frost from forming.
- Only take food out for as long as necessary so that it doesn’t warm up too much.
- Inserting warm food: allow to cool down to room temperature first.
- Thaw frozen food in the refrigerator.
- If there is a thick layer of frost in the appliance: defrost the appliance.
- Dust deposits increase energy consumption:
- For refrigerators with heat exchangers dust the metal grid on the back of the appliance once a year.

General safety instructions
Please keep these operating instructions in a safe place so you can refer back to them at any time. If you pass the appliance on, please hand these operating instructions to the next user. Read these operating instructions carefully before use to ensure the safe and correct use of the appliance. Follow the instructions, safety instructions and warning messages included at all times. They are important for ensuring you can operate and install the appliance safely and without any problems.
The danger for the user
- This device can be used by children and people with impaired physical, sensory, or mental abilities or with a lack of experience and knowledge provided that they are supervised or have received instruction in the safe use of this device, and about the resulting hazards. Children must not play with this appliance. Cleaning and user maintenance work must not be carried out by children without adult supervision. Children aged between 3 and 8 are allowed to load and unload the appliance. Children below the age of 3 must be kept away from the appliance unless they are under continuous adult supervision.
- The socket must be easily accessible so that the appliance can be disconnected quickly from the electricity in an emergency. It must not be located in the area behind the appliance.
- When disconnecting the appliance from the supply, always take hold of the plug. Do not pull the cable.
- In the event of a fault pull out the mains plug or deactivate the fuse.
- Do not damage the main’s power cable. Do not operate the appliance with a defective mains power cable.
- Repairs, interventions on the appliance and the replacement of mains connection line may only be carried out by AfterSales Service or other suitably trained specialist personnel.
- Only assemble, connect, and dispose of the appliance according to the instructions.
Fire hazard
- The coolant used (information on the model plate) is eco-friendly but also flammable. Any leaking coolant may ignite.
- Do not damage the refrigerant circuit pipes.
- Do not handle ignition sources inside the appliance.
- Do not use electrical appliances inside the appliance (e.g. steam cleaners, heaters, ice cream makers, etc.).
- If the refrigerant leaks: remove any naked flames or ignition sources from the vicinity of the leakage point. Properly air the room. Inform customer services.
- Do not store explosives or sprays using combustible propellants such as butane, propane, pentane, etc. in the appliance. To identify these spray cans, look for the list of contents printed on the can, or a flame symbol. Gases possibly escaping may ignite due to electrical components.
- Keep burning candles, lamps, and other items with naked flames away from the appliance so that they do not set the appliance on fire.
- Please be sure to store alcoholic drinks or other packaging containing alcohol in tightly closed containers. Any alcohol that leaks out may be ignited by electrical components.
The danger of tipping and falling
- Do not misuse the plinth, drawers, doors, etc. as a step or for support. This applies particularly to children.
Danger of food poisoning
- Do not consume food that has been stored too long.
The danger of frostbite, numbness, and pain
- Avoid prolonged skin contact with cold surfaces or refrigerated/frozen goods or take protective measures, e.g wear gloves.
The danger of injury and damage
- Hot steam can lead to injury. Do not use electrical heating or steam cleaning equipment, open flames or defrosting sprays to defrost.
- Do not use sharp implements to remove the ice.
Risk of crushing
- Do not hold the hinge when opening and closing the door. Fingers may get caught.
Symbols on the appliance
This symbol may be located on the compressor. It relates to the oil in the compressor and makes reference to the risk that: Swallowing or inhaling can be fatal. This advice is only relevant to recycling. There is no danger in normal operation.
This symbol is located on the compressor and indicates the danger of flammable materials. Do not remove the sticker.
This or a similar sticker may be located on the rear of the appliance. It refers to the foam-padded panels in the door and/or the housing. This advice is only relevant to recycling. Do not remove the sticker.
Please note the warning messages and other specific advice in the other chapters
![]() | DANGER | indicates an immediately hazardous situation that will lead to death or serious injuries if it is not avoided. |
![]() | WARNING | indicates a hazardous situation that may lead to death or serious injuries if it is not avoided. |
![]() | CAUTION | indicates a hazardous situation that may lead to minor or moderate injuries if it is not avoided. |
| NOTICE | indicates a hazardous situation that may lead to damage to property if it is not avoided. | |
| Note | indicates useful instructions and tips. |
Controls and displays
Operating controls

- Temperature controller
- Cool-Plus switch
Putting into operation
Transporting the appliance
- Transport the appliance only in suitable packaging.
- Transport the appliance upright.
- Do not transport the appliance on your own.
Installing the appliance
WARNING
Fire hazard due to dampness! If live parts or the mains lead become damp this may cause short circuits.
The appliance is designed for use in enclosed areas. Do not operate the appliance outdoors or in areas where it is exposed to splash water or damp conditions.
WARNING
The danger of fire due to incorrect positioning! If the mains cable or plug touches the back of the appliance, the vibration can damage the mains cable or the plug resulting in a short circuit.
- Make sure the mains cable is not trapped under the appliance when you position the appliance.
- Stand the appliance so that it is not touched by connectors or main cables.
- Do not connect any appliances to sockets in the area of the back of the appliance.
- Do not place and operate multi-sockets/power distributors and other electronic devices (such as halogen transformers) at the back of the appliances.
WARNING
Leaking coolant and oil! Fire. The coolant contained in the appliance is eco-friendly but also flammable. The oil contained in the appliance is flammable. Escaping coolant and oil can ignite if the concentration is high enough and in contact with an external heat source.
- Do not damage the pipelines of the coolant circuit and the compressor.
WARNING
Fire hazard and danger of damage!
Do not place appliances emitting heat e.g. microwaves, toasters, etc. on the appliance!
NOTICE
Covered vents! Damage. The appliance can overheat, which can reduce the service life of various parts of the appliance and lead to operational impairments.
- Always make sure there is good ventilation.
- Always keep vents or ventilation grids in the appliance housing and in the kitchen furniture (fully integrated appliance) unobstructed.
NOTICE
- Risk of damage due to condensation!
- Do not install the appliance directly alongside a further refrigerator/freezer.
Note
If you have several appliances next to one another, leave a gap of 100mm between appliances. Otherwise, condensation will build up between the units.
Putting into operation

- Before you connect the appliance, report any damage immediately to the delivery company.
- The floor of the installation site must be horizontal and even.
- Do not install the appliance in direct sunlight, next to an oven, radiator or similar.
- Install the appliance with the rear panel up against the wall and always use the supplied wall spacers (see below).
- Only ever move the appliance when it is empty.
- The surface supporting the appliance must be at the same level as the surrounding floor.
- Do not install the appliance on your own.
- The more coolant there is in the appliance, the larger the room in which the appliance is installed must be. If the room is too small, any leak may create a flammable mixture of gas and air. For each 8 g of coolant, the installation space must be at least 1 m3. Information on the coolant is on the model plate inside the appliance.
- Detach the connecting cable from the rear of the appliance, removing the cable holder at the same time because otherwise there will be vibratory noise!
- Remove the protective film from the decorative trims.
- Remove all transit supports.
- The spacers supplied with some appliances must be used to achieve the stated energy consumption. These will extend the depth of the appliance by approx. 35 mm. The appliance is fully functional if the spacers are not used, but does have a slightly higher energy consumption.
- If your appliance comes with wall spacers, mount these on the back of the appliance, bottom left and right.

- Dispose of packaging material (see 4.5 Disposing of packaging) .
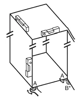
CAUTION
Risk of injury or damage from the appliance tipping or the door falling open! If the additional adjustable foot on the base support is not correctly positioned on the floor, there is a risk of the door falling open or the appliance tipping. This can lead to injury or property damage.
- Unscrew the additional adjustable foot on the support until it reaches the floor.
- Then turn it another 90°.

- Align the appliance so that it stands firmly and on a level by applying the accompanying spanner to the adjustable-height feet (A) and using a spirit level.
- Then support the door: Extend the adjustable foot at the turn hinge (B) until it rests on the floor and then make a further 90° turn.
Note
- Clean the appliance (see 6.2 Cleaning the appliance) .
- If the appliance is installed in a very damp environment, condensate may form on the outside of the appliance.
- Always see to good ventilation at the installation site.
Changing over the door hinges
You can change over the door hinges if necessary.
Ensure that the following tools are to hand:
- Torx® 15
- Torx® 25
- Screwdriver
- Cordless screwdriver, if necessary
- The second person for fitting work, if needed
Detaching the upper door
Note
Remove any food from the door racks before removing the door, so that no food falls out.

- Pull off the cover Fig. 5 (1) forwards and upwards.
- Lift off the cover Fig. 5 (2).
CAUTION
Risk of injury if the door tips
- Take good hold of the door.
- Set down the door carefully.
- Unscrew the upper turn hinge Fig. 5 (3) (2x Torx® 25) Fig. 5 (4) and lift it off.
- Lift up the upper door and set it aside.
Detaching the lower door
Open the lower door.
CAUTION
Risk of injury if the door tips!
- Take good hold of the door.
- Set down the door carefully.
- Unscrew the fastening screws (11) (2 x Torx® 25) and pull the centre bearing block out of the lower door.
- Remove the plastic washer (10) .
- Lift up the door and set it aside.
Transferring the middle-bearing elements

Carefully pull off the covers Fig. 6 (12) and fit to the opposite side.
Transferring the lower-bearing elements

- Unscrew fastening screws Fig. 7 (21) .
- Remove the lower bearing block Fig. 7 (23), complete with bearing bolt Fig. 7 (24), washer Fig. 7 (26) and adjustable foot Fig. 7 (22).
- Unscrew the bearing bolt Fig. 7 (24), complete with washer Fig. 7 (26), re-locate it into the mounting hole on the opposite side of the bearing block and tighten again.
- Carefully remove the cover plate Fig. 7 (25) and re-locate it to the other side.
- Fasten the lower bearing block Fig. 7 (23), complete with bearing bolt Fig. 7 (24), washer Fig. 7 (26) and adjustable foot Fig. 7 (22) to the new hinge side, with the help of a cordless screwdriver if necessary, and tighten (with 4 Nm) once again.
Fitting the lower door
- Lower the bottom door onto the bearing bolt Fig. 7 (24).
- Close the door.
- Insert the center bearing block (13) turned through 180° into the lower door and fasten firmly (with 4 Nm)to the new hinge side with the fastening screws (11)(2 x Torx® 25).
- Refit plastic washer (10).
Fitting the upper door
- Set the upper door down on the center bearing block (13).
- Insert the upper turn hinge Fig. 5 (3) in the door on the new hinge side.
- Screw in the upper bearing block tightly (with 4 Nm) (2 x Torx® 25) Fig. 5 (4). Use a cordless screwdriver if necessary.
- Fit the cover Fig. 5 (1) on the opposite side by sliding it rearwards and latching it into place.
- Press the cover Fig. 5 (2) on the opposite side down into place until it latches.
- Unscrew the adjustable foot Fig. 7 (22) on the lower bearing block Fig. 7 (23) until it reaches the floor.
WARNING
Risk of injury due to the door dropping out! If the bearing parts are not screwed into place firmly enough, the door may drop out. This may lead to severe injuries. What is more, the door may not close and therefore the appliance may fail to cool properly.
- Screw the turn hinges firmly into place with 4 Nm.
- Check all of the screws and retighten if necessary.
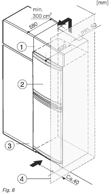
Sliding into the row of units

- Top cupboard
- Kitchen cabinet
- Appliance
- Wall
For appliances with supplied wall spacers, add 35 mm (see 4.2 Installing the appliance) to the dimensions.
Control
The appliance can be built into kitchen units. A top cupboard Fig. 8 (2) can be added above the appliance in order to bring the appliance Fig. 8 (1) up to the height of the fitted kitchen units. If you are integrating the appliance into a kitchen unit (max. depth 580 mm) you can install it right next to the kitchen cabinet Fig. 8 (3). The appliance measures 34 mm x at the side and 50 mm x at the center in relation to the front of the kitchen cabinet.
NOTICE
The danger of overheating due to insufficient air ventilation! The compressor may be damaged if there is insufficient air ventilation.
- Take care to ensure adequate air ventilation.
- Observe the ventilation requirements.
Ventilation requirements
- At the back of the top cabinet, there must be an air outlet shaft at least 50 mm deep spanning the entire width.
- The ventilation above must be at least 300 cm2.
- The wider the ventilation clearance, the more efficiently the appliance will run.
If you are installing the appliance with the hinges next to a wall Fig. 8 (4), the distance between the appliance and the wall must be at least 40 mm. This is how far the handle protrudes when the door is open.
Disposing of packaging
WARNING
The danger of suffocation due to the packing material and plastic film!
Do not allow children to play with packing material.
The packaging is made of recyclable materials
- corrugated board/cardboard
- expanded polystyrene parts
- polythene bags and sheets
- polypropylene straps
- nailed wooden frame with polyethylene panel*
- Take the packaging material to an official collecting point.
Connecting the appliance
NOTICE
Failure to connect properly Damage to the electronics.
- Do not connect the appliance to a stand-alone inverter, e.g. solar power systems and petrol generators.
- Do not use an energy-saving plug.
WARNING
Failure to connect properly Fire hazard.
- Do not use an extension cable.
- Do not use distributor blocks.
The type of current (alternating current) and voltage at the installation site have to conform with the data on the type plate (see 1 Appliance at a glance) . The socket must be properly earthed and fused. The tripping current for the fuse must be between 10 A and 16 A. The socket must be easily accessible so that the appliance can be quickly disconnected from the supply in an emergency. It must be outside the area of the rear of the appliance.
- Check the electrical connection.
- Plug in the power plug.

Switching on the appliance
Power up the appliance about 2 hours before putting food in to freeze.
- Turn the temperature control Fig. 3 (1) to the right, from the 0 setting to point 3.
- The interior light is on.
Refrigerator compartment
The natural circulation of air in the refrigerator compartment results in zones differing in temperature. It is coldest directly above the vegetable drawers and at the rear wall. It is warmest at the top front of the compartment and in the door.
Refrigerating food
- Store perishable foods such as ready-to-eat meals, meat and sausages in the coldest area. Place butter and preserves in the top area and in the door. (see 1 Appliance at a glance)
- Use reusable plastic, metal, aluminum, glass containers and foil wrap to store food.
- Always store raw meat and fish in clean, sealed containers on the bottom shelf of the refrigerator, to prevent them from coming into contact with or dripping onto other foods.
- Foods that easily absorb or give off smell or taste, as well as liquids, should be stored in sealed containers or covered.
- Use the front area of the base shelf only to temporarily set down refrigerated foods, for example, while rearranging or sorting the contents. Remember not to leave refrigerated foods here as they could shift to the back or tip over when you close the door.
- Do not pack foods too closely together, as the air needs to circulate.
Setting the temperature
The temperature can be set between 1 (warmest temperature, minimum cooling performance) and 7 (coldest temperature, maximum cooling performance). The middle control setting is recommended, then a middle temperature of approx.5 °C is established in the refrigerator compartment. An average temperature of approx. –18 °C is then established in the freezer compartment. To ensure ideal temperatures for storing frozen foods, a setting of “4” to “7” on the temperature controller is recommended. Selecting “7” makes it possible to achieve temperatures under 0 °C in the coldest part of the fridge compartment.
- Turn the temperature control Fig. 3 (1).
- The temperature depends on the following factors:
- the door opening frequency
- how long the door is open for
- the room temperature at the site where the appliance is installed
- the type, temperature and quantity of frozen food
- Adjust the temperature as needed, using the control.
CoolPlus function
- At low room temperatures of 15 °C or lower:
- Press the Cool-Plus switch Fig. 3 (2).
- The deep temperatures in the freezer compartment are ensured.
- Once the room temperature is again higher than 15 °C :
- Deactivate the Cool-Plus Fig. 3 (2) switch manually.
Note
At normal room temperatures, in excess of 15 °C, the Cool-Plus switch should be turned off, as it is not required.
Shelves
Moving or removing shelves The shelves are prevented from being pulled out accidentally by pull-out stops.

- Lift the shelf and pull forward a little.
- Adjust the height of the shelf. To do this move the slots along the supports.
- In order to remove the shelf fully, place it at a slant and pull out towards the front.
- Insert shelf with the raised edge pointing upwards at the back.
- The food does not freeze onto the rear wall.
Dismantling shelves
The shelves can be dismantled for cleaning.

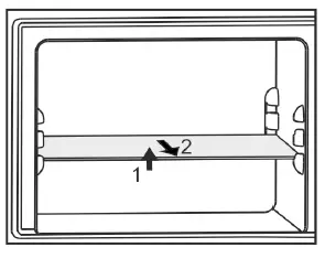
Door racks
Moving the storage rack
Remove the storage rack according to the illustration.

Freezer compartment
You can store frozen food, make ice cubes and freeze fresh food in the freezer compartment.
Freezing food
The rating plate indicates the maximum quantity of fresh food you can freeze within 24 hours (see 1 Appliance at a glance) under “Freezing capacity … kg/24h”. The shelves can each be loaded with 35 kg of frozen food. A vacuum is generated after the door is closed. After closing the door, wait for about 1 minute and then it opens more easily.
CAUTION
Risk of injury due to broken glass! Bottles and cans containing drinks may burst when being frozen. This applies particularly to sparkling drinks.
- Do not freeze bottles and cans containing drinks!
- 24 hours before freezing food, set the temperature to a mid-to-cold position
- Switch on Cool-Plus: Press the Cool-Plus Fig. 3 (2) button.
- The freezer temperature will drop, and the appliance will operate at the maximum refrigerating capacity.
- So that the food is rapidly frozen through to the core, do not exceed the following quantities per pack
- Fruit, and vegetables up to 1 kg
- Meat up to 2.5 kg
- Pack the food in portions in freezer bags, reusable plastic, metal or aluminum containers
- Put the food into the freezer compartment so that it is in contact with the floor or the side walls.
- Distribute the food over the shelf and do not let it touch goods that are already frozen, in case this causes them to defrost.
- Reset the temperature 24 hours after storing the food.
- When the room temperature is higher than 15 °C:
- Switch off Cool-Plus: Press the Cool-Plus Fig. 3 (2) button.
Storage life
| Standard values for the storage life of various types of food in the freezer compartment: | |
| Ice-cream | 2 to 6 months |
| Sausage, ham | 2 to 6 months |
| Bread, bakery products | 2 to 6 months |
| Game, pork | 6 to 10 months |
| Fatty fish | 2 to 6 months |
| Lean fish | 6 to 12 months |
| Cheese | 2 to 6 months |
| Poultry, beef | 6 to 12 months |
| Vegetables, fruit | 6 to 12 months |
The values indicated for storage life are standard ones.
Thawing food
- in the refrigerator compartment
- in a microwave oven
- in a conventional or fan oven
- at room temperature
- Remove only as much food as is required. Use thawed food as quickly as possible.
- Food once thawed should be re-frozen only in exceptional cases.
Maintenance
Shelves Moving shelves

- To remove the shelf: lift up at the front and pull out.
- To put the shelf back: simply push in as far as it will go.
Manual defrosting
- Fridge compartment:
- The fridge compartment defrosts automatically. The defrosted water is evaporated by the heat of the compressor. Water drops or a thin layer of frost or ice can form on the back wall; this is a completely normal part of the machine’s function.
- Regularly clean the drain opening to allow the water to flow away (see 6.2 Cleaning the appliance) .
Freezer compartment
A layer of frost or ice can build up in the freezer compartment after a long period of operation. The layer of frost or ice builds up faster if the appliance is opened often or if the food is warm when placed inside. However, a thick layer of ice will increase the appliance‘s energy consumption. You should therefore defrost the appliance regularly.
WARNING
Improper defrosting of the appliance! Injuries and damage.
- Do not use mechanical equipment or other methods to speed up the defrosting process other than those recommended by the manufacturer.
- Do not use electrical heating or steam-cleaning appliances, naked flames or defroster sprays to defrost.
- Do not use sharp objects to remove ice.
- Switch off the appliance.
- Pull out the power plug or switch off the fuse.
- Place a pan with hot, not boiling water on a middle shelf.

- Defrosting is speeded up.
- Leave the door of the appliance open while defrosting.
- Remove detached pieces of ice.
- If necessary, pick up defrost water several times, using a sponge or cloth.
- Clean the appliance (see 6.2 Cleaning the appliance) .
Cleaning the appliance
Clean the appliance regularly.
WARNING
Risk of injury and damage as a result of hot steam! Hot steam can lead to burns and can damage surfaces.
Do not use any steam cleaners!
NOTICE
Incorrect cleaning damages the appliance!
- Do not use cleaning agents in concentrated form.
- Do not use any scouring or abrasive sponges or steel wool.
- Do not use any sharp or abrasive cleaning agents, nor any that contain sand, chloride or acid.
- Do not use chemical solvents.
- Do not damage or remove the type plate on the inside of the appliance. It is important for customer service.
- Do not pull off, bend or damage cables or other components.
- Do not allow any cleaning water to enter the drain channel, ventilation grille or electrical parts.
- Please use soft cleaning cloths and a universal neutral cleaning agent.
- Please use cleaning and care products suitable for contact with foodstuffs in the appliance interior.
Empty appliance. u Pull out the power plug.

- Clean plastic outer and inner surfaces with lukewarm water and a little washing-up liquid.
- Only use a soft clean cloth to wipe side walls with a paint finish. In the case of heavy soiling, use lukewarm water with a neutral cleaning agent.
- Use only a soft clean cloth to wipe door surfaces with a paint finish. In the case of heavy soiling, use a little water or a neutral cleaning agent. A microfibre cloth can be used optionally.
NOTICE
The stainless steel doors are treated with a high-quality surface coating and must not be treated with stainless steel care products.
as otherwise the surface coating will be damaged
- Coated door surfaces, painted side walls and painted door surfaces must only be wiped with a soft, clean cloth.
- If they are very dirty, use a little water or a neutral cleaner. A microfibre cloth may also be used. If they are dirty, clean
- the stainless steel side walls with an off-the-shelf stainless steel cleaner. Then apply the stainless steel cleaning agent evenly in the direction of the grain.
- Do not treat the lettering on the painted door surfaces with harsh, abrasive agents. Wipe off any dirt with a soft cloth and some water or neutral cleaner.
- Clean drain hole: Remove deposits with a narrow instrument, e.g. a cotton bud.

- Most of the parts can be dismantled for cleaning: see the relevant chapter.
- Clean drawers by hand with lukewarm water and a little washing up liquid.
- Clean other items of equipment by hand with lukewarm water and a little washing-up liquid.
After cleaning
- Wipe dry the appliance and items of equipment.
- Connect the appliance and switch it on again.
- When the temperature is sufficiently cold:
- Put the food back inside.
Changing the interior light
In the device, an LED lamp is used as standard illumination for the interior space.
When an incandescent bulb is used
- Use an incandescent lamp with max. 15 W and E14 socket.
- Power supply (AC) and voltage at the operating point must comply with the details on the rating plate (see 1 Appliance at a glance) .
When a LED is used
Use only the original LED lamp from the manufacturer. The lamp can be obtained through customer service or a specialist dealer (see 6.4 Customer service) .
WARNING
Risk of injury from LED light! The light intensity of the LED lighting corresponds to risk group RG 2. If the cover is removed: the cover is removed:
Do not look directly into the light at close quarters through optical lenses. Doing so may damage your eyes.
WARNING
Fire hazard from the LED light! If different LED lights are used, there is a danger of overheating or fire.
- Use the manufacturer’s original LED light.
- If the lamp is defective, exchange it as follows:
- Switch off the appliance.
- Pull out the power plug or switch off the fuse.
- As shown in the diagram, press open the lamp cover on the inside at the front, and pull it off to the side.
- Replace the lamp.
- Put on the lamp cover again and snap it into place.

Customer service
First, check whether you can rectify the fault yourself (see 7 Malfunctions) . If you cannot rectify the problem, contact Customer Services. You can find the address in the enclosed Customer Service Directory.
| Defect | Cause | Remedy |
| The appliance does not work. | → The appliance is not switched on. |
|
| → The power plug is not properly inserted in the wall socket. |
| |
| → The fuse of the wall socket is not in order. |
|
WARNING
Unprofessional repair! Injuries. Injuries.
- Have any repairs and actions – not expressly specified –
on the appliance and mains cable carried out by service personnel only. (see 6 Maintenance) - A damaged mains cable may only be replaced by the manufacturer, the manufacturer’s Customer Service or a similarly qualified person.
- In the case of appliances with an IEC connector, the change may be made by the customer.
- Read the appliance designation Fig. 10 (1), service No. Fig. 10 (2) and serial No. Fig. 10 (3) off the model plate located inside the appliance on the left-hand side.
- Notify the customer service, specifying the fault, appliance designation Fig. 10 (1), service No. Fig. 10 (2) and serial No. Fig. 10 (3).
- This will help us to provide you with a faster and more accurate service.
- Keep the appliance closed until customer service arrives.
- The food will stay cool longer.
- Pull out the mains plug (not by pulling the connecting cable) or switch off the fuse.
Energy efficiency class lighting
| Lighting | |
| Energy efficiency class1 | Light source |
| This product contains an energy efficiency class G light source | LED |
The appliance may contain light sources with different energy efficiency classes. The lowest energy efficiency class is indicated.
Malfunctions
Your appliance is designed and manufactured for a long life span and reliable operation. If a malfunction nonetheless occurs during operation, check whether it is due to a handling error. In this case you will have to be charged for the costs incurred, even during the warranty period. You may be able to rectify the following faults yourself:
| Defect | Cause | Remedy | |
| The compressor runs for a long time. | → The compressor switches to a low speed when little cold is needed. Although the running time is increased as a result, energy is saved. | This is normal in energy-saving models. | |
| A LED on the bottom rear of the appliance (at the compressor) flashes regularly every 15 seconds*. | → The inverter is equipped with a diagnostic LED. | The flashing is normal. | |
| Excessive noise. | → Due to the various speed steps, speed-regulated* compressors can generate different running noises. | The sound is normal. | |
| A bubbling and gurgling noise. | → This noise comes from the refrigerant flowing in the refrigeration circuit. | The sound is normal. | |
| A quiet clicking noise. | → The noise is produced whenever the refrigeration unit (motor) auto‐ matically switches on or off. | The sound is normal. | |
| A hum. It is briefly a little louder when the refrigeration unit (the motor) switches on. | → The refrigeration increases auto‐ matically when fresh food has just been placed in the appliance or the door has been left open for a while. | The sound is normal. | |
| → The ambient temperature is too high. | Solution: (see 1.2 Appliance range of use) | ||
| Vibration noises | → The appliance is not standing firmly on the floor. As a result objects and adjacent units start to vibrate when the refrigerator is running. |
| |
| The outer surfaces of the appliance are warm*. | → The heat of the refrigeration circuit is used to prevent condensation from forming. | This is normal. | |
| The temperature is not cold enough. | → The door of the appliance is not properly closed. | Close the door of the appliance. | |
| → Insufficient ventilation. | Keep the ventilation grille clear, and clean it. | ||
| → The ambient temperature is too high. | Solution: (see 1.2 Appliance range of use) . | ||
| → The appliance was opened too frequently or for too long. | Wait to see whether the appliance reaches the required temperature by itself. If not, please contact the after sales service (see 6 Maintenance) . | ||
| → The appliance is too close to a source of heat (stove, heater etc). | Change the position of the appliance or the source of heat. | ||
| The internal light does not come on. | → The appliance is not switched on. | Switch the appliance on. | |
| → The lamp (if the model comes with an LED lamp) is faulty. | WARNING Risk of injury from LED light! The light intensity of the LED lighting corresponds to risk group RG 2. If the cover is removed:
| ||
| Defect | Cause | Remedy |
| With an ambient temperature below 15 °C the device is slightly warmed in places on the inner surface of the fridge compart‐ menu’s right side wall. | → This is a necessary part of the function. |
|
Decommissioning
Switching off the appliance
Turn temperature control Fig. 3 (1) to 0.
Taking the appliance out of service
- Empty the appliance.
- Switch off the appliance (see 8 Decommissioning) .
- Remove the mains connector.
- Clean the appliance (see 6.2 Cleaning the appliance) .
- Leave the door open to prevent odor.

Disposal
Preparing appliances for disposal
Liebherr uses batteries in some of its appliances. In the EU, for environmental reasons, legislation obliges the end user to remove these batteries before disposing of old appliances. If your appliance contains batteries, a corresponding notice is attached
Lamps
- If you can remove the lamps yourself without destroying them, also remove these before disposal.
- Take the appliance out of operation. (see 8.2 Taking the appliance out of service)
- Appliances with batteries: remove the batteries. For a description, see the Maintenance chapter.
- If possible: remove lamps without destroying them.
Disposing of the appliance in an environmentally friendly manner
The appliance still contains valuable materials and must be disposed of separately from unsorted municipal waste.
Dispose of batteries separately from the old appliance. To do this, you can return the batteries free of charge to retailers as well as recycling centers and collection centers for recyclable materials.
Lamps
Dispose of removed lamps via the respective collection systems.
For Germany
You can dispose of the appliance free of charge via the class 1 collection containers at the local recycling and recyclable material collection centres. When purchasing a new fridge/freezer, if the sales area > 400 m2, retailers will also take back the old appliance free of charge.
WARNING
Leaking coolant and oil! Fire. The coolant contained in the appliance is eco-friendly but also flammable. The oil contained in the appliance is flammable. Escaping coolant and oil can ignite if the concentration is high enough and in contact with an external heat source. external heat source.
- Do not damage the pipelines of the coolant circuit and the compressor.
- Transport the appliance without damaging it.
- Dispose of batteries, lamps and the appliance according to the above specifications.
Liebherr-Hausgeräte Marica EOOD
- 4202 Radinovo
- Bezirk Plovdiv
- Bulgarien home.liebherr.com


This symbol may be located on the compressor. It relates to the oil in the compressor and makes reference to the risk that: Swallowing or inhaling can be fatal. This advice is only relevant to recycling. There is no danger in normal operation.
This symbol is located on the compressor and indicates the danger of flammable materials. Do not remove the sticker.
This or a similar sticker may be located on the rear of the appliance. It refers to the foam-padded panels in the door and/or the housing. This advice is only relevant to recycling. Do not remove the sticker.






The appliance still contains valuable materials and must be disposed of separately from unsorted municipal waste.
Dispose of batteries separately from the old appliance. To do this, you can return the batteries free of charge to retailers as well as recycling centers and collection centers for recyclable materials.













