
User Guide
base unit fridge
20210623
7086654 – 00
(S)UIKo 1550/60
The manufacturer works constantly on the further development of all the types and models. Therefore please understand that we have to reserve the right to make design, equipment, and technical modifications.
To get to know all the benefits of your new appliance, please read the information contained in these instructions carefully. The instructions apply to several models. Differences may occur. Text relating only to specific appliances is marked with an asterisk (*).
Instructions are marked with a, and results are marked with a.
Appliance at a glance
Description of appliance and equipment
Note
- Place food inside the appliance as shown in the diagram. This allows the appliance to save energy during operation.
- Shelves, drawers, and baskets are arranged for optimum energy efficiency on delivery.

Fig. 1
| (1) Operating panel (2) Internal lighting (3) Extending shelf (4) Relocatable retainers (5) Extending shelf, coldest zone (6) Lift-up Box* | (7) Bottle rack (8) Adjustable door (9) Type plate (10) Adjustable plinth panel (11) Height-adjustable feet, front and back |
Appliance range of use
Intended use
The appliance is only suitable for cooling food products in a domestic or household-like environment. This includes, for example, use:
- in staff kitchens, bed and breakfast establishments,
- by guests in country houses, hotels, motels and other accommodation,
- for catering and similar services in the wholesale trade. The appliance is not suitable for freezing food;
The appliance is suitable for integrating under counters. All other types of use are not permitted.
Foreseeable misuse
The following applications are expressly forbidden:
- Storing and refrigerating medicines, blood plasma, laboratory preparations or similar substances and products based on the Medical Device Directive 2007/47/EC
- Use in areas at risk of explosions
Misusing the appliance may lead to damage to the goods stored or they may spoil.
Climate classifications
Depending on the climate classification the appliance is designed to operate in restricted ambient temperatures. The climate classification applying to your appliance is printed on the rating plate.
Note
- Keep to the specified ambient temperatures in order to guarantee that the appliance works properly.
| Climate classification | for ambient temperatures of |
| SN | 10 °C to 32 °C |
| N | 16 °C to 32 °C |
| ST | 16 °C to 38 °C |
| T | 16 °C to 43 °C |
Conformity
The refrigerant circuit has been tested for leaks. In installed condition, this appliance complies with the applicable safety stipulations and with directives 2014/35/EU, 2014/30/EU, 2009/125/EG, 2011/65/EU and 2010/30/EU.
EPREL database*
Details about energy labelling and ecodesign requirements will be available on the European product database (EPREL) from 1st March 2021. You can access the product database at the following link: https://eprel.ec.europa.eu/ You will be asked to enter the model ID. You can find the model ID on the nameplate.*
Saving energy
- Pay attention to good ventilation. Do not cover ventilation holes or grids.
- Always keep the fan air slits clear.
- Do not install the appliance in direct sunlight, next to an oven, radiator or similar.
- Energy consumption depends on the installation conditions, e.g. the ambient temperature (see 1.2 Appliance range of use). A warmer ambient temperature can increase the energy consumption.
- Open the appliance for as short a time as possible.
- The lower the temperature is set the higher the energy consumption.
- Sort your food: home.liebherr.com/food.
- Keep all food properly packed and covered. This prevents frost from forming.
- Only take food out for as long as necessary so that it doesn’t warm up too much.
- Inserting warm food: allow to cool down to room temperature first.*
General safety information
Danger for the user:
- This device can be used by children and people with impaired physical, sensory or mental abilities or with a lack of experience and knowledge provided that they are supervised or have received instruction in the safe use of this device, and about the resulting hazards. Children must not play with this appliance. Cleaning and user maintenance work must not be carried out by children without adult supervision. Children aged between 3 and 8 are allowed to load and unload the appliance. Children below the age of 3 must be kept away from the appliance unless they are under continuous adult supervision.
- When disconnecting the appliance from the supply, always take hold of the plug. Do not pull the cable.
- In the event of a fault pull out the mains plug or deactivate the fuse.
- Do not damage the mains power cable. Do not operate the appliance with a defective mains power cable.
- Repairs, interventions on the appliance and the replacement of mains connection line may only be carried out by After-Sales Service or other suitably trained specialist personnel.
- Only install, connect and dispose of the appliance according to the instructions.
- Only use the appliance when it is installed.
- Please keep these instructions in a safe place and pass them on to any subsequent owners.
Fire hazard:
- The coolant used (information on the model plate) is eco-friendly but also flammable. Any leaking coolant may ignite.
• Do not damage the refrigerant circuit pipes.
• Do not handle ignition sources inside the appliance.
• Do not use electrical appliances inside the appliance (e.g. steam cleaners, heaters, ice cream makers, etc.).
• If the refrigerant leaks: remove any naked flames or ignition sources from the vicinity of the leakage point. Properly air the room. Inform customer services. - Do not store explosives or sprays using combustible propellants such as butane, propane, pentane, etc. in the appliance. To identify these spray cans, look for the list of contents printed on the can, or a flame symbol. Gases possibly escaping may ignite due to electrical components.
- Please be sure to store alcoholic drinks or other packaging containing alcohol in tightly closed containers. Any alcohol that leaks out may be ignited by electrical components.
- Danger of tipping and falling:
– Do not misuse the plinth, drawers, doors etc. as a step or for support. This applies particularly to children. - Danger of food poisoning:
– Do not consume food which has been stored too long. - Danger of frostbite, numbness and pain:
– Avoid prolonged skin contact with cold surfaces or refrigerated/frozen goods or take protective measures, e.g wear use gloves. - Danger of injury and damage:
– Hot steam can lead to injury. Do not use electrical heating or steam cleaning equipment, open flames or defrosting sprays to defrost.
– Do not use sharp implements to remove the ice. - Danger of crushing:
– Do not hold the hinge when opening and closing the door. Fingers may get caught. - Symbols on the appliance:
The symbol can be located on the compressor. It refers to the oil in the compressor and indicates the following danger: Swallowing or inhaling can be fatal. This is only relevant for recycling. There is no danger in normal operation.
This symbol is found on the compressor and indicates the danger of flammable materials. Do not remove the sticker.
A sticker to this effect may be applied to the rear of the appliance. It refers to the foam-padded panels in the door and/or the housing. This is only relevant for recycling. Do not remove the sticker.
Please observe the specific information in the other sections:
| DANGER | identifies a situation involving direct danger which, if not obviated, may result in death or severe bodily injury. | |
| WARNING | identifies a dangerous situation which, if not obviated, may result in death or severe bodily injury. | |
| CAUTION | identifies a dangerous situation which, if not obviated, may result in minor or medium bodily injury. | |
| NOTICE | identifies a dangerous situation which, if not obviated, may result in damage to property. | |
| Note | It contains useful instructions and tips. |
Controls and displays
Operating and control elements

Fig. 2
| (1) On/Off button (2) SuperCool button (3) Settings button (4) Alarm button (5) DEMO Mode display (6) Temperature display | (7) Child lock symbol (8) Sabbath Mode symbol (9) MENU symbol (10) SuperCool symbol (11) Alarm symbol |
Temperature display
During normal operation, the display shows:
- the average cooling temperature
The temperature display flashes if/when:
- You change the temperature setting
The following displays indicate a fault. Possible causes and solutions: (see 7 Malfunctions).
- F0 to F9
Putting into operation
Transporting the appliance
- Transport the appliance only in suitable packaging.
- Transport the appliance upright.
- Do not transport the appliance on your own.
Installing the appliance
WARNING
Risk of fire due to short circuit!
If the mains cable/connector of the appliance or of another appliance touch the rear of the appliance, the mains cable/ connector may be damaged by the appliance vibrations, leading to a short circuit.
- Stand the appliance so that it is not touched by connectors or main cables.
- Do not plug the appliance or any others into sockets located near the rear of the appliance.
WARNING
Fire hazard due to dampness!
If live parts or the mains lead become damp this may cause short circuits.
- The appliance is designed for use in enclosed areas. Do not operate the appliance outdoors or in areas where it is
exposed to splash water or damp conditions. - Only use the appliance when it is installed.
WARNING
Fire hazard due to refrigerant!
- The coolant used is eco-friendly but also flammable. Any leaking coolant may ignite.
- Do not damage the piping of the refrigeration circuit.
WARNING
Fire hazard and danger of damage!
- Do not place appliances emitting heat e.g. microwaves, toasters etc. on the appliance!
WARNING
Blocked ventilation openings pose a risk of fire and damage!
- Always keep the ventilation openings clear. Always ensure that the appliance is properly ventilated!
If your appliance is not a side-by-side (SBS) appliance:*
NOTICE
Risk of damage due to condensate!*
Do not install the appliance directly alongside a further refrigerator/freezer.
- Before you connect the appliance, report any damage immediately to the delivery company.
- The floor of the installation site must be horizontal and even.
- Do not install the appliance in direct sunlight, next to an oven, radiator or similar.
- The appliance is suitable for use as an integrated base unit, q ventilated at the feet.
- Do not install the appliance on your own.
- The more coolant there is in the appliance, the larger the room in which the appliance is installed must be. If the room is too small, any leak may create a flammable mixture of gas and air. For each 8 g of coolant the installation space must be at least 1 m3 . Information on the coolant is on the model plate inside the appliance.
- Detach the connecting cable from the rear of the appliance, removing the cable holder at the same time because otherwise there will be vibratory noise!
After installation:
- Remove the protective film from the decorative trims.
- Remove all transit supports.
- Dispose of packaging material (see 4.5 Disposing of packaging) .
Note
- Clean the appliance (see 6.2 Cleaning the appliance).
If the appliance is installed in a very damp environment, condensate may form on the outside of the appliance. - Always see to good ventilation at the installation site.
Installation
All the assembly components accompany the appliance.
Fig. 3 *
Ensure that the following tools are to hand:
- Cordless Torx® screwdriver 15, 25
- Spanner 13
- Screwdriver Torx® 15
- Flat-blade screwdriver 6
- Allen key 8
- Tape measure
- Pencil
- String
- Spirit level
Pay attention that the socket is readily accessible.
Fig. 4
Ventilation requirements

Fig. 5
The air flow cavity must be at least 200 cm².
The unit’s energy consumption will increase if there is insufficient air flow.
Fig. 6
Fix the foam pad in the middle of the plinth panel.
The foam pad is used to separate the incoming and outgoing air flow and allows sufficient ventilation.
Unit door weight
Note
- Before assembling the door of the unit, make sure that the admissable weight of the unit door is not exceeded.
- Otherwise damage to the telescopic rails and resultant malfunction cannot be ruled out.
| Model | Maximum unit door weight |
| S/UIKo / UPR 513 | 10 kg |
Side fixing
- Base frame under a hard worktop, such as granite.
- The appliance is lower than the work surface when the adjusting feet are fully extended.
- Pre-requisite: Side unit wall available for screw connection.
Top fixing
- The appliance is slightly braced under the work top when the adjusting feet are fully extended.
- No granite plate.
Installing the appliance

Fig. 7
- If already in place, pull the plinth panel forwards.
- Detach the connecting cable from the rear of the appliance, removing the cable holder at the same time because otherwise there will be vibratory noise!
Lay the connecting cable with the help of a string in such a way that the appliance can be easily connected after fitting.
Fig. 8
NOTICE
Risk of harm to flooring susceptible to damage!
- Place a strip of cardboard under the height-adjustable feet, approx. 10 cm x 60 cm, one at either side. Cut the strips out of the packaging. For opening heights less than 826 mm, use strips of a firm but thin material.
- After the appliance has been slid in, remove the strips.
Top fixing
Fig. 9
- Insert the bracket into the holder on the top of the unit and bend towards the front.
- Slide the unit into the recess and level, see Levelling the appliance.
Side fixing:

Fig. 10
- Bend both brackets at one end before installation. Insert the straight edge into the holder on the top of the unit and bend towards the front.
- Slide the unit into the recess and level, see Levelling the appliance.
Levelling the appliance

Fig. 11
- Unscrew the rear adjusting feet using a screwdriver and undo the front adjusting feet using a no. 8 Allen key alternately until the unit sits just under the worktop.
- Use a spirit level to level the unit.
- The gap from the front edge of the cabinet wall to the appliance should be 41.5 mm on both sides.
- Should there be no unit side wall, align it with the work top.
For units with door stop components (knobs, sealing lips etc.):
- Deduct the extra dimension (depth of the door stop components) from the 41.5 mm depth of insertion.
- Unscrew the rear adjusting feet using a screwdriver and undo the front adjusting feet using a no. 8 Allen key (if the adjusting feet are retracted) or a screwdriver (if the adjusting feet are extended) alternately as far as they will go. The maximum adjustment range is 60 mm.
- The appliance is aligned upright.
- The appliance is slightly braced between the floor and the work top.

Fig. 12
- Place the foam pad in the plinth panel – this is essential for separating air flows!
Fig. 13 - Fit the plinth panel (2) without securing.
- Position the unit door and the unit plinth panel for testing.
- If plinth panel (2) is visible, pull it forward until the front edge of the ventilation grid and the unit plinth panel are in line.
-or - If the plinth panel (2) is hidden, push it right back.
- Ensure that the ventilation slots are completely free: If necessary, cut some off the height of the unit plinth panel (U).
- Adjust the bar height (V) under the plinth panel (2) along the recess width (W).

Fig. 14
- Fit and secure the plinth panel: Hold the plinth panel and insert the catch.
- Fix the unit plinth panel.
To secure appliance in the recess:
Fig. 15
- If affixing the unit under a worktop, use 2 screws to secure the fixing bracket under the worktop.

Fig. 16
- If attaching the unit at the side, screw the fixing bracket into the recess with one screw on each side.
Fitting the unit door
- Fit the handle on the unit door.
Note
To ensure uniform extension of the pull-out compartment:
- Always fit the unit door handle to the middle of the unit door.
Fig. 17 - Check 8 mm presetting. (Distance between appliance door and lower edge of crosspiece)
- Push up assembly aids Fig. 17 (12) to unit door height.
Lower edge ▲of the assembly aid = top edge of the unit door to be fitted. - Unscrew fastening crosspiece Fig. 17 (11) by undoing the locknuts Fig. 17 (10).
Fig. 18 - Attach fastening crosspiece Fig. 18 (11) to the inside of the unit door using the assembly aids Fig. 18 (12).
- Align the crosspiece Fig. 18 (11) in the middle of the door.
- Distances to the outer edge are equal at the left and right.
For chipboard doors: - Secure the fastening crosspiece Fig. 18 (11) with at least 6 screws Fig. 18 (19).
For frame and panel doors: - Secure the fastening crosspiece Fig. 18 (11)with 4 screws Fig. 18 (19) at the edge.
- Raise the assembly aids Fig. 18 (12) for removal, turn them and insert them into the adjacent openings.
Fig. 19 - Attach the unit door to the adjusting bolts Fig. 19 (13) and loosely screw the locknuts Fig. 19 (10) onto them.
- Close the door.
- Check the gap between the door and the surrounding unit doors.
- To laterally align the door: push unit door in X direction.
- To align the door vertically Y and in the lateral inclination: adjust adjusting bolts Fig. 19 (13) with a screwdriver.
- The unit door is flush and in alignment with the surrounding unit fronts.
- Tighten locknuts Fig. 19 (10).
Fig. 20 - To screw the unit door to the appliance door:
- Drill pilot holes in the door of the unit (possibly make preliminary holes with a bradawl).
- Screw the appliance door to the cabinet door using the fixing bracket.
Fig. 21 - Align the cabinet door to the height marked Z: loosen the screws at the top and bottom of the door, then adjust the door.
- Do not allow knobs and sealing lips to make contact – important for function!

- Allow an air gap of 2 mm between the unit door and the body of the unit.
Fig. 22 - Check the fit of the door and readjust if necessary.
- Tighten all screws.
- Tighten lock nuts Fig. 22 (10) with a no. 13 Allen key, making sure you counterhold the adjusting bolts Fig. 22 (13) with a screwdriver.
Fig. 23 - Fit the top cover and click into place.
Check the following points to ensure the appliance is fitted properly. Failure to do so may lead to icing, condensate forming and malfunction: - The door has to close properly
- The unit door must not butt against the unit body
Adjusting the contact of the door seal
It may be necessary to adjust the appliance door, depending on the weight of the kitchen unit door.
Once the kitchen unit door has been fitted, see that the door seal makes full contact with the appliance body.
Fig. 24
The means for adjustment is situated on the right and left underneath the bottle rack on the door interior.
The setting as delivered is 0.
The following adjustments are possible:
- Inclination ± 1°
- Upward adjustment by 4 mm
- Downward adjustment by 2 mm
- Adjustment by 2 mm to the left and right, respectively
NOTICE
Functional impairment and risk of damage!
- Use the adjustment of the appliance door only for ensuring that the door seal of the pull-out compartment makes 100 percent contact with the appliance body. Do not use it for adjusting the kitchen unit door.
A check can be made on tight door closure by placing a shining electric torch inside.
Adjusting the door inclination

Fig. 25
Note
- Always make the adjustment on both sides, left and right!
- Lift up and remove the pull-out compartment

Fig. 26
- Unscrew and remove the screw Fig. 26 (33).
- Dispose of the screw Fig. 26 (33), it is no longer needed.
- Just loosen the screws Fig. 26 (34) by 1 to 2 turns.
- Turn the adjusting screw Fig. 26 (35). Clockwise: for inclination of the door away from the appliance body at the top. Anticlockwise: for inclination of the door towards the appliance at the top and away from the appliance body at the bottom.
- After having adjusted the inclination, re-tighten all the screws Fig. 26 (34).
Aligning the position of the door
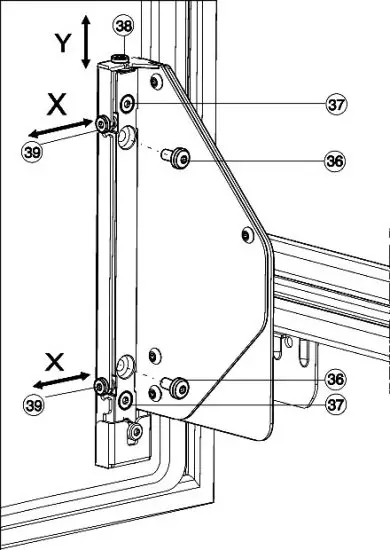
Note
- Always make the adjustment on both sides, left and right!

Fig. 27
Vertical adjustment, Y:
- Unscrew and remove the screws Fig. 27 (36).
- Dispose of the screws Fig. 27 (36), they are no longer needed.
- Just loosen the screws Fig. 27 (37) by 1 to 2 turns.
- Turn the adjusting screw (38). Clockwise: for moving the door upwards by 4 mm max. Anticlockwise: for moving the
door downwards by 2 mm max. - Re-tighten all the screws Fig. 27 (37).
Lateral adjustment, X: - If the screws Fig. 27 (36) are still present, unscrew and remove them.
- Just loosen the screws Fig. 27 (37) by 1 to 2 turns.
- Turn the adjusting screws Fig. 27 (39) according to the lateral adjusting direction wanted.
- After having made the lateral adjustment, re-tighten the screws Fig. 27 (37).
- Replace the bottle rack Fig. 25 (32) and pull-out compartment Fig. 25 (31).
Note
Make sure the pull-out compartment is inserted correctly and clicks into place.
Otherwise the door will not close.
- The pull-out compartment should be flush with the inner door.
Disposing of packaging
WARNING
Danger of suffocation due to packing material and plastic film!
- Do not allow children to play with packing material.
The packaging is made of recyclable materials: ![]()
- corrugated board/cardboard
- expanded polystyrene parts
- polythene bags and sheets
- polypropylene straps
- nailed wooden frame with polyethylene panel*
- Take the packaging material to an official collecting point.
Connecting the appliance
NOTICE
Failure to connect properly
Damage to the electronics.
- Do not use a standalone inverter.
- Do not use an energy saving plug.
WARNING
Failure to connect properly
Fire hazard.
- Do not use an extension cable.
- Do not use distributor blocks.
The type of current (alternating current) and voltage at the installation site have to conform with the data on the type plate (see 1 Appliance at a glance).
The socket must be properly earthed and fused. The tripping current for the fuse must be between 10 A and 16 A.
The socket must be easily accessible so that the appliance can be quickly disconnected from the supply in an emergency. It must be outside the area of the rear of the appliance.
- Check the electrical connection.

- Plug in the power plug.
Switching on the appliance
- Open the door.

- Press the On/Off button Fig. 2 (1).
- The temperature display lights up. The appliance is switched on.
- If “DEMO” is displayed, demo mode is activated.
Please contact the after sales service.
Control
Child proofing
The child-proofing function enables you to make sure that the appliance is not inadvertently switched off by playing children.![]()
Setting the child lock function
- Activate setting mode: Press the SuperCool button Fig. 2 (2) for around 5 seconds.
- The display indicates
5. - The menu symbol Fig. 2 (9) shines.
- se the Settings button Fig. 2 (3) to select
c. - Briefly press theSuperCool button Fig. 2 (2) to confirm.
Whenclis indicated in the display: - to activate the child lock, briefly press the SuperCool button Fig. 2 (2).

- The child lock symbol Fig. 2 (7) shines.
cflashes in the display.
Whenc0is indicated in the display: - to deactivate the child lock, briefly press the SuperCool button Fig. 2 (2).
- The child lock symbol Fig. 2 (7) goes out.
cflashes in the display. - To deactivate the set-up mode: press On/Off button Fig. 2 (1).
-or - Wait for 5 minutes.
- The temperature is indicated again in the temperature display.
Door alarm
For the fridge compartment
An audible warning sounds if the door is open for longer than 60 seconds.
The audible warning stops automatically when the door is closed.
Muting the door alarm
The audible alarm can be muted when the door is open. The sound switch-off function is active as long as the door is left open.
- Press alarm button Fig. 2 (4).
- The door alarm is silenced.
SabbathMode
This function meets the religious requirements on the Sabbath or Jewish festivals. Turn on SabbathMode to switch off certain controls. After setting up SabbathMode, you no longer need to worry about indicator lights, figures, symbols, displays, alarms or fans. The thawing cycle only works for the specified time without taking account of fridge use. After a power cut the appliance automatically returns to SabbathMode. There is a list of Star-K certified appliances at www.star-k.org/appliances.
WARNING
Danger of food poisoning. If there is a power cut while the appliance is in SabbathMode, this message is not saved. Once power is restored, the appliance continues in SabbathMode. When this mode is over no message about the power cut is displayed on the temperature display. If there was a power cut during SabbathMode:
- Check the food for quality. Do not eat the food if it has thawed.
- All functions are locked until SabbathMode is switched off.
- If functions such as SuperFrost, SuperCool, Ventilation, etc. are activated when SabbathMode is on, they remain active.
- No audible signals are emitted and the temperature display does not indicate any warnings or settings (such as a temperature alarm or door alarm).
- The internal light is off.
Setting Sabbath Mode
- Activate setting mode: Press the SuperCool button Fig. 2 (2) for around 5 seconds.
5flashes in the display.- The Menu symbol Fig. 2 (9) lights up.

- To call up the Sabbath Mode function: Briefly press the SuperCool button Fig. 2 (2).
5flashes in the display.
If you see51in the display: - To switch on Sabbath Mode, briefly press the SuperCool button Fig. 2 (2).
If you see50in the display: - To switch off Sabbath Mode, briefly press the SuperCool button Fig. 2 (2).
- Deactivate setting mode: Press the On/Off button Fig. 2 (1).
-or - Wait 5 min.
- The temperature display shows the Sabbath Mode symbol Fig. 2 (8) as long as Sabbath Mode is on.
- Sabbath Mode switches off automatically after 120 hours if it has not already been switched off manually.
Refrigerating food
The coldest areas are directly above the vegetable compartments and along the back wall. The warmest area is at the top front and in the door.
Note
- Do not overfill the pull-out compartment. It can hold max. 20 kg of food.
Note
- The energy consumption increases and the cooling performance decreases if the ventilation is inadequate.
- Always keep the air slits of the fan free.
- Store perishable foods such as ready-to-eat meals, meat and sausages in the coldest area in the middle. Place butter and preserves in the top area. (see 1 Appliance at a glance)
- Use reuseable plastic, metal, aluminium, glass containers and foil wrap to store food.
- Always store raw meat and fish in clean, sealed containers on the bottom shelf of the refrigerator, to prevent them coming into contact with or dripping onto other foods.
- Foods that easily absorb or give off smell or taste, as well as liquids, should be stored in sealed containers or covered.
- Do not pack foods too closely together, as the air needs to circulate.
Setting the temperature
The temperature depends on the following factors:
- the frequency of opening the door
- how long the door is open for
- the room temperature of the installation location
- the type, temperature and quantity of the food
Recommended temperature setting: 5 °C
The temperature is changed sequentially. Once the 2 °C setting is reached, the sequence starts again at 9 °C.
- Call up temperature function: press the setting button Fig. 2 (3).

- The previously-set value will flash in the temperature display.
- Change the temperature in 1 °C steps: Press the setting button Fig. 2 (3) until the required temperature is indicated in the temperature display.
- Change temperature continually: hold down setting button.
- During adjustment the value flashes on the display.
- The new setting is adopted approx. 5 seconds after the last time the button was pressed and the set temperature is again displayed. The temperature in the interior gradually adjusts to the new value.
SuperCool
SuperCool is for maximum cooling. This option is for very low temperatures:
- In the fridge compartment

Use SuperCool to quickly cool large amounts of food.
When SuperCool is activated, the fan* may run. The appliance operates with maximum cooling performance, which means that the noise of the refrigeration unit may be temporarily louder.
The SuperCool function uses slightly more energy.
Switching onSuperCool
- Briefly press SuperCool button Fig. 2 (2).
- The SuperCool Fig. 2 (10) symbol lights up in the display.
- The cooling temperature drops to the lowest setting.
- SuperCool is on.
- SuperCool turns off automatically. The appliance continues in energy-saving Normal mode.
To prematurely deactivate SuperCool
- Briefly press SuperCool button Fig. 2 (2).
- The SuperCool symbol Fig. 2 (10) goes out in the display.
- SuperCool is deactivated.
Butter dish
Opening/closing the butter dish
Fig. 28
Dismantling the butter dish
Fig. 29
- You can take the butter dish apart for cleaning.
Egg tray
You can take out and rotate the egg tray. You can use the two parts of the egg tray to mark different use-by dates, for example.
- Use the top part to store e.g. chicken eggs.
- Use the bottom part to store quails’ eggs.
Relocating the retainers

Fig. 30
- Take hold of the retainers at the right and left, carefully lift them out and press them into the new seats until the holders engage.
Dividing the pull-out compartment

Fig. 31
- Use the separator to divide the pull-out compartment into sections. Insert the separator into the guides or simply pull it up and out.
Storing food in the Lift-up-Box*

Fig. 32
- Unopened and tightly sealed bottles, packs and vegetables can be stored in the lift-up box.
Note
- The Lift-up Box has a maximum capacity of 4 kg.
Maintenance
Defrosting
Defrosting refrigerator compartment
The fridge compartment defrosts automatically. The defrosted water will evaporate. Water drops or a thin layer of frost or ice can form on the back wall; this is a completely normal part of the machine’s function.
- Clean the drain hole at regular intervals to allow the defrost water to drain (see 6.2 Cleaning the appliance) .
Cleaning the appliance
Clean the appliance regularly.
WARNING
Risk of injury and damage as a result of hot steam! Hot steam can lead to burns and can damage the surfaces.
- Do not use any steam cleaners!
NOTICE
Incorrect cleaning damages the appliance! u Do not use cleaning agents in concentrated form.
- Do not use any scouring or abrasive sponges or steel wool.
- Do not use any sharp or abrasive cleaning agents, nor any that contain sand, chloride or acid.
- Do not use chemical solvents.
- Do not damage or remove the type plate on the inside of the appliance. It is important for the customer service.
- Do not pull off, bend or damage cables or other components.
- Do not allow any cleaning water to enter the drain channel, ventilation grille or electrical parts.
- Please use soft cleaning cloths and a universal pH-neutral cleaning agent.
- Please use cleaning and care products suitable for contact with foodstuffs in the appliance interior.
- Empty appliance.
- Pull out the power plug.

- Clean the vent grille regularly.
- Dust deposits increase energy consumption.
- Clean plastic outer and inner surfaces with lukewarm water and a little washing-up liquid.
- Clean drain hole: Remove deposits with a narrow instrument, e.g. a cotton bud.

- Most of the parts can be dismantled for cleaning: see the relevant chapter.
Fig. 33 - Removing the shelf: Lift the shelf at the back and draw it forwards, as illustrated.
Note - If the shelf can no longer be extended as far as originally, then extend the telescopic rails all the way. The ball retainers of the telescopic rails are realigned in the process and maximum extension is restored.
- Only use a damp cloth to clean the telescopic rails. The grease in the runners is for lubrication purposes and must not be removed.

- To disassemble the cabinet:Lift the inner retaining rods upwards, pull the brackets out. This releases the front and rear retaining rods as well as the glass panel.
Fig. 34 - Inserting the shelf: Retract the telescopic rails.
- Place the shelf on the telescopic rails, push it to the back until it audibly engages.
After cleaning: - Wipe dry the appliance and items of equipment.
- Connect the appliance and switch it on again.
When the temperature is sufficiently cold: - Put the food back inside.
Customer service
First check whether you can correct the fault yourself by reference to the list (see 7 Malfunctions) . If this is not the case, please contact the customer service whose address is given in the enclosed customer service list.
WARNING
Risk of injury if repair work is not carried out professionally!
- Have any repairs and action – not expressly specified on the appliance and mains cable carried out by service personnel only. (see 6 Maintenance)
- Read the appliance designation Fig. 35 (1), service No. Fig. 35 (2) and serial No. Fig. 35 (3) off the model plate located inside the appliance on the lefthand side.
Fig. 35 - Notify the customer service, specifying the fault, appliance designation Fig. 35 (1), service No. Fig. 35 (2) and serial No.
Fig. 35 (3). - This will help us to provide you with a faster and more accurate service.
- Keep the appliance closed until the customer service arrives.
- The food will stay cool longer.
- Pull out the mains plug (not by pulling the connecting cable) or switch off the fuse.
Malfunctions
Your appliance is designed and manufactured for a long life span and reliable operation. If a malfunction nonetheless occurs during operation, check whether it is due to a handling error. In this case you will have to be charged for the costs incurred, even during the warranty period. You may be able to rectify the following faults yourself:
- Appliance does not work.
→ The appliance is not switched on.
♦Switching on the appliance.
→ The power plug is not properly inserted in the wall socket.
♦ Check power plug.
→ The fuse of the wall socket is not in order.
♦ Check fuse. - The compressor runs for a long time.
→ The compressor switches to a low speed when little cold is needed. Although the running time is increased as a result, energy is saved.
♦ This is normal in energy-saving models.
→ SuperCool is activated.
♦ The compressor runs for longer in order to rapidly cool the food. This is normal. - A LED on the bottom rear of the appliance (at the compressor) flashes repeatedly every 5 seconds*.
→ There is a fault.
♦ Please contact the after-sales service (see 6 Maintenance). - Excessive noise.
→ Due to the various speed steps, speed-regulated* compressors can generate different running noises. - The sound is normal.
- A bubbling and gurgling noise.
→ This noise comes from the refrigerant flowing in the refrigeration circuit.
♦ The sound is normal. - A quiet clicking noise.
→ The noise is produced whenever the refrigeration unit (motor) automatically switches on or off.
♦ The sound is normal. - A hum. It is briefly a little louder when the refrigeration unit (the motor) switches on.
→ The refrigeration increases automatically when the - SuperCool function is activated, fresh food has just been placed in the appliance or the door has been left open for a while.
♦ The sound is normal.
→ The ambient temperature is too high.
♦ Solution: (see 1.2 Appliance range of use) - A low hum.
→ The sound is produced by air flow noise of the fan.
♦ The sound is normal. - Vibration noises
→ The appliance is not standing firmly on the floor. As a result objects and adjacent units start to vibrate when the refrigerator is running.
♦ Check the installation and realign the appliance.
♦ Keep bottles and jars apart. - Flow sound at the soft stop mechanism.
→ The noise is produced when the door is opened and closed. - Flow sound at the soft stop mechanism.
→ The noise is produced when the door is opened and closed.
♦ The sound is normal. - The temperature display indicates: F0 to F9
→ There is a fault.
♦ Please contact the after-sales service (see 6 Maintenance). - DEMO shines in the temperature display.
→ The demo mode is activated.
♦ Please contact the after-sales service (see 6 Maintenance). - The outer surfaces of the appliance are warm*.
→ The heat of the refrigeration circuit is used to prevent condensate from forming.
♦ This is normal. - The temperature is not cold enough.
→ The door of the appliance is not properly closed.
♦ Close the door of the appliance.
→ Insufficient ventilation.
♦ Keep ventilation grille clear, and clean it.
→ The ambient temperature is too high.
♦ Solution: (see 1.2 Appliance range of use) .
→ The appliance was opened too frequently or for too long.
♦ Wait to see whether the appliance reaches the required temperature by itself. If not, please contact the after sales service (see 6 Maintenance).
→ The temperature is incorrectly set.
♦ Set the temperature to a colder setting and check after 24 hours.
→ The appliance is too close to a source of heat (stove, heater etc).
♦ Change the position of the appliance or the source of heat.
→ The appliance was not inserted properly into the recess.
♦ Check whether the appliance was inserted correctly and the door closes properly. - The internal light does not come on.
→ The appliance is not switched on.
♦ Switch the appliance on.
→ The door was open for longer than 15 minutes.
♦ The internal light switches itself off automatically after about - 15 minutes if the door is open.
→ The LED illumination is faulty or the cover is damaged:The sound is normal. - The temperature display indicates: F0 to F9
→ There is a fault.
♦ Please contact the after-sales service (see 6 Maintenance). - DEMO shines in the temperature display.
→ The demo mode is activated.
♦ Please contact the after-sales service (see 6 Maintenance). - The outer surfaces of the appliance are warm*.
→ The heat of the refrigeration circuit is used to prevent condensate from forming.
♦ This is normal. - The temperature is not cold enough.
→ The door of the appliance is not properly closed.
♦ Close the door of the appliance.
→ Insufficient ventilation.
♦ Keep ventilation grille clear, and clean it.
→ The ambient temperature is too high.
♦ Solution: (see 1.2 Appliance range of use) .
→ The appliance was opened too frequently or for too long.
♦ Wait to see whether the appliance reaches the required temperature by itself. If not, please contact the after sales service (see 6 Maintenance) .
→ The temperature is incorrectly set.
♦ Set the temperature to a colder setting and check after 24 hours.
→ The appliance is too close to a source of heat (stove, heater etc).
♦ Change the position of the appliance or the source of heat.
→ The appliance was not inserted properly into the recess.
♦ Check whether the appliance was inserted correctly and the door closes properly. - The internal light does not come on.
→ The appliance is not switched on.
♦ Switch the appliance on.
→ The door was open for longer than 15 minutes.
♦ The internal light switches itself off automatically after about 15 minutes if the door is open.
→ The LED illumination is faulty or the cover is damaged:
WARNING
Risk of injury due to electric shock!
There are live electrical parts under the cover.
- Only ever have the inside LED light replaced or repaired by customer service or trained personnel.
WARNING
Risk of injury from LED bulb!
The light intensity of the LED light corresponds to hazard group RG 2.
If the cover is defective:
- Do not look directly into the light from close range. It cause injury to the eyes.
The door seal is defective or needs to be replaced for another reason.
→ The door seal can be replaced. It can be replaced without the need for special tools.
- Contact Customer Service (see 6 Maintenance) :
The unit has iced up or condensation has formed.
→ The door seal may have also slipped out of its groove.
- Check to ensure that the door seal is seated properly in the groove.
Grinding noise when opening or closing the door.
→ The position of the door is not adjusted correctly.
- Adjust the position of the door correctly. (see 4.4 Adjusting the contact of the door seal)
Decommissioning
Switching off the appliance
- Press the On/Off button Fig. 2 (1) until the display goes dark.
Release button. - If the appliance cannot be switched off, the child lock function is active (see 5.1 Child proofing).
Taking the appliance out of service
- Empty the appliance.
- Switch off the appliance (see 8 Decommissioning).
- Remove mains connector.
- Clean the appliance (see 6.2 Cleaning the appliance).

- Leave the door open to prevent odour.
Disposing of the appliance
The appliance contains some reusable materials and should be disposed of properly – not simply with unsorted household refuse. Appliances which are no
longer needed must be disposed of in a professional and appropriate way, in accordance with the current local regulations and laws.
Do not damage the refrigeration circuit of the old appliance during removal to prevent the refrigerant contained (information on the type plate) and the oil from escaping in an uncontrolled manner.
For Germany:*
The appliance can be disposed of free of charge in Class 1 collection containers at your local recycling centre. When purchasing a new fridge/freezer and if your sales area is > 400 m 2, the retailer with also take back the old appliance free of charge.*
Decommission the appliance:
- Pull out the plug.
- Cut through the connecting cable.

http://lhg.short-co.de/6rtme![]()
![]()
![]()
Liebherr-Hausgeräte Ochsenhausen GmbH
Memminger Straße 77-79
88416 Ochsenhausen
Deutschland
home.liebherr.com

Fig. 13
Fig. 17
Fig. 18
Fig. 19
Fig. 20
Fig. 21
Fig. 22
Fig. 23






Fig. 33
Fig. 34
Fig. 35
















