
User Guide

230L Upright Fridge
STAINLESS STEEL/WHITE
KAM230UPSFA & KAM230UPSFB
SAFETY & WARNINGS
Thank you for buying this Kogan product. Please read all safety instructions before using this refrigerator.
WARNING: Before using this product, read this user guide carefully and keep it for future reference. The design and specifications are subject to change without prior notice for product improvement.
Warning:
Warning: Risk of fire / flammable materials
THIS appliance is intended to be used in household and similar applications such as staff kitchen areas in shops, offices, and other working environments; farm houses and by clients in hotels, motels, and other residential type environments; bed and breakfast type environments; catering and similar non-retail applications.
This appliance is not intended for use by persons (including children) with reduced physical, sensory or mental capabilities or lack of experience and knowledge, unless they have been given supervision or instruction concerning the use of the appliance by a person responsible for their safety.)
CHILDREN should be supervised to ensure that they do not play with the appliance.
If the supply cord is damaged, it must be replaced by the manufacturer, its service agent, or similarly qualified persons in order to avoid a hazard.
DO not store explosive substances such as aerosol cans with a flammable propellant in this appliance.
THE appliance must be unplugged after use and before carrying out user maintenance on the appliance.
WARNING: Keep ventilation openings, in the appliance enclosure or in the built-in structure, clear of obstruction.
WARNING: Do not use mechanical devices or other means to accelerate the defrosting process, other than those recommended by the manufacturer.
WARNING: Do not damage the refrigerant circuit.
WARNING: Do not use electrical appliances inside the food storage compartments of the appliance, unless they are of the type recommended by the manufacturer.
WARNING: Please abandon the refrigerator according to local regulators for it use of flammable blowing gas and refrigerant.
WARNING: When positioning the appliance, ensure the supply cord is not trapped or damaged.
WARNING: Do not locate multiple portable socket outlets or portable power supplies at the rear of the appliance.
DO not use extension cords or ungrounded (two-prong) adapters.
DANGER Risk of child entrapment. Before you throw away your old refrigerator or freezer: Take off the doors. Leave the shelves in place so that children may not easily climb inside.
THE refrigerator must be disconnected from the source of the electrical supply before attempting the installation of the accessory.
REFRIGERANT and cyclopentane foaming material used for the appliance are flammable. Therefore, when the appliance is scrapped, it shall be kept away from any fire source and be recovered by a special recovering company with a corresponding qualification other than being disposed of by combustion, so as to prevent damage to the environment or any other harm.
FOR EN standard: This appliance can be used by children aged 8 years and above and persons with reduced physical sensory or mental capabilities or lack of experience and knowledge if they have been given supervision or instruction concerning the use of the appliance in a safe way and understand the hazards involved. Children shall not play with the appliance. Cleaning and user maintenance shall not be made by children without supervision. Children aged from 3 to 8 years can load and unload refrigerating appliances. THE necessity that, for doors or lids fitted with locks and keys, the keys be kept out of the reach of children and not in the vicinity of the refrigerating appliance, in order to prevent children from being locked inside.
FOR a freestanding appliance: this refrigerating appliance is not intended to be used as a built-in appliance.
ANY replacement or maintenance of the LED lamps is intended to be made by the manufacturer, its service agent, or a similarly qualified person.
Electricity-related warnings
- Do not pull the power cord when pulling the power plug of the refrigerator. Please firmly grasp the plug and pull out it from the socket directly.
- To ensure safe use, do not damage the power cord or use the power cord when it is damaged or worn.
- Please use a dedicated power socket and the power socket shall not be shared with other electrical appliances. The power plug should be firmly contacted with the socket or else fires might be caused.
- Please ensure that the grounding electrode of the power socket is equipped with a reliable grounding line.
- Please turn off the valve of the leaking gas and then open the doors and windows in case of leakage of gas and other flammable gases. Do not unplug the refrigerator and other electrical appliances considering that spark may cause a fire.
- Do not use electrical appliances on the top of the appliance, unless they are of the type recommended by the manufacturer.
Warnings for using - Do not arbitrarily disassemble or reconstruct the refrigerator, nor damage the refrigerant circuit; maintenance of the appliance must be conducted by a specialist
- The damaged power cord must be replaced by the manufacturer, its maintenance department, or related professionals in order to avoid danger.
- The gaps between the refrigerator door and cabinet is small, be noted not to put your hand in these areas to prevent from squeezing the finger. Please be gentle when closing the refrigerator door to avoid falling articles.
- Do not pick foods or containers in the freezing chamber when the refrigerator is running, especially metal containers in order to avoid frostbite.
- Do not allow any child to get into or climb the refrigerator; otherwise, suffocation or falling injury of the child may be caused.
- Do not place heavy objects on the top of the refrigerator considering that objects may fall when close or open the door and accidental injuries might be caused.
- Please pull out the plug-in case of power failure or cleaning. Do not connect the refrigerator to the power supply within five minutes to prevent damages to the compressor due to successive starts.
Warnings for placement - Do not put flammable, explosive, volatile, and highly corrosive items in the refrigerator to prevent damages to the product or fire accidents.
- Do not place flammable items near the refrigerator to avoid fires.
- The refrigerator is intended for household use, such as storage of foods; it shall not be used for other purposes, such as storage of blood, drugs or biological products, etc.
- Do not store beer, beverage or other fluid contained in bottles or enclosed containers in the freezing chamber of the refrigerator; or otherwise the bottles or enclosed containers may crack due to freezing to cause damages.
Meaning of safety warning symbols:
Prohibition symbol ![]() | This is a prohibition symbol. Any incompliance with instructions marked with this symbol may result in damage to the product or endanger the personal safety of the user. |
| Warning symbol | This is a warning symbol. It is required to operate in strict observance of instructions marked with this symbol; otherwise, damage to the product or personal injury may be caused. |
Caution symbol ![]() | This is a cautioning symboL Instructions marked with this symbol require special caution. Insufficient caution may result in slight or moderate injury or damage to the product. |
This user guide contains important safety information which shall be observed by the users.
OVERVIEW

The picture above is only for reference and may differ to the actual product.
Refrigerating chamber
- The Refrigerating Chamber is suitable for the storage of a variety of fruits, vegetables. beverages and other food consumed in the short term, suggested storage time 3 days to 5 days.
- Cooking foods shall not be put in the refrigerating chamber until cooled to room temperature.
- Foods are recommended to be sealed up before putting into the refrigerator.
- The glass shelves can be adjusted up or down for a reasonable amount of storage space and easy use.
- Drawers, food boxes, shelves, etc. placed according to the position in the picture above are the most energy-efficient
INSTALLATION
Placement
- Before use, remove all packing materials, including bottom cushions, foam pads, and tapes inside of the refrigerator; tear off the protective film on the doors and the refrigerator body.
- Keep away from heat and avoid direct sunlight. Do not place the freezer in moist or watery places to prevent rust or reduction of insulating effect.
- Do not spray or wash the refrigerator; do not put the refrigerator in moist places easy to be splashed with water so as not to affect the electrical insulation properties of the refrigerator.
- The refrigerator is placed in a well-ventilated indoor place; the ground shall be flat and sturdy (rotate left or right to adjust the wheel for leveling if unstable).
- The top space of the refrigerator shall be greater than 30cm and the refrigerator should be placed against a wall with a free distance of more than 10cm to facilitate heat dissipation.
Precautions before installation:
Before installation or adjusting of accessories, it shall be ensured that the refrigerator is disconnected from power. Precautions shall be taken to prevent fall of the handle from causing any personal injury.
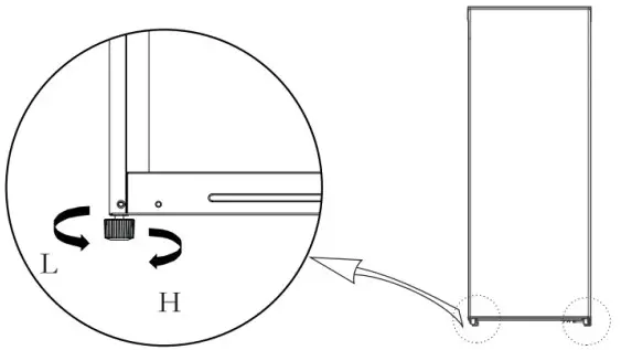
Leveling Feet
Adjusting procedures: - Turn the feet clockwise to raise the refrigerator;
- Turn the feet counter-clockwise to lower the refrigerator;
- Adjust the right and left feet based on the procedures above to a horizontal level

The picture shown is only for reference. The actual configuration will depend on the physical product or statement by the distributor.
Changing door hinge side (Right/Left Change)
Tools required (not supplied):
![]() | ![]() | ![]() | ![]() |
| Phillips head screwdriver | Putty knife or flathead screwdriver | 5/16″ socket and ratchet | Masking tape |
Pre-Installed on the refrigerator, stiU used when door Is reversed:
| No | Parts | Qty |
| 1 | Right upper hinge | x1 |
| Parts pre-installed on the refrigerator, to be used when changing the door: | ||
| No | Parts | Qty |
| 2 | Upper hinge screw | X2 |
| 3 | Left upper hinge cap | x1 |
| 4 | Right upper hinge cover | x1 |
| No | Parts | Qty |
| 5 | Adjustable foot | xl |
| 6 | Lower hinge screw | X3 |
| 7 | Lower hinge assembly | X1 |
- Dismantle the upper hinge cover, screws and upper hinge and remove the plastic screw hole cap from the other side.

- Dismantle the door and the bottom hinge assembly and adjustable foot, then assemble the bottom hinge assembly and adjustable foot on another side. Dismantle the stopper from the right bottom side of the door and assemble it on another side of the door.

- Put the door on the bottom hinge, assemble the shaft of the top hinge as the following picture and assemble the upper hinge, upper hinge cover, and plastic screw hole caps successively.

Notes:
The images above are only for reference and the actual product may differ.
OPERATION
Changing the Light
Any replacement or maintenance of the LED lamps is intended to be made by the manufacturer, its service agent, or a similarly qualified person.
Starting
- Before the initial start, keep the refrigerator still for two hours before connecting it to the power supply.
- Before putting any fresh or frozen foods, the refrigerator shall have run for 2-3 hours or for above 4 hours in summer when the ambient temperature is high.
- Spare enough space for the convenient opening of the doors and drawers or statements by the distributor.
- The picture above is only for reference. The actual configuration will depend on the physical product or statement by the distributor

Energy-saving tips - The appliance should be in the coolest area of the room, away from heat-producing appliances or heating ducts and out of direct sunlight.
- Let hot foods cool to room temperature before placing them in the appliance. Overloading the appliance forces the compressor to run longer. Foods that freeze too slowly may lose quality or spoil.
- Be sure to wrap foods properly and wipe containers dry before placing them in the appliance. This cuts down on frost build-up inside the appliance.
- The appliance storage bin should not be lined with aluminum foil, wax paper, or paper toweling. Liners interfere with cold air circulation, making the appliance less efficient.
- Organize and label food to reduce door openings and extend searches. Remove as many items as needed at one time and close the door as soon as possible.
FUNCTIONS
Temperature-control knob

The picture shown is only for reference. The actual configuration will depend on the physical product or statement by the distributor. If the ambient temperature is higher than normal, for instance in summer, adjust the temperature dial closer towards “MAX”. If the ambient temperature is lower than normal, for instance in winters, adjust the temperature dial closer towards “MIN”.
Note: Please use and adjust between MIN and MAX.
CLEANING & CARE
Overall cleaning
- Dust behind the refrigerator and on the ground shall be timely cleaned to improve the cooling effect and energy saving.
- Check the door gasket regularly to make sure there is no debris. Clean the door gasket with a soft cloth dampened with soapy water or diluted detergent.
- The interior of the refrigerator should be cleaned regularly to avoid odor.
- Please turn off the power before cleaning the interior, remove all foods, drinks, shelves, drawers, etc.
- Use a soft cloth or sponge to clean the inside of the refrigerator, with two tablespoons of baking soda and a quart of warm water. Then rinse with water and wipe clean. After cleaning, open the door and let it dry naturally before turning on the power.
- For areas that are difficult to clean in the refrigerator (such as narrow sandwiches, gaps, or corners), it is recommended to wipe them regularly with a soft rag, soft brush, etc. and when necessary, combined with some auxiliary tools (such as thin sticks) to ensure no contaminants or bacterial accumulation in these areas.
- Do not use soap, detergent, scrub powder, spray cleaner, etc., as these may cause odors in the interior of the refrigerator or contaminated food.
- Clean the bottle frame, shelves, and drawers with a soft cloth dampened with soapy water or diluted detergent. Dry with a soft cloth or dry naturally. Wipe the outer surface of the refrigerator with a soft cloth dampened with soapy water, detergent, etc., and
- Wipe the outer surface of the refrigerator with a soft cloth dampened with soap water, detergent, etc., and then wipe dry.
- Do not use hard brushes, clean steel balls, wire brushes, abrasives (such as toothpaste), organic solvents (such as alcohol, acetone, banana oil, etc.), boiling water, acid or alkaline items, which may damage the fridge surface and interior. Boiling water and organic solvents such as benzene may deform or damage plastic parts.
- Do not rinse directly with water or other liquids during cleaning to avoid short circuits or affect electrical insulation after immersion.

Defrosting
- Power off the refrigerator.
- Remove the food from the refrigerator and place it properly to prevent food from melting.
- Clear the drainpipe (to use soft materials to prevent damage to the liner), Prepare the water containers for defrosting. (pay attention to cleaning the compressor compartment water draining tray. Avoiding overflow to the ground).
- You can use the natural temperature for the natural defrost, you can also use the ice shovel to eliminate the frost (to use plastic or wooden ice shovel, for avoiding damage to the liner or pipe)
- You can also use the appropriate amount of hot water to speed up the defrost, with a dry towel to dry the water after defrosting.
- After defrosting, put back the foods in the cabinet and power on the refrigerator
WARNING: Ensure the refrigerator is unplugged during defrosting and cleaning.
Out of operation - Power failure: In case of power failure, even if it is in summer, foods inside the appliance can be kept for several hours; during the power failure, the times of door opening shall be reduced and no more fresh food shall be put into the appliance.
- Long-time non-use: The appliance shall be unplugged and then cleaned; then the doors are left open to prevent odor.
- Moving: Before the refrigerator is moved, take all objects inside out, fix the glass partitions, vegetable holder, freezing chamber drawers, etc. with tape and tighten the leveling feet close the doors, and fix them with tape.
- During moving: The appliance shall not be laid upside down or horizontally or be vibrated; the inclination during movement shall be no more than 45°.
WARNING: The appliance shall run continuously once it is started. Generally, the operation of the appliance shall not be interrupted; otherwise, the service life may be impaired.
TROUBLESHOOTING
You may try to solve the following simple problems by yourself. If they cannot be solved, please contact the after-sales department.
| Failed operation | •Check whether the appliance is connected to power or whether the plug is in well contact. •Check whether the voltage is too low. •Check whether there is a power failure or partial circuits have tripped. |
| Odor | •Odorous foods shall be tightly wrapped. •Check whether there is any rotten food. •Clean the inside of the refrigerator. |
| Long-time operation of the compressor | •Long operation of the refrigerator is normal in summer when the ambient temperature is high. •It is not recommended to have too much food in the appliance at the same time. •Food shall get cool before being put into the appliance. •The doors are opened too frequently. |
| Light fails to get lit | •Check whether the refrigerator is connected to the power supply and whether the illuminating light is damaged. |
| Doors cannot be properly closed | •The door is stuck by food packages. Too much food is placed •The refrigerator is tilted. |
| Loud noise | •Check whether the floor is level and whether the refrigerator is placed stably. •Check whether accessories are placed at proper locations. |
| The door seal falls to be tight | •Remove foreign matters on the door seal. •Heat the door seal and then cool it for restoration (or blow it with an electrical drier or use a hot towel for heating). |
| Water pan overflows | •There is too much food in the chamber or food stored contains too much water, resulting in heavy defrosting. •The doors are not closed properly, resulting in frosting due to entry of air and increased water due to defrosting. |
| Hot housing | •Heat dissipation of the built-in condenser via the housing, which is normal. •When housing becomes hot due to high ambient temperature and storage of too much food, it is recommended to provide sound ventilation to facilitate heat dissipation. |
| Surface condensation | •Condensation on the exterior surface and door seals of the refrigerator is normal when the ambient humidity is too high. Just wipe the condensate with a clean towel. |
| Abnormal noise | •Buzz: The compressor may produce buzzes during operation and the buzzes are loud particularly upon start or stop. This is normal. •Creak: Refrigerant flowing inside of the appliance may produce creak, which is normal. |
Contact hetp.kogan.com for further assistance.
Disposal
![]() | This marking indicates that this appliance should not be disposed of with other household wastes. To prevent possible harm to the environment or human health from uncontrolled waste disposal, recycle it responsibly to promote the sustainable reuse of material resources. |
Need more information?
We hope that this user guide has given you
the assistance needed for a simple setup.
For the most up-to-date guide for your product,
as well as any additional assistance you may require,
head online to help.kogan.com






























