kogan KA93SCFRDGA Mini 93L Bar Fridge
SAFETY & WARNINGS
WARNING: Risk of fire/flammable materials.
Attention
- Please handle this product with care and inspect it regularly to ensure it is in good working order.
- If the product, power supply cord or plug shows any signs of damage: stop use, unplug and contact Kogan.com support.
- This appliance is not intended for use by persons (including children) with reduced physical sensory or mental capabilities or lack of experience and knowledge unless they have been given supervision or instruction concerning the use of the appliance by a person responsible for their safety.
- Children should be supervised to ensure that they do not play with the appliance.
- If the power supply cord is damaged, it must only be replaced by a Kogan.com technician or a technician on Kogan.com’s behalf.
- Do not store explosive substances such as aerosol cans with flammable propellants inside.
- Unplug the appliance after use and before carrying out any user maintenance.
- Keep all ventilation openings clear of obstructions.
- Do not use mechanical devices or other means to accelerate the defrosting process.
- Do not use extension cords.
- The refrigerant and cyclopentane foaming material used in this appliance is flammable.
- When unplugging the appliance from the power outlet, grasp the plug and pull on it do not pull on the cord.
- Please use a dedicated power socket for this appliance. Do not share the outlet with other appliances via a power board or double adapter.
- Do not disassemble or attempt to repair the refrigerator yourself. Doing so will void the warranty. Kogan.com is not liable for an appliance that has been tampered with.
- The gaps between the refrigerator door and the cabinet arc small. Do not put your hands in this area to avoid having your fingers pinched.
- Do not touch or move items from the freezer compartment with wet hands.
- Do not allow animals or pets to climb into or onto the refrigerator.
- Do not place heavy objects on top of the refrigerator.
- Unplug the unit from the power outlet in the event of a power failure or when cleaning. Avoid plugging the unit back in within the space of 5 minutes after unplugging to avoid damage to the compressor.
- The refrigerator should be used only for the storage of household foods and drinks. It is not designed for storage of blood, drugs or other biological products.
- Do not store beer, beverages or other fluids contained in bottles or enclosed containers in the freezer compartment of the refrigerator, as the bottles may crack due to the freezing process.
- When the refrigerator is being disposed of, the doors should be removed and the power cord should be cut.
WARNING: Risk of child entrapment. Before you throw away your old refrigerator or freezer:
- Take off the doors.
- Leave the shelves in place so that children may not easily climb inside.
OVERVIEW 
The image above is for reference only. The actual layout may differ on the final model.
- The refrigerator chamber is suitable for the storage of a variety of fruits, vegetables, beverages and other foods to be consumed in the short term.
- Cooked foods should not be put into the fridge until they have cooled to room temperature.
- Foods should be seated up before being put into the fridge.
- The glass shelves can be adjusted up and down as desired to create suitable storage spaces.
Note: The storage of too much food after the initial connection to the power may adversely affect the freezing effect of the fridge. Foods stored must not block air outlets.
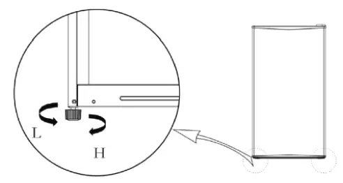
Temperature Dial 
- Turn the temperature control knob to MAX and the internal temperature will lower. Turn the temperature control knob to MIN and the internal temperature will get higher. MED represents Medium, between the two.
- Turning the temperature control to “OFF” will stop the refrigerator from running.
- Please note that MIN, MED and MAX do not represent set levels, and that the fridge’s contents will affect the overall internal temperature. An overstocked fridge will result in lower cooling power.
GETTING STARTED
Placement
Before use, remove oil packaging materials, including bottom cushions, foam pads and tope from inside the refrigerator. Remove any protective films on the doors and body.
Place the refrigerator in a location away from heat and direct sunlight. Do not place the freezer in a moist or watery location to prevent rust. Ensure the refrigerator is placed on a stable, flat surface. Make sure the unit cannot be rocked side to side, back and forth or diagonally.
Ensure there are at least 30cm of space above the top of the refrigerator, plus at least 10cm of space to each side to allow for the dissipation of heat.
Levelling Feet 
- Turn the feet clockwise to raise the refrigerator.
- Turn the feet counterclockwise to lower the refrigerator.
Swapping the Door
To swap the door sides, you will need the following tools (not supplied). 
Step 1: Power off the refrigerator and remove all objects from the door trays.
Step 2: Use masking tape to seal the door shut.
Step 3: Dismantle the upper hinge cover, screws and upper hinge, then remove the plastic screw hole caps from the other side. 
Step 4: Dismantle the bottom hinge assembly and the adjustable foot and then assemble the bottom hinge assembly and adjustable foot on the other side. 
Step 5: Put the door on the bottom hinge and assemble the upper hinge, upper hinge cover and plastic screw hole caps successively.
Remove the masking tape. The hinge swap is complete!
OPERATION 
- Before the initial start, keep the refrigerator still for half an hour before connecting it to a power supply.
- Before putting any fresh or frozen foods into the fridge, the fridge should be left to run for 2-3 hours or if the temperature is especially high during summer, up toil hours.
Ensure there is enough space left for the convenient opening of the drawers and doors. 
Energy Saving Tips
- This appliance should be located in the coolest area of the room, away from heat sources and heating ducts, as well as away from direct sunlight.
- Let hot foods cool to room temperature before placing them in the refrigerator. Overloading the fridge forces the compressor to run longer. Foods that freeze too slowly may lose quality or spoil.
- Be sure to wrap foods properly and wipe containers dry before placing them in the fridge. They will cut down on frost build-up.
- The storage bin should not be lined with aluminium foil, wax paper or paper towelling. These liners will interfere with the cold air circulation, making the appliance less efficient.
- Organise and label your food to reduce door openings and extended searches. Remove as many items as needed at one time and then close the door as soon as possible.
CLEANING & CARE
Cleaning
- Dust behind the refrigerator and on the ground should be cleaned to improve the cooling effect and improve energy efficiency. The interior of the refrigerator should be cleaned regularly to avoid odours. Soft towels or sponges dipped in water and non-corrosive neutral detergents are suggested for cleaning. The freeze should be cleaned with clean water and dry cloth. Open the doors and allow the unit to dry naturally before dosing the doors and turning the power back on.
- Do not use hard brushes, steel wool, wire brushes, abrasives, organic solvents, boiling water, acids or alkaline items to clean the refrigerator.
Defrosting
- Unplug the power cord.
- Remove food and store it properly to avoid food spoilage.
- Clear the drainpipe.
- Race down trays to catch the water as the frost melts.
- You can let the freezer defrost using the natural temperature of the room.
- If there is a large amount of ice, an appropriate amount of hot water can be used to speed up the melting process.
- Once defrosted, close the fridge and plug the unit back into a power outlet.
- After a few hours, you are safe to return the food to the freezer.
Out of Operation
- Power Failure: In the event of a power failure, even in summer, the food inside the refrigerator will stay cool for several hours. While the power is out to ensure that the door is not opened and fresh food is not added to the fridge.
- Not in Use: If you will not be using the fridge for an extended period, you should unplug the refrigerator from the power outlet and dean it thoroughly. The door should be kept open to prevent odours.
- Moving: Before the refrigerator is moved, you should remove all food objects. Then fix all-glass partitions, vegetable holder, freezer drawers etc. with tape. Tighten the levelling feet, then close the doors and scot them with tape. While moving, the refrigerator must not be turned upside down or laid down.
To improve the longevity of the refrigerator, once it has been set up and turned on, it should be disrupted as little as possible. Starting the unit up and shutting it down or moving it, will both significantly shorten the life expectancy of the unit.
TROUBLESHOOTING
If you experience any issues, please check the table below before contacting help.Kogan.com for further assistance.
|
Failed operation | · Check whether the appliance is connected to power or whether the plug is securely connected. · Check whether the voltage is too low. · Check whether there is a power failure or partial circuits have tripped. |
|
Odour | · Odorous foods should be tightly wrapped. · Check whether there is any rotten food. · Clean the inside of the refrigerator. |
|
Extended compressor operation | · Long operation of the refrigerator is normal in summer when the ambient temperature is high. · Avoid overloading the appliance, · Food should be cool before being put into the appliance. · The doors are being opened too frequently. |
| Doors cannot be properly closed | · The door is obstructed by food packages. · The refrigerator is overloaded. · The refrigerator is tilted. |
| Loud noise | · Check whether the floor is level and whether the refrigerator is placed stably. · Check whether accessories are placed at the proper locations. |
| Door seals are loose | · Remove foreign matter from the door seal. · Heat the door seal and then cool it for restoration, using an electrical drier or a hot towel for heating. |
| Water pan overflows | · There is too much food in the chamber, or the food stored contains too much water, resulting in heavy defrosting. · The doors are not closed properly, resulting in frosting due to the entry of air and increased water. |
|
Hot housing | · Heat dissipation of the built-in condenser is occurring via the housing, which is normal. · When housing becomes hot due to high ambient temperature, storage of too much food or shutdown of the compressor, provide adequate ventilation to facilitate heat dissipation. |
| Surface condensation | · Condensation on the exterior surface and door seals of the refrigerator is normal when the ambient humidity is too high. Simply wipe the condensation with a clean towel. |
|
Abnormal noise | · Buzzing: The compressor may produce buzzes during operation and this sound is loud particularly upon start or stop. This is normal. · Creaking: Refrigerant flowing inside of the appliance may produce creaking sounds, which is normal. |
Disposal
This marking indicates that this appliance should not be disposed with other house-hold wastes. To prevent possible harm to the environment or human health from uncontrolled waste disposal, recycle it responsibly to promote the sustainable reuse of material resources.
Need more information?
We hope that this user guide has given you
the assistance needed for a simple set-up.
For the most up-to-date guide for your product,
as well as any additional assistance you may require, head online to help.kogan.com

SAFETY & WARNINGS





















