584L Side by Side Fridge
KAMSBSF527A
Quick Start Guide
Safety & Warnings
Risk of Fire / Flammable Materials
This appliance is intended to be used in a domestic environment only.
- Children should be supervised to ensure that they do not play with the appliance.
- If the power cord is damaged, it must be replaced by Kogan, its service agent or similarly qualified persons in order to avoid a hazard.
- Do not store explosive substances such as aerosol cans with a flammable propellant in this appliance. The appliance has to be unplugged after use and before carrying out user maintenance on the appliance.
- Keep ventilation openings clear of obstruction.
- Do not use mechanical devices or other means to accelerate the defrosting process, other than those recommended by Kogan.
- Do not damage the refrigerant circuit.
- Do not use electrical appliances inside the food storage compartments of the appliance.
- Please dispose of the refrigerator in accordance with local regulation, as it uses flammable gas and refrigerant.
- Do not use extension cords or ungrounded (two-prong) adapters.
- Danger: Risk of child entrapment. Before you throw away your old refrigerator or freezer:
1. Take off the doors.
2. Leave the shelves in place so that children may not easily climb inside. - The refrigerator must be disconnected from the power source before moving the device.
Definition of Safety Warning Symbols
Prohibited Symbol | This is a “Prohibited” symbol. Any incompliance with instructions marked with this symbol may result in damage to the product or endanger the personal safety of the user, possibly causing serious harm. |
Warning Symbol | This is a warning symbol. Any incompliance with instructions marked with this symbol or otherwise damage to the product or personal injury may be caused. |
| This is a cautioning symbol. Instructions marked with this symbol require special caution. Insufficient caution may result in slight or moderate injury or damage to the product. |
This manual contains lots of important safety information which must be read and understood to prevent injury and damage.
- Do not pull the cord directly when disconnecting the refrigerator from power. Please firmly grasp the plug and pull out it from the socket directly.
- To ensure safe use, do not damage the power cord or use the power cord when it is damaged or worn.

- Please use a dedicated power socket and not a power board.
- The power cord should firmly contact the socket to prevent fire.
- Please ensure that the grounding electrode of the power socket is equipped with a reliable grounding line.

- In the event of gas leakage, immediately open any doors and windows. Do not unplug the refrigerator and other electrical appliances considering that spark may cause a fire. Vacate the area and seek assistance from safety personnel.

- Do not use electrical appliances on top of the appliance.
General Usage Warnings

- Maintenance or disassembly of the appliance must be conducted by a specialist.
- A damaged power cord must be replaced by Kogan, its maintenance department or related professionals in order to avoid danger.

- Always take caution when closing the doors of the refrigerator to prevent injury.
- Please be gentle when closing the refrigerator door to avoid falling items.
- Do not pick up foods or containers with wet hands in the freezer when the refrigerator is running, especially metal containers, in order to avoid frostbite.

- Do not allow children near the refrigerator, there is risk of suffocation, falling or other injuries.

- Do not place heavy objects on top of the refrigerator.
- Please pull the plug during power failures or cleaning. Do not connect the freezer to power within five minutes of it being turned off to prevent damages to the compressor due to successive starts.
Placement Warnings
Do not put flammable, explosive, volatile or highly corrosive items in the refrigerator to prevent damage to the product or personal harm.- Do not place flammable items near the refrigerator to avoid fires.

- The refrigerator is intended for domestic use, such as for the storage of foods. It is not intended to be used for other purposes, such as the storage of blood, drugs or biological products, etc.

- Do not store beverages or other bottles containing fluid or enclosed containers in the freezer. Pressure changes may cause bottles or enclosed containers to crack or explode.
Warning
- Refrigerating appliances might not operate consistently (possibility of defrosting of contents or temperature becoming too warm in the frozen food compartment) when used for an extended period of time in temperatures that the refrigerator is not designed.
- Never exceed the storage time recommended by the food manufacturer for any kind of food and particularly for commercially quick-frozen food.
- The precautions are necessary to prevent an undue rise in the temperature of the frozen food while defrosting the refrigerating appliance, such as wrapping the frozen food in several layers of newspaper.
- A rise in temperature of frozen food during manual defrosting, maintenance or cleaning could shorten the storage life of the food.
Overview

| 1 | Freezer door rack |
| 2 | Freezer glass shelf |
| 3 | Freezer compartment drawer |
| 4 | Refrigerator glass shelf |
| 5 | Vegetable crisper |
| 6 | Refrigerator door rack |

| 1 | Freezer door rack |
| 2 | Freezer glass shelf |
| 3 | Freezer storage drawer |
| 4 | Refrigerator glass shelf |
| 5 | Vegetable crisper |
| 6 | Door rack |
| 7 | Water tank (Dispenser) |
| 8 | Large door rack |
| 9 | In-door easy twist ice maker |
Operation

Display
| 1 | Freezer compartment temperature |
| 2 | Refrigerating compartment temperature vacation icon |
| 3 | Quick freezing icon |
| 4 | Quick cooling icon |
| 5 | Lock/unlock icon |
| A | Temperature adjustment of freezer compartment |
| B | Temperature adjustment of refrigerating compartment |
| C | Mode function/setting |
| D | Lock/unlock controls |
Operation
- Lock
/
Unlock
In the unlocked
state, long press the button
for 3 seconds to enter into the locked
state.
In the locked
state, long press the button
for 3 seconds to enter into the unlocked
state.
All the following functions must be operated in the unlocked state: - Vacation Mode

Click the
button to enter into vacation mode. The
icon will light up, the vacation mode will start after locking the control panel. Under vacation mode, the refrigerating compartment is turned off and the fridge displays the freezer compartment temperature which is set to -18°C. - Quick Cooling Mode

Click the
button to enter the quick cooling mode. The icon
will light up, the quick refrigerating mode will start after locking the control panel. - Quick Freezing Mode

Click the
button to enter the quick freezing mode. The icon
will light up, the quick freezing mode will start after locking the control panel. - Temperature Setting of Refrigerating Chamber

Click the temperature adjust button of the refrigerating chamber, and the refrigerating compartment temperature will blink. Then click the button again to set the temperature and you will hear one beep. The setting scope is between 2°C and 8°C. Every time you click the button, the temperature will change by 1°C. After adjusting, the digital tube will keep blinking for 5 seconds. A new temperature setting will take effect after locking the control panel. - Temperature Setting of Freezing Chamber

Click the temperature adjusting button of the freezing chamber
. The freezer compartment temperature will blink. Then click the button
again to set the temperature and you will hear one beep. The setting can be between -16°C and -24°C. Every time you click the button, the temperature will change by 1°C. After adjusting, the digital tube will keep blinking for 5 seconds. The new temperature setting will take effect after locking the control panel. - Storage upon Power Failure
In case of power failure, the instant working state will be locked and maintained till electrification. - Opening Warning and Alarm Control
When the refrigerator door is opened, the opening music will play. If the door is not closed in two minutes, the buzzer will sound once every second till the door is closed. Press any button to stop the buzzer alarm. - Fault Indication
The following warnings appearing on the display indicate corresponding faults of the refrigerator. Though the refrigerator may still have cold storage function with the following faults, the user shall contact a maintenance specialist for maintenance, so as to ensure optimized operation of the appliance.Error Code Fault Description E1 Temperature sensor failure of the refrigerating chamber E2 Temperature sensor failure of the freezing chamber E5 Freezing defrost sensor detection circuit error E6 Communication error E7 Ambient temperature sensor error
Water Dispenser
- Only clean drinking water should be used in the water tank. It is strongly recommended not to use anything other than water in the tank (Example, carbonated soft drinks, milk, juice, etc.).
- Do not fill the water tank past the maximum point as indicated.
- If the dispenser is not flowing as expected, check the water tank is securely in place and flush against the door. Ensure all piping is correctly in place.
- Drain the water tank completely before removing it from the refrigerator.
- Do not remove any of the dispenser’s plumbing in the refrigerator door.
- Clean the water tank before first use and when the dispenser has not been used for a long time (after draining completely).
- It is recommended to clean the water tank every three months. Be careful when opening and closing the door of the water dispenser and water tank to avoid spilling water.

Filling the Water Tank
To fill the water tank, remove the water tank cover. Fill the water tank with clean drinking water.
Using the Water Dispenser
Using a drinking cup or glass, position it under the dispenser nozzle and push it up against the water dispenser lever (refer the image below). Water will begin to flow from the dispenser into the cup or glass. Once the desired amount of water has been reached, simply move the cup or glass away from the dispenser lever and the water will stop flowing automatically as the lever returns to its original position.
In-door Ice Making
To make ice cubes, fill the in-door ice maker tray with clean drinking water using the supplied measuring cup. Be careful when opening/closing the door until the water in the tray is frozen. To remove the cubes from the tray, gently press the button down – it’s located on the right side of the Ice Maker and invert the tray. The cubes will fall into the container below. The container can be emptied into the larger ice cube storage compartment below.
Proper Use of the Refrigerator
Placement
- Before use, remove all packing materials, including the bottom cushions, foam pads and tapes inside the refrigerator. Tear off the protective film on the doors and the refrigerator body.

- Keep away from heat and avoid direct sunlight. Do not place the freezer in moist or watery places to prevent rust or performance issues.
- Do not spray or wash the refrigerator, do not put the refrigerator in moist places where it’s easy to be splashed with water so as not to affect the electrical insulation properties of the refrigerator.

- The refrigerator should be placed in a well-ventilated indoor place. The ground should be flat and sturdy (rotate left or right to adjust the wheels for levelling if unstable).

- The gap at the top of the refrigerator should be greater than 30cm and the refrigerator should be placed against a wall with a gap of more than 10cm to facilitate heat dissipation.

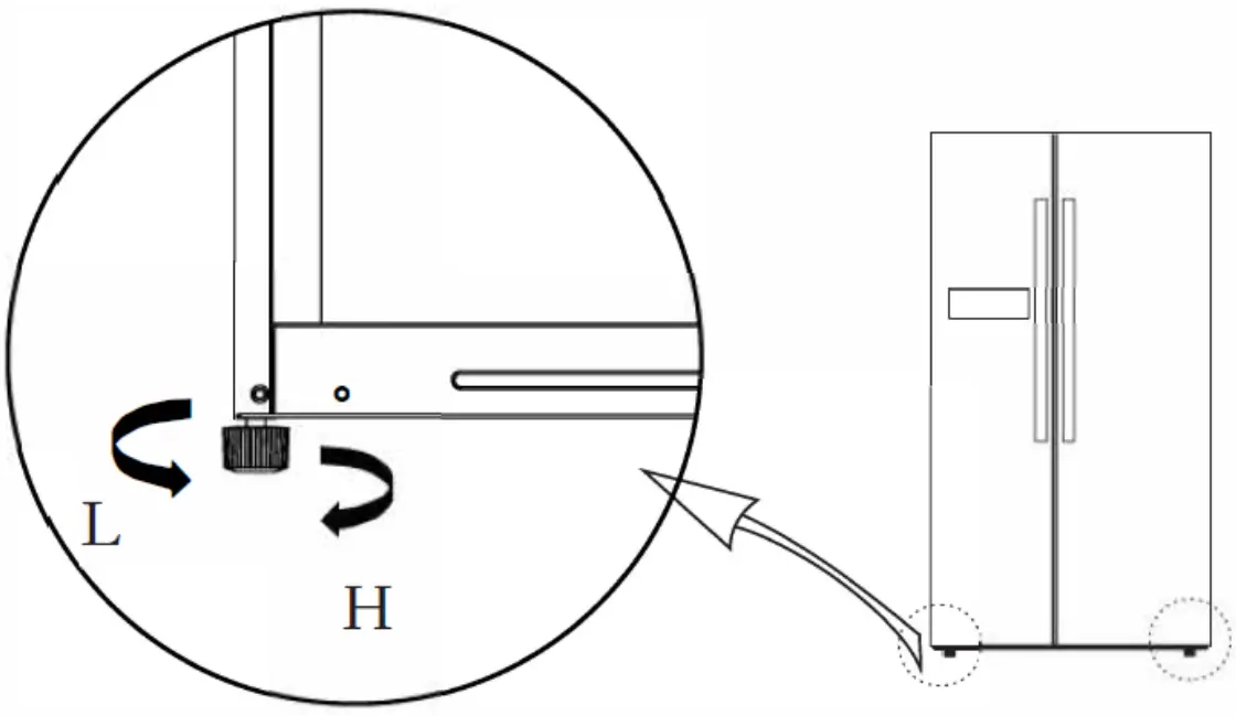
Levelling Feet
- Precautions before operation:
Before levelling, the refrigerator must be disconnected from power.
Before adjusting the levelling feet, precautions must be taken to prevent any personal injury. - Schematic Diagram of Levelling feet

- Adjusting Procedures
a) Turn the feet clockwise to raise the refrigerator.
b) Turn the feet counterclockwise to lower the refrigerator.
c) Adjust the right and left feet based on the procedures above to a horizontal level.
Levelling the Door
- Precautions before Levelling
Before you level the refrigerator, ensure that the refrigerator is disconnected from power.
Before adjusting the door, precautions must be taken to prevent any personal injury. - Schematic Diagram of Levelling the Door Body

When the fridge door is low
Open the door and use a wrench to loosen the locking nut and to rotate the adjusting nut anti-clockwise to raise the height of the door. Once the doors are aligned, tighten the locking nut by rotating it anti-clockwise.
When the fridge door is high
Open the door and use a wrench to rotate the adjusting nut clockwise to lower the height of the door. Once the doors are aligned, tighten the locking nut by rotating it anti-clockwise.
Changing the Light
Any replacement or maintenance of the LED lamps is intended to be made by the Kogan, its service agent or a similarly qualified person.
Using the Fridge

- Before starting the fridge for the first time, keep the refrigerator still for half an hour before connecting it to power.
- Before putting any fresh or frozen foods in the fridge, the refrigerator shall have run for 2-3 hours or for above 4 hours in summer when the ambient temperature is high.

- Spare enough space for the convenient opening of the doors and drawers.
Energy Saving Tips
- The appliance should be located in the coolest area of the room, away from heat-producing appliances or heating ducts and out of direct sunlight.
- Let hot foods cool to room temperature before placing in the appliance. Overloading the appliance forces the compressor to run longer. Foods that freeze too slowly may lose quality or spoil.
- Be sure to wrap foods properly and wipe containers dry before placing them in the appliance. This cuts down on frost build-up inside the appliance.
- Appliance storage bin should not be lined with aluminium foil, wax paper or paper towelling. Liners interfere with cold air circulation, making the appliance less efficient.
- Organise and label food to reduce door opening and extended searching. Remove as many items as needed at one time and close the door as soon as possible.
Cleaning & Care
General Cleaning
- Dust behind the refrigerator and on the ground should be cleaned to improve the function of the fridge and lower energy use. The interior of the refrigerator should be cleaned regularly to avoid odour. Soft towels or a sponge dipped in water and non-corrosive neutral detergents are suggested for cleaning. The freezer should be finally cleaned with clean water and dry cloth. Open the door for natural drying before the power is turned on.
- Do not use hard brushes, steel wool, wire brushes, abrasives such as toothpaste, organic solvents (such as alcohol, acetone, banana oil, etc.), boiling water, acid or alkaline items to clean the refrigerator. Doing so may damage the fridge surface and interior.
- Do not rinse with water so as not to affect the electrical insulation properties.

Please unplug the refrigerator for defrosting and cleaning
Cleaning the Door Tray
- According to the direction arrow in the figure below, use both hands to squeeze the tray and push it upward, then you can take it out.
- After washing the tray, you can adjust its height in accordance with your requirement.

Water Tank & Dispenser Maintenance
Every three months, follow the steps below to maintain the water tank and dispenser.
Note: If detergent is used to clean any part of the dispenser or water tank, flush the system five or six times by filling the water tank and empty through the dispenser to remove any residue that could remain before use.
1) Completely empty the water tank.
2) Remove the water tank by gently pulling forward slightly then lifting away at a 45° angle (refer to the image below). Be careful when disconnecting from the dispenser valve.
3) Clean the water tank and wipe the dispenser valve.
4) Allow the water tank and dispenser valve to dry.
5) Replace the water tank by sliding downward into place and then gently push back into place. Ensure the water tank is aligned with the dispenser valve and is flush against the refrigerator door.
6) Flush the water dispenser five or six times by filling and empty the water tank through the dispenser before use.
Cleaning the Glass Shelf
- The innermost part of the refrigerator contacts the shelves backstop. To remove the shelves, raise them upward.
Adjust or clean the shelves according to your requirement.
Defrosting
- The refrigerator is made based on the air-cooling principle and thus has an automatic defrosting function.
- Frost formed due to a change of season or temperature fluctuation may also be manually removed by disconnecting the appliance from power and by wiping with a dry towel.
Out of Operation
- Power failure: In case of power failure, even if it is in summer, foods inside the appliance can be kept for several hours. During a power failure never open the door or add or remove food from the appliance.
- If the fridge is not going to be used for an extended period: The fridge should be unplugged and then cleaned. The doors should be left open to prevent odour.
- Moving: Before the refrigerator is moved, take all objects inside out of the fridge. Fix the glass partitions, vegetable holder, freezing chamber drawers, etc. with tape and tighten the levelling feet. Close the doors and fix them with tape.
During moving, the appliance shall not be laid upside down or horizontally or be vibrated. The inclination during movement must be no more than 45°.
The appliance should run continuously once it is started. Generally, the operation of the appliance should not be interrupted, otherwise, the service life may be impaired.
Troubleshooting
The following troubleshooting can assist in rectifying issues with your fridge. If the troubleshooting does not rectify the issue, please contact Kogan.
| Not turning on | • Check whether the appliance is connected to power and the plug is fully inserted. • Check whether the voltage is too low. • Check whether there is a power failure or partial circuits have tripped. |
| Odour | • Odorous foods should be tightly wrapped. • Check whether there is any rotten food. • Clean the inside of the refrigerator. |
| Long-time operation of the compressor | • Long operation of the refrigerator is normal in summer when the ambient temperature is high. • It is not suggestible having too much food in the appliance at the same time. • Food should be cool before being put into the appliance. • The doors should not be opened too frequently. |
| Light does not turn on | • Check whether the refrigerator is connected to power and whether the illuminating light is damaged. • Have the light replaced by a specialist. |
| Doors cannot be properly closed | • The door is stuck on food packages. Too much food is in thefridge. • The refrigerator is tilted. |
| Loud noise | • Check whether the floor is level and whether the refrigerator is placed on a stable platform. • Check whether the levelling feet are adjusted correctly. |
| Door seal is not tight | • Remove foreign matters on the door seal. • Heat the door seal and then cool it for restoration (or blow it with an electrical drier or use a hot towel for heating). |
| Water pan overflows | • There is too much food in the chamber or food stored contains too much water, resulting in heavy defrosting. • The doors are not closed properly, resulting in frosting due to entry of air and increased water due to defrosting. |
| Hot housing | • Heat of the built-in condenser dissipates via the housing. It is normal for the housing to become hot as a result of high ambient temperature, storage of too much food, insufficient ventilation, or shutdown of the compressor. |
| Surface condensation | • Condensation on the exterior surface and door seals of the refrigerator is normal when the ambient humidity is too high. Simply wipe the condensation with a clean towel. |
| Abnormal noise | • Buzzing: The compressor may produce buzzing during operation the buzzes may be loud particularly when starting or stopping. This is normal. • Creaking: Refrigerant flowing inside of the appliance may produce a creak, which is normal. |
Disposal
| This marking indicates that this appliance should not be disposed of with other household wastes. To prevent possible harm to the environment or human health from uncontrolled waste disposal, recycle it responsibly to promote the sustainable reuse of material resources. |
User manual is subject to change without notice. For the latest version of your user manual, please visit https://www.kogan.com/usermanual
Prohibited Symbol
Warning Symbol





Do not put flammable, explosive, volatile or highly corrosive items in the refrigerator to prevent damage to the product or personal harm.






























