kogan Top Mount Refrigerator Instruction Manual
MODEL: KA400TPMNTA
General Safety Warning
IMPORTANT SAFETY INSTRUCTIONS READ CAREFULLY AND KEEP FOR FUTURE REFEREN
- Read this manual thoroughly before first use, even if you are familiar with this type of product.
- Th safety precautions enclosed herein reduce the risk of fire, electric shock and injury when correctly adhered to.
- Make sure you understand all instructions and warnings.
- Keep the manual in a safe place for future reference, along with the completed warranty card and purchase receipt. If you sell or transfer ownership of this product, pass on these instructions to the new owner.
- Always follow basic safety precautions and accident prevention measures when using an electrical appliance, including the following:
- IMPORTANT: Pay particular attention to messages that contain the words DANGER,
- WARNING or CAUTION. These words are used to alert you to a potential hazard that canseriously injure you and others. The instructions will tell you how to reduce the chance of injury and let you know what can happen if the instructions are not followed.
- CAUTION RISK OF FIRE This symbol alerts you to take care as this appliance contains a flammable refrigerant (isobutane) and insulation blowing gas (cyclopentane). Do not expose it to high heat, sparks and open flames.
- The refrigerant isobutane (R600a) is contained within the refrigerant circuit of the appliance, a gas with a high level of environmental compatibility, which is nevertheless flammable. During transportation and installation of the appliance, ensure that none of the components of there frigerant circuit become damaged.
- WARNING: Do not damage the refrigerant circuit! Never use an appliance with a damaged refrigerant circuit! If the refrigerant circuit becomes damaged, avoid proximity to open fires and all types of heat and ignition sources. Thoroughly ventilate the room in which the appliance is located.
- DANGER: It is hazardous for anyone other than an authorised service person to service this appliance. In Queensland, the authorised service person MUST hold a Gas Work Authorisation for hydrocarbon refrigerants to carry out servicing or repairs which involve the removal of covers.
- The room for installing the appliance must be at least 1m per 8g of refrigerant. The amount and type of refrigerant in the appliance can be found in the Technical Specifications on page 17 and on the rating plate, found on the appliance.
USAGE CONDITIONS AND RESTRICT
- Domestic use only: This appliance is intended for indoor household use only. It is not intended for commercial, industrial or outdoor use. It is not intended for use in a recreational vehicle.
- Purpose: Do not use this appliance for anything other than its intended purpose. Other uses are not recommended and may cause fire, electric shock or personal injury.
- Attachments: The use of attachments is not recommended by the appliance manufacturer and distributor as they may be hazardous
- Improper use: Damage due to improper use, or repairs made by unqualified personnel will void your warranty. We assume no liability for any eventual damages caused by misuse of the product or noncompliance with these instructions.
- WARNING: Do not use mechanical devices or other means to accelerate the defrosting process, other than those recommended by the manufacturer.
- Usage restriction: This appliance is not intended for use by persons (including children) with reduced physical, sensory or mental capabilities, or lack of experience and knowledge, unless they have been given supervision or instructions concerning use of the appliance by a person responsible for their safety.
- Children: Supervise young children to ensure they do not play with the appliance. Never allow children to operate, play with or crawl inside the appliance.
- WARNING: Do not use electrical appliances inside the appliance, unless they are of the type recommended by the manufacturer.
- Explosive or flammable substances: Do not store explosive substances such as aerosol cans with a flammable propellant in this appliance. Do not store or use petrol or any other flammable vapours and liquids in the vicinity of this or any other appliance. Do not use such substances for cleaning the appliance. The fumes can create a fire hazard or an explosion.
- Damage: Do not use the appliance if the power cord, plug or the appliance itself is damaged. If the cord is damaged, contact the after sales support line and have the cord replaced by qualified personnel in order to avoid a hazard.
- WARNING: Do not damage the refrigerant circuit
- Do not modify: Do not attempt to alter or modify this appliance in any way.
- Repair: Do not attempt to repair or replace any part of this appliance unless it is specifically recommended in this manual. All other servicing should be referred to a qualified technician. Contact the after sales support line for advice.
ELECTRICAL SAFETY
- Voltage: Before connecting and turning on the appliance, ensure the electrical voltage and circuit frequency correspond to that indicated on the appliance rating label.
- Earthing: This appliance should be properly earthed for your safety. The power cord of this appliance is equipped with a three-prong plug for use in standard wall outlets to minimise the possibility of electrical shock. Do not modify the cord and/or plug provided with the appliance. Improper use of the earthed plug can result in the risk of electric shock.
- Connection: This appliance requires a standard 220-240 V AC 50Hz electrical outlet. Do not overload the electrical circuit.
- Power cord: Do not kink or damage the power cord; do not leave it exposed or dangling. Secure it at the back of the appliance so no one steps on or places anything on the cord or against it.Keep the cord out of reach of children. When moving the appliance, make sure not to damage the power cord.
- Auxiliary Items: Do not use an inverter, adaptor or extension cord with this appliance. If the cord is too short, have a qualified electrician install an outlet near the appliance. Use of an extension cord and an inverter can negatively affect the performance of the unit
- Protect from moisture: To protect against the risk of electric shock, do immerse the unit, cord or plug in water or spray it with any other liquid. Do not connect or disconnect the electric plug when your hands are wet. Turn the power switch off before removing the plug from the socket
- WARNING: Disconnect! To reduce the risk of fire, electric shock or personal injury, always unplug the appliance from the socket when not in use, when moving and before cleaning or servicing. Never unplug the unit by pulling the power cord. Always grip the plug firmly and pull straight out from the power point.
- Electrical work: Any electrical work required for the installation of this appliance should be carried out by a qualified electrician.
Never use this appliance with a damaged refrigerant circuit! If the coolant circuit becomes damaged, avoid proximity to open fires and all types of heat sources. The room in which the appliance is located should be ventilated for a few minutes.
INSTALLATION
Heavy: This appliance is heavy, take care when moving it. To avoid back or other injury, consider a two person lift or mechanical aid when installing it. Failure to do so can result in back or other injury.
Damage: When unpacking, check the appliance carefully for damage. If it is damaged, do not install the appliance. Contact our after sales support centre on 1300 256 426 for advice on examination or return of the damaged appliance.
Protect from moisture: Install the appliance in an indoor area protected from wind, rain, water spray or drips.
Protect from heat: Do not install the appliance next to an oven, grill or other source of high heat, or where it will be exposed to direct sunlight for prolonged periods of time.
WARNING: Ventilation: To ensure proper ventilation, keep any ventilation openings, in the appliance enclosure or in the built-in structure, clear of obstructions. Ensure adequate air circulation around the appliance to prevent overheating. Level: Install the appliance level in order to ensure proper operation.
CLEANING AND MAINTENANCE
Disconnect: Unplug the appliance before cleaning or servicing. Failure to do so can result in electric shock, injury or death. Do not connect or disconnect the plug when your hands are wet.
Flames: Do not let open flames or ignition sources enter the appliance.
Flammable/explosive substances: Never clean this appliance with flammable fluids. Do not store or use volatile, flammable or explosive propellants or liquids in or close to this or any other appliance.
The fumes can create a fire hazard or explosion.
Solvents: Do not use solvent based cleaning agents or abrasives on the interior as these may damage or discolour the surfaces of the appliances.
WARNING! Do not use mechanical devices or other means to accelerate the defrosting process. Never use a sharp or metal instrument to remove frost or clean the appliance. Use a plastic scraper, if necessary.
Service: Do not attempt to repair, modify or replace any part of the appliance unless specifically recommended in this manual. Refer all other servicing to a qualified technician, or contact the after sales support line for advice on examination or repair of the appliance.
RESPONSIBLE DISPOSAL
Note: At the end of its working life, do not throw this appliance out with your household rubbish.
Electrical and electronic products contain substances that can have a detrimental effect on the environment and human health if disposed of inappropriately. Observe any local regulations regarding the disposal of electrical consumer goods and dispose of it appropriately for recycling and recovery of the refrigerant and blowing agent. Contact your municipal authorities for advice on recycling facilities in your area.
WARNING! This refrigeration appliance contains flammable refrigerants and insulation blowing gases, which must be removed before disposal. Contact your municipal authorities for any codes or regulations concerning the disposal of such materials.
Getting Started
UNPACKING
- Packaging materials: This appliance has been packaged to protect it against transportation damage. Remove all packaging materials from around and inside the appliance and keep the original packaging carton and materials in a safe place. It will help prevent any damage if the product needs to be transported in the future, and you can use it to store the appliance when it is not in use. In the event the carton is to be disposed of, please recycle all packaging materials where possible.
- Suffocation: Plastic wrapping can be a suffocation hazard for babies and young children, so ensure all packaging materials are out of their reach and disposed of safely.
- Power cord: Unwind the power cord to its full length and inspect it for damage. Do not use the appliance if it or its cord have been damaged or are not working properly. In case of damage, contact our after sales support line for advice on examination, repair or return of the damaged product.
- Read the manual: Read this manual to familiarise yourself with the appliance. Pay particular attention to the safety instructions on the previous pages.
- Clean: To remove any dust from transit and storage, clean the interior and exterior surfaces of the appliance with lukewarm water and a soft cloth. Dry thoroughly. Important: do not use harshor abrasive detergents or powders as these will damage the finish.
Installation
- Two person installation: Use two or more people to move and install the appliance. Failure to do so can result in back or other injury.
- Freestanding design: This appliance is designed to be freestanding only, and should not be recessed or built-in.
- Floor surface: This appliance must be properly positioned on a dry, sturdy, level surface that is strong enough to support it when it is fully loaded.
- Ambient temperature: The ambient temperatures must correspond to the climate class (ST/N) indicated on the rating plate of the appliance: 16°C – 38°C
- Clearances: Ensure that air can circulate freely around the back of the cabinet, which is necessary to cool the compressor and condenser. Allow at least 10cm clear space at the back, 10cm at the sides of the unit and 30cm between the top and any surface above (i.e. a bench top). If you are installing your refrigerator next to a fixed wall, leave sufficient space on the hingeside to allow for the door to swing open.
Do NOT install/use the appliance in the following locations/situations:
- In moist areas or areas of high humidity.
- In a recreational vehicle, or for use with an inverter.
- In direct sunlight, near heat sources, next to an open flame, cooking or heating appliance, or near any other source of high heat.
- Direct sunlight may affect the acrylic coating and heat sources may increase the unit’s power consumption. For best energy efficiency install the appliance in the coolest area of the room.
- In an area with extreme cold ambient temperatures.
- In an area with excessive moisture and high humidity. Make sure it is protected from elements such as wind, rain, water spray or drips.
- In an area where petrol or other explosive and/or flammable liquids or fumes are used or stored.
The fumes can create a fire hazard or explosion.
ELECTRICAL CONNECTION
- WARNING! It must be possible to disconnect the appliance from the mains power supply; the plug must therefore be easily accessible after installation.
- Before plugging in your new bar fridge, let it stand upright for at least 2 hours. This will allow the refrigerant gases to settle into the compressor and reduce the possibility of a malfunction in the cooling system
- The appliance must be earthed. The plug of the power supply cord is equipped with a contact for this purpose. Do not under any circumstances cut or remove the third (earth) prong from the power cord. If the plug does not fit your outlet, consult a licensed electrician for advice to have the outlet changed.
- Plug the unit into a dedicated, properly earthed wall outlet. Ensure that your outlet voltage and circuit frequency correspond to the voltage stated on the rating label.
- Secure the bar fridge’s supply cord behind the unit. Do not leave it exposed or dangling to prevent injury and accidental disconnection from the power supply.
- Adjust the temperature control as described below.
- When first starting up, and after a period out of use, allow the unit to cool down for at least 2–3 hours (4 hours if starting up during warm weather in summer) before placing food in the bar fridge.
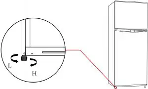
Leveling Feet
SCHEMATIC DIAGRAM OF THE LEVELING FEET

The picture above is only for reference. The actual configuration will depend on the physical product or statement by the distributor
Adjusting procedures:
- Turn the feet clockwise to raise the refrigerator;
- Turn the feet counterclockwise to lower the refrigerator;
- Adjust the right and left feet based on the procedures above to a horizontal level.
Door Reversal (Hinge kit supplied in accessory bag)
LIST OF TOOLS TO BE PROVIDED BY THE USER
- Cross screwdriver

- 5/16˝socket and ratchet

- Putty knife thinblade screwdriver

- Masking tape

- Unplug your refrigerator and remove all food from the door shelves. Remove all food from the inner door liner. Fix the door by tape.

- Remove the left cover plate and the right top hinge cover, then unscrew screws and remove the right top hinge. Keep the screws to reuse.

- Lift the freezer door up and away from your refrigerator.
- Unscrew screws of middle hinge, remove the hinge, hole caps from opposite side, then lift the refrigerator door up and away from your refrigerator. Save the screws to reuse.

- Remove levelling foot attached to the bottom hinge, unscrew screws of the bottom hinge, then remove the bottom hinge from the bottom right side of the refrigerator, reattach levelling foot without the hinge.
- Unscrew the hinge shaft from the right side of the bottom hinge and move it to the left side, then secure the bottom hinge to the bottom left side of the refrigerator, as well as the levelling foot, using the screws you removed previously.

- Dismantle the sleeves from the top right of doors and hole cap from top left of doors, and assemble them on the other side
- Remove the refrigerator door stopper and install it on the other side of the door. Remove the freezer door self-locking block and stopper ,save them to reuse

- Put down the refrigerator door bottom hinge vertically,take out the the middle hinge of the other side from the accessory bag then assemble the middle hinge on.

- Put down the freezer door on the middle hinge vertically, then take out the top hinge and cover of other side from accessory bag, assemble top hinge , hinge cover and hole cover.

CHANGING THE LIGHT
Any replacement or maintenance of the LED lamps is intended to be made by the manufacture, its service agent or similar qualified person.
STARTING
- Before initial start, keep the refrigerator still for two hours before connecting it to power supply.

- Before putting any fresh or frozen foods, the refrigerator shall have run for 2-3 hours, or for above 4 hours in summer when the ambient temperature is high.

- Leave enough space for opening of the doors and drawers.
ENERGY SAVING TIPS
The appliance should be located in the coolest area of the room, away from heat producing appliances or heating ducts, and out of the direct sunlight.
Let hot foods cool to room temperature before placing in the appliance. Overloading the appliance forces the compressor to run longer. Foods that freeze too slowly may lose quality, or spoil. Be sure to wrap foods properly, and wipe containers dry before placing them in the appliance. This cuts down on frost build-up inside the appliance.
Appliance storage bins should not be lined with aluminum foil, wax paper, or paper toweling. Liners interfere with cold air circulation, making the appliance less efficient.
Organize and label food to reduce door openings and extended searches. Remove as many items as needed at one time and close the door as soon as possible.
Structure and functions
REFRIGERATING CHAMBER
- The Refrigerating Chamber is suitable for storage of a variety of fruits, vegetables, beverages and other food consumped in the short term.
- Cooked foods shall not be placed in the refrigerating chamber until cooled to room temperature.
FREEZING CHAMBER
- The low temperature freezing chamber may keep food fresh for a long time and it is mainly used to store frozen foods and making ice.
- The freezing chamber is suitable for storage of meat, fish, rice balls and other foods not to be consumed in short term.
- Chunks of meat are preferably to be divided into small pieces for easy access. Please be noted ood shall be consumed within the shelf time
Note: Storage of too much food during operation after the initial connection to power may adversely affect the freezing effect of the refrigerator. Foods stored shall not block the air outlet; or otherwise the freezing effect will also be adversely affected.
KEY COMPONENTS

Functions
- REFRIGERATOR TEMPERATURE CONTROLLING KNOB

- FREEZER TEMPERATURE ADJUSTING SLIDER

For better user experience, it is recommended to push Freezer Temperature Adjusting Slider to FRIDGE COLDER positiona nd turn the Refrigerator Temperature Controlling Knob to NORMAL position.
If it is not enough cool inside the refrigerator compartment, please check whether the slider is in “FRIDGE COOLER” position.
Maintenance and care of the appliance
OVERALL CLEANING
Dust behind the refrigerator and clean the floor around the appliance to improve the cooling effect and energy efficiency. The interior of the refrigerator should be cleaned regularly to avoid odour.
Soft towels or sponges dipped in water and non-corrosive neutral detergents are suggested for cleaning. The freezer should be cleaned with clean water and a cloth
Do not use hard brushes, clean steel balls, wire brushes, abrasives, such as toothpastes, organic solvents (such as alcohol, acetone, banana oil, etc.), boiling water, acid or alkaline items clean refrigerator considering that this may damage the fridge surface and interior.
Do not rinse with water so as not to affect the electrical insulation properties.
WARNING: Please unplug the refrigerator for defrost and cleaning
DEFROSTING
The refrigerator is made based on the air-cooling principle and thus has automatic defrosting function. Frost formed due to change of season or temperature may also be manually removed by disconnection of the appliance from power supply or by wiping with a dry towel.
OUT OF OPERATION
Power failure: In case of power failure, even if it is in summer, foods inside the appliance can be kept for several hours; during the power failure, reduce the times the door is opened shall be reduced, and no more fresh food shall be put into the appliance.
Long-time nonuse: The appliance shall be unplugged and then cleaned; then the doors are left open to prevent odour.
Moving: Before the refrigerator is moved, remove all objects from inside , fix the glass partitions, vegetable holder, freezing chamber drawers and etc. with tape, and tighten the leveling feet; close the doors and seal them with tape. During moving, the appliance shall not be laid upside down or horizontally, or be vibrated;
the incline during movement shall be no more than 45°.
The appliance shall run continuously once it is started. Generally, the operation of the appliance shall not be interrupted; or otherwise the service life may be impaired.
SPECIFICATIONS
| Product Dimensions W x D x H(mm) | 696 x 685 x 1712 |
| Weight | 68kg |
| Gross Capacity | 400L |
| Energy Rating (MEPS) | 3.5 stars |
Standards: This product complies with AS/NZS 60335.1 and AS/NZS 60335.2.24 electrical safety and with EN 55014-1:2006+A1:2009 A2:2011 for electromagnetic compatibility.
Trouble shooting
| MOSLEM | POSSIBLE CAUSES WHAT TO DO |
| Fated operation | Chock whatnot the applance is connected to power or wheMer the plug is making good contact. Chock whether the votago is too low. Chock Whether there is a power frlure or pergola/ants have tripped |
| Odour | Odorous foods that be tightly wrapped Chock whether there is any rotten food Clean the inide of the refrigerator |
| Long-tme operation of the compressor | Long operation of the refrigerator is normal in SurnMer when the ambient temperature I: high It it not recommended to Nov too much food in me appliance at the same tine Food shall get cool before boo no at into the applance The doom are opened too ?momently |
| Light fees | Chock whatnot the refrigerator it connected to power :wooly and whotner the Illuminahng light is damaged |
| Doors cannot be Proper`, closed | The door I: stuck by food packages. Too much food is :Axed Withn the appliance. The refrigerator is tilted |
| Laud nose | Chock whether the nor is tel and whether the refrigerator 4 al to Igpl Chock whether acct.:ores are placed at proper :ocatora |
| Door zeal loose | Remove foreign matter: on the door seal Heat the door sox and then cool it for restoration (or Plow A with an electrical dna/ or Lae a hot towel for heating) |
| Water pan arerflows | There it too much food in the chamber or rood stored contains too much water. rolultng In heavy defrosting The doors are not closed properly retuning in frosting due to entry of ar and increased Water doe to defrosting |
| Hot housing | Heat dissipation of the bun-in condenser via the hOu:Ing. which is normal When Wolin:id:comes hot duo to hgh ambient temperature. storage of too much food cc the compressor is shut down provide sound Wantilitian to feel Ftite heat dissipation |
| Surface condensation | Condensation on the e4terior surface and door seats of the refrigerator 4 normal when the ambient hurrodey is MO high. Just woe the MOritLs0 with a clean towel. |
| Abnormal Made | Bun: The comprossor may prepuce buzzes piing 01:OratiOn and the tux :es are 1000 |
| laarheWanY upon start or stop. This is normal Croak Refrigerant Mown, inside a the appliance ma-/ produce creak. whch is normal |
Warranty
WARRANTY TERMS & CONDITIONS APPLIANCES: DISHWASHERS, LAUNDRY, REFRIGERATION, COOKING
This document sets out the terms and conditions of the product warranties for Kogan Australia Appliances. It is an important document. Please keep it with your proof of purchase documents in a safe place for future reference should you require service for your Appliance.
- In this warranty
- ‘acceptable quality’ as referred to in clause 10 of this warranty has the same meaning referred to in the ACL;
- ‘ACL’ means Trade Practices Amendment (Australian Consumer Law) Act (No.2) 2010;
- ‘Appliance’ means any Kogan Australia product purchased by you accompanied by this document;
- ASR’ means Kogan Australia authorised service representative;
- ‘Kogan Australia’ means Kogan Australia Pty Ltd of 139 Gladstone St, South Melbourne VIC 3205, ABN 53 152 570351 (“Kogan Australia”) in respect of Appliances purchased in Australia;
- ‘major failure’ as referred to in clause 10 of this warranty has the same meaning referred to in the ACL and includes a situation when an Appliance cannot be repaired or it is uneconomic for Kogan Australia, at its discretion, to repair an Appliance during the Warranty Period;
- ‘Warranty Period’ means:
- where the Appliance is used for personal, domestic or household use (i.e. normal single family use) as set out in the instruction manual, the Appliance is warranted against manufacturing defects in Australia for 24 months following the date of delivery of the Appliance;
- ‘you’ means the purchaser of the Appliance not having purchased the Appliance for re-sale, and ‘your’ has acorresponding meaning
- Th is warranty only applies to Appliances purchased and used in Australia and is in addition to (and does not exclude, restrict, or modify in any way) any non-excludable statutory warranties inAustralia.
- During the Warranty Period Kogan Australia or its ASR will, at no extra charge if your Appliance is readily accessible for service, without special equipment and subject to these terms and conditions, repair or replace any parts which it considers to be defective. Kogan Australia or its ASR may use remanufactured parts to repair your Appliance. You agree that any replaced
Appliances or parts become the property of Kogan Australia. This warranty does not apply to light globes, batteries, filters or similar perishable parts - Parts and Appliances not supplied by Kogan Australia are not covered by this warranty.
- If you reside outside of the service area, you will bear the cost of
- travel of an authorised representative;
- transportation and delivery of the Appliance to and from Kogan Australia’s ASR, in all instances, unless the Appliance is transported by Kogan Australia or its ASR, the Appliance istransported at the owner’s cost and risk while in transit to and from Kogan Australia’s ASR.
- Proof of purchase is required before you can make a claim under this warranty.
- You may not make a claim under this warranty unless the defect claimed is due to faulty or defective parts or workmanship. Kogan Australia is not liable in the following situations (which are not exhaustive):
- the Appliance is damaged by:
- accident
- misuse or abuse, including failure to properly maintain or service
- normal wear and tear
- power surges, electrical storm damage or incorrectpower supply
- incomplete or improper installation
- incorrect, improper or inappropriate operation
- insect or vermin infestation
- failure to comply with any additional instructions supplied with the Appliance;
- the Appliance is modified without authority from Kogan Australia in writing;
- the Appliance’s serial number or warranty seal has been removed or defaced;
- the Appliance was serviced or repaired by anyone other than
Kogan Australia, an authorised repairer or ASR
- the Appliance is damaged by:
- This warranty, the contract to which it relates and the relationship between you and Kogan Australia are governed by the law applicable where the Appliance was purchased.
- To the extent permitted by law, Kogan Australia excludes all warranties and liabilities (other than as contained in this document) including liability for any loss or damage whether direct or indirect arising from your purchase, use or non use of the Appliance.
- For Appliances and services provided by Kogan Australia in Australia, the Appliances come with a guarantee by Kogan Australia that cannot be excluded under the Australian Consumer Law. You are entitled to a replacement or refund for a major failure and for compensation for any other reasonably foreseeable loss or damage. You are also entitled to have the Appliance repaired or replaced if the Appliance fails to be of acceptable quality and the failure does not amount to a major failure. The benefits to you given by this warranty are in addition to your other rights and
remedies under a law in relation to the Appliances or services to which the warranty relates. - At all times during the Warranty Period, Kogan Australia shall, at its discretion, determine whether repair, replacement or refund will apply if an Appliance has a valid warranty claim applicable to it.
- To enquire about claiming under this warranty, please follow these steps:
- carefully check the operating instructions, user manual and the terms of this warranty
- have the model and serial number of the Appliance available;
- have the proof of purchase (e.g. an invoice) available;
- elephone the numbers shown below
- You accept that if you make a warranty claim, Kogan Australia and its ASR may exchange information in relation to you to enable Kogan Australia to meet its obligations under this warranty.
IMPORTANT
Before calling for service or spare parts, please ensure that the steps in point 12 have been followed.
Contact
Please call 1300 2 KOGAN (56426)
The Australian Consumer Law requires the inclusion of the following statement with this warranty: Our goods come with guarantees that cannot be excluded under the Australian Consumer Law. You are entitled to a replacement or refund for a major failure and for compensation for any other reasonably foreseeable loss or damage. You are also entitled to have the goods repaired or replaced if the goods fail to be of acceptable quality and the failure does not amount to a major failure.
IMPORTANT WARRANTY INFORMATION
Your product has had a long and adventurous journey. The packaging may look like it’s suffering from a little travel sickness, but your product should still be in perfect condition and ready to enjoy.
We recommend that you keep your original product packaging if at all possible because, in the unlikely event that you require a warranty repair, we cannot collect and transport your item if it is not safely or securely packaged.
For products that require a user manual, it can be downloaded from kogan.com/usermanuals/
If you need help using your product or for any other queries, please visit help.kogan.com




































