K 2340 Comfort refrigerator
User Guide

Appliance at a glance
Description of appliance and equipment
Note
- Place food inside the appliance as shown in the diagram.
This allows the appliance to save energy during operation. - Shelves, drawers, and baskets are arranged for optimum energy efficiency on delivery.

| (1) Thermostat housing, interior lighting | (7) Vegetable bins |
| (2) Shelf, adjustable | (8) Coldest area |
| (3) Egg tray | (9) Drain opening |
| (4) Bottle rack* | (10) Type plate |
| (5) Door rack, adjustable | (11) Adjustable feet, rear rollers for transport |
| (6) Door rack for large bottles |
Appliance range of use Intended use
The appliance is only suitable for cooling food products in a domestic or household-like environment. This includes, for example, use:
- in staff kitchens, bed and breakfast establishments,
- by guests in country houses, hotels, motels, and other accommodation,
- for catering and similar services in the wholesale trade.
The appliance is not suitable for freezing food;
The appliance is not suitable as a built-in unit.
All other types of use are not permitted.
Foreseeable misuse
The following applications are expressly forbidden:
- Storing and refrigerating medicines, blood plasma, laboratory preparations or similar substances and products based on the Medical Device Directive 2007/47/EC
- Use in areas at risk of explosions
Misusing the appliance may lead to damage to the goods stored or they may spoil.
Climate classifications
Depending on the climate classification the appliance is designed to operate in restricted ambient temperatures. The climate classification applying to your appliance is printed on the rating plate.
Note
- Keep to the specified ambient temperatures in order to guarantee that the appliance works properly.
| Climate classification | for ambient temperatures of |
| SN | 10 °Cto 32 °C |
| N | 16 °Cto 32 °C |
| ST | 16 °C to 38°C |
| T | 16 °Cto43 °C |
Conformity
The refrigerant circuit has been tested for leaks. This appliance complies with the applicable safety stipulations and with directives 2014/35/EU, 2014/30/EU, 2009/125/EG, 2011/65/EU, and 2010/30/EU.
Product data
Product data is included with the appliance, as per Directive (EU) 2017/1369. The complete product data sheet is available on the Liebherr website under Downloads.
EPREL database
Details about energy labeling and ecodesign requirements will be available on the European product database (EPREL) from 1st March 2021. You can access the product database at the following link: https://eprel.ec.europa.EU/ You will be asked to enter the model ID. You can find the model ID on the nameplate.
Installation dimensions

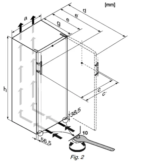
| Model | a | c | c’ | d | e | e’ | g | h |
| K 2340 | 550 | 560 | 592 | 1131x | 6301 | 660x | 615X | 1140 |
xFor appliances supplied with wall spacers, the measurement increases by 35 mm (see 4.2 Installing the appliance).
Saving energy
- Pay attention to good ventilation. Do not cover ventilation holes or grids.
- Do not install the appliance in direct sunlight, next to an oven, radiator, or similar.
- Energy consumption depends on the installation conditions, e.g. the ambient temperature (see 1.2 Appliance range of use). A warmer ambient temperature can increase energy consumption.
- Open the appliance for as short a time as possible.
- The lower the temperature is set the higher the energy consumption.
- Sort your food: home.liebherr.com/food.
- Keep all food properly packed and covered. This prevents frost from forming.
- Only take food out for as long as necessary so that it doesn’t warm up too much.
- Inserting warm food: allow to cool down to room temperature first.
Dust deposits increase energy consumption:
- For refrigerators with heat exchangers dust the metal grid on the back of the appliance once a year.
General safety information
Danger for the user:
- This device can be used by children and people with impaired physical, sensory or mental abilities or with a lack of experience and knowledge provided that they are supervised or have received instruction in the safe use of this device, and about the resulting hazards. Children must not play with this appliance. Cleaning and user maintenance work must not be carried out by children without adult supervision. Children aged between 3 and 8 are allowed to load and unload the appliance. Children below the age of 3 must be kept away from the appliance unless they are under continuous adult supervision.
- When disconnecting the appliance from the supply, always take hold of the plug. Do not pull the cable.
- In the event of a fault pull out the mains plug or deactivate the fuse.
- Do not damage the mains’ power cable. Do not operate the appliance with a defective main power cable.
- Repairs, interventions on the appliance, and the replacement of the main connection line may only be carried out by After-Sales Service or other suitably trained specialist personnel.
- Only assemble, connect and dispose of the appliance according to the instructions.
- Please keep these instructions in a safe place and pass them on to any subsequent owners.
Fire hazard:
- The coolant used (information on the model plate) is eco-friendly but also flammable. Any leaking coolant may ignite.
• Do not damage the refrigerant circuit pipes.
• Do not handle ignition sources inside the appliance.
• Do not use electrical appliances inside the appliance (e.g. steam cleaners, heaters, ice cream makers, etc.).
• If the refrigerant leaks: remove any naked flames or ignition sources from the vicinity of the leakage point. Properly air the room.
Inform customer services. - Do not store explosives or sprays using combustible propellants such as butane, propane, pentane, etc. in the appliance. To identify these spray cans, look for the list of contents printed on the can, or a flame symbol. Gases possibly escaping may ignite due to electrical components.
- Keep burning candles, lamps, and other items with naked flames away from the appliance so that they do not set the appliance on fire.
- Please be sure to store alcoholic drinks or other packaging containing alcohol in tightly closed containers. Any alcohol that leaks out may be ignited by electrical components.
The danger of tripping and falling:
- Do not misuse the plinth, drawers, doors, etc. as a step or for support. This applies particularly to children.
The danger of food poisoning:
- Do not consume food that has been stored too long.
The danger of frostbite, numbness, and pain:
- Avoid prolonged skin contact with cold surfaces or refrigerated/frozen goods or take protective measures, e.g wear use gloves.
The danger of injury and damage:
- Hot steam can lead to injury. Do not use electrical heating or steam cleaning equipment, open flames, or defrosting sprays to defrost.
- Do not use sharp implements to remove the ice.
The danger of crushing:
- Do not hold the hinge when opening and closing the door. Fingers may get caught.
Symbols on the appliance:
The symbol can be located on the compressor. It refers to the oil in the compressor and indicates the following danger: Swallowing or inhaling can be fatal.
This is only relevant for recycling. There is no danger in normal operation.
This symbol is found on the compressor and indicates the danger of flammable materials.
Do not remove the sticker.
A sticker to this effect may be applied to the rear of the appliance. It refers to the foam-padded panels in the door and/or the housing. This is only relevant for recycling. Do not remove the sticker.
Please observe the specific information in the other sections:
![]() | DANGER | identifies a situation involving direct danger that, if not obviated, may result in death or severe bodily injury. |
![]() | WARNING | identifies a dangerous situation that, if not obviated, may result in death or severe bodily injury. |
![]() | CAUTION | identifies a dangerous situation that, if not obviated, may result in minor or medium bodily injury. |
| NOTICE | identifies a dangerous situation that, if not obviated, may result in damage to property. | |
| Note | It contains useful instructions and tips. |
Controls and displays
Operating and control elements

(1) Temperature control
Putting into operation
Transporting the appliance
- Transport the appliance only in suitable packaging.
- Transport the appliance upright.
- Do not transport the appliance on your own.
Installing the appliance
WARNING
Fire hazard due to dampness! If live parts or the mains lead become damp this may cause short circuits.
- The appliance is designed for use in enclosed areas. Do not operate the appliance outdoors or in areas where it is exposed to splash water or damp conditions.
WARNING
Risk of fire due to short circuit!
If the mains cable/connector of the appliance or of another appliance touches the rear of the appliance, the mains cable/ connector may be damaged by the appliance vibrations, leading to a short circuit.
- Stand the appliance so that it is not touched by connectors or main cables.
- Do not plug the appliance or any others into sockets located near the rear of the appliance.
WARNING
Fire hazard due to refrigerant!
The coolant used is eco-friendly but also flammable. Any leaking coolant may ignite.
- Do not damage the piping of the refrigeration circuit.
WARNING
Fire hazard and danger of damage!
- Do not place appliances emitting heat e.g. microwaves, toasters, etc. on the appliance!
WARNING
Blocked ventilation openings pose a risk of fire and damage!
- Always keep the ventilation openings clear. Always ensure that the appliance is properly ventilated!
NOTICE
Risk of damage due to condensate!
- Do not install the appliance directly alongside a further refrigerator/freezer.
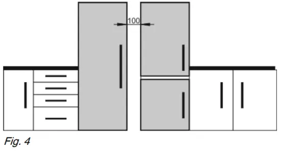
Note
If you have several appliances next to one another, leave a gap of 100mm between appliances. Otherwise, condensation will build up between the units.

- Before you connect the appliance, report any damage immediately to the delivery company.
- The floor of the installation site must be horizontal and even.
- Do not install the appliance in direct sunlight, next to an oven, radiator, or similar.
- Install the appliance with the rear panel up against the wall and always use the supplied wall spacers (see below).
- Only ever move the appliance when it is empty.
- The surface supporting the appliance must be at the same level as the surrounding floor.
- Do not install the appliance on your own.
- The more coolant there is in the appliance, the larger the room in which the appliance is installed must be. If the room is too small, any leak may create a flammable mixture of gas and air. For each 8 g of coolant, the installation space must be at least 1 m 3 . Information on the coolant is on the model plate inside the appliance.
- Detach the connecting cable from the rear of the appliance, removing the cable holder at the same time because otherwise there will be vibratory noise!
- Remove the protective film from the decorative trims.
- Remove all transit supports.
The spacers supplied with some appliances must be used to achieve the stated energy consumption. These will extend the depth of the appliance by approx. 5 mm. The appliance is fully functional if the spacers are not used, but does have a slightly higher energy consumption.

- For appliances supplied with wall spacers, mount the wall spacers on the back of the appliance, left and right above the compressor.
- Dispose of packaging material (see 4.5 Disposing of packaging).
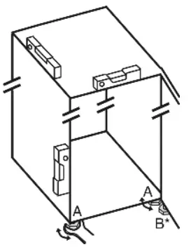
- Align the appliance so that it stands firmly and on a level by applying the accompanying spanner to the adjustable-height feet (A) and using a spirit level.
- Then support the door: Extend the adjustable foot at the turn hinge (B) until it rests on the floor and then makes a further 90° turn.

Note
- Clean the appliance (see 6.2 Cleaning the appliance).
If the appliance is installed in a very damp environment, condensate may form on the outside of the appliance.
- Always see good ventilation at the installation site.
Changing over the door hinges
You can change over the door hinges if necessary.
Ensure that the following tools are to hand:
- Torx 25
- Torx 15
- Screwdriver
- If necessary, a cordless screwdriver
- Second person for fitting work, if needed
Putting into operation
Removing the door
Note
- Remove any food from the door racks before removing the door, so that no food falls out.

- Remove the spacer Fig. 5 (13) from under the left-hand side of the door.

- Pull the cover Fig. 6 (1) forwards and upwards.
- Liftoff the cover Fig. 6 (2).
CAUTION
Risk of injury if the door tips!
- Take good hold of the door.
- Set down the door carefully.
- Unscrew top bearing block Fig. 6 (3) (2x Torx® 25) Fig. 6 (4) and lift off in an upward direction.
- Lift out the door and set aside.
Relocating the bearing components

- Unscrew fastening screws Fig. 7 (21).
- Remove the lower bearing block Fig. 7 (23), complete with bearing bolt Fig. 7 (24), washer Fig. 7 (26), and adjustable foot Fig. 7 (22).
- Unscrew the bearing bolt Fig. 7 (24), complete with washer
Fig. 7 (26), re-locate it into the mounting hole on the opposite side of the bearing block and tighten again. - Carefully remove the cover plate Fig. 7 (25) and re-locate it to the other side.
- Screw on the lower bearing block Fig. 7 (23), complete with bearing bolt Fig. 7 (24), washer Fig. 7 (26) and adjustable foot Fig. 7 (22) to the new hinge side, with the help of a cordless screwdriver, if necessary, and tighten (with 4 Nm) once again.
Transferring the handle
Lift the stopper Fig. 8 (30) out of the door-bearing bush and transfer it.

- Detach door handle Fig. 8 (31), stoppers Fig. 8 (32) and pressure plates Fig. 8 (33) plates and transfers to the opposite side
- When fitting the pressure plates at the opposite side, pay attention that they engage properly.
Fitting the lower door
- Lower the door from above onto the bearing bolt Fig. 7 (24).
- Close the door.
- Install the upper bearing block Fig. 6 (3) on the new hinge side and in the door.
- Screw-in the upper bearing block tightly (with 4 Nm) (2x Torx® 25) Fig. 6 (4). Use a cordless screwdriver if necessary.
- Slide on the cover Fig. 6 (1) on the opposite side from the outside and snap it into place.
- Slide on the cover Fig. 6 (2) on the opposite side from above until it snaps into place.
- Unscrew the adjustable foot Fig. 7 (22) on the lower bearing block Fig. 7 (23) until it touches the floor.

- Insert the spacer Fig. 9 (13) back under the right-hand side of the door, as this is important for the stability of the appliance.
WARNING
Risk of injury due to the door dropping out!
If the bearing parts are not screwed into place firmly enough, the door may drop out. This may lead to severe injuries. What is more, the door may not close and therefore the appliance may fail to cool properly.
- Screw the turn hinges firmly into place with 4 Nm.
- Check all of the screws and retighten if necessary.
Insertion into a row of kitchen units

| (1) Stack cabinet | (3) Kitchen cabinet |
| (2) Appliance | (4) Wall |
x For appliances supplied with wall spacers, the measurement increases by 35 mm (see 4.2 Installing the appliance) .
The appliance can be built into kitchen units. A top cupboard
Fig. 10 (2) can be added above the appliance in order to bring the appliance Fig. 10 (1) up to the height of the fitted kitchen units.
When installing with kitchen units (max. depth 580 mm), the appliance can be positioned directly next to the kitchen cabinet Fig. 10 (3). The appliance will project by 34 mm x at the sides x and 50 mm in the center of the appliance in relation to the kitchen cabinet front.
NOTICE
The danger of overheating due to insufficient air ventilation!
The compressor may be damaged if there is insufficient air ventilation.
- Take care to ensure adequate air ventilation.
- Observe the ventilation requirements.
Ventilation requirements:
- At the back of the stack cabinet, there has to be a ventilation duct of at least 50 mm depth throughout the width of the stack cabinet.
- The cross-section of the ventilation gap below the ceiling must be at least 300 cm2.
- the larger the ventilation space, the more energy-saving the appliance is in operation.
If the appliance is installed with the hinges next to a wall Fig. 10 (4), the distance between appliance and wall has to be at least 40 mm. This corresponds to the projection of the handle when the door is open.
Disposing of packaging
WARNING
Danger of suffocation due to the packing material and plastic film!
- Do not allow children to play with packing material.
The packaging is made of recyclable materials:
- corrugated board/cardboard
- expanded polystyrene parts
- polythene bags and sheets
- polypropylene straps
- nailed wooden frame with polyethylene panel*
- Take the packaging material to an official collecting point.
Connecting the appliance
NOTICE
Failure to connect properly
Damage to the electronics.
- Do not use a standalone inverter.
- Do not use an energy-saving plug.
WARNING
Failure to connect properly
Fire hazard.
- Do not use an extension cable.
- Do not use distributor blocks.
The type of current (alternating current) and voltage at the installation site have to conform with the data on the type plate (see 1 Appliance at a glance) .
The type of current (alternating current) and voltage at the installation site have to conform with the data on the type plate (see 1 Appliance at a glance) .
The socket must be properly earthed and fused. The tripping current for the fuse must be between 10 A and 16 A.
The socket must be easily accessible so that the appliance can be quickly disconnected from the supply in an emergency. It must be outside the area of the rear of the appliance.

- Check the electrical connection.
- Plugin the power plug.
Switching on the appliance
- Turn the temperature control Fig. 3 (1) to the right, from the 0 sets to point 3.
- The interior light is on.
Control
Refrigerating food
The coldest areas are directly above the vegetable compartments and along the back wall.
The warmest area is at the top front and in the door.
- Store perishable foods such as ready-to-eat meals, meat, and sausages in the coldest area. Place butter and preserves in the top area and in the door. (see 1 Appliance at a glance)
- Use reusable plastic, metal, aluminum, glass containers, and foil wrap to store food.
- Always store raw meat and fish in clean, sealed containers on the bottom shelf of the refrigerator, to prevent them from coming into contact with or dripping onto other foods.
- Foods that easily absorb or give off smell or taste, as well as liquids, should be stored in sealed containers or covered.
- Use the front area of the base shelf only to temporarily set down refrigerated foods, for example while rearranging or sorting the contents. Remember not to leave refrigerated foods here as they could shift to the back or tip over when you close the door.
- Do not pack foods too closely together, as the air needs to circulate.
Setting the temperature
The temperature can be set between 1 (warmest temperature, minimum cooling performance) and 7 (coldest temperature, maximum cooling performance).
The middle control setting is recommended, then a middle temperature of approx.5 °C is established in the refrigerator compartment.
- Turn the temperature control in Fig. 3 (1).
The temperature depends on the following factors:
- the door opening frequency
- how long has the door is open for
- the room temperature at the site where the appliance is installed
- the type, temperature, and quantity of frozen food
- Adjust the temperature as needed, using the control.
Shelves
Moving or removing shelves
The shelves are prevented from being pulled out accidentally by pulling out stops.

- Lift the shelf and pull forward a little.
- Adjust the height of the shelf. To do this move the slots along with the supports.
- In order to remove the shelf fully, place it at a slant and pull it out towards the front.
- Insert shelf with the raised edge pointing upwards at the back.
- The food does not freeze onto the rear wall.
Dismantling shelves
- The shelves can be dismantled for cleaning.

Door racks
Moving the storage rack
- Remove storage rack according to illustration.

Maintenance
Defrosting
Defrosting refrigerator compartment
The fridge compartment defrosts automatically. The defrosted water will evaporate. Water drops or a thin layer of frost or ice can form on the back wall; this is a completely normal part of the machine’s function.
- Clean the drain hole at regular intervals to allow the defrost water to drain (see 6.2 Cleaning the appliance).
Cleaning the appliance
Clean the appliance regularly.
WARNING
Risk of injury and damage as a result of hot steam!
Hot steam can lead to burns and can damage the surfaces.
- Do not use any steam cleaners!
NOTICE
Incorrect cleaning damages the appliance!
- Do not use cleaning agents in concentrated form.
- Do not use any scouring or abrasive sponges or steel wool.
- Do not use any sharp or abrasive cleaning agents, nor any that contain sand, chlorine, or acid.
- Do not use chemical solvents.
- Do not damage or remove the type plate on the inside of the appliance. It is important for customer service.
- Do not pull off, bend, or damage cables or other components.
- Do not allow any cleaning water to enter the drain channel, ventilation grille, or electrical parts.
- Please use soft cleaning cloths and a universal pH-neutral cleaning agent.
- Please use cleaning and care products suitable for contact with foodstuffs in the appliance interior.
- Empty appliance.
- Pull out the power plug.

- Clean the vent grille regularly.
- Dust deposits increase energy consumption.
- Clean plastic outer and inner surfaces with lukewarm water and a little washing-up liquid.
- Only use a soft clean cloth to wipe sidewalls with a paint finish. In the case of heavy soiling, use lukewarm water with a neutral cleaning agent.
- Use only a soft clean cloth to wipe door surfaces with a paint finish. In the case of heavy soiling, use a little water or a neutral cleaning agent. A micro-fiber cloth can be used optionally.
Do not treat the lettering on the painted door surfaces with harsh, abrasive agents. Wipe off any dirt with a soft cloth and some water or neutral cleaner. - Clean drain hole: Remove deposits with a narrow instrument, e.g. a cotton bud.

- Most of the parts can be dismantled for cleaning: see the relevant chapter.
- Clean drawers by hand with lukewarm water and a little washing-up liquid.
- Clean other items of equipment by hand with lukewarm water and a little washing-up liquid.
After cleaning:
- Wipe dry the appliance and items of equipment.
- Connect the appliance and switch it on again.
When the temperature is sufficiently cold: - Put the food back inside.
Changing the interior light
In the device, an LED lamp is used as standard illumination for the interior space.
When an incandescent bulb is used:
- Use an incandescent lamp with max. 15 W and E14 socket.
- Power supply (AC) and voltage at the operating point must comply with the details on the rating plate (see 1 Appliance at a glance).
When a LED is used:
- Use only the original LED lamp from the manufacturer.
The lamp can be obtained through customer service or a specialist dealer (see 6.4 Customer service).
WARNING
Risk of injury from LED light!
The light intensity of the LED lighting corresponds to risk group RG 2.
If the cover is removed:
- Do not look directly into the light at close quarters through optical lenses. Doing so may damage your eyes.
WARNING
Fire hazard from the LED light!
If different LED lights are used, there is a danger of overheating or fire.
- Use the manufacturer’s original LED light.
If the lamp is defective, exchange it as follows:

- Switch off the appliance.
- Pull out the power plug or switch off the fuse.
- As shown in the diagram, the press opens the lamp cover on the inside at the front and pulls it off to the side.
- Replace the lamp.
- Put on the lamp cover again and snap it into place.
Customer service
WARNING
Risk of injury if repair work is not carried out professionally!
- Have any repairs and action – not expressly specified on the appliance and mains cable carried out by service personnel only. (see 6 Maintenance)
- Read the appliance designation Fig. 12 (1), service No. Fig. 12 (2), and serial No. Fig. 12 (3) of the type plate located inside the appliance on the lefthand side.

- Notify the customer service, specifying the fault, appliance designation Fig. 12 (1), service No. Fig. 12 (2), and serial No. Fig. 12 (3).
- This will help us to provide you with a faster and more accurate service.
- Keep the appliance closed until the customer service arrives.
- The food will stay cool longer.
- Pull out the mains plug (not by pulling the connecting cable) or switch off the fuse.
Malfunctions
Your appliance is designed and manufactured for a long life span and reliable operation. If a malfunction nonetheless occurs during operation, check whether it is due to a handling error. In this case, you will have to be charged for the costs incurred, even during the warranty period. You may be able to rectify the following faults yourself:
The appliance does not work.
- The appliance is not switched on.
- Switching on the appliance.
- The power plug is not properly inserted into the wall socket.
- Check the power plug.
- The fuse of the wall socket is not in order.
- Check the fuse.
The compressor runs for a long time. - The compressor switches to a low speed when a little cold is needed. Although the running time is increased as a result, energy is saved.
- This is normal in energy-saving models.
A LED on the bottom rear of the appliance (at the compressor) flashes regularly every 15 seconds*. - The inverter is equipped with a diagnostic LED.
- The flashing is normal.
Excessive noise. - Due to the various speed steps, speed-regulated* compressors can generate different running noises.
- The sound is normal.
A bubbling and gurgling noise. - This noise comes from the refrigerant flowing in the refrigeration circuit.
- The sound is normal.
A quiet clicking noise. - The noise is produced whenever the refrigeration unit (motor) automatically switches on or off.
- The sound is normal.
A hum. It is briefly a little louder when the refrigeration unit (the motor) switches on. - The refrigeration increases automatically when fresh food has just been placed in the appliance or the door has been left open for a while.
- The sound is normal.
- The ambient temperature is too high.
- Solution: (see 1.2 Appliance range of use)
Vibration noises
→ The appliance is not standing firmly on the floor. As a result objects and adjacent units start to vibrate when the refrigerator is running.
u Align the appliance using the adjustable feet.
u Keep bottles and jars apart.
The outer surfaces of the appliance are warm*.
→ The heat of the refrigeration circuit is used to prevent condensate from forming.
u This is normal.
The temperature is not cold enough.
→ The door of the appliance is not properly closed.
u Close the door of the appliance.
→ Insufficient ventilation.
u Keep the ventilation grille clear and clean it.
→ The ambient temperature is too high.
u Solution: (see 1.2 Appliance range of use).
→ The appliance was opened too frequently or for too long.
u Wait to see whether the appliance reaches the required temperature by itself. If not, please contact the after-sales service (see 6 Maintenance).
→ The appliance is too close to a source of heat (stove, heater, etc).
u Change the position of the appliance or the source of heat.
The internal light does not come on.
→ The appliance is not switched on.
u Switch the appliance on.
→ The lamp (if the model comes with an LED lamp) is faulty.
WARNING
Risk of injury from LED light!
The light intensity of the LED lighting corresponds to risk group RG 2.
If the cover is removed:
- Do not look directly into the light at close quarters through optical lenses. Doing so may damage your eyes.
- Change the lamp (see 6 Maintenance).
Decommissioning
Switching off the appliance
- Turn temperature control Fig. 3 (1) to 0.
Taking the appliance out of service
- Empty the appliance.
- Switch off the appliance (see 8 Decommissioning).
- Remove the main connector.
- Clean the appliance (see 6.2 Cleaning the appliance).

- Leave the door open to prevent odor.
Disposing of the appliance
The appliance contains some reusable materials and should be disposed of properly – not simply with unsorted household refuse. Appliances that are no longer needed must be disposed of in a professional and appropriate way, in accordance with the current local regulations and laws.
Do not damage the disused appliance while removing it from the cooling circuit, in case the coolant (information on the model plate) ) or oil inside leaks out.
For Germany:
The appliance can be disposed of free of charge in Class 1 collection containers at your local recycling center. When purchasing a new fridge/freezer and if your sales area is > 400 m², the retailer with also take back the old appliance free of charge.
Decommission the appliance:
- Pull out the plug.
- Cut through the connecting cable.
Liebherr-Hausgeräte Marica EOOD
4202 Radinovo
Bezirk Plovdiv
Bulgarien
home.liebherr.com



























