HRB 1120 24-Inch Refrigerator Column
Instruction Manual
HRB 1120 / HF 861
20191127 7088232 – 00
The manufacturer is constantly working to improve all models. Therefore please understand that we reserve the right to make design, equipment, and technical modifications.
To get to know all the benefits of your new appliance, please read the information contained in these instructions carefully.
The instructions apply to several models, so there may be differences. Sections that only apply to certain appliances are indicated with an asterisk (*).
Instructions for action are marked with
the results of action marked with a
.
General safety information
- Read and follow these instructions. They contain safety advice which is important for safe and problem-free installation and operation. Always read and follow the safety advice.
- It is important that the guidelines and instructions in this manual are followed so that the appliance is correctly installed and operates properly Read and understand all information in this manual before the appliance is installed
- Risk of asphyxiation and crushing:
Remove doors and shelves from old appliances to prevent them from becoming a potential hazard to children at play. - Only install, connect and dispose of the appliance in accordance with the instructions. Pay particular attention to “niche dimensions” (see 5 Recess dimensions) and “ventilation and fume extraction in kitchen units” (see 8 Air circulation in the kitchen cabinet) .
- The socket must be easily accessible so that the appliance can be disconnected from the mains quickly in an emergency. It must not be behind the back of the appliance.
| DANGER | indicates a hazardous situation, which if not avoided, will result in death or serious injury. | |
| WARNING | indicates a hazardous situation, which if not avoided, could result in death or serious injury. | |
| CAUTION | indicates a hazardous situation, which if not avoided, will result in minor or moderate injury. | |
| NOTICE | indicates a hazardous situation, which if not avoided, could result in damage to property. | |
| Note | indicates useful advice and tips. | |
Transporting the appliance
CAUTION
Risk of injury or damage if incorrectly transported.
- Transport the appliance in its packaging.
- Transport the appliance upright.
- Do not move the appliance on your own.
Setting up the device
WARNING
Risk of fire due to short circuit.
If the power cable or plug of the appliance or another appliance and the back of the appliance touch each other the power cable or plug will be damaged by the vibrations of the appliance which could lead to a short circuit.
- Install the appliance so that it does not touch any plugs or power cables.
- Do not connect the appliance or other appliances to the sockets on the back of the appliance.
WARNING
Risk of fire due to moisture!
If live parts or the power cord get wet, this can cause a short circuit.
- The appliance is designed for use in enclosed spaces.
Do not operate the appliance in open spaces or in damp areas or where there is a spray. - Only operate the appliance after it has been installed.
WARNING
Risk of fire due to the refrigerant.
The refrigerant contained within the appliance is environmentally friendly but flammable. Leaking refrigerant can ignite.
- Do not damage the pipes of the refrigerant circuit.
WARNING
The danger of fire and damage!
- Do not place devices that give off heat, e.g. microwaves, toasters, etc. on the appliance.
NOTICE
Risk of damage caused by condensation
Installing the appliance next to any other refrigerator or freezer can cause condensation or damage to the Liebherr appliance.
- Do not install this appliance next to any other refrigerator or freezer except another Liebherr model. Liebherr models are designed to allow side-by-side installation. They are equipped with a heating system to eliminate condensation when refrigerators or freezers are installed side-by-side.
NOTICE
Risk of damage caused by water condensate!*
If installing multiple appliances above each other, they can be damaged due to the formation of condensate. Your (S)IG.. or (S)IB.. is equipped with overhead heating up to a height of 880 mm.
- Do not install fridge or freezer appliances above each other unless the bottom appliance is up to 880 mm high IG.. or IB…
NOTICE
Risk of damage to the finished floor surface!
- Protect the finished floor surface before you uncrate the unit.
WARNING
The danger of damage from overheating. May restrict operation.
- Keep ventilation openings, in the appliance enclosure or in the built-in structure, clear of obstruction.
WARNING
The danger of tilting.
- To avoid a hazard due to the instability of the appliance, it must be fixed in accordance with the instructions.
- If possible, have a professional install the appliance in your kitchen cabinet unit.
- If the appliance is damaged check with the supplier immediately before connecting it.
- The floor of the installation site must be horizontal and level.
- Do not install the appliance in direct sunlight or next to an oven, heater or similar heat source.
- Do not install the appliance on your own. It is better to do this with two or more people.
- The more refrigerant is in the appliance, the larger the room must be where the device is located. In the case of a leak, a flammable gas-air mixture may be created in a room that is too small. For every 0.28 oz (8 g) of refrigerant, the installation space must be at least 35.5 3 ft 3 ). Specifications regarding the refrigerant contained within the appliance can be found on the rating plate inside the appliance.
- If the appliance is installed in a very damp environment condensate water may form on the outside of the appliance.
Always ensure good ventilation. - The load-bearing capacity of the floor must be sufficient for the weight of the appliance plus about 1200 pounds (544 kg) of food weight.
- The electrical socket must be assessed precisely to ensure the correct position and fuse.
- Do not restrict ventilation. Sufficient ventilation is required for the appliance to operate correctly. The ventilation grid fitted at the factory guarantees an effective ventilation gap on the appliance of 31 in2. (200 cm ). If you replace the ventilation grid with a fascia, this must have at least the same size or larger ventilation gap as the manufacturer’s ventilation grid.
- Note down the type (model, number), appliance name, appliance or serial number, date of purchase, and manufacturer’s address in the place provided for this in the Use & Care Manual.
- Remove all materials that could prevent it from being installed properly or prevent proper ventilation from the back or the side panels of the appliance.
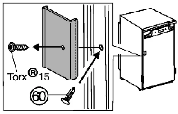
If the transport lock on the door is attached: - Remove the red transport safety devise.

If the transport lock on the door is screwed on:
- Unscrew and remove the red transport safety device.
Close off any holes that have been revealed with plugs (60).
After installation:
- Remove protective films, and adhesive tapes, transport safety devices, etc.
Note
- Clean the appliance (see operating instructions, “Cleaning the appliance” section).
Appliance dimensions

| in. | mm | |
| A | 22 | 559 |
| B | 21 7/16 | 544 |
| C | 69 11/16 | 1770 |
Recess dimensions
This is a built-in appliance and is therefore completely enclosed by a kitchen cabinet The kitchen cabinet surrounding the appliance must be designed exactly in accordance with the specified fitting dimensions and must allow sufficient air circulation to ensure the correct operation of the appliance.

| In. | mm | |
| D | 69 3/4 — 70 3/8 | 1772 —1788 |
| E | 22 — 22 3/4 | 560 — 578 |
| F | min. 21 5/8, recommended 22 | min 550 recom- mended 560 |
| G | min. 19 11/ 16 | min. 500 |
| H | max. 3/4 | max. 19 |
The declared energy consumption was determined with a kitchen cabinet depth of 560 mm. The appliance is fully functional with a kitchen cabinet depth of 550 mm but will have a slightly increased level of energy consumption.
- For side-by-side installation of two appliances next to each other install each appliance in its own kitchen cabinet.

- Check the wall thickness of adjacent cabinets: It must be at least 5/8 in. (16 mm).
- Only install the appliance in solid, fixed kitchen cabinets. Ensure that the cabinets cannot tip over.
- Align the cabinets with a spirit level and a try square. If necessary level them by putting something underneath them.
- Ensure that the floor and the side panels of the cabinet are at right angles to each other.
Cabinet door
- A door is required for the kitchen cabinet.
- The door must be at least 5/8 in. (16 mm) and no more than 3/4 in. (19 mm) thick.
- There must be a gap of at least 1/8 in. (3 mm) between the door and the cupboard door above it (if there is one).
- The width of the cabinet door depends on the style of the kitchen and the size of the gap between the door panels of the cupboard. Normally a vertical gap of 1/8 in. (3 mm) should be left between the cabinet doors.
- If there are other cabinets the top edge of the cabinet door should be at the same height as the doors on the adjacent cabinets.
- The cabinet door must be assembled flat and free from tension.
NOTICE
An excessively heavy unit door can cause potential damage!
If the unit door is too heavy, we cannot rule out damage to the hinges, which may compromise the use of the unit.
- Before installing the unit door, ensure the door does not exceed the permissible weight.
| Appliance type | Maximum weight of unit door |
| HRB 1120, HF 861 | 57 lbs (26 kg) |
Total height of the cabinet (i.e. 70 3/8 in. (1788 mm)) plus the thickness of the cover and floor plate Fig. 3 (a) (normally 3/4 in. (19 mm)): 70 3/8 in. + 3/4 in. + 3/4 in. = 71-7/8 in.
(1788 mm + 19 mm + 19 mm = 1826 mm)

Kitchen cabinet setup for the water filter*
The water filter module is supplied with the appliance. It should be installed near the appliance in the cabinet, for example in the adapter cabinet above the appliance. To connect the filter to the appliance, it may be necessary to make an opening (C) on the floor of the adapter cabinet through which the hoses will be routed. The maximum length of the water hose is 98-7/16 ” (2.5 m).
The filter cover must be installed during assembly, so leave sufficient space around the filter module. 

(A) 13/16 in (20mm)
(C) 1-3/16 in. x 3/8 in.
(30mm x 10mm)
(B) 3-15/16 in (100mm)
(D) min. 4 in (100mm)
- Maintain the dimensions shown in Fig. 4 so that the filter can be replaced and the cover can be removed.
Depending on your installation setup, you can route the two water filter hoses either through the rear panel or through the base of the cabinet. - The band around the water filter is obsolete and you can cut it off.
Air circulation in the kitchen cabinet
![]() | ![]() |
- There must be an effective ventilation gap of at least 31 in 2 (200 cm 2) per appliance for the air inlet Fig. 6 (A) and the air outlet Fig. 6 (B).
- Basically, the bigger the ventilation gap, the more energy-saving the operation of the appliance.

- The top ventilation gap can be set up either directly above the appliance with an optional ventilation grid Fig. 7 (C) near the ceiling, above the cabinet Fig. 7 (D) or as an air vent in a false ceiling Fig. 7 (E).
Ventilation from underneath through the floor of the kitchen cabinet can be set up with the supplied ventilation grid Fig. 8 (3) or an air vent with at least a 31 in ) cross-section area. If you use the supplied ventilation grid 2 (200 cm2 Fig. 8 (1) please proceed as follows: 
- Cut a hole 17-23/32 in. (450 mm) wide and 2-7/32 in.
(56 mm) high in the floor of the kitchen cabinet. - Insert the ventilation grid Fig. 8 (1) into the cut-out in the cabinet floor Fig. 8 (2).
- Slide the snap connectors Fig. 8 (3) into the grid from behind until the hooks touch the cabinet floor.
- Fit the cabinet floor (with the ventilation grid snapped into place) into the cabinet.
Reversing the door
WARNING
Risk of bodily injury due to the door falling off.
If the fasteners are not installed with the proper torque, the door may fall off. In addition, the door may not close, thus impairing the cooling performance of the appliance.
- Tightly secure the hinges along the ball stud of the soft stop mechanism by applying a torque of 3 lb-ft (4 Nm).
- Tighten the soft stop mechanism retainer firmly with 2.5 lb-ft (3 Nm).
- Check all screws and retighten if necessary.
Note
The door stop can only be changed if there is sufficient space above to remove the hinge fixing bracket and fit it on the opposite side again. This is not normally the case when installing in a recess.
- Change the door stop before the appliance is installed in the recess.
| There is a risk of injury when doing this. Obey the safety instructions. | |
| The instructions apply to several models. Only perform this step if it applies to your appliance. | |
| Select one of the alternatives shown. | |
| Only undo the screw. Don’t take it out. | |
| Check the screws and if necessary tighten them. |
Required tool:


CAUTION
Risk of injury if soft stop contracts!
- Carefully remove soft stop damper.
- Removing the soft stop damper: Remove the soft stop damper from the ball stud (1). Unscrew the retainer (2).
Remove the ball stud with a screwdriver (3).

- Remove covers.
- Undo the screws on the hinges but do not remove them.

CAUTION
Hinges are spring-loaded and can cause pinching injuries!
- Leave hinges open.
- Removing the door: Push the door forward and then out, unhook it, and put it to one side.

- Swap the hinges.

- Swap the fixing bracket to the opposite side.

- Fitting the door again: Reattach the door to the hinges and tighten the screws.

- Re-attaching the soft stop mechanism: Screw in the ball studs (1), tighten the retainer (2) and attach the soft stop dampers to the ball studs.

- Check all screws and retighten if necessary.
- Fit the bottom left cover again. Only fit the other covers again after installing the appliance into the cabinet again.
Water connection*
WARNING
Electrical Shock Hazard!
- Do not make the water connection while the appliance is connected to an electrical outlet.
- Disconnect the water supply before connecting the water lines for the IceMaker.
- The connection to the water supply may only be made by a trained and licensed plumber.
WARNING
Poisoning Hazard!
- The water quality must comply with the drinking water regulations for the geographical area where the appliance is located.
- Connect to potable water supply only.
- The IceMaker is designed exclusively to make ice cubes in quantities needed by a household and must only be operated with water appropriate for this purpose.
| Water pressure: | |
| psi | MPa (bars) |
| 21.76 to 87.02 | 0.15 to 0.6 (1.5 to 6) |
If a water filter is used, the instructions on water pressure in the Installing the water filter section apply.*
- Water must be supplied to the appliance through a cold water pipe that complies with hygiene standards and can withstand the operating pressure.
- All devices and equipment used to supply water must comply with the regulations in force in the respective country.
- The solenoid valve is located at the bottom of the back of the appliance. It has a metric R3/4 connecting thread.
- Use a 1/4″-OD copper wire to connect the water supply with the solenoid valve. This is not supplied with the appliance.
- If your model has an IceMaker, a coupler is supplied between the metric R3/4 connection thread and the 1/4″-OD copper wire.

- Remove the cap Fig. 18 (1) from the solenoid valve Fig. 18 (2).
- Insert the coupler Fig. 18 (3) in the union nut Fig. 18 (4).
- Insert the water filter Fig. 18 (5) with the recess pointing down towards the coupler Fig. 18 (3).
NOTICE
Risk of damage to the water filter!
If you insert the filter incorrectly you could damage it.
- Insert the filter with the recess pointing towards the coupler.
- Lock the union nut Fig. 18 (4) onto the solenoid valve Fig. 18 (2) and tighten.
NOTICE
Risk of damage to the thread!
- Do not overtighten the union nut.
- To turn the water connection 90°, tighten the elbow connector Fig. 18 (6) if necessary.
- Connect the water supply Fig. 18 (7) (e.g. copper) with the aid of the clamp ring Fig. 18 (8) and nut Fig. 18 (9) to the coupler Fig. 18 (3) or elbow connector Fig. 18 (6).

- Affix the water supply Fig. 19 (7) to the housing, if necessary, using the locking element Fig. 19 (10).
Before fitting into the cabinet: - Check the whole water system for leaks.
Before using it for the first time: - Have the water line bled (remove air) by a competent professional?
NOTICE
Malfunction of the water intake!
If the water intake is shut off during operation but the IceMaker remains in operation, the water intake pipe may ice up.
- Switch off the IceMaker if the water supply is interrupted (e.g. holiday).
Installing the appliance in the recess.
WARNING
Risk of fire due to short circuit.
- When inserting the appliance into the recess do not squash, jam or damage the power cable.
- Do not operate the appliance with a faulty power cable.
NOTICE
Risk of damage to the hinges.
The hinges could be damaged if the appliance gets caught on the door when it is being moved.
- Always hold onto the body when relocating and moving the appliance.
| The following accessories are available from Customer Services for installing the appliance in a recess: | |
| Set to restrict the door opening angle to 90° | ![]() |
| The following accessories are available from Customer Services for installing the appliance in a recess: | |
| Set to fit divided cabinet fronts | ![]() |
| Set with covers for top hinges | ![]() |
| There is a risk of injury when doing this. Obey the safety instructions. | |
| The instructions apply to several models. Only perform this step if the appliance is fitted with the corresponding feature. | |
| Select one of the alternatives shown. | |
| Only undo the screw. Don’t take it out. | |
| Check the screws and if necessary tighten them. |
The following assembly parts are supplied with the appliance:

The following tool is supplied with the appliance:

The following tool is also required:

If the depth of the unit is less than 21-3/4 in.
(553 mm) remove the spacers on the back of the appliance in order to be able to push the appliance completely into the recess. Removing the spacers may cause the appliance to use more energy as this reduces the ventilation cross-section.
- Undo the screw and remove the spacers.
For appliances with a water filter:*

- Cut open the water hose Fig. 23 (52) behind the appliance both in front of and behind the connector Fig. 23 (53) (90° to the direction of the hose).*
When doing so, make sure the hose does not become kinked and the cross-section of the hose remains round.*
- Connect the supplied extension hoses Fig. 24 (54) to the appliance hoses Fig. 24 (52):
Slide the appliance hoses into the connectors as far as they will go (approx. 11/16 ” (17 mm)) (see 12 Installing the water filter*) .*
- Position the hoses using a piece of string so that they can be connected to the water filter later (see 7 Kitchen cabinet setup for the water filter*) .*

All appliances:*

- Remove the top left cover and screw the fixing bracket in loosely.

- Take off the cover.

- Assemble the mounting bracket. If the door is large use two pairs of mounting brackets. After assembly, fold the covers onto the bracket.

With 5/8 in. (16 mm) thick cabinet side panels:
- clip spacers on all hinges.

The width of the equalizer trim is 22 1/2 in. (572 mm).
With a 22 in. (560 mm) wide recess:
- cut the equalizer trim on both sides with a knife to fit the groove.
With a recess width of between 22 in. (560 mm) and 22 1/2 in. (572 mm): - cut the equalizer trim on the hinge side with a knife to fit the groove.
With a recess width of 22 1/2 in. (572 mm) to 22 3/4 in. (578 mm): - Use the equalizer trim in its condition when delivered, do not shorten it.

- Fit the equalizer trim to the top of the appliance. If the hinge is on the left, slide the equalizer trim into the righ
hook. If the hinge is on the right, slide the equalizer trim into the left hook.
- Fasten the bottom left fixing bracket so that it does not protrude beyond the side panel.
- Clip the stop onto the bracket.

- Fit the strip: place at the top under the bracket and stick to the side panel. The strip must not be shortened.
- Remove the mains cable cleat and run the cable upwards using a thread.
- Push the appliance two-thirds into the cabinet.

- Push the appliance in until the handle side above the bracket and below the stop meets the front of the cabinet side panel. With 5/8 in. (16 mm)thick cabinet side panels the spacers on the hinge side must abut at the same time. With 5/8 in. (16 mm) thick cabinet side panels align the front edges of the hinges so that they are flush with the front of the cabinet side panel.

- If necessary align the appliance using the adjusting feet.

- Checking the insertion depth (A): The distance between the front edge of the cabinet and the appliance body must be 1-5/8 ” (42 mm) all the way along. If necessary make allowance for the stops on the cabinet (d).

- Fix the appliance in the recess, first of all the top hinge side then the bottom. Then handle side down and finally handle side up.

- Remove the stop from the bracket on the handle side and dispose of it. Re-attach cover.
- Re-attach the cover on the hinge side.
- Break the stop at the bottom of the handle side off and dispose of it. Fitting the cover.

- Supporting the appliance at the bottom at the back:
Insert the handle into the stabilization rail and push the stabilization rail into the appliance floor. Remove the handle and do the same with the second stabilization rail.
- Close the door.
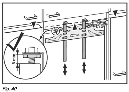
- Check the default setting of 5/16 in. (8 mm).
- Raise fitting aids to unit door height. Bottom stop edge of the fitting aid = top edge of the door to be fitted.

- Undo the counter nuts and remove the crosspiece.

- Hang a crosspiece on the inside of the unit door.
With a 22 in. (560 mm) wide recess: - align the crosspiece to the middle of the door.

With a 22 3/4 in. (578 mm) wide recess: - align the crosspiece to the middle of the door and then 3/16 (5.5 mm) move towards the hinge side.
- With chipboard doors fit the crosspiece with at least 6 screws and at least 4 screws for frame and panel doors.

- Remove the fitting aids, turn round and insert them into the adjacent opening.

- Clip the cover on the crosspiece on the handle side.

- Attach the unit door and loosely screw the lock nuts onto the adjusting bolts.

- Align the unit door in the X and Y direction using the adjusting bolts.
- Tighten the lock nuts.

- Check the gap between the door and the surrounding unit doors

- Open the cover again to assemble the mounting bracket on the unit door. Align the front edge of the mounting bracket parallel to the unit door edge and screw the bracket down tightly.

- Aligning the unit door in the Z direction: Undo the adjusting screw on the crosspiece and the screw on the mounting bracket then move the door.

- Check the distance between the unit door and the unit body.
- Check all screws and retighten if necessary.

- Clip the top cover on.

- Fold the cover onto the mounting bracket.

Check the following points to make sure the appliance is installed correctly. Otherwise, icing up, the formation of condensate and malfunctions may occur: - The door must close properly.
- The unit door must not touch the body of the unit.
- The seal on the upper corner on the handle side must be fitted securely. To verify this, darken the room, place a flashlight on the top part of the appliance and close the door. If you see light shining out, check the assembly.
Installing the water filter*
The water filter guarantees optimal water quality and should be installed the first time you use the appliance.
Alternatively, the appliance can also be operated without a water filter.
| Flow rate | 0.5 GPM (1.89 Ipm) |
| Water connection | Drinking water |
| Water pressure | 40 psi – 90 psi (0.28 MPa – 0.62 MPa (2.8 bar – 6.2 bar) ) |
| Water temperature | 33 °F – 100 °F (0.6 °C – 37 °C) |
| Capacity | 300 gal. (1135 I) |
WARNING
Consuming contaminants can be harmful to your health!
- If there is a chance the water may contain harmful bacteria or if the water quality is unknown, do not use this system without appropriate disinfection measures upstream or downstream of the system.
NOTICE
Leakage water may damage the system!
- Do not install this system on hot water lines. The maximum operating temperature of the water in this system is 100 °F (37.7 °C).
- This system MUST be installed and used in compliance with federal and local installation regulations.
- Do not install under water hammer conditions. A water hammer arrestor must be used to prevent water hammering. If you are unsure how to check these conditions, consult a professional installer.
- Do not install with a water pressure greater than 90 psi (6.2 bar). If your water pressure exceeds 80 psi, install a pressure limiting valve. If you are unsure how to check the water pressure, consult a professional installer.
- Protect against frost; if temperatures below 33 °F (0.6 °C) are expected, remove the filter.
- When used as indicated, the disposable filter cartridges must be replaced every 6 months or whenever you notice a considerable decrease in the flow rate.
Make sure that the following conditions are fulfilled:
- The hoses have been positioned such that they can now be connected to the filter.
- The installation position has been selected according to the instructions.
- The connectors have been removed from the hose ends.

- Hoses have been shortened, if necessary (cut at a 90° angle to the direction of the hose).

- On the thin hose, measure the insertion depth (E) of 11/16 ” (17 mm) and mark it.

- On the thick hose, measure the insertion depth (E) of 13/16 ” (20 mm) and mark it.

- Insert the hoses Fig. 55 (1)all the way into the water filter module (i.e., up the the mark you made), past the point of resistance.

Note
- If you need to disassemble the unit: Push back the dark grey ring on the connector and hold it in this position.
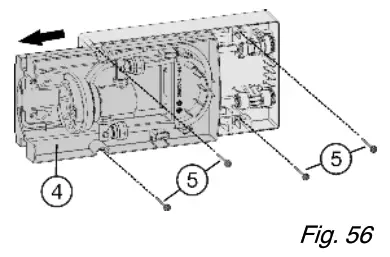
While still holding the ring back, briefly push the hose into the connector, then pull it out. - Pull the tray Fig. 56 (4) out until it catches.
- Secure the module with 4 screws Fig. 56 (5) through the recesses in the front and directly through the module in the back.

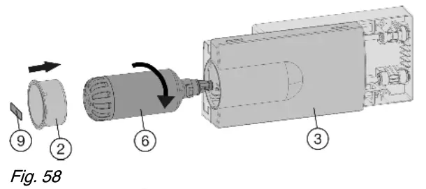
- Place the tray cover Fig. 58 (3) in position.


- Insert the water filter Fig. 58 (6) and turn it approximately 100° to the right until it locks into position.
- Place the cover Fig. 58 (2) on the filter.
- Slide the tray in.
- Write the date of the next filter replacement on the supplied adhesive label Fig. 58 (9) and affix it to the module.
- Make sure the filter is leak-tight and no water is coming out.
Note
New water filters may contain particulate matter.
- Do not consume or use ice cubes produced within 72 hours after replacing the filter.
- The water filter is now ready for use.
Disposal of packaging
WARNING
The danger of suffocation from packaging materials and films!
- Do not allow children to play with packaging materials.
The packaging is made from recyclable materials:
- Corrugated card/cardboard
- Parts made of foamed polystyrene
- Films and bags from polyethylene
- Packing bands from polypropylene
- Wood frame nailed together with a polyethylene window*
- Take the packaging material to an official collection point.
Connecting the appliance
WARNING
Electrical shock hazard!
- Start-up should only take place once the appliance has been installed according to these instructions.
- Electrically ground appliance.
- Do not ground to a gas pipe.
- Check with a qualified electrician if you are not sure the appliance is properly grounded.
- Do not have a fuse in the neutral or grounding circuit.
- Do not use an extension cord, power bar or a multiple socket adapter.
- Do not use a power cord that is frayed or damaged.
WARNING
Electrical shock hazard!
This appliance is equipped with a three-prong (grounding) polarized plug for your protection against possible shock hazards. Electrical Grounding Required.
- Do not remove the round grounding prong from the plug.
- Use only a grounded adapter.
- Wait 1 hour after installation before you plug in the appliance. This allows the refrigerant and system lubrication to reach equilibrium.
- Make sure the incoming voltage is the same as the appliance rating. A 110-120 Volt, 60 Hz, 15 Amp electrical supply (20 Amp for side-by-side installations) circuit that is controlled by a circuit breaker or fuse is required.
- We recommend using a dedicated circuit for this appliance to prevent electrical overload.
- Follow all Federal, State, and local electrical, fire, and building codes and ordinances when installing the receptacle and/or the appliance.
- In some communities, a wall switch is required to turn power to the appliance ON and OFF.
- To reduce the risk of fire, electric shock, or personal injury, installation work and electrical wiring must be done by a qualified electrician in accordance with all applicable codes and standards, including fire-rated construction.
- The Power Plug must be easily accessible so that the appliance can be disconnected from the mains quickly in an emergency. It must not be behind the back of the appliance.
- The top of the electric outlet must be located within 82-5/8 in. (2100 mm) from the top of the base in the cabinet.
| For Service in the U.S.: Liebherr Service Center Toll Free: 1-866-LIEBHER or 1-866-543-2437 [email protected] PlusOne Solutions, Inc. 3501 Quadrangle Blvd, Suite 120 Orlando, FL 32817 | For Service in Canada: Liebherr Service Center Toll Free: 1-888-LIEBHER or 1-888-543-2437 www.euro-parts.ca EURO-PARTS CANADA 39822 Belgrave Road Belgrave, Ontario, N0G 1E0 Phone: (519) 357-3320 Fax: (519) 357-1326 |
http://lhg.short-co.de/6rtme
www.liebherr-appliances.com
Part No. 7088232 – 00































































