
AK-331-UF 331L Upright Refrigerator
Instruction Manual
AK-331-UF 331L Upright Refrigerator
AFTER-SALES SUPPORT
(AU) 1300 886 649 (NZ) 0800 836 761![]()
Important Safety Instructions
READ CAREFULLY AND KEEP FOR FUTURE REFERENCE
Read this manual thoroughly before first use, even if you are familiar with this type of product. The safety precautions enclosed herein reduce the risk of fire, electric shock, and injury when correctly adhered to. Keep the manual in a safe place for future reference, along with any warranty information, your purchase receipt and packaging carton. If applicable, pass these instructions on to the next owner of the appliance.
Pay particular attention to messages that follow this safety alert symbol or the words DANGER, WARNING or CAUTION. These words are used to alert you to a potential hazard that can seriously injure you and others. The instructions will tell you how to reduce the chance of injury and let you know what can happen if the instructions are not followed.
This symbol alerts you to take care as the appliance contains flammable materials: isobutane as refrigerant and cyclopentane as insulation blowing gas. While isobutane (R600a) is a gas with a high level of environmental compatibility, it is nevertheless flammable. Do not expose the appliance to high heat, sparks, and open flames.
Refrigerant matters
WARNING: Do not damage the refrigerant circuit! Never use an appliance with a damaged refrigerant circuit! If the refrigerant circuit becomes damaged during transport or installation, avoid proximity to open fires and all types of heat and ignition sources. Thoroughly ventilate the room in which the appliance is located.
The room for installing the appliance must be at least 1m³ per 8g of refrigerant. The amount and type of refrigerant in the appliance can be found in the technical specifications on page 19 and on the appliance rating plate. It is hazardous for anyone other than an authorized service person to service this appliance. In Queensland, the authorized service person MUST hold a Gas Work Authorisation for hydrocarbon refrigerants to carry out servicing or repairs that involve the removal of covers. Responsible disposal
At the end of its working life, do not throw this appliance out with your household waste. Electrical and electronic products contain substances that can have a detrimental
effect on the environment and human health if disposed of inappropriately. Observe any local regulations regarding the disposal of electrical consumer goods and dispose of it
appropriately for recycling and recovery of the refrigerant and blowing agent.
WARNING! This refrigeration appliance contains flammable refrigerants and insulation blowing gases, which must be removed before disposal. Contact your municipal
authorities for any codes or regulations concerning the disposal of such materials.
DANGER! Risk of child entrapment: When discarding this or another refrigerator, pull the plug out of the socket, cut the connection cable (as close to the appliance as you can), and remove the doors to prevent playing children to suffer electric shock or getting trapped inside the appliance. If the discarded appliance has a spring lock (latch) on the door or lid, make the spring lock unusable to prevent it from becoming a death trap for children. To reduce the risk of fire, electric shock, or injury, always follow basic safety precautions and accident prevention measures when using this appliance, including the following: Electrical safety
- Voltage: Plug the appliance in a 220-240V, 50Hz, properly earthed power outlet, which must be in good working order. Make sure your outlet voltage and circuit frequency
correspond to the voltage stated on the appliance rating label. - Power connection: Do not use an adaptor; do not use an extension cord. Plug the power plug directly into a separate PowerPoint that cannot easily be turned off accidentally, and that is easily accessible so you can switch it off when required.
- Power cord: Do not kink or damage the power supply cord. Do not try to lengthen it. Do not use a cord that shows cracks or abrasion damage along its length or at either
end. Any damage to the cord may cause a short circuit, fire, and/or electric shock. If the power cord is damaged, it must be replaced by the manufacturer or its service agent.
WARNING: When positioning the appliance, ensure the supply cord is not trapped or damaged.
WARNING: Do not locate multiple portable socket outlets or portable power supplies at the rear of the appliance. - WARNING! The light bulb in this appliance (if supplied) is a special use bulb, which is only suitable for use with this appliance, it is not usable for domestic lighting. Do not use the appliance without the lamp properly installed. Do not touch the light bulb if it has been on for a long period of time, as it could be very hot. The interior lamp can only be replaced by authorized service personnel. Please contact our after-sales support center for a service if the lamp needs replacing.
- Disconnection: Never unplug the unit by pulling the cord. Always grip the plug firmly and pull it straight out from the PowerPoint.
- All electrical work for the installation must be carried out by a licensed electrician.
Usage conditions and restrictions
- Domestic use only: This appliance is intended to be used in household and similar applications, such as staff kitchen areas in shops, offices, farmhouses, and in other working environments, used by clients in hotels, motels, bed and breakfast establishments, other residential type environments and in catering and similar non-retail applications. It is NOT suitable for commercial or industrial use. Do not use this appliance for anything other than its intended purpose, and only use it as described in this manual. Do not attempt to alter or modify this appliance in any way.
- Usage restrictions: This appliance is not intended for use by persons (including children) with reduced physical, sensory or mental capabilities, or lack of experience and knowledge unless they have been given supervision or instruction concerning the use of the appliance by a person responsible for their safety.
- Children: Supervise children to ensure they do not play with the appliance. Close supervision is necessary when any appliance is used by or near children. Never allow children to operate, play with or crawl inside the appliance.
- WARNING! Do not use any electrical appliances (such as ice cream makers) inside refrigeration appliances, unless they are approved for this purpose by the manufacturer.
Cleaning and maintenance
- Disconnect: Switch off and unplug the appliance from the mains socket before cleaning, maintenance, or servicing. Failure to do so can result in electric shock, injury, or death. Do not connect or disconnect the plug when your hands are wet.
- Flames: Do not let open flames or ignition sources enter the appliance. Flammable/explosive substances: Never clean this appliance with flammable fluids. Do not store or use volatile, flammable, or explosive substances such as aerosol cans with flammable propellants in or close to this or any other appliance. The fumes can create a fire hazard or explosion.
- Solvents: Do not use solvent-based cleaning agents or abrasives on the interior as these may damage or discolor the surfaces of the appliances.
- WARNING! Do not use mechanical devices or other means to accelerate the defrosting process, other than those recommended by the manufacturer. Never use a sharp
or metal instrument to remove frost or clean the fridge. Use a plastic scraper, if necessary. - Service: Do not attempt to repair, modify or replace any part of the appliance unless specifically recommended in this manual. Refer all other servicing to a qualified service technician, or contact the after-sales support center for advice. Installation (see page 8 for comprehensive installation instructions)
- Heavy: This appliance is heavy, take care when moving it. To avoid back or another injury, consider a two-person lift or mechanical aid when installing it. Failure to do so can result in back or other injuries.
- Freestanding design: This appliance is designed to be freestanding only and should not be recessed or built-in.
- Keep it upright: Do not tilt the fridge more than 45º from upright when moving it.
- Handle with care: Do not apply force to any part such as the condenser or door.
- WARNING: Ventilation: To ensure proper ventilation, keep any ventilation openings, in the appliance enclosure or in the built-in structure, clear of obstructions. ensure adequate air circulation around the appliance to prevent overheating. Use spacers (if supplied) to prevent warm parts (compressor, condenser) from coming into contact with the wall.
- Level: Install the appliance level in order to ensure proper operation (see page 8).
- Location: Install the appliance in an area that meets the following requirements:
- Ambient temperature: The ambient temperatures must correspond to the climate class (T) indicated on the rating plate of the appliance (16°C–43°C)
- Floor surface: The floor must be sturdy, level (or nearly level), and strong enough to support the unit when it is fully loaded. If you must position the appliance on the carpet, use a plastic carpet protector underneath the appliance.
- Areas to avoid: Avoid areas where the appliance would be exposed to direct sunlight, sources of heat (stove, heater, radiator, etc.), extremely cold ambient temperatures or excessive moisture, and high humidity (such as outdoors or exposed to wind, rainwater spray or drips). Installing it in the coolest area of the room will save energy consumption and running costs.
Product Overview
Scope of delivery
Upright refrigerator
- Thermostat and light
- Glass shelves
- Crisper drawer with glass cover
- Leveling feet
- Upper door balconies
- Bottom door balcony (bottle rack) Other inclusions (not shown) Instruction manual Warranty certificate
NOTE: Due to continued product improvement, images and illustrations in this manual may vary slightly from the product purchased. All images in this manual are for
reference purposes only. Parts are not necessarily pictured to scale.
Getting Started
Unpacking
- Packaging materials: This product has been packaged to protect it against transportation damage. Remove all packaging materials from around and inside the appliance and keep the original packaging carton and materials in a safe place. It will help prevent any damage if the product needs to be transported in the future, and you can use it to store the appliance when it is not in use. In the event that the carton is to be disposed of, please recycle all packaging materials where possible. Plastic wrapping can be a suffocation hazard for babies and young children, so ensure all packaging materials are out of their reach and disposed of safely.
- Parts: Check to ensure you have all the parts listed in the Product Overview section.
- Damage: When unpacking, check the appliance carefully for damage. If it is damaged, do not install the appliance. Contact our after-sales support center for advice on examination or return of the damaged appliance.
- Power cord: Unwind the power cord to its full length and inspect it for damage. Do not use the appliance if the appliance or its cord has been damaged or is not working properly. In case of damage, contact our after-sales support center for advice on examination, repair or return of the damaged product.
- Read the manual: Before installing your new fridge, read all safety instructions, especially the sections on installation and electrical safety on pages 4–5. Installation instructions follow on the next page.
- Clean: Make sure the fridge is disconnected from the power supply before cleaning the interior surfaces and all internal accessories with lukewarm water with a little baking soda added (about 2 tablespoons of baking soda to 1 liter of water) and a soft cloth. This will remove any dust from transit and storage and help remove the typical smell of a brand-new product. Then dry thoroughly.
IMPORTANT: Do not use harsh or abrasive detergents or powders as these will damage the finish. - Door opening: Your fridge has the capability of the door opening from the right or left side. If your set-up requires reversal of the door swing and/or external handle, please follow the instructions on pages 15-18.
- Your new fridge is now ready for installation.
Installation Space requirements
- Door opening: Place the unit so there is enough space for the door to open easily (Fig. 1).

- Clearances: Ensure that air can circulate freely around the back of the cabinet, which is necessary to cool the compressor and condenser. Allow at least 12cm clear space at the back and 5cm at the sides of the unit.
- Overhanging wall units: To ensure the best performance, if the appliance is positioned below an overhanging wall unit, the minimum distance between the top of the cabinet and the wall unit must be at least 10cm. Ideally, however, the appliance should not be positioned below overhanging wall units.
Leveling
The appliance must be installed level in order to work properly. If the unit is not level, the doors and magnetic seal alignments will not be covered properly.
- To level the unit, adjust one or both leveling feet at the front base of the cabinet (Fig. 2).

Electrical connection
- WARNING! It must be possible to disconnect the appliance from the mains power supply; the plug must therefore be easily accessible after installation.
- Before plugging in your new fridge, let it stand upright for at least 4 hours. This will allow the refrigerant gases to settle into the compressor and reduce the possibility of a malfunction in the cooling system.
- The appliance must be earthed. The plug of the power supply cord is equipped with a contact for this purpose. Do not under any circumstances cut or remove the third (earth) prong from the power cord. If the plug does not fit your outlet, consult a licensed electrician for advice to have the outlet changed.
- Plug the unit into a dedicated, properly installed, and earthed wall outlet. Ensure that your outlet voltage and circuit frequency correspond to the voltage stated on the appliance rating label.
- Secure the power supply cord behind the unit. Do not leave it exposed or dangling to prevent injury and accidental disconnection from the power supply.
- Adjust the temperature control as described on page 9.
- When first starting up, and after a period out of use, allow the unit to cool down on the MAX setting for at least 2 hours before placing food in the fridge.
Operating Instructions
- The control for regulating the temperature in the refrigerator compartment is located on the ceiling of the compartment, next to the interior light (Fig. 3). The higher thenumber on the dial, the colder the temperature in the refrigerator compartment: 1 is the warmest setting, 7 is the coldest setting and 0 is off.

FIRST USE
- The first time you turn the unit on, set the temperature control to the coldest setting (7) for 2–3 hours before placing perishable food in the cabinet.
- When the temperature has been reached and the thermostat starts cycling off and on, adjust the temperature to the setting that best suits your needs – a middle setting (at position 3–4) should be appropriate in most cases for general operation.
- To turn the appliance off, first turn the temperature control to the minimum position (0), which will stop the cooling cycle, then disconnect the power supply cord from the wall outlet in order to shut off power to the unit.
NOTE:
- The unit may not work at the set temperature on particularly hot days, or if the door is opened too frequently. To ensure efficient operation, do not open the door unnecessarily or for prolonged periods of time.
- If the unit is unplugged, turned off or has lost power, you must wait 10 minutes before restarting it, otherwise, the unit will not start.
Fresh food storage
The fridge compartment is suitable for short-term storage of all your fresh food. The temperature inside the compartment varies depending on the amount of food stored and the frequency of door opening. It is low enough to limit some bacterial growth, but it is not suitable for long-term storage of perishable foods.
- The walls of the fridge are equipped with a series of runners so that you can position the glass shelves to suit your individual storage requirements (Fig. 4).
- The door balconies in the fridge compartment are suitable for the storage of food and drink bottles, cans, and jars. They may be placed at different heights: gradually pull a balcony up until it is free, then reposition it as required (Fig. 5).
- In order to keep vegetables fresh in the crisper, make sure the glass cover sits firmly on top of the crisper drawer.
Fresh food storage tips
- Do not overload the fridge.
- Keep enough space around items for cold airflow.
- Do not block ventilation openings. Do not place items directly against the back wall.
- Let hot food cool down to room temperature before storing them in the fridge. Otherwise, the cooling capacity will be affected and power consumption increased. Hot items may also affect the plastic parts inside the appliance.
- If necessary, wipe containers clean and dry before storage in the refrigerator.
- Thaw frozen foods in the fridge compartment to ensure safety and save energy.
- Cover cooked foods and use sealed containers or storage bags to prevent food from drying out, losing its taste or taking on aromas from other foods.
- Store butter and cheese in airtight containers, or wrap them thoroughly.
- Make sure milk bottles are properly closed before storage on a door balcony.
Energy saving tips
- Place the fridge in the coolest area of the room, away from heat-producing appliances and out of direct sunlight.
- Let hot foods cool to room temperature before placing them into the fridge. Overloading the fridge forces the compressor to run longer.
- Wrap foods properly and wipe containers dry before placing them in the fridge. This cuts down on frost build-up inside the fridge.
- Do not line any fridge storage bin with aluminum foil, wax paper, or paper towels. Liners interfere with cold air circulation, reducing cooling efficiency.
- Position food so that air can circulate freely around it. Do not leave the fridge door open for longer than required.
Power failure
Most power failures are corrected within a few hours and should not affect the temperature inside your fridge if you minimize the number of times the door is opened. However, if the power is going to be off for a longer period of time, you need to take proper steps to protect your food. Going away?
- Short vacation: Leave the fridge operating during vacations of less than a month.
- Long vacation: If you are not going to use the fridge for longer periods, remove all food and unplug the power cord. Clean and dry the interior thoroughly. To prevent
odor and mold growth, leave the door open slightly, blocking it open, if necessary. (Restrict children’s access to the room with the open fridge to avoid creating a child
entrapment risk.)
Moving the fridge
- Remove all food from inside the fridge, securely tape down the drawer and shelves and tape the door shut. Turn the leveling feet up to the base to avoid damage.
- Protect the outside of the unit with a blanket or similar soft material and make sure the fridge stays secure in the upright position during transportation.
Storage
If the fridge is not going to be used for an extended period of time, store the unplugged, cleaned appliance safely in the original packaging in a dry location, out of children’s reach.
FAQs & Troubleshooting Guide
If you experience a problem with your fridge, check the following table for solutions to help you solve the problem. If after these checks you still have a problem with your
fridge, please contact our after-sales support center for advice.
| Problem | Possible cause |
| The appliance does not operate. | · It is not plugged in Ensure it is properly plugged in and there is power at the socket (plug another appliance into the outlet to check). · The circuit breaker tripped or has blown a fuse. · The fridge temperature control is set too warm. · A general power outage has cut power to your home (check the household lights). |
| The appliance turns on and off frequently. | · The room temperature is hotter than normal. · A large amount of food has been added to the fridge. · The fridge door is opened too often, or not closed completely. · The temperature control is not set correctly. · The door gasket does not seal properly. Check and ensure the doors are properly aligned. · The appliance does not have the correct clearances around it for air circulation. |
| There are vibrations. | · The appliance is not level. |
| The appliance seems to make too much noise. | · A rattling noise may come from the flow of the refrigerant, which is normal. · As each cycle ends, you may hear gurgling sounds caused by the flow of refrigerant. · Contraction and expansion of the inside walls may cause popping and crackling noises. · The appliance is not level. Readjust the feet. · The appliance is touching the wall or other object. Move it slightly. |
| The door will not close properly. | · The appliance is not level. · The door was reversed and is not properly installed. · The door gasket is dirty or bent. · The shelves, drawer or balconies are out of position. |
| The appliance door will not open. | · If the door has just been opened, leave it for a few seconds to allow the air pressure to equalise before trying again. |
| Moisture forms on the inside or outside walls of the fridge. | • Hot and humid weather increases the internal rate of frost build-up. This is normal. • Open the door less often and make sure it is always properly closed. |
| The external fridge surface is warm. | • The exterior walls can be warmer than room temperature. This is normal while the compressor works to transfer heat from inside the fridge cabinet. |
| Excessive frost and ice have built up. | • The fridge door has been left open. • Something is preventing the door from closing. • The door gasket is dirty or damaged. |
| The compressor runs continuously. | • The temperature is set too cold: select a lower (warmer) setting. • The door is open, or something is obstructing proper door closure. • The door gaskets are worn, dirty or damaged. • Large quantities of food have been added to the fridge. • The room temperature is hotter than usual. |
Other Useful Information
WARNING!
To reduce the risk of electric shock or injury, always switch off the appliance and disconnect it from the power supply before cleaning or maintenance.
Cleaning the fridge
- Turn the temperature control to the minimum position, unplug the fridge and remove the food, shelves, and crisper drawer.
- Wash the inside surfaces and the interior accessories with a damp, warm cloth moistened in a water and baking soda solution (about 2 tablespoons of baking soda to 1 litre of water). Wring excess water out of the cloth before cleaning around the temperature control or any electrical parts. Rinse and wipe dry with a soft cloth.
- Clean the outside of the unit with a damp, well-wrung-out cloth. Keep the door gasket (seal) clean.
- After everything is dry, place the appliance back into service.
WARNING!
- Never clean the unit with an abrasive, acid, oil or solvent-based cleaning agent, or with abrasive pads or scourers. Never use flammable fluids or sprays for cleaning as the fumes from these substances can create a fire hazard or explosion.
- Never clean the appliance with a steam cleaner. Moisture could accumulate in the electrical components, the danger of electric shock! Hot vapors can lead to damage of plastic parts.
- The appliance must be completely dry before it is placed back into service.
- Ethereal oils and organic solvents can attack plastic parts, e.g. lemon juice or the juice from orange peel, butyric acid, or cleansers that contain acetic acid. Do not allow such substances to come into contact with the appliance parts.
Defrosting the appliance
Manually defrosting is not necessary as this is a frost-free appliance that will be defrosted automatically. Regularly examine the drain in the refrigerator for defrosted water. If necessary, clean the drain. If the drain is blocked, water will collect at the bottom of the appliance.
Interior light
The fridge is equipped with an internal LED light, which requires a professional service if it needs to be replaced. Please contact a qualified technician.
Door reversal
This appliance has the capability of opening the door from either the left or right side. If your set-up requires changing the opening direction, proceed as follows:
IMPORTANT!
You will need:
- Make sure you have someone there to help you do not try to do this on your own.
- It will be necessary to tilt the unit back when taking the door off. You should rest the unit on something solid so that it will not slip during the door reversal process.
- Have some soft foam packaging or similar material (blanket or towel) ready to lay the appliance door on. Do not lay the unit flat as this may damage the coolant system.
- You will need a flat-bladed Phillips head screwdriver and a hexagonal spanner (not supplied).
Before you begin:
- Unplug the appliance from the mains electricity supply (if connected).
- Empty all food and shelves out of the appliance (if applicable).
- Adjust the leveling legs to their highest level.
- Keep all parts you remove for re-installation of the door on the other side.
- Unscrew the hinge cover (Fig. 6).
- Open the door and unscrew the top hinge (Fig. 7). Then take the door off the cabinet and place it in a safe position where it will not get damaged.

- Remove the cover and screws at the left side and fit them to the right side (Fig. 8).
- Carefully lay down the rear of the cabinet on a soft pad. Remove the two leveling feet first, then unscrew the door hinge and the left foot base (Fig. 9).
CAUTION! If there is a screw left at the front corner, remove it before installing the hinge.
- Unscrew and remove the bottom hinge pin (Fig. 10), turn the bracket over, and replace it (Fig. 11).

- Install the hinge on the left side and the foot base on the right side. Then screw the two leveling feet with their original parts (Fig. 12).
- Unscrew the top hinge pin and mount it to the left hole (Fig. 13).

- Place the unit upright. Put the door on the bottom hinge, making sure the bottom hinge core is inserted in the door hole. Then fit the upper hinge with the door (Fig. 14).
- Before tightly fixing the upper hinge, try to open the door to check whether the cabinet is sealed well. Finally, attach the hinge cover over the hinge.

External handle installation
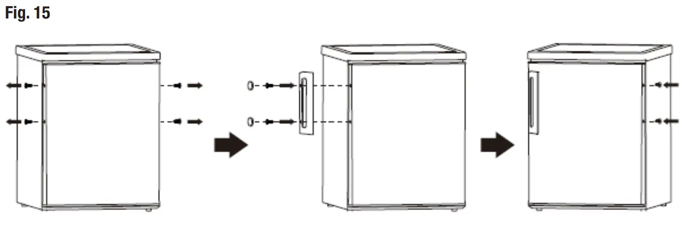
If the handle needs to be repositioned, please follow the pictorial instructions below (Fig. 15).
Service and Repair
Do not attempt to alter or modify this appliance in any way. Do not attempt to repair or replace any part of the appliance unless it is specifically recommended in this manual.
All other servicing should be referred to a qualified technician and only genuine spare parts must be used.
Technical specifications
| Model | AK-331-UF |
| Rated voltage | 220-240 V- |
| Rated frequency | 50 Hz |
| Rated current | 0.55 A |
| Climate class | T |
| Electrical protection class | I |
| Refrigerant | R600a (38 g) |
| Insulation blowing agent | Cyclopentane |
| Storage volume | 331 L |
| Dimensions | 1700 (H) x 600 (D) x 600 (W) mm |
| Net weight (approx.) | 51 kg |
Compliance
This product has been fully tested and meets all requirements as set out by standards AS/NZS 60335.1 and AS/NZS 60335.2.24.
The RCM Mark (Regulatory Compliance Mark) indicates that the product complies with the relevant guidelines of the ACMA as well as corresponding government requirements for the safety of electrical devices.
This marking indicates that the appliance is suitable for use in tropical climates under ambient temperatures of 18 °C to 43 °C.
Warranty returns
Should you for any reason need to return this product for a warranty
claim, make sure to include all accessories with the product.
The product does not work?
If you encounter problems with this product, or if it fails to perform to your expectations, make sure to contact our After Sales Support Centre at (AU) 1300 886 649 or (NZ) 0800 836 761 for advice.
For an electronic copy of this manual, please contact our after-sales support center.
Distributed by Tempo (Aust) Pty Ltd ABN 70 106 100 252
PO BOX 132, Frenchs Forest NSW 1640, Australia
Customer Helpline:
(AU) 1300 886 649 (NZ) 0800 836 761
Email: [email protected]IM
Version No: V1.0
Issue: April 2021
After Sales Support
(AU) 1300 886 649 (NZ) 0800 836 761
[email protected]

























