49910-Uxx Network Solutions
Instruction Manual
Cat. No. 49910-Uxx
Installation Instructions
4-Port QuickPort ® Universal
Angled Furniture Plate
Parts Included
- Plastic 4-port Housing
- Metal Base
- ID Window
- Designation Card (window paper)
Recommended Tools
- 6.5 in. tongue and groove pliers
- Standard flat-screwdriver
4-Port Modular Furniture Faceplate
Product Description
Leviton’s QuickPort® Universal Angled Furniture Faceplates offer field-configurable flexibility in an attractive two-piece design. Each faceplate features a port or network identification window, compatible with hand-written labels or field-label printers. Modular Furniture Faceplates are compatible with all Leviton QuickPort ® Snap-In connectors.
INSTALLATION
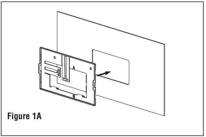
- Align the base plate to the furniture opening ensuring the letter “A” is in the right-side up position. (Figure 1A)

- Slide the base plate until the bottom and side fixed tabs are engaged.
Alternative mounting option: If there is an obstruction above the furniture opening, it is recommended to align the base plate to the furniture opening with the letter “B” in the right-side up position. (Figure 1B)
- Bend tabs to affix the base plate to the furniture; a flat blade screwdriver may be used. (Figure 2)

- Use pliers to crimp tabs to furniture.
Optional: If desired, install a user provided machine screw at one or both of the provided screw holes. - Route cable through the base plate and terminate as per the connector instructions. (Figure 3)

- Snap the terminated jacks into the cover plate by aligning the jack latch tab marked “UP” with the “UP” marking on the inside of the cover. Capture the fixed ridge on the jack, then push/rotate the jack until the latch tab engages. If needed, a flat blade screwdriver may be used to depress the jack latch tab.
- Feed the cable into the furniture channel.
- Engage the left side of the cover plate with the base first, then engage the right (latching) side of the cover plate. (Figure 4)

Optional: Cover may also be mounted with jacks oriented UP in applications where cables are routed away from the floor.
WARNINGS AND CAUTIONS
- TO AVOID FIRE, SHOCK OR DEATH: Never touch insulated wires or terminals, or push objects of any kind through openings unless power is turned OFF.
- TO AVOID INJURY OR DEATH: Each opening must be filled with a module.
- DO NOT install communications components in wet locations unless the components are designed specifically for use in wet locations.
- DO NOT install communications, wiring or components, during a lightning storm.
IMPORTANT INSTRUCTIONS
- Read and understand all instructions. Follow all warnings and instructions marked on the product.
- DO NOT use this product near water.
- If you are unsure of any of these instructions, contact an electrician.
SAVE THESE INSTRUCTIONS
FOR CANADA ONLY
For warranty information and/or product returns, residents of Canada should contact Leviton in writing at Leviton Manufacturing of Canada ULC to the attention of the Quality Assurance Department, 165 Hymus Blvd, Pointe-Claire (Quebec), Canada H9R 1E9 or by telephone at 1 800 405-5320.
For Leviton’s limited product warranty, go to www.leviton.com. For a printed copy of the warranty, call 1-800-824-3005.
Patents covering this product, if any, can be found on Leviton.com/patents.
QUICKPORT is a trademark of Leviton Manufacturing Co., Inc. and is registered in many countries including Australia, Bahrain, Canada, China, Colombia, Cost Rica, Egypt, the EU Member States, Hong Kong, Japan, Jordan, Kuwait, Mexico, New Zealand, Norway, Oman, Qatar, South Korea, Saudi Arabia, Singapore, Taiwan, United Arab Emirates, United Kingdon, United States and Vietnam.
We are here to help
Technical Support: 800-824-3005
Customer Service: 800-722-2082
International: 425-486-2222
Fax: 425-483-5270
Web: www.leviton.com
2222 – 222nd Street SE
Bothell, WA 98021, USA
Phone: 425-486-2222
Fax: 425-483-5270





















