MITSUBISHI ELECTRIC DY-253 Single-Needle Lockstitch Upper and Lower Feed Industrial Sewing Machine Instruction Manual
Specification
| Sewing material | Extra heavy weight material (tent, bag, trunks & seat, etc.) |
| Max. speed | 1200 spm. |
| Needle bar stroke | 50.8 |
| Thread take up | Link motion type (large size) |
| Hook | Large size rotating hook. |
| Presser bar stroke | Hand 12.7mm Pedal 15mm |
| Max. stitch length | 12.7mm |
| Feed mechanism | Eccentric mechanism |
| Feed system | Alternating upper & lower feed |
| Reverse stitching | Spring return lever or pedal system |
| Needle | DD x 1 # 25 |
| Stitch type | Single needle lockstitch |
| Lubrication | Dilect with oil tank |
| Oil circulation | Automatic capillary action of oil wicks |
| Oil | White spindle oil |
| Table | 132 type |
| Motor | Mitsubishi clutch motor (400W) |
Main parts name of machine head
- Face plate
- Walking feet pressure regulating thumb screw
- Presser foot pressure regulating thumb screw
- Upper thread tension regulator (upper)
- Oil tank (left)
- Spool pin
- Oil tank (right)
- Balance wheel
- Rubber plug
- Reverse stitch lever
- Thread take-up lever
- Thread guide
- Upper thread tension regulator (lower)
- Thread guide
- Slide plate (right)
- Presser foot
- Walking foot
- Slide plate (left)
- Needle plate

- Knee lifter lever
- Upper feed rock shaft
- Upper feed lifting rock shaft crank (right)
- Upper feed lifting rock shaft
- Upper feed rock shaft crank (left)
- Upper feed rock shaft connecting crank (left)
- Square block
- Connecting lever
- Connecting link
- Oil gauge
- Upper feed rock shaft connecting crank (right)
- Lifting lever connecting rod

Preparation before starting to operate
Lubrication before starting to sew:
As the machine is drip lubrication from the oil reservoir, it is necessary to give oil thoroughly into the reservoir before starting operation.each day. Before starting to sew lubricate oil in following order.
- Lubrication before starting to sew:
Before starting to sew, lubricate oil in the arrowed parts of Fig. 3 to 5.


To lubricate upto the rotating parts of machine, lubricate oil by rotating the balance wheel slowly by hand. - Volume of lubrication:

- Lubrication for machine bed oil tank:
Pour oil upto the position on the oil gauge pulling out by hand. (Fig. 6)
In case of oil volume is insufficient, it will not lubricate to respective necessary parts and hook, so be sure to check it occasionally and replenish sufficiently to prevent locking-up of the machine.
Application of grease:
Apply grease into the gear box by removing the greasing hole screw (A) and (B). (Fig. 7-8)

How to attach needle
Note: Before making the following adjustment, switch off the power source by all means.
Insert the needle upto the bottom of needle clamp and tighten the screw keeping the long groove side of nee-dle toward the left.
Insufficient insertion
Needle distorted
How to wind the lower thread on the bobbin
Note: In case of rotate the machine with sewing, keep the presser foot raised.
Adjustment:
- Strength of winding: Particularly in case of nylon of tetoron thread. It is desirable the bobbin is wound enough loose.
- Uneven winding: In case of uneven winding, adjust the thread guide slightly toward less wound part of bobbin so that to obtain even winding.
- Winding amount of thread: When the winding amount of thread is excessive loosen adjusting screw and tighten when insufficient.

Threading
Raise the thread take-up lever to its highest posi-tion and thread the upper thread in the following order.
Note: The thread guide (C) of cotton stand is to be put just above of spool.
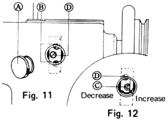
Adjustment of stitch length
- Remove the rubber plug (A) on the machine arm.

- Loosen the two screw (B) by rotating the balance wheel by hand (Fig. 11).
- Then rotate the balance wheel by about 90° (1/4 rotation) toward the other side and adjust the stitch length by adjusting screw (C). To increase the stitch length turn it anticlock-wise and to shorten clockwise (Fig. 12).

- After the adjustment tighten the screw (B) firmly.
- The screw (D) is not required to loosen (Fig. 11).
Adjustment of thread tension

Upper thread tension
- Upper thread is adjusted according to the lower thread tension.
- Upper thread tension is adjusted by tension regulating thumb nut.
For special fabric sewing with special thread, the desired tension can be obtained by adjusting the strength and operating range of thread take-up spring.
Lower thread tension
Lower thread tension can be adjusted by screw A. In case of cotton thread No.3, the regular thread tension can be checked as the following. Hold the end of pulled out thread, and if the bobbin case fall slowly, the proper tension is obtained.

Adjustment of pressure of the presser foot
Adjustment of pressure of presser foot can be done by means of the presser regulating thumb screw B (large). Turn the screw to the right to strengthen. Turn the screw to the left to weaken. Adjustment of pressure of walking foot can be done by means of the presser regulating thumb screw A (small). Turn the screw to the right to strengthen. Turn the screw to the left to weaken.
Adjustment of walking foot and presser foot
Adjustment of alternating movement and height
The amount of movement is evenly adjusted as it is. But adjust the walking foot and presser foot alternating movement changing it evenly according to the material to be sewn so that more smooth normal feeding can be obtained.
For instance, in case of sewing up a slipping mate-rial, decrease the presser foot movement and in-crease the walking foot movement so that you can have effectiveness.
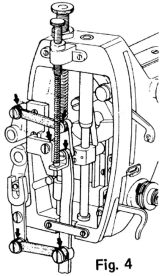
How to adjust (Fig. 13)
- Rotate the balance wheel by hand and stop it when the thread take-up lever would be down-ward to its lowest position.
- Lower the presser bar lifter.
- Loosen the two screw(A) of the upper feed lifting rock shaft crank(right).
- In proposition to moving the upper feed lifting rock shaft crank(left) to the right, the presser foot movement would be decreased and walking foot movement would be increased.
- On the contrary, in case move to the left, the opposite effectiveness would be resulted.
- After the adjustment tighten the two screws firmly.

Adjustment of proper timing movement of walking foot
According to variation of fabrics to be sewn ap-propriate stitching adjustment can be obtained by means of making a timing of the walking foot movement faster or slower against the feed dog movement.
How to adjust (Fig. 14)
- Loosen the eccentric ring set screw(B) on the back of arm.
- While fixed the eccentric by hand or screw driver, adjust it rotating the balance wheel slowly by hand.
- Rotate the balance wheel toward your side so that the timing of walking foot movement would be slower.
- Rotate the balance wheel toward the other side so that the timing of walking foot movement would be faster.
- After the adjustment tighten the screw(B) firm-ly pushing the eccentric ring to the way of arrow shown in Fig.

A gap between the presser foot and walking foot
In case of gag(C) of presser foot and walking foot is wider eccessively, and either presser feet are touched please adjust it in the position described as following.
How to adjust
- Loosen the screw(D) on the upper feed rock shaft crank(right).
- Adjust the gap properly moving the walking foot back and forth.
- After the adjustment tighten the screw(D) firmly.

On the delivery machine is adjusted for narrowest gap of 3mm when the maximum stitch length of 12.7mm.
Timing between upper and lower feed
The amount of feed dog movement is evenly ad-justed for the upper feed amount. But according to the material to be sewn appropriate stitching can be obtained by means of making a timing of the walking foot movement faster or slower against the feed dog movement.
How to adjust (Fig. 17)
- Loosen then nut on the upper feed lifting rock shaft crank (left)
- To decrease the movement, slide the square block upward and to increase for the down-ward.
- After the adjustment tighten the nut firmly.

The position of the hook and needle
- Turn the balance wheel by hand so that the needle comes to its lowest position. Thereafter, raise the needle by 4.5mm from the lowest position, and then adjust the hook so that the tip of hook comes to the center line of the needle (Fig.19)
At the same time, adjust the height of needle so that the gap between uppers side of needle thread hole and the tip of hook would be 1.5mm. - The gap between the concave face of the needle and tip of hook would be approx. 0.05mm as shown in Fig. 19.
- To adjust the height of needle, loosen the screw (A) of the needle bar holder (Fig. 18) and move the needle bar up and down by hand. After the adjustment tighten the screw(A) firmly.

From the library of Superior Sewing Machine & Supply LLC – www.supsew.com















At the same time, adjust the height of needle so that the gap between uppers side of needle thread hole and the tip of hook would be 1.5mm.


















