HIGH LEAD GC2268-2B -2BL Two Needle Cylindrical Bed Compound Feed Lockstitch Sewing Machine

PRECAUTIONS BEFORE STARTING THE OPERATION
Safety precautions
- When turning the power on, keep your hands and fingers away from the area around/under the needle and the area around the pulley.
- Power must be turned off when the machine is not in use, or when the operator leaves the seat.
- Power must be turned off when tilting the machine head, installing or removing the “V” belt, adjusting the machine, or when replacing it.
- Avoid placing fingers, hairs, bars, etc., near the pulley, “V” belt, bobbin winder pulley, or motor when the machine is in operation.
- Do not insert fingers into the thread take-up cover, under/around the needle, or pulley when the machine is in operation.
Precautions before starting the operation
- Do not operate the machine before lubricating it.
- When a new sewing machine is first turned on, verify the rotational direction of the pulley with the power on(the pulley should rotate counterclockwise when viewed from the pulley).
- Verify the voltage and (single or three) phases with those given on the machine nameplate.
Precautions for operating conditions
- Avoid using the machine at abnormally high temperatures(35℃ or higher)or low temperatures(5℃or lower).
- Avoid using the machine in dusty conditions.
SPECIFICATIONS
| GC2268-2B | GC2268-2BL | ||
| Max. sewing speed | 2000 rpm | 1600 rpm | |
| Needle | DP×17 23# | ||
| Needle bar stroke | 36 mm | ||
| Thread take-up lever stroke | 74.5 mm | ||
| Stitch length | 6 mm | ||
| Presser foot stroke | By Hand 8 mm / By Knee 13 mm | ||
| Alternating movement | 2-5 mm | ||
| Bed size In dia / Length | 83 mm / 222 mm | 83 mm / 566 mm | |
| Lubrication | Manual | ||
| Needle gauge | Standard | 6.4 mm | |
| Special | 3.2 mm / 9.5 mm | ||
CAUTIONS ON USE
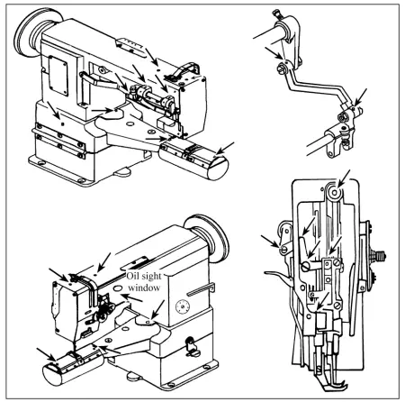
Lubrication
- When a new sewing machine is first operated, or when a sewing machine is operated which is out of use for a long period of time, it will be necessary to oil through the oil holes after removing the rubber plugs shown below.
- See dripping of oil through the oil sight hole to check the oiling condition during operation.
For oil, Use white spindle oil
Winding of bobbin thread
Note: When the bobbin thread is wound, keep the presser foot lifted.
Adjustment:
- Tension of wound thread
Slack winding is recommended for polyester thread and nylon thread. - Conically wound thread
Move the thread guide toward the smaller diameter of the wound thread layer.
Length of wound thread
Loosen the thread length adjusting the screw to increase the length of the thread and tighten the screw to decrease the length of the thread.
Attaching the needle
- Note: Before installing the needles, be sure to turn off the power.

Selection of thread
It is recommended to use the “S” twist thread in the left needle (viewed from the front), and the “Z’ twist thread in the right needle. When the use of needle threads discriminates is impossible, use “Z” twist thread in both needles. For the bobbin thread, the “S” twist thread, as well as the “Z” twist thread, can be used.
Threading of needle threads
- Pass each needle thread through thread guide“A”.
Note: When thin slippery thread (polyester thread or filament thread, for example) is used pass the thread through thread guide “B” as the wall. - With the take-up lever located at the uppermost position, pass each needle thread in the order shown in the following figure.
Note: Pressing the upper thread loosening button shown in the figure below opens the saucer of the upper thread tension adjuster, and the upper thread can easily be pulled out
Setting of bobbin
- Pulling out 5. cm thread tail from the bobbin.
- Hold the bobbin so that the bobbin thread is wound in the right direction and put it into the hook.

Threading of bobbin threads
- ut the hook into the bobbin case and press down the latch ①.
- While holding the two needle threads with the left hand, rotate the hand-wheel one turn with the right hand. By pulling up the needle threads, as shown in the figure, the bobbin threads will be lifted. Each combination of bobbin thread and needle thread should be aligned and led backward.

Thread tension
- Adjusting the bobbin thread tension Turn the tension screw, clockwise to increase the bobbin thread tension, or counterclockwise to decrease it.

- Adjusting the needle thread tension
- Needle thread tension should be adjusted in reference to bobbin thread tension.
- Turn tension nut clockwise to increase the needle thread tension, or counter clocking to decrease it.
- Needle thread tension can be also adjusted for special fabric and thread by changing intensity and movable range of slack thread adjusting spring.
Thread take-upspring
- To change the stroke of thread take-up spring

- Loosen screw“4”in the stopper, and move stopper“3”to the right or left.
- Move the stopper to the right to increase the stroke of the thread take-up spring, or to the left to decrease it.
To change the tension of the thread take-up spring
Loosen nut“2”and screw“5”.Turn spring shaft“1”counter clockwise to increase the tension of the spring, or clockwise to decrease it. Fit a screwdriver in the spring shaft and turn it until the desired tension is provided.
Adjusting the stitch length
Turn stitch length dial counter-clockwise to bring the desired value to the top of the dial so that the value is aligned with the pin.
Reverse feed stitching
- The machine performs reverse feed stitching as long as the lever is held depressed.
- The moment you release the lever, the machine resumed the normal stitching mode.
Adjusting the pressure of the presser foot
Pressure to fabric can be adjusted by turning the pressure-adjusting screw.
- Adjusting the presser foot and the walking foot
- Loosen not 1, and change the position of the cam rod boss accordingly.
- Highest position—The stroke is maximized. “A”
- Lowest position— The stroke is minimized. “B”。
- Alternate vertical motions of the walking foot and presser foot The alternate vertical strokes of the walking foot and presser foot
- Loosen screw ② of the top feed crank..
- Bring the thread take-up lever to its highest position, and lower the presser bar lifting lever. Move top feed crank ③ to left“A”to increase the stroke of the presser foot, or to the right“B” to increase it.

The timing between the rotating hook motion and needle motion
- Set the feed length (stitch length) to “6” on the feed setting dial.
- When the needle is lifted 2.4mm from the lower dead point, as shown in Figure, the following positional relationship should be maintained.
- The upper edge of needle eye should be 2.3 mm below the hook point.
- The hook point should be located at the center of needle axis.
- Gap between the hook point and the side face of needle should be 0.0.5mm.
Relationship between hook motion and opener motion
- Turn the balance wheel by hand and stop when the opener holder is located most remotely from the throat plate.
- Make sure gap between the bobbin case holder A and the opener is approximately 0.2 mm.
- If the gap is too large or small , loosen the opener holder set screw B and adjust position of the opener.
Relationship between needle motion and feed dog motion
- Set feed length to “0” on the feed setting dial
- Set the needle at the lowest position.
- Lean the machine head backward, remove the back cover, loosen screw B and C.
- Adjust the distance between presser rod and vibration prevention rod to 9 mm.
- After the completion of adjustment, fully tighten the screws B and C.

Note: At this time make certain that needle can enter the feed dog needle hole at the center of the hole.
Adjusting the height of the feed dog
The max. Height of the feed dog from the surface to the needle plate is normally 1mm. To adjust this height:
- Set the stitch length at minimum.
- Turn the pulley so as to raise the feed dog to it highest position.
- Loosen the screw“A”, adjust the height of the feed dog .
- Tighten the screw“A”after adjustment.

Safety mechanism
If the thread is caught in the hook while the sewing machine is in operation, the safety mechanism actuates to idle the lower sprocket only if the thread is caught in the hook while the sewing machine is in operation, the safety mechanism actuates to idle the lower sprocket only.
- How to reset
- Remove the thread caught6 in the hook
- Pressing push-button ①, strongly turn the pulley in the direction opposite to its normal rotational direction.
Safety load
Turn adjustment screw ② in direction“A”(clockwise) to increase the safety load, or in direction “B” (counter-clockwise) to decrease it. 
Adjustment of needle bar stop position (GC2268-2BL)
- Adjust of “UP”position When the pedal is kicked down by the heel, the machine stops at the “UP” position. If the marks deviate larger than 3mm, adjust as follows.
- Disconnect the plug of the cable from the machine head.
- Run the machine and stop at the “UP” position.
- While holding the pulley, insert the “adjusting tool” in hole “A”, then remove the tool.
Adjust of “DOWN” position
When the pedal is “Neutral” the machine stops at the “DOWN” position. If the marks deviate larger than 5mm, adjust as follows.
- Disconnect the plug of the cable from the machine head.
- Run the machine and stop at the “DOWN” position.
- While holding the pulley, insert the “adjusting tool” in hole “B”, then remove the tool.
Confirm the stop operation, then set the plug coming from the machine head into the receptacle.
Regulate the atmospheric pressure (GC2268-2BL)
When the air cylinder works normally, the necessary atmospheric pressure is 5~6bar. Can find out through the dial plate of the filtering.
- Lifting knob 1, clockwise rotation, the pressure increases.
- Lifting knob 1, anticlockwise rotation, the pressure is reduced.

A. ARM BED AND ITS ACCESSORIES

| Pig. No. |
Part No. |
Description | GC2268-2B | GC2268-2BL |
Remarks |
| A01 | HA300B2170 | Face plate screw | 9 | 9 | SM11/64(40)×9 |
| A02 | H4730B8001 | Guide mounting plate | 1 | 1 | |
| A03 | H4727B8001 | Face plate | 1 | 1 | |
| A04 | HA300C2030 | Screw | 1 | SM11/64(40)×8 | |
| A05 | H4731J8001 | Holder | 1 | ||
| A06 | H4711J7101 | Oil pipe | 1 | ||
| A07 | HH61B17101 | Oil pipe | 1 | 1 | |
| A08 | H411040160 | Screw | 2 | 2 | |
| A09 | HA100E2150 | Screw | 2 | 2 | SM11/64(40)×10 |
| A10 | H4722E8001 | Washer | 2 | 2 | |
| A11 | H4721E8001 | Guide for slide block | 1 | 1 | |
| A12 | H4716B8001 | Oil guard plate | 1 | 1 | |
| A13 | H4718B8001 | Arm side cover | 1 | 1 | |
| A14 | HA300B2170 | Face plate screw | 4 | SM11/64(40)×9 | |
| A15 | H4719B8001 | Arm side cover | 1 | ||
| A16 | H4717B8001 | Thread take-up guard | 1 | 1 | |
| A17 | HA300C2030 | Screw | 2 | 2 | SM11/64(40)×8 |
| A18 | H32175B304 | Felt | 1 | 1 | |
| A19 | H4715B8001 | Oil cup | 1 | 1 | φ13 |
| A20 | H4735B8001 | Oil cup | 1 | 2 | φ22 |
| A21 | HA700B2060 | Screw | 2 | 2 | SM11/64(40)×8 |
| A22 | H2400B2100 | Thread guide | 1 | 1 | |
| A23 | H7007D7101 | Bobbin complete | 1 | ||
| A24 | H3107G0662 | Screw | 2 | ||
| A25 | H6756B8001 | Cut plate | 1 | ||
| A26 | HA500C2070 | Screw | 2 | SM9/64(28)×5 | |
| A27 | H7014D7101 | Down-lead complete | 1 | ||
| A28 | H7016D8001 | Washer | 1 | ||
| A29 | H6662B8001 | Thread guide | 1 | ||
| A30 | HA300B2090 | Oil cup | 2 | 2 | φ8.8 |
| A31 | H2400B2060 | Oil guard plate block | 1 | 1 | |
| A32 | H3200B2060 | Oil guard | 1 | 1 | |
| A33 | H2400B2070 | Thread guide | 1 | 1 | |
| A34 | H2400B2080 | Screw | 2 | 2 | SM3/16(28)×13 |
| A35 | H4726B8001 | Thread guide | 1 | 1 | |
| A36 | H3000D2160 | Screw | 1 | 1 | SM9/64(40)×6.5 |
| A37 | H3212B0066 | Thread guide | 1 | 1 | |
| A38 | H3200B2100 | Screw | 1 | 1 | SM9/64(40)×6.5 |
| A39 | H4769E8001 | Tension releasing pin | 1 | ||
| A39 | H7010E8001 | Tension releasing pin | 1 | ||
| A40 | H4736B8001 | Oil cup | 1 | 1 | φ15 |
| A41 | HA307B0673 | Oil cup | 1 | φ19 | |
| A42 | HA307B0673 | Oil cup | 1 | 1 | φ19 |
| Pig. No. |
Part No. |
Description | GC2268-2B | GC2268-2BL |
Remarks |
| A43 | HH60B68001 | Arm | 1 | ||
| A43 | HH70B68001 | Arm | 1 | ||
| A44 | HH60B78001 | Arm bed | 1 | ||
| A44 | HH70B78001 | Arm bed | 1 | ||
| A45 | HH60B98001 | Felt | 1 | ||
| A46 | HH60B88001 | Oil reservior | 1 | ||
| A47 | H4107B0672 | Supporter | 1 | ||
| A48 | HE107I8001 | Screw | 1 | M6 | |
| A49 | H4100B2090 | Washer | 1 | ||
| A50 | H4100B2070 | Screw | 1 | SM1/4(24)×9.8 | |
| A51 | H4100B2060 | Link plate | 1 | ||
| A52 | H4100B2100 | Hinge | 1 | ||
| A53 | H4100B2110 | Hinge screw | 6 | SM1/4(24)×9.8 | |
| A54 | H3221B3142 | Tension releasing plate | 1 | 1 | |
| A55 | H3221B6811 | Screw | 2 | 2 | SM9/64(40)×3 |
| A56 | H3221B6812 | Tension releasing spring | 1 | 1 | |
| A57 | H4705C8001 | Screw | 1 | 1 | |
| A58 | H4706C8001 | Lever | 1 | 1 | |
| A59 | HA7311C306 | Screw | 1 | 1 | SM9/64(40)×7 |
| A60 | H4707C8001 | Mounting plate | 1 | 1 | |
| A61 | H007013050 | Stop ring | 1 | 1 | |
| A62 | H3221B6810 | Nut | 2 | 2 | |
| A63 | H4708C8001 | Spring | 1 | 1 | |
| A64 | H4709C8001 | Push button | 1 | 1 | |
| A65 | H3221B0681 | Porcelain cluct | 2 | 2 | |
| A66 | H3221B0682 | Pin | 3 | 3 | |
| A67 | H3221B0685 | Thread tension stud | 1 | 1 | |
| A68 | H3221B0683 | Thread tension stud | 1 | 1 | |
| A69 | HA112B0693 | Thread tension disc | 4 | 4 | |
| A70 | H3221B0684 | Spring | 2 | 2 | |
| A71 | HA710B0671 | Thumb nut | 2 | 2 | SM11/64(40)×6 |
| A72 | H3221B0689 | Thread tension stud | 1 | 1 | |
| A73 | H3221B6816 | Pin | 1 | 1 | |
| A74 | HA310B0705 | Thread tension disc | 4 | 4 | |
| A75 | HA310B0702 | Thread tension releasing disc | 2 | 2 | |
| A76 | H4710C8001 | Spring | 2 | 2 | |
| A77 | HA115B7010 | Thumb nut complete | 2 | 2 | |
| A78 | HA310B0701 | Thumb nut revolution stopper | 2 | 2 | |
| A79 | H32481B721 | Thumb nut | 1 | 1 | SM1/4(40)×4.5 |
| A80 | H32481B621 | Take-up spring guard | 1 | 1 | |
| A81 | H32481BC21 | Screw | 1 | 1 | SM9/64(40)×6 |
| A82 | H32481BB21 | Stopper | 1 | 1 | |
| A83 | H32481B921 | Thread tension post | 1 | 1 |
| Pig. No. |
Part No. |
Description | GC2268-2B | GC2268-2BL |
Remarks |
| A84 | H32481B521 | Screw | 2 | 2 | SM11/64(40)×10 |
| A85 | H32481B821 | Bush | 1 | 1 | |
| A86 | H32481BF21 | Plate complete | 1 | 1 | |
| A87 | H4712C8001 | Thread take-up spring | 1 | 1 | |
| A88 | H32481BE21 | Plate | 1 | 1 | |
| A89 | H4713C8001 | Thread take-up spring | 1 | 1 | |
| A90 | H32481BD21 | Plate complete | 1 | 1 | |
| A91 | H32481B421 | Screw | 1 | 1 | |
| A92 | H3221B6820 | Mounting plate | 1 | 1 | |
| A93 | H3221B0686 | Thread tension stud | 1 | 1 | |
| A94 | H3221B6817 | Pin | 1 | 1 | |
| A95 | HA106B0676 | Screw | 1 | 1 | SM9/64(40)×6 |
| A96 | H3306B0661 | Oil check window | 1 | 1 | |
| A97 | H3221B6819 | Stopper | 1 | 1 | |
| A98 | H3200B2100 | Screw | 1 | 1 | SM9/64(40)×6.5 |
| A99 | H3230K0751 | Screw | 1 | 1 | SM11/64(40)×10 |
| A100 | H32481B121 | Thread tension stud | 1 | 1 |
B. ARM SHAFT MECHANISM
| Pig. No. |
Part No. |
Description | GC2268-2B | GC2268-2BL |
Remarks |
| B01 | H2405D0662 | Hinge pin | 1 | 1 | |
| B02 | HA105D0662 | Screw | 1 | 1 | SM1/4(40)×4 |
| B03 | H4706D8001 | Needle bar crank | 1 | 1 | |
| B04 | HA307C0662 | Screw | 3 | 3 | SM1/4(40)×6 |
| B05 | H32111B204 | Arm shaft bushing (left) | 1 | 1 | |
| B06 | HH61C08001 | Arm shaft | 1 | ||
| B06 | HH70C58001 | Arm shaft | 1 | ||
| B07 | H5332C8001 | Feed cam (right) | 1 | 1 | |
| B08 | H4716F8001 | Oil wick | 1 | 1 | |
| B09 | HA100C2060 | Screw | 1 | 1 | SM9/32(28)×13 |
| B10 | HA100C2070 | Screw | 1 | 1 | SM9/32(28)×14 |
| B11 | H2405D0664 | Screw | 1 | 1 | SM15/64(28)×14 |
| B12 | H32111B104 | Felt | 1 | 1 | |
| B13 | H7005D8001 | Driving wheel | 1 | ||
| B14 | H4723D8001 | Screw | 2 | SM15/64(28)×4.5 | |
| B15 | HH60C58001 | Connecting rod for upper feed | 1 | 1 | |
| B16 | H20111C106 | Holder | 1 | 1 | |
| B17 | H5330C8001 | Felt | 1 | 1 | |
| B18 | H007009260 | Stop ring | 1 | 1 | |
| B19 | H3205C0661 | Spring stop ring | 3 | 3 | |
| B20 | HH60C78001 | Pulley | 1 | 1 | |
| B21 | HE030C8001 | Screw | 1 | 1 | SM17/64(24)×6.5 |
| B22 | HE029C8001 | Screw | 1 | 1 | SM17/64(24)×14.5 |
| B23 | HA113F0684 | Screw | 2 | SM15/64(28)×8.5 | |
| B24 | HA110D0672 | Screw | 2 | SM15/64(28)×12 | |
| B25 | HE028C8001 | Screw | 1 | 1 | SM17/64(24)×20 |
| B26 | H3205J0662 | Needle bearing | 1 | ||
| B27 | H3205J0661 | Arm shaft collar | 1 | ||
| B28 | H4100C2040 | Balance wheel | 1 | ||
| B29 | HE022G8001 | Screw | 2 | 2 | SM1/4(32)×10.5 |
| B30 | HE027G8001 | Pin | 1 | 1 | |
| B31 | HE023G8001 | Long lever for pulley | 1 | 1 | |
| B32 | HE024G8001 | Pin | 1 | 1 | |
| B33 | HE026G8001 | Spring for pulley | 1 | 1 | |
| B34 | HE019G8001 | Pulley | 1 | 1 | |
| B35 | HE028E8001 | Screw | 2 | 2 | SM7/32(32)×7 |
| B36 | HE109C8001 | Cog belt | 1 | 1 | |
| B37 | HE021G8001 | Shaft for pulley | 1 | 1 | |
| B38 | H4719D8001 | Short lever for pulley | 1 | 1 | |
| B39 | HE031G8001 | Lever for pulley | 1 | 1 | |
| B40 | HE029G8001 | Pin | 1 | 1 | |
| B41 | H601012100 | Pin | 1 | 1 |
C. NEEDLE BAR & THREAD TAKE-UP LEVER MECHANISM
| Pig. No. |
Part No. |
Description | GC2268-2B | GC2268-2BL |
Remarks |
| C01 | H4725F8001 | Presser bar | 1 | 1 | |
| C02 | H3400C2020 | Screw | 1 | 1 | |
| C03 | H3200I2030 | Washer | 1 | 1 | |
| C04 | H3400C2010 | Needle bar guide | 1 | 1 | |
| C05 | H4726F8001 | Presser bar connecting link | 1 | 1 | |
| C06 | H4729F8001 | Spring | 1 | 1 | |
| C07 | H4753E8001 | Screw | 2 | 2 | SM11/64(40)×17.5 |
| C08 | H4728F8001 | Guide for slide block | 1 | 1 | |
| C09 | H4730F8001 | Vibrating presser bar extension | 1 | 1 | |
| C10 | H2405D1122 | Oil wick | 2 | 2 | |
| C11 | H4706F8001 | Pin | 1 | 1 | |
| C12 | H4707F8001 | Screw | 1 | 1 | |
| C13 | HA3411B308 | Screw | 1 | 1 | SM15/64(28)×7 |
| C14 | H4719F8001 | Needle bar rock frame | 1 | 1 | |
| C15 | H4717F8001 | Needle bar connecting link | 1 | 1 | |
| C16 | H2405D1121 | Pin | 1 | 1 | |
| C17 | H4712F8001 | Thread take-up lever | 1 | 1 | |
| C18 | HA110D0672 | Screw | 1 | 1 | SM15/64(28)×12 |
| C19 | H2405D1112 | Thread take-up link | 1 | 1 | |
| C20 | H24211D405 | Oil wick | 1 | 1 | |
| C21 | H24211D305 | Oil wick | 1 | 1 | |
| C22 | H32111D304 | Screw | 6 | 6 | SM3/32(56)×4 |
| C23 | H4721F8001 | Washer | 2 | 2 | |
| C24 | H3204D6513 | Felt | 1 | 1 | |
| C25 | H4722F8001 | Needle bar connecting stud | 1 | 1 | |
| C26 | H32111D604 | Screw | 1 | 1 | SM9/64(40)×8.5 |
| C27 | H4724F8001 | Needle bar | 1 | 1 | |
| C28 | H3406C0672 | Crank | 1 | 1 | |
| C29 | H4734F8001 | Washer | 1 | 1 | |
| C30 | H3204B0652 | Needle bar rock shaft bushing | 2 | 2 | |
| C31 | H4736F8001 | Needle bar rock shaft | 1 | ||
| C31 | H7004F8001 | Needle bar rock shaft | 1 | ||
| C32 | H602040240 | Pin | 1 | 1 | |
| C33 | H3406C0671 | Screw | 1 | 1 | SM15/64(28)×10 |
| C34 | H4759F8001 | Square block | 1 | 1 | |
| C35 | H32132D104 | Screw | 2 | 2 | SM9/64(40)×3 |
| C36 | H4739F8001 | Needle bar connecting stud | 1 | 1 | |
| C37 | JZDP1700G2302 | Needle | 2 | 2 | DP×17 23# |
| C38 | H4737F8001 | Vibrating Presser foot | 1 | 1 | |
| C39 | HA700F2100 | Screw | 1 | 1 | SM11/64(40)×7 |
D. PREAAER FOOT MECHANISM
| Pig. No. |
Part No. |
Description | GC2268-2B | GC2268-2BL |
Remarks |
| D01 | H4705E8001 | Feed lifting rock shaft | 1 | 1 | |
| D02 | H4706E8001 | Screw | 2 | 2 | SM1/4(24)×7 |
| D03 | H4707E8001 | Bushing | 2 | 2 | |
| D04 | H0030550608 | Thumb nut | 1 | 1 | M6×0.75 |
| D05 | H3115F0671 | Screw | 1 | 1 | SM1/4(28)×16 |
| D06 | H4709E8001 | Regulating crank | 1 | 1 | |
| D07 | H2013J0065 | Washer | 1 | 1 | |
| D08 | H2014J0066 | Connecting rod | 1 | 1 | |
| D09 | H2000J2100 | Screw | 1 | 1 | M6×0.75 |
| D10 | H20111C106 | Felt clip | 1 | 1 | |
| D11 | H4713E8001 | Oil wick | 1 | 1 | |
| D12 | HA307C0662 | Screw | 2 | 2 | SM1/4(40)×6 |
| D13 | H007009250 | Stop ring | 1 | 1 | |
| D14 | H4714E8001 | Eccentric | 1 | 1 | |
| D15 | H4757E8001 | Lifting Presser foot | 1 | 1 | |
| D16 | H3200E2020 | Screw | 1 | 1 | SM1/8(44)×4 |
| D17 | H4708D8001 | Screw | 2 | 2 | SM1/4(24)×13 |
| D18 | H4744E8001 | Bushing for presser bar | 2 | 2 | |
| D19 | H4746E8001 | Presser bar spring bracket | 1 | 1 | |
| D20 | H2404I0034 | Screw | 1 | 1 | SM9/64(40)×8.5 |
| D21 | H4748E8001 | Presser bar lifter | 1 | 1 | |
| D22 | H4749E8001 | Screw | 1 | 1 | SM11/64(40)×8.5 |
| D23 | H4753E8001 | Screw | 1 | 1 | SM11/64(40)×17.5 |
| D24 | H4717E8001 | Roller | 1 | 1 | |
| D25 | H2004J0655 | Support shaft | 1 | 1 | |
| D26 | H4718E8001 | Screw | 1 | 1 | SM11/64(32)×6 |
| D27 | H2004J0662 | Screw | 1 | 1 | SM1/4(40)×5 |
| D28 | H4719E8001 | Link | 1 | 1 | |
| D29 | H4715E8001 | Bell crank | 1 | 1 | |
| D30 | H4754E8001 | Presser bar | 1 | 1 | |
| D31 | HA111G0683 | Screw | 2 | 2 | SM11/64(40)×12 |
| D32 | H4723E8001 | Guide | 1 | 1 | |
| D33 | H4752E8001 | Presser bar lifting bracket | 1 | 1 | |
| D34 | H4768E8001 | Thread releasing plate | 1 | 1 | |
| D35 | H4767E8001 | Spring | 1 | 1 | |
| D36 | H4730E8001 | Presser bar spring | 1 | 1 | |
| D37 | H4729E8001 | Screw | 1 | 1 | |
| D38 | H3100G2170 | Screw | 1 | 1 | SM1/4(24)×11 |
| D39 | H4725E8001 | Screw | 1 | 1 | SM1/4(24)×19 |
| D40 | H4726E8001 | Nut | 1 | 1 | |
| D41 | H3100G2130 | Screw | 1 | 1 | SM1/4(24)×7 |
| D42 | H4727E8001 | Spring | 1 | 1 | |
| D43 | HH60E48001 | Knee lifter lever | 1 |
| Pig. No. |
Part No. |
Description | GC2268-2B | GC2268-2BL |
Remarks |
| D43 | H4728E8001 | Knee lifter lever | 1 |
SM3/16(32) | |
| D44 | H2000I2140 | Screw | 1 | ||
| D45 | H2000I2150 | Knee lifter lever joint | 1 | ||
| D46 | H2000I2160 | Nut | 1 | ||
| D47 | HH60E58001 | Knee lifter rod | 1 |
E. STITCH REGULATOR MECHANISM
| Pig. No. |
Part No. |
Description | GC2268-2B | GC2268-2BL |
Remarks |
| E01 | HA720F0686 | Screw | 1 | 1 | SM3/16(28)×12 |
| E02 | HA720F0685 | Bushing | 1 | 1 | |
| E03 | H5341H8001 | Plate for stitch length | 1 | 1 | |
| E04 | HA7421F120 | Dial | 1 | 1 | |
| E05 | HA720F0683 | Stopper pin releasing lever | 1 | 1 | |
| E06 | HA720F0687 | Coil spring | 1 | 1 | |
| E07 | HA700F2030 | Stopper pin | 1 | 1 | |
| E08 | HA100F2090 | Spring for stopper pin | 1 | 1 | |
| E09 | HA109F0674 | Seal | 1 | 1 | 14×2.4 |
| E10 | HA720F0681 | Screw bar | 1 | 1 | |
| E11 | HH61F18001 | Feed regulator crank | 1 | 1 | |
| E12 | HH61F28001 | Feed reversing lever shaft | 1 | ||
| E12 | HH70F88001 | Feed reversing lever shaft | 1 | ||
| E13 | HA104F0654 | Screw | 1 | 1 | SM15/64(28)×10 |
| E14 | HA113F0684 | Screw | 4 | SM15/64(28)×8.5 | |
| E15 | HH71F08001 | Baffle | 1 | ||
| E16 | HA100H2150 | Screw | 1 | 1 | SM9/64(40)×11 |
| E17 | H005004050 | Washer | 1 | 1 | |
| E18 | H5330H8001 | Spring retainer | 1 | 1 | |
| E19 | HG207G8001 | Spring | 1 | 1 | |
| E20 | H5329H8001 | Screw | 1 | 1 | SM9/64(40)×4 |
| E21 | H5327H8001 | Feed reversing lever shaft crank | 1 | 1 | |
| E22 | H5343H8001 | Screw | 1 | 1 | SM3/16(32)×16 |
| E23 | HA3411D308 | Set screw | 2 | 2 | SM15/64(28)×7 |
| E24 | H4939L8001 | Spring | 1 | ||
| E25 | HA113F0684 | Set screw | 2 | SM15/64(28)×8.5 | |
| E26 | HH61F38001 | Feed reversing lever | 1 | ||
| E26 | HH70F98001 | Feed reversing lever | 1 | ||
| E27 | H4937L8001 | Screw | 1 | SM15/64(28)×6 | |
| E28 | H4938L8001 | Rubber ring | 1 | ||
| E29 | HA113F0683 | Screw | 1 | SM3/16(28)×6.5 | |
| E30 | HA100F2110 | Washer | 1 | ||
| E31 | H4936L8001 | Lever | 1 | ||
| E32 | H5333H8001 | Screw | 1 | 1 | SM3/16(32)×8.5 |
| E33 | HH60F98001 | Link lever | 1 | 1 | |
| E34 | H5324H8001 | Screw | 1 | 1 | SM3/16(32)×13.5 |
| E35 | H5325H8001 | Nut | 1 | 1 | SM3/16(32)×3.6 |
| E36 | H5322H8001 | Reverse block shaft crank | 1 | ||
| E36 | HH70F68001 | Reverse block shaft crank | 1 | ||
| E37 | HA104G0012 | Screw | 1 | SM3/16(28)×12 | |
| E37 | HA111G0683 | Screw | 1 | SM11/64(28)×12 | |
| E38 | H2010J0066 | Nut | 2 | 2 | SM9/32(28)×3.6 |
| E39 | H5317H8001 | Screw | 2 | 2 | SM9/32(28)×13.3 |
| Pig. No. |
Part No. |
Description | GC2268-2B | GC2268-2BL |
Remarks |
| E40 | H5315H8001 | Crankshaft | 1 | 1 | |
| E41 | H5309H8001 | Slide block | 2 | 2 | |
| E42 | H5313H8001 | Link lever | 1 | 1 | |
| E43 | HA711B0681 | Screw | 2 | 2 | SM9/64(40)×4.5 |
| E44 | H5311H8001 | Shaft for reversing block slide block | 1 | 1 | |
| E45 | H5312H8001 | Oil wick | 1 | 1 | |
| E46 | H5305H8001 | Reverse block | 1 | 1 | |
| E48 | HA100F2130 | Screw | 1 | 1 | SM15/64(28)×5 |
| E47 | HA300B2080 | Set screw | 1 | 1 | SM15/64(28)×6.5 |
| E49 | H5320H8001 | Screw | 1 | 1 | SM15/64(28)×23.5 |
| E50 | HH60F78001 | Link lever | 1 | 1 | |
| E51 | HH60F68001 | Link lever | 1 | 1 | |
| E52 | H5314H8001 | Crank | 1 | 1 | |
| E53 | HA700F2100 | Screw | 1 | 1 | SM11/64(40)×7 |
| E54 | HA800F2020 | Screw | 1 | 1 | SM15/64(28)×13.5 |
| E55 | H5308H8001 | Reverse block shaft | 1 | ||
| E55 | HH70F48001 | Reverse block shaft | 1 | ||
| E56 | HA100C2020 | Set screw | 1 | 1 | SM15/64(28)×10 |
| E57 | H415060160 | Screw | 2 | ||
| E58 | HH60F48001 | Mounting frame | 1 | ||
| E59 | H5306H8001 | Reverse block shaft | 1 | 1 | |
| E60 | H5307H8001 | Bushing for reverse block shaft | 1 | 1 |
F. FEEDING AND FEED LIFTING & ROTATING HOOK SHAFT MECHANISM
| Pig. No. |
Part No. |
Description | GC2268-2B | GC2268-2BL |
Remarks |
| F01 | HE114E8001 | Screw | 1 | 1 | SM11/64(40)×6 |
| F02 | HE115E8001 | Washer | 1 | 1 | |
| F03 | HE012E8001 | Connecting screw for feed dog | 1 | 1 | SM11/64(32)×6.5 |
| F04 | HE112E8001 | Feed dog | 1 | 1 | |
| F05 | HE113E8001 | Feed rock lifting shaft crank | 1 | 1 | |
| F06 | H41111E204 | Felt | 1 | 1 | |
| F07 | HE117E8001 | Oil wick | 1 | 1 | |
| F08 | HE116E8001 | Pin | 1 | 1 | |
| F09 | HE046C8001 | Screw | 2 | 2 | SM0.1339(36)×6 |
| F10 | HE105E8001 | Slide block for crank | 1 | 1 | |
| F11 | HE109E8001 | Screw | 1 | 1 | SM9/64(40)×5 |
| F12 | HE110E8001 | Roller | 1 | 1 | |
| F13 | HE108E8001 | Screw | 2 | 2 | SM9/64(40)×7 |
| F14 | HE106E7101 | Mounting frame | 1 | 1 | |
| F15 | HE104E8001 | Feed rock shaft crank | 1 | 1 | |
| F16 | HE109D8001 | Safe clutch shaft | 1 | 1 | |
| F17 | H4107D0672 | Safe clutch spring | 1 | 1 | |
| F18 | HE108D8001 | Safe clutch bushing | 1 | 1 | |
| F19 | H601016100 | Safe clutch shaft pin | 1 | 1 | |
| F20 | HE110D8001 | Bevel gear for hook shaft | 2 | 2 | |
| F21 | HG214G8001 | Set screw | 6 | 6 | SM1/4(40) |
| F22 | HE105C8001 | Set screw | 1 | 1 | SM13/64(32)×4.7 |
| F23 | HE111D8001 | Rotating hook shaft bushing (left) | 1 | 1 | |
| F24 | HE112D8001 | Felt | 1 | 1 | |
| F25 | HE106D8001 | Recessed wheel | 1 | 1 | |
| F26 | HE043C8001 | Set screw | 1 | 1 | SM1/4(28)×6.5 |
| F27 | HE013H8001 | Screw | 3 | 3 | SM13/64(32)×4.3 |
| F28 | HE113D8001 | Bushing | 1 | ||
| F28 | HH70G58001 | Bushing | 1 | ||
| F29 | HE104D8001 | Rotating hook shaft | 1 | ||
| F29 | HH70G48001 | Rotating hook shaft | 1 | ||
| F30 | HE104C8001 | Feed eccentric | 1 | 1 | |
| F31 | HE121E8001 | Set screw | 2 | 2 | SM13/64(32)×5 |
| F32 | HE013C8001 | Screw | 1 | 1 | SM17/64(24)×6.5 |
| F33 | H4100D2100 | Bushing | 2 | ||
| F34 | HE034G8001 | Screw | 2 | 4 | SM1/4(32)×7 |
| F35 | HE107D8001 | Screw | 1 | 1 | SM1/4(28)×6 |
| F36 | HE105D8001 | Rotating hook shaft collar | 2 | 2 | |
| F37 | HE119E8001 | Screw | 1 | 1 | SM5/32(40)×9 |
| F38 | HE118E7101 | Feed rock shaft | 1 | ||
| F38 | HH70G67101 | Feed rock shaft | 1 | ||
| F39 | HE113D8001 | Bushing | 1 | ||
| F39 | H5321E8001 | Bushing | 1 |
G. HOOK SADDLE MECHANISM

| Pig. No. |
Part No. |
Description | GC2268-2B | GC2268-2BL |
Remarks |
| G01 | HD806I8001 | Bobbin | 2 | 2 | |
| G02 | HH60H67101 | Rotating hook | 2 | 2 | |
| G03 | HE117B8001 | Rotating position guide | 2 | 2 | |
| G04 | HE046C8001 | Screw | 2 | 2 | SM0.1339(36)×6 |
| G05 | HE116B8001 | Guide plate slide block | 2 | 2 | |
| G06 | HE121B8001 | Washer | 4 | 4 | |
| G07 | HE120B8001 | Washer | 4 | 4 | SM13/64(32)×16.5 |
| G08 | HE125B8001 | Bushing | 2 | 2 | |
| G09 | HE124B8001 | Washer | 2 | 2 | |
| G10 | H2404I0652 | Screw | 2 | 2 | SM9/64(40) |
| G11 | HE127B7101 | Guide plate | 2 | 2 | |
| G12 | HE126B8001 | Felt | 2 | 2 | |
| G13 | HE147B8001 | Rotating hook bracket | 1 | 1 | |
| G14 | HE119B8001 | Rotating hook bracket | 1 | 1 | |
| G15 | HE028E8001 | Screw | 2 | 2 | SM7/32(32)×7 |
| G16 | HE123B8001 | Bevel | 2 | 2 | |
| G17 | HE143B8001 | Screw | 2 | 2 | SM13/64(32) |
| G18 | H005009050 | Washer | 2 | 2 | |
| G19 | HE113B8001 | Connecting frame | 1 | 1 | |
| G20 | HE131B8001 | Front guide plate (left) | 1 | 1 | |
| G21 | HE130B8001 | Screw | 8 | 8 | SM0.1339(36)×8.2 |
| G22 | HE144B8001 | Connecting plate | 2 | 2 | |
| G23 | HE145B8001 | Screw | 10 | 10 | SM11/64(40)×9 |
| G24 | HE133B7101 | Front slide plate | 1 | 1 | |
| G25 | HE137B8001 | Set screw | 2 | 2 | SM11/64(32)×10 |
| G26 | HE136B8001 | Needle plate | 1 | 1 | |
| G27 | HE140B8001 | Back guide plate (left) | 1 | 1 | |
| G28 | HE138B7101 | Back slide plate | 1 | 1 | |
| G29 | HE142B8001 | Connecting plate | 2 | 2 | |
| G30 | HE141B8001 | Back guide plate (right) | 1 | 1 | |
| G31 | HE115B8001 | Slide plate | 1 | 1 | |
| G32 | H4111E0682 | Back guide plate (left) | 1 | 1 | |
| G33 | HE114B8001 | Needle plate | 1 | 1 | M4×4 |
| G34 | HE132B8001 | Front guide plate(right) | 1 | 1 | |
| G35 | HE146B8001 | Slide plate | 1 | 1 |
H. PNEUMATIC CONTROL UNIT
| Pig. No. |
Part No. |
Description | GC2268-2B | GC2268-2BL |
Remarks |
| H01 | HA300B2130 | Screw | 3 | SM11/64(40)×5.5 | |
| H02 | H0606N8001 | Support block | 1 | ||
| H03 | H005008060 | Spring Washer | 2 | ||
| H04 | H415060200 | Screw | 2 | ||
| H05 | H0605N8001 | Fixing plate | 1 | ||
| H06 | H4916G8001 | Windpipe joint | 3 | φ6-M5 | |
| H07 | H0608N8001 | Wire joint | 1 | φ6-M5 | |
| H08 | H415050450 | Screw | 4 | ||
| H09 | H0607N8001 | Pump | 1 | SDA25×25-B | |
| H10 | HA300B2170 | Screw | 2 | SM11/64(40)×9 | |
| H11 | HA700Q0050 | Holder | 3 | ||
| H12 | H4915G8001 | Pump | 1 | SDA25×25-B | |
| H13 | HA300B2170 | Screw | 4 | SM11/64(40)×9 | |
| H14 | HH70I58001 | Arm side cover | 1 | ||
| H15 | H005008060 | Spring Washer | 4 | ||
| H16 | H415060200 | Screw | 4 | ||
| H17 | H4913G8001 | Coupling | 1 | ||
| H18 | H4914G8001 | Link | 1 | ||
| H19 | HD44JM8001 | Holder | 1 | ||
| H20 | HA100I2090 | Screw | 1 | SM11/64(40)×13 | |
| H21 | HA708P0668 | Holder | 1 | ||
| H22 | H4980K8001 | Holder | 3 | ||
| H23 | H4918L8001 | Screw | 2 | ||
| H24 | HH70I57101 | Touth switch complete | 1 | ||
| H25 | HA703R0065 | Detector bracket (complele) | 1 | ||
| H26 | HA703R0067 | Washer | 1 | ||
| H27 | HA300C2030 | Screw | 1 | SM11/64(40)×8 | |
| H28 | H3205J0662 | Needle bearing | 1 | NTN 6204Z | |
| H29 | H007009300 | Retaining ring C-type | 1 | ||
| H30 | HA700R0060 | Washer | 1 | ||
| H31 | HA700R0050 | Support spring | 1 | ||
| H32 | HA700R0040 | Spacer B | 1 | ||
| H33 | H4928L8001 | Speed command disk F20 (up) | 1 | ||
| H34 | HA700R0030 | Spacer A | 2 | ||
| H35 | H4930L8001 | Speed command disk F11 (down) | 1 | ||
| H36 | HA110D0672 | Screw | 2 | SM15/64(28)×12 | |
| H37 | H4931L8001 | Pulley (complete) | 1 |
I. ACCESSORIES
| Pig. No. |
Part No. |
Description | GC2268-2B | GC2268-2BL |
Remarks |
| I01 | HH60I68001 | Belt cover (left) | 1 | ||
| I01 | HH70J68001 | Belt cover (left) | 1 | ||
| I02 | H2000O0360 | Screw | 2 | 2 | SM11/64(40)×6 |
| I03 | H0207L8001 | Screw | 2 | 2 | SM15/64(28)×18 |
| I04 | H6760B8001 | Washer | 2 | 2 | |
| I05 | H6307L8001 | Belt cover (upper) | 1 | 1 | |
| I06 | HH60I78001 | Belt cover (right) | 1 | ||
| I06 | HH70J78001 | Belt cover (right) | 1 | ||
| I07 | HH60I88001 | Screw | 2 | SM15/64(28) | |
| I08 | HN720J8001 | Screw | 2 | SM15/64(28)×10 | |
| I08 | H0207L8001 | Screw | 2 | SM15/64(28)×18 | |
| I09 | H005006060 | Washer | 2 | ||
| I10 | H8000H2070 | Pothook | 2 | ||
| I11 | HPG100E203 | Chain | 1 | ||
| I12 | HB00001060 | Sockt wrench | 1 | 1 | |
| I13 | HE105I8001 | Spanner | 1 | 1 | |
| I14 | HA300J2210 | Screw driver (small) | 1 | 1 | |
| I15 | HA300J2200 | Screw driver (middle) | 1 | 1 | |
| I16 | HA300J2070 | Screw driver (larger) | 1 | 1 | |
| I17 | HD806I8001 | Bobbin | 4 | 4 | |
| I18 | JZDP1700G2302 | Needle | 6 | 6 | DP×17 23# |
| I19 | H3200L0120 | Thread stand assay | 1 | 1 | |
| I20 | HA100J2180 | Cover | 1 | ||
| I20 | H7009K8001 | Cover | 1 | ||
| I21 | H2004O0069 | Oil tank | 1 | 1 | |
| I22 | H6620J8001 | Head rest bar | 1 | ||
| I23 | H003002080 | Nut | 4 | ||
| I23 | H003002120 | Nut | 4 | ||
| I24 | H005001080 | Washer | 4 | ||
| I24 | H005001120 | Washer | 4 | ||
| I25 | H403080750 | Screw | 4 | ||
| I25 | H103120120 | Screw | 4 | ||
| I26 | HA300J2230 | Washer | 2 | ||
| I27 | H801045200 | Wood screw | 2 | ||
| I28 | H3300L0040 | Bobbin winder assay | 1 | ||
| I29 | HA704S0654 | Adjusting plate for speed command disk | 1 |
GAUGE PARTS LIST
|
Description | Part No. | |||
| 1/4″(6.4mm) | 1/8″(3.2mm) | 3/8″(9.5mm) | 1/2″(12.7mm) | |
| Vibrating Presser foot | H4737F8001 | H4741F8001 | H4745F8001 | H4746F8001 |
| Needle Clamp | H4739F8001 | H4750F8001 | H4754F8001 | H4755F8001 |
| Lifting Presser foot | H4757E8001 | H4758E8001 | H4762E8001 | H4763E8001 |
| Feed Dog | HE112E8001 | HE139E8001 | HE138E8001 | HH60G48001 |
| Needle Plate | HE136B8001 | HE169B8001 | HE160B8001 | HH61H18001 |
| Front Slide Plate | HE133B7101 | HE165B7101 | HE156B7101 | HH60H97101 |
| Back Slide Plate | HE138B7101 | HE167B7101 | HE158B7101 | HH61H07101 |
| Front Guide Plate (left) | HE131B8001 | HE161B8001 | HE152B8001 | HH61H28001 |
| Front Duide Plate (right) | HE132B8001 | HE162B8001 | HE153B8001 | HH61H38001 |
| Back Duide Plate (left) | HE140B8001 | HE163B8001 | HE154B8001 | HH61H48001 |
| Back Duide Plate (right) | HE141B8001 | HE164B8001 | HE155B8001 | HH61H58001 |
| SHANGHAI HUIGONG NO.3 SEWING MACHINE FACTORY |
| ADD: 1418, Yishan Road, Shanghai, China |
| Zip Code: 201103 |
| Overseas Business: TEL: 86-21-64853303 FAX: 86-21-64854304 |
| E-mail:[email protected] http://www.highlead.com.cn |
| The description covered in this manual is subject to change for the improvement of the commodity without notice |
| 2008.12. Printed |



Note: When thin slippery thread (polyester thread or filament thread, for example) is used pass the thread through thread guide “B” as the wall.































