MITSUBISHI ELECTRIC LU-ST KIT Sewing Machine Instruction Manual
FOR YOUR SAFETY!
If you operate this attachment first time, please make sure to read the following instructions for your safety and proper operation.
- This instruction manual explains the instructions how to operate and maintain the sewing machine.
- All information in this instruction manual are subject to change without notice.
- MITSUBISHI ELECTRIC CORPORATION has all the copy rights on this instruction manual.
Reprinting the parts or all of this instruction manual is not allowed without permission.
Explanations for the warning signs
| No | Warning sign | Meanings of warning sign |
| 1 |
| Caution for sewing machine operation: Warning to operate the sewing machine without safety guards and to prohibit doing any operation except sewing while the power is turned ON. |
| 2 |
| Caution for the fingers to be caught in the machine: Warning to a possible danger to be caught the fingers in the machine under the specified operation. |
Features
- This device is designed to effectively shorten the tail lengths after trimming.
- The LU-ST kit attaches to the machine without any machining.
- The elimination of additional hand trimming will increase production.
- Any damage to sewn parts caused by hand trimming will be eliminated.
- The Mitsubishi genuine knife mechanism provides a reliable and durable trim function.
Correspondence model
| Type | Correspondence | Control box |
| LU-ST KIT | LU2-4410-B1T-CS | XC-GMFY |
- A sewing machine made in before April 1995 doesn’t correspond to LU-ST KIT.
Specification
- Max. stitch length is limited to 8mm.
- The air inlet diameter is 8mm.
- The air regulator and branch device are not enclosed with this kit and must be prepared by the user.
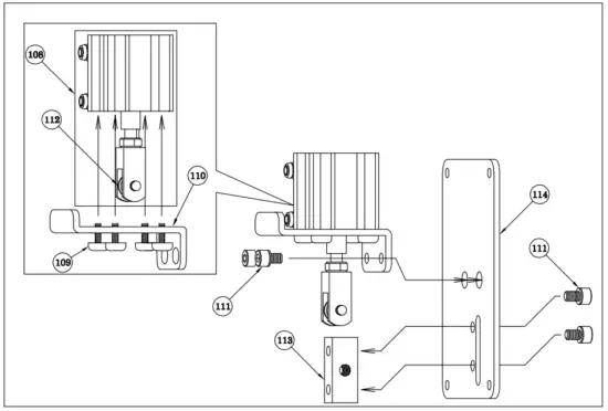
Component Parts
LU-ST KIT is composed under mentioned parts. (Fig No. corresponds to following figures.) Please specify (M…) by the part number for a service parts when you order.
| Fig No. | Parts No. | Description | Amt. Req. |
| 101 | MP69A0104 | Feed dog | 1 |
| 102 | MP69A0838 | Fixed knife | 1 |
| 103 | MP69A0101 | Needle plate | 1 |
| 104 | MP47A0567 | Urethane tube | 2 |
| 105 | MP69A0350 | Thread trimmer cam | 1 |
| 106 | MP69A0841 | Stitch length indicating plate | 1 |
| 107 | M90409041 | Wood screw | 2 |
| 108 | MP69A0434 | Air cylinder assembly | 1 |
| 109 | M96062021 | Screw | 4 |
| 110 | MP69A0601 | Mounting plate | 1 |
| 111 | M95003017 | Bolt | 4 |
| 112 | M90519050 | Nylon washer | 2 |
| 113 | MP69A0603 | Bracket | 1 |
| 114 | MP69A0237 | Back cover | 1 |
| 115 | MP69A0910 | Driving link | 1 |
| 116 | M91502045 | Nut | 1 |
| 117 | M91503031 | Bolt | 3 |
| 118 | MP69A1910 | Link | 1 |
| 119 | M90910060 | Pin | 1 |
| 120 | M91066004 | Screw | 4 |
| 121 | MP69E0599 | Solenoid valve assembly | 1 |
| 122 | MH25A1601 | Solenoid value mounting plate | 1 |
The parts marked as “D** ” in the drawing cannot be used after this kit is installed. However, these must be used when returning to the standard specifications, so store them in a safe place. Moreover, parts of “R** ” have already been installed in the sewing machine head.
LU-ST KIT Component Parts





Installation procedure of LU-ST KIT
Exchange of thread trimmer cam
- Lean the sewing machine backwards.
- Loosen the screw of bush (R01).
- Loosen the screw of bush (R02).
- Loosen the screw of feed cam (R03).
- Loosen the screw of bush (R04).
- Loosen the screw of the large gear (R05).
- Loosen the screw of eccentric cam (R06). (Lift the sewing machine and loosen the screw from the back side.)
- Loosen the screw of bush (R07).
- Loosen the screw of spring holder (R08). And then detach the coil (R09) spring and pin (R10), and move the lower shaft right to the place where thread trimmer cam (D01) remove with bush (R04) and thread release cam (R11). (Remove the eccentric cam (R06) and the large gear (R05).)
- Remove the thread trimmer cam (D01) with bush (R04) and thread release cam (R11).
At that time, if the installation angle of the cam and bush is recorded, re-assembly work
become easy. - Loosen the screw of thread release cam (R11), and then remove the thread release cam (R11) with bush (R04) and thread trimmer cam (D01). Exchange the thread trimmer cam (D01) for the kit one (105). In thread trimmer cam (105) of the kit has mark “2” to the side. Install bush (R04) in the direction of the figure below. Afterwards, install thread release cam (R11).
- Pass assembled the bush assembly (R04, 105, R11) through the lower shaft.
- Move the lower shaft left slowly.
- Fix the large gear (R05). (Install it in the direction of the figure below.)
- Fix the eccentric cam (R06).(Tighten the screw in the groove of the shaft at the right of the feed bar connecting fork beforehand.)
- Move the lower shaft left and return it to former position. (17) Put the first screw in the set of lower shaft, and then tighten all of the loosened screw. (Tighten the screw of bush (R07) finally.).

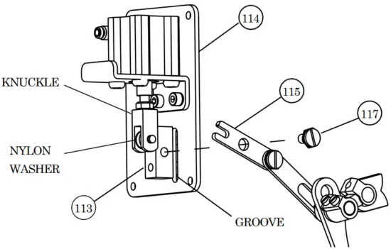
Installation of air cylinder assembly
- Remove the snap pin (R12), remove the knee lifter connecting rod (R14) from the knee lifter crank assy (R13).
- Remove the rubber plug (R15).
- Remove the back cover (D02).

- Loosen the two screw (R17) of the feed regulator cam (R16) seen when the rubber plug (R15) and
- the back (D02) cover are removed. And, pull out the pin (D03).
- Note do not remove screw (R17).

- Match the hole of the driving link (R18) and the hole of feed regulator cam (R16) and fix the pin (119). (Fit the hole of feed regulator cam (R16) to the hole of driving link (R18) moving driving link up and down and back and forth. Lean arm when driving link (R18) does not move back and forth and rotate the reverse bracket.)
- Match the set of pin (119) and the screw (R17) of the feed regulator cam (R16) and tighten a right screw previously. Tighten the screw after confirming the screw fits in the set.
- Match the back cover (114) to arm and tighten the screw on the left of the back cover (114) loosely.
- Take out the driving link (115) from the groove of the back cover (114). (Pull the knuckle to the point in the under.)
- Fix the groove in the point of the driving (115) link into the pin between nylon washer and nylon washer.
- Match the screw hole of the bracket (113) and the hole of the driving link (115) and tighten the bolt (117).
- Take out the machine head support on the table.
- Tighten all the screws of the back cover (114). and, it is assembly completion.

Exchange of feed dog, fixed knife, and needle plate
Exchange parts of the figure below which you have for the one (101, 102, 103) of the accessory.

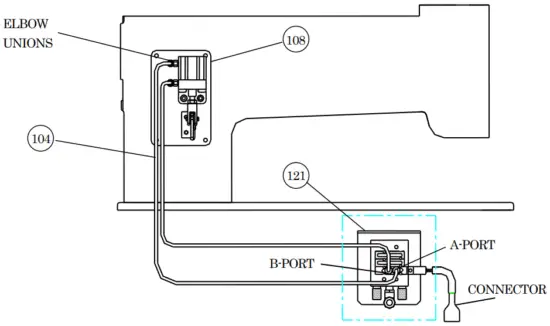
Installation of solenoid valve
- Connect the urethane tube (104) with elbow unions of air cylinder assembly (108).
- Install solenoid value assembly (121) on the place where urethane tube (104) and under the table reach.
- Connect the upper part of elbow unions installed on the air cylinder assembly (108) with A port of the solenoid valve assembly (121) by the urethane tube (104). Similarly, connect the lower side of elbow unions and B port of the solenoid valve assembly (121) by the urethane tube (104).
- Connect the connector of solenoid value assembly (121) with option B of the control board.
- Connect the air supply source to the P port of the solenoid value.
- Use the regulator and the branch device which you prepared.

Exchange of stitch length indicating plate.
- Turn the dial left and make the stitch length indicating plate to 0 points.
- Loosen the screw at the center of the dial and remove the dial.
- Remove the stitch length indicating plate (D04) from the dial and fix stitch length indicating plate (106) of this kit into the dial.
- Make 0 points of the dial just above. after that, tighten the screw to install the dial.

- Adjustment of thread trimmer cam
Refer to “Adjusting of thread trimmer cam” of instruction manual for LU2-4410. - Timing between rotating hook motion and needle motion
Refer to “Adjusting of timing between rotating hook motion and needle motion” of the instruction manual for LU2-4410. - Initial position of movable knife
When you install this kit, the position need not be adjusted. Refer to “install of movable knife” of the manual for the exchange of the movable knife . However, the adjustment of the movable knife changes because the shape of the fixed knife changed. Adjust to hide the point of the movable knife from the point of the blade of the fixed knife by 0-0.5 mm.
- Adjusting of the stitch length before trimming
Depending on sewing conditions, the stitch immediately before trimming may not be formed correctly. This may cause the trimmed tail length to be long. In this case, adjust the length of the stitch immediately before the trimming position to ensure that a proper stitch is formed. As reference, the standard stitch length is 1 to 2 mm. The length of the stitch immediately before trimming can be adjusted by moving the position of the knuckle to the air cylinder shaft up/down. Adjust with the following methods.- Loosen the nut on the knuckle.
- Rotate the air cylinder shaft. Adjust the position of the knuckle to the air cylinder shaft.
- The stitch immediately before trimming is as follows.
- During forward stitching: Looking from above, turn the shaft clockwise to change to reverse stitching.
- Too short during reverse stitching: Looking from above, turn the shaft clockwise.
- Too long during reverse stitching: Looking from above, turn the shaft counterclockwise.
The stitch length changes about 1 mm when the shaft is rotated once.
In the position of the knuckle when shipping, dimension A between the lower surface of the air cylinder and the upper surface of the knuckle is 19 mm like the below figure with the air cylinder drawn in.
- Setting up the XC-GMFY control box
Set the control box to machine model LU2-4412 by simple setting function.
From the library of Superior Sewing Machine & Supply LLC – www.supsew.com



























