![]()
MITSUBISHI INDUSTRIAL SEWING MACHINE
Model
DB-189
classes
M Series
INSTRUCTION FOR OPERATION MANUAL
Main parts name of machine

- Wiring connection between motor and control box;
When connecting the electric wire, for safety be sure to switch off or pull out the power plug from the electric outlet.
Pass the two (2) cords coming out of the machine through the round hole of the table and insert each plug into the mating socket respectively on the controller, Be sure to attach the earth of the power socket to prevent an accident by an electric shock and damages of apparatuses.
- To stop needle bar at pre-set position <Adjustment synchronizer>
Timing mark (C) is contacted with (B) and stops after completing the trimming by kick-up of the pedal. Materials are fully adjusted, however, if the gap is above 3mm, adjustment is made by the following.
Preparation
(1) Take off the plug (with twelve (12) pins) of the cord coming out of the machine head from the controller. (2) Remove two screws (A) and then the detector cover. (3) Operate the machine and stop it at a needle-up position, and make the following adjustments in this condition.
Adjustment
(1) Loosen the set screw (two pieces) while supporting the magnet ring by hand, fit the timing marks (B) and (C) by turning the balance wheel then tighten the set screws again. At this time, adjust the clearance between the ring and the print plate to about 0.8 mm (2) Step on the pedal and repeat kick-back operations several times to ensure that the stop position is stabilized.
How to use the machine
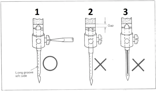
1 How to attach needle:
Note: Before making the following adjustment, switch off the power source by all means.

- Insert the needle upto the bottom of needle clamp and tighten the screw keeping the long groove side of needle toward the left.
- Insufficient insertion
- Wrong direction
2 How to wind the lower thread on the bobbin
Note: In case of rotating the machine without sewing, keep the presser foot raised.
Adjustment: ** Strength of winding: Particularly in case of nylon or polyester thread, it is desirable that the bobbin is wound enough loose.
** Uneven winding: In case of uneven winding adjust the thread guide slightly toward the less wound part of bobbin to obtain even winding.
** Winding amount of thread: When the winding amount of thread is excessive loosen the adjusting screw and tighten when insufficient.

3. Threading
Raise the thread take-up lever to its highest position and thread the upper thread in the following order.


4. Adjustment of stitch length & reverse lever
Note: For desired stitch length, push the reverse lever downward and adjust by stitch length adjusting dial.

Note: The thread guide (A) of cotton stand is to be put just above of spool.

5. Adjustment of pressure on presser foot
Pressure on the presser foot is to be adjusted in accordance with materials to be sewn.

- Pressure regulating thumb screw
a. For light weight material (weaken)
b. For heavy weight material (strengthen)
- When the touch back is fixed, reverse sewing is made all while the push-button is pushed by pushing the push-button lightly during sewing. When the hand is set free from the push-button, reverse sewing turns into forward sewing.

6. Adjustment of thread tension:

- Well balanced stitch
- In case upper thread is too strong or lower thread is too weak
- In case upper thread is too weak or lower thread is too strong
7. Upper thread tension:

** Upper thread is adjusted according to the lower thread tension.
** Upper thread tension is adjusted by tension regulating thumb nut.
For special fabric sewing with special thread, the desired tension can be obtained by adjusting the strength and operating range of thread take-up spring.
| Standard adjustment of thread take-up spring | Tension strength | Operating range | |
| Light weight | 10g | 6 – 7mm | |
Medium weight | 15 – 30g | 6 – 8mm |
8. Lower thread tension:

- Lower thread tension can be adjusted by screw A.
- In case of cotton thread #60, the regular thread tension can be checked as the following. Hold the end of pulled out thread, and if the bobbin case fall slowly, the proper tension is obtained.
9. Adjustment of hook oil lubrication:
Adjustment is made by means of oil lubrication ring (A). Regular amount; 1.5–2.0 (0 less – 3 more)

10 Order of pedal operation
(Operation of machine)
The pedal can be operated in four (4) steps.
(1) Light forward step-on : Low speed stitching (inching). (2) Deep step-on : High speed stitching. (3) Neutral : Stop at needle-down position. (4) Kick-back : Stop at needle-up position after thread cutting.
- Speed adjustment is possible by controlling the amount of step-on between the above (1) and (2). Direct kick-back from (2) to (4) also ensures normal thread cutting.

11. How to treat the needle thread at start of stitching
(1) Open stitching
When starting to stitch without having the upper thread held by presser foot, the end of upper thread is stitched to the reverse side of the cloth together with lower thread. In this case start the first 2 – 3 stitches very slowly to prevent the slip out of the thread from the needle hole.
(2) When upper thread held under presser foot the end of upper thread remains on the surface of cloth. For this way of stitch, it is advisable to pull out the sewn fabric to the other side.
12. Adjustment for length of the thread tail
In case the length of the upper thread tail is changed according to the stitching condition, adjustment can be made by pretension spring pressure.
Tighten the tension; Short thread tail
Loosen the tension: Long thread tail
- In case of using the cotton thread and the thick polyester thread, change the pretension spring with the thick one.
- In case of making the upper thread further lengthen, make the thread guide operate.
How to operate the thread guide- Take off the face plate and pull up the presser bar lifter.
- Attach the wire in the accessory box
(Hook the wire in holes of the bell crank and the thread guide as shown in Fig.)
Precaution before starting to operate
1. Lubrication–1
Before starting to operate pour oil up to the position (A) of oil tank. While operating you are requested to check the oil volume periodically, and in case oil volume would come less than the position (B) replenish oil up to the position (A).

2 Lubrication–2
When starting to sew initially and after kept idle for a long time without using it is essential to oil enough through the oil holes in the red colored rubber plug.

3 Condition of oil lubrication
While operating the machine it is necessary to check the condition of oil lubrication through the oil check window.

4. Periodical cleaning
* Remove the throat plate and clean the feed dog.



- * Remove the throat plate and clean the feed dog.
- *Lay down the machine head and clean the hook.
- * The filter is removed by pulling the clip spring after laying down the machine head. Clean the filter.
Specifications
MODEL | DB-189-10 | DB-189-11 | DB-189-12 | DB-189-13 | ||
Submodel¹ | -M:-BM;-FM:-FBM -WM:-WBM;-FWM:-FWBM | -M:-BM | ||||
| For | Light to medium weight material | Light weight material | Medium to heavy weight material | Heavy weight material, JEANS | ||
| Speed (Max.) MaX. stitch length Needle bar stroke | 4000 s.p.m. 5mm (5 s.p.i.) 33.0mm (1-19/64″) | 4000 s.p.m. 4 mm (6 s.p.i.) 30.5mm (1-3/16″) | 3500 s.p.m. 5 mm (5 s.p.i.) 35.0mm (1-3/8″) | 3500 s.p.m. 5 mm (5 s.p.i.) 35.0mm | ||
| Pressure-foot clearance | w/o F or W | Knee lifter | 9mm (23/64″) | 6mm (15/64″) | 9mm (23/64″) | |
| Head | 7.2mm (9/32″) | 4mm (5/32″) | 7.2mm (9/32″) | |||
| w/ F or W | Knee lifter | 8mm (5/16″) | 5mm (3/16″) | – | – | |
| Head | 6mm(15/64″) | 3mm (1/8″) | ||||
| Needle type | Organ | DBX1 #14 | DBX1 #11 | DBX1 #21 | DBX1 #23 | |
| Singer | SY1513#14 | SY1513 #11 | SY2254 #21 | SY2254 #23 | ||
| Schmetz | 14:25Nm90 | 14:25Nm75 | 14:25 Nm 130 | 14:25 Nm 160 | ||
Notes:
- B: w/touch-back device. F: w./floating foot. W: w/wiper device.
- Needle type (Organ needles are standard)
Cautions :
- Please be sure to use the needle plate, hook and bobbin case for exclusive use to the automatic under trimer.
- The bobbins for use shall be of good condition without any deformation.
The specification may partially changed for improvement.

WT–00640X02 printed in Japan
From the library of Superior Sewing Machine & Supply LLC – www.supsew.com

















