1412 Electric Sewing Machine
Instruction Manual
1412 Instruction Manual
IMPORTANT SAFETY INSTRUCTIONS
When using an electrical appliance, basic safety should always be followed, including the following:
Read all instructions before using this sewing machine.
- An appliance should never be left unattended when plugged in.
- Always unplug this appliance from the electric outlet immediately after using and before cleaning.
- Always unplug before relamping. Replace bulb with same type rated 10 watts
DANGER
– To reduce the risk of electric shock:
(110-120V area) or 15 watts (220-240V area).
- Do not allow to be used as a toy. Close attention is necessary when this appliance is used by or near children.
WARNING – To reduce the risk of burns, fire, electric shock, or injury to persons: - Use this appliance only for its intended use as described in this manual. Use only attachments recommended by the manufacturer as contained in this manual.
- Never operate this appliance if it has a damaged cord or plug, if it is not working properly, if it has been dropped or damaged, or dropped into water. Return the appliance to the nearest authorized dealer or service center for examination, repair, electrical or mechanical adjustment.
- Never operate the appliance with any air openings blocked. Keep ventilation openings of the sewing machine and foot controller free from accumulation of lint, dust, and loose cloth.
- Keep fingers away from all moving parts. Special care is required around the sewing machine needle.
- Always use the proper needle plate. The wrong plate can cause the needle to break.
- Do not use bent needles.
- Do not pull or push fabric while stitching. It may deflect the needle causing it to break.
- Switch the sewing machine off (“O”) when making any adjustments in the needle area, such as threading needle, changing needle, threading bobbin, or changing presser foot, and the like.
- Always unplug sewing machine from the electrical outlet when removing covers, lubricating, or when making any other user servicing adjustments mentioned in the instruction manual.
- Never drop or insert any object into any opening.
- Do not use outdoors.
- Do not operate where aerosol spray products are being used or where oxygen is being administered.
- To disconnect, turn all controls to the off (“O”) position, then remove plug from outlet.
- Do not unplug by pulling on cord. To unplug, grasp the plug, not the cord.
- The sound pressure level under normal operating conditions is 75dB(A).
- Please turn off the machine or unplug when the machine is not operating properly.
- Never place anything on the foot controller.
- If the supply cord that is fixed with foot controller is damaged, it must be replaced by the manufacturer or its service agent or a similar qualified person in order to avoid a hazard.
- This appliance is not intended for use by persons (including children) with reduced physical, sensory or mental capabilities, or lack of experience and knowledge, unless they have been given supervision or instruction concerning use of the appliance by a person responsible for their safety.
- Children should be supervised to ensure that they do not play with the appliance.
SAVE THESE INSTRUCTIONS
This sewing machine is intended for household use only.
Congratulations
As the owner of a new Singer sewing machine, you are about to begin an exciting adventure in creativity. From the moment you first use your machine, you will know you are sewing on one of the easiest to use sewing machines ever made.
May we recommend that, before you start to use your sewing machine, you discover the many features and the ease of operation by going through this instruction book, step by step, seated at your machine.
To ensure that you are always provided with the most modern sewing capabilities, the manufacturer reserves the right to change the appearance, design or accessories of this sewing machine when considered necessary.
SINGER is a registered trademark of The Singer Company Limited S.à.r.l. or its affiliates.
© 2013 The Singer Company Limited S.à.r.l. or its affiliates. All rights reserved.
Principal Parts of the Machine
- Thread tension dial
- Thread take-up lever
- Thread cutter
- Face plate
- Presser foot
- Needle plate
- Removable extension table/ accessory storage
- Pattern selector dial
- Bobbin stopper
- Stitch length dial
- Reverse sewing lever

- Handle
- Bobbin winding spindle
- Spool pins
- Hand wheel
- Power and light switch
- Main plug socket
- Bobbin thread guide
- Presser foot lifter
- Foot speed control
- Power cord

Connecting Machine to Power Source
Connect the machine to a power source as illustrated. (1)
This appliance is equipped with a polarized plug which must be used with the appropriate polarized outlet. (2)
Attention:
Unplug power cord when machine is not in use.
Foot control
The foot control pedal regulates the sewing speed. (3)
Attention:
Consult a qualified electrician if in doubt of how to connect machine to power source.
Unplug power cord when machine is not in use.
The foot control must be used with the appliance by FC1902, KD-1902, 4C-316B (110-120V area) / FC-2902A, FC-2902D, KD-2902 (220-240V area) 4C-326G (230Varea).
Sewing light
Press main switch (A) to”l”for power and light.
IMPORTANT NOTICE
For appliance with a polarized plug (one blade is wider than the other). To reduce the risk of electric shock, this plug is intended to fit in a polarized outlet only one way. If it does not fit fully in the outlet, reverse the plug. If it still does not fit, contact a qualified electrician to install the proper outlet. Do not modify the plug in any way.
Two Step Presser Foot Lifter
When sewing several layers or thick fabrics, the presser foot can be raised to a higher position for easy positioning of the work (A). 
Accessories
Standard accessories (1)
a. All purpose foot
b. Zipper foot
c. Buttonhole foot
d. Button sewing foot
e. L-screwdriver
f. Seam ripper/ brush
g. Spool pin felt (2x)
h. Pack of needles (3x)
i. Edge/ quilting guide
j. Bobbin (3x)
k. Darning plate
l. Soft cover
Optional accessories (2)
(These 6 accessories are not supplied with this machine; they are however available as special accessories from your local dealer.)
m. Quilting foot
n. Overcasting foot
o. Hemmer foot
p. Blind hem foot
q. Satin stitch foot
r. Darning/ Embroidery foot
Winding the Bobbin
– Place the thread and Spool pin felt (a) onto the spool pin. (1)
– Wind thread clockwise around bobbin winder tension discs. (2)
– Thread bobbin as illustrated and place on spindle. (3)
– Push bobbin spindle to right. (4)
– Hold thread end. (5)
– Step on foot control pedal. (6)
– Cut thread. (7)
– Push bobbin spindle to left (8) and remove.
Please Note:
When the bobbin winder spindle is in “bobbin winding” position, the machine will not sew and the hand wheel will not turn. To start sewing, push the bobbin winder spindle to the left (sewing position).
When inserting or removing the bobbin, the needle must be fully raised.
- Open the hinged cover.
- Pull the bobbin case tab (a) and remove the bobbin case.
- Hold the bobbin case with one hand. Insert the bobbin so that the thread runs in a clockwise direction (arrow).

- Pull the thread through the slit and under the finger. Leave a 6 inch tail of thread.
- Hold the bobbin case by the hinged latch.
- Insert it into the shuttle.

Attention:
Turn power switch to off (“O”) before inserting or removing the bobbin.
Threading the Upper Thread
This is a simple operation but it is important to carry out correctly as by not doing so several sewing problems could result.
– Start by raising the needle to its highest point (1), and continue turning the handwheel counterclockwise until the needle just slightly begins to descend. Raise the presser foot to release the tension discs. (2)
For safety, it is strongly suggested you turn off the power before threading.
Note:
– Place the thread and Spool pin felt (a) onto the spool pin. (3)
– Draw thread from spool through the upper thread guide. (4)
– Thread tension module by leading thread down right channel and up left channel. (5) During this process it is helpful to hold the thread between the spool and thread guide.
– At the top of this movement pass thread from right to left through the slotted eye of the take-up lever and then downwards again. (6)
– Now pass thread behind the thin wire needle clamp guide (7) and then down to the needle which should be threaded from front to back.
– Pull about 6-8 inches of thread to the rear beyond the needle eye. Trim thread to length with built in thread cutter. (8)
Raising the Bobbin Thread
Hold the upper thread with the left hand. Turn the hand wheel(1) towards you (counterclockwise) lowering, then raising needle.
Note:
If it is difficult to raise the bobbin thread, check to make sure the thread is not trapped by the hinged cover or the removable extension table.
Gently pull on the upper thread to bring the bobbin thread up through the needle plate hole. (2)
Lay both threads to the back under the presser foot. (3)
Thread Tension
Upper thread tension
Basic thread tension setting: “4”. (1)
To increase the tension, turn the dial to the next number up.
To reduce the tension, turn the dial to the next number down.
A. Normal thread tension for straight stitch sewing.
B. Thread tension too loose for straight stitch sewing. Turn dial to higher number.
C. Thread tension too tight for straight stitch sewing. Turn dial to lower number.
D. Normal thread tension for zig zag and decorative sewing.
Correct thread tension is when a small amount of the upper thread appears on the bottom side of fabric.
Lower thread tension
The bobbin tension has been set correctly at the factory, so you do not need to adjust it.
Please note:
– Proper setting of tension is important to good sewing.
– There is no single tension setting appropriate for all stitch functions, thread or fabric.
– A balanced tension (identical stitches both top and bottom) is usually only desirable for straight stitch construction sewing
– 90% of all sewing will be between “3” and “5”.
– For zig zag and decorative sewing stitch functions, thread ension should generally be less than for straight stitch sewing.
– For all decorative sewing you will always obtain a nicer stitch and less fabric puckering when the upper thread appears on the bottom side of your fabric.
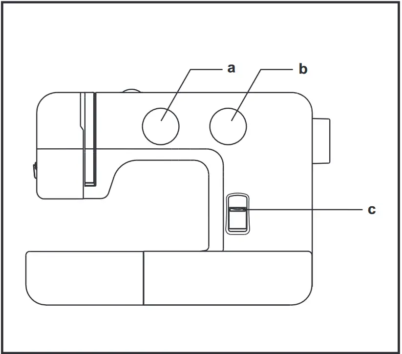
How to Choose Your Pattern
To select a stitch, simply turn the pattern selector dial (a). The pattern selector dial may be turned in either direction. The following page shows the recommended range of stitch lengths. Adjust the stitch length with the stitch length dial (b) according to the fabric being used.

a. Pattern Selector Dial
b. Stitch Length Dial
c. Reverse Sewing Lever
Stitch Length Dial
Function of stitch length dial for when straight stitching For straight stitch sewing, turn the Pattern Selector Dial to the straight stitch setting. (1) Turn the Stitch Length Dial, and
the length of the individual stitches will decrease as the dial approaches “0”. The length of the individual stitches will increase as the dial approaches “4”. (2) Generally speaking, use a longer stitch length when sewing heavier weight fabrics or when using a thicker needle or thread. Use a shorter stitch length when sewing lighter weight fabrics or when using a finer needle or thread.
Function of stitch length dial while zig-zag stitching
Turn the Pattern Selector Dial to “
“. (3) The density of zig-zag stitches increases as the setting of stitch length dial approaches “0”.
Neat zig-zag stitches are usually achieved at “2.5” or below.
Dense zig-zag stitches are called satin stitches. (4)
Sewing Straight Stitch
To begin sewing, set the machine for straight stitch. (1)
Place the fabric under the presser foot with the fabric edge lined up with the desired seam guide line on the needle plate. (2)
Lower the presser foot lifter, and then step on the foot controller to start sewing. (3)
Reverse Sewing
To secure the beginning and the end of a seam, press down the reverse sewing lever (A). Sew a few reverse stitches. Release the lever and the machine will sew forward again. (1)
Removing the Work
Turn the handwheel toward you (counterclockwise) to bring the thread take up lever to its highest position and the needle begins to descend, raise the presser foot and remove work behind the needle and presser foot. (2)
Cutting the Thread
Pull the threads under and behind the presser foot. Guide the threads to the side of the face plate and into thread cutter (B). Pull threads down to cut. (3)
Blind Hem
For hems, curtains, trousers, skirts, etc.
Blind hem for stretch fabrics.
Note:
It takes practice to sew blind hems. Always make a sewing test first.
Blind Hem:
Turn up the hem to the desired width and press. Fold back (as shown in Fig. 1) against the right side of the fabric with the top edge of the hem extending about 7 mm. (1/4″) to the right side of the folded fabric.
Start to sew slowly on the fold, making sure the needle touches slightly the folded top to catch one or two fabric threads. (2)
Unfold the fabric when hemming is completed and press.
Lingerie Stitch :
Turn up the hem to the desired width and press. Place fabric right side up with edge of hem to the left. Begin sewing so the needle swings off the left edge of the fabric to form a
small scallop. Tightening the tension slightly will produce a deeper scallop.
Prepare
- Take off the all purpose foot and attach the buttonhole foot.
- Measure diameter and thickness of button and add 0.3 cm (1/8″) for bartacks to obtain correct buttonhole length; mark buttonhole size on fabric (a).
- Place fabric under the foot, so that marking on the buttonhole foot aligns with starting marking on fabric. Lower the foot, so that the buttonhole center line marked on the
fabric aligns with the center of the buttonhole foot. (b)
Adjust the Stitch Length Dial in the “
” range to set stitch density.
Note:
Density varies according to the fabric.
Always test sew a buttonhole on the fabric you are using to sew the buttonhole.
Follow the 4-step sequence changing from one step to another with the pattern selector dial. When moving from step to step through the buttonhole process, be sure that the
needle is raised before turning the Pattern Selector Dial to the next step. Take care not to sew too many stitches in steps 1 and 3. Use seam ripper and cut buttonhole open
from both ends towards the middle.
Tips:
– Slightly reducing upper thread tension will produce better results.
– Use a stabilizer for fine or stretchy fabrics.
– It is advisable to use heavy thread or cord for stretch or knit fabrics. The zig-zag should sew over the heavy thread or cord. (A)
Sewing on Buttons
Install the darning plate. (1)
Change the all purpose foot to button sewing foot. (2)
Position the work under the foot.
Place the button in the desired position and lower the foot.
Set the pattern selector dial on ”
” and sew a few securing stitches. Select one of the narrow zig-zag patterns according to the distance between the two holes of the button. Turn the hand wheel to check if the needle goes into the right and the left hole of the button without hitting the button. Slowly sew on the button with about 10 stitches.
Select pattern ”
” and sew a few securing stitches. (3)
If a shank is required, place a darning needle on top of the button and sew. (4)
For buttons with 4 holes, sew through the front two holes first, push the work forward and then sew through the back two holes.
Free Motion Darning, Stippling
* The darning/ embroidery foot is an optional accessory not included with your machine. (1)
Darning:
Install the darning plate. (2)
Remove the presser foot shank. (3)
Attach the to the presser foot bar. darning/ embroidery foot The lever (a) should be behind the needle clamp screw (b).
Press the on firmly from behind with your index finger and tighten the screw (c). (4)
For darning, first sew around the edge of the hole (to secure the threads). (5)
First row: Always work from left to right. Turn work by 90° and sew over previous stitching. A darning hoop is recommended for easier sewing and better results.
Note:
Free motion darning is accomplished without the sewing machine internal feed system. Movement of the fabric is controlled by the operator. It is necessary to coordinate
sewing speed and movement of fabric.
Stippling:
Set the machine for straight stitch.Using the optional darning/darning/ embroidery foot embroidery foot will help guide you as you sew, in a meandering fashion to create small curving lines to hold layers of fabric and batting together.
Installing the Removable Extension Table
Hold the removable extension table horizontally, and push it in the direction of the arrow. (1)
To remove the extension table, pull it toward the left.
The inside of the removable extension table can be utilized as an accessory box.
Attaching the Presser Foot Shank
Raise the presser foot bar (a) with the presser foot lifter.
Attach the presser foot shank (b) as illustrated. (1)
Attaching the presser foot
Lower the presser foot shank (b) using the presser foot lifter, until the cut-out (c) is directly above the pin (d). (2) The presser foot (f) will engage automatically.
Removing the presser foot
Raise the presser foot using the presser foot lifter. (3)
Raise the lever (e) and the foot disengages.
Attaching the edge/ quilting guide
Attach the edge/ quilting
guide (g) in the slot as illustrated.
Adjust as needed for hems, pleats, quilting, etc. (4)
Attention:
Turn power switch to off (“O”) when carrying out any of the above operations!
Needle/ Fabric/ Thread Chart
NEEDLE, FABRIC, THREAD SELECTION GUIDE
| NEEDLE SIZE | FABRICS | THREAD |
| 9-11 (70-80) | Lightweight fabrics-thin cottons, voile, silk, muslin, interlocks, cotton knits, tricots, jerseys, crepes, woven polyester, shirt & blouse fabrics. | Light-duty thread in cotton, nylon, polyester or cotton wrapped polyester. |
| 11-14 (80-90) | Medium weight fabrics-cotton, satin, kettlecloth, sailcloth, double knits, lightweight woolens. | Most threads sold are medium size and suitable for these fabrics and needle sizes. Use polyester threads on synthetic materials and cotton on natural woven fabrics for best results. Always use the same thread on top and bottom. |
| 14 (90) | Medium weight fabrics-cotton duck, woolen, heavier knits, terrycloth, denims. | |
| 16 (100) | Heavyweight fabrics-canvas, woolens, outdoor tent and quilted fabrics, denims, upholstery material (light to medium). | |
| 18 (110) | Heavy woolen, overcoat fabrics, upholstery fabrics, some leathers and vinyls. | Heavy duty thread, carpet thread. |
IMPORTANT: Match needle size to thread size and weight of fabric.
NEEDLE, FABRIC SELECTION
| NEEDLES | EXPLANATION | TYPE OF FABRIC |
| SINGER® 2020 | Standard sharp needles. Sizes range thin to large. 9 (70) to 18 (110). | Natural woven fabrics-wool, cotton, silk, etc. Not recommended for double knits. |
| SINGER® 2045 | Semi-ball point needle, scarfed. 9 (70) to 18 (110). | Natural and synthetic woven fabrics, polyester blends. Knits-polyesters, interlocks, tricot, single and double knits. Also sweater knits, Lycra®, swimsuit fabric, elastic. |
| SINGER® 2032 | Leather needles. 12 (80) to 18 (110). | Leather, vinyl, upholstery. (Leaves smaller hole than standard large needle.) |
Note :
- For best sewing results always use genuine SINGER® needles.
- Replace needle often (approximately every other garment ) and/ or at first thread breakage or skipped stitches.
Darning Plate
For certain types of work, (e.g. darning or free-hand embroidery), the darning plate must be used.
Install the darning plate as illustrated.
For normal sewing, remove the darning plate.
For free-motion sewing it is recommended to use a darning/ embroidery foot, available as an optional accessory from authorized SINGER® retailers. (See page 6 for part number of darning/ embroidery foot )
Inserting & Changing Needles
Change the needle regularly, especially if it is showing signs of wear and causing problems. For best sewing results always use SINGER® brand needles.
Insert the needle as illustrated as follows:
A. Loosen the needle clamp screw and tighten again after inserting the new needle. (1)
B. The flat side of the shaft should be towards the back.
C/D.Insert the needle as far up as it will go.
Attention:
Turn power switch to off (“O”) before inserting or removing the needle.
Needles must be in perfect condition. (2)
Problems can occur with:
A. Bent needles
B. Damaged points
C. Blunt needles
Changing the Bulb
Disconnect the machine from the power supply by removing the plug from the main socket!
Replace bulb with same type rated 10 watts (110-120V area) or 15 watts (220-240V area).
– Loosen screw (A) as illustrated. (1)
– Remove the face plate (B). (2)
– Unscrew the bulb and install a new one (C). (3)
– Replace the face plate and tighten screw.
Should there be any problem, consult your SINGER® authorized retailer.
Troubleshooting Guide
| Problem | Cause | Correction |
| Upper thread breaks | 1. The machine is not threaded correctly. 2. The thread tension is too tight. 3. The thread is too thick for the needle. 4. The needle is not inserted correctly. 5. The thread is wound around the spool holder pin. 6. The needle is damaged. | 1. Rethread the machine. 2. Reduce the thread tension. (lower number) 3. Select a larger needle. 4. Remove and reinsert the needle. (flat side towards the back) 5. Remove the reel and wind thread onto reel. 6. Replace the needle. |
| Lower thread breaks | 1. The bobbin case is not inserted correctly. 2. The bobbin case is threaded wrong. 3. The lower thread tension is too tight. | 1. Remove and reinsert the bobbin case and pull on the thread. The thread should pull easily. 2. Check both bobbin and bobbin case. 3. Loosen lower thread tension as described. |
| Skipped stitches | 1. The needle is not inserted correctly. 2. The needle is damaged. 3. The wrong size needle has been used. 4. The foot is not attached correctly. | 1. Remove and reinsert needle. (flat side towards the back) 2. Insert a new needle. 3. Choose a needle to suit the thread and fabric. 4. Check and attach correctly. |
| Needle breaks | 1. The needle is damaged. 2. The needle is not correctly inserted. 3. Wrong needle size for the fabric. 4. The wrong foot is attached. | 1. Insert a new needle. 2. Insert the needle correctly. (flat side towards the back) 3. Choose a needle to suit the thread and fabric. 4. Select the correct foot. |
| Seams gather or pucker | 1.The needle is too thick for the fabric. 2. The stitch length is wrong adjusted. 3. The thread tension is too tight. | 1. Select a finer needle. 2. Readjust the stitch length. 3. Loosen the thread tension. |
| Uneven stitches, uneven feed | 1. Poor quality thread. 2. The bobbin case is wrong threaded. 3. Fabric has been pulled. | 1. Select a better quality thread. 2. Remove bobbin case, thread and insert correctly. 3. Do not pull on the fabric while sewing, let it be taken up by the machine. |
| The machine is noisy | 1. Lint or oil have collected on the hook or needle bar. 2. The needle is damaged. | 1. Clean the hook and feed dog as described. 2. Replace the needle. |
| The machine jams | Thread is caught in the hook. | Remove the upper thread and bobbin case, turn the hand wheel backwards and forwards by hand and remove the thread. |
Correct Disposal of this product
This marking indicates that this product should not be disposed with other household wastes throughout the European Union. To prevent possible harm to the environment or human health from uncontrolled waste disposal, recycle it responsibly to promote the sustainable reuse of material resources. To return your used device,please use the return and collection systems or contact the retailer where the product was purchased. They can take this product for environmental safe recycling.



















