Singer 50T8 Sewing Machine E99670
GBIMPORTANT SAFETY INSTRUCTIONS
When using an electrical appliance, basic safety should always be followed, including the following:
Read all instructions before using this sewing machine.
DANGER-To reduces the risk of electric shock:
- An appliance should never be left unattended when plugged in.
- Always unplug this appliance from the electric outlet immediately after using and before cleaning.
- Always unplug before re-lamping. Replace bulb with same type rated 10 watts (110-120V area) or 15 watts (220-240V area).
WARNING To reduce the risk of burns, fire, electric shock, or injury to persons:
- Do not allow to be used as a toy. Close attention is necessary when this appliance is used by or near children.
- Use this appliance only for its intended use as described in this manual. Use only attachments recommended by the manufacturer as contained in this manual.
- Never operate this appliance if it has a damaged cord or plug. if it is not working properly, if it has been dropped or damaged, or dropped into water. Return the appliance to the nearest authorized dealer or service center for examination, repair, and electrical or mechanical adjustment.
- Never operate the appliance with any air openings blocked.
Keep ventilation openings of the sewing machine and foot controller free from the accumulation of lint, dust, and loose cloth. - Keep fingers away from all moving parts. Special care is required around the sewing machine needle.
- Always use the proper needle plate, The wrong plate can cause the needle to break.
- Do not use bent needles.
- Do not pull or push fabric while stitching. It may deflect the needle causing it to break.
- Switch the sewing machine off (‘O”) when making any adjustments in the needle area, such as threading the needle, changing the needle, threading the bobbin, or changing the presser foot, and the like.
- Always unplug the sewing machine from the electrical outlet when removing covers, lubricating, or when making any other user servicing adjustments mentioned in the instruction manual.
- Never drop or insert any object into any opening.
- Do not use outdoors.
- Do not operate where aerosol spray products are being used or where oxygen is being administered.
- To disconnect, turn all controls to the off (“O”) position, then remove the plug from the outlet.
- Do not unplug by pulling on cord. To unplug, grasp the plug. not the cord.
- The sound pressure level under normal operating conditions is 75dB(A).
- Please turn off the machine or unplug when the machine is not properly operated.
Congratulations
As the owner of a new Singer sewing machine, you are about to begin an
exciting adventure in creativity. From the moment you first use your machine, you will know you are sewing on one of the easiest-to-use sewing machines ever made.
May we recommend that, before you start to use your sewing machine, you discover the many advantages and the ease of operation by going through this instruction book, step by step, seated at your machine.
To ensure that you are always provided with the most modern sewing capabilities, the manufacturer reserves the right to change the appearance,
design or accessories of this sewing machine when considered necessary.
Principal parts of the machine

- Thread tension dial
- Presser foot pressure adjustment
- Thread take-up lever
- Thread cutter
- Presser’s foot
- Needle plate
- Removable sewing table/ accessory storage
- Reverse sewing lever
- Bobbin stopper
- Stitch length dial
- Pattern indicator window
- Drop feed control
- One-step buttonhole lever
- Automatic threader
- Horizontal spool pin

- Bobbin winder
- Handwheel
- Pattern selector dial
- Power and light switch
- Main plug socket
- Bobbin thread guide
- Upper thread guide
- Faceplate
- Handle
- Presser foot lever
- Buttonhole stitch balance adjustment slot
- Foot speed control
- Power cord
Accessories
Standard accessories (1)
- a. All-purpose foot
- b. Zipper foot
- C. Buttonhole foot
- d. Button sewing foot
- e. Seam ripper/ brush
- f. Seam guide
- g. Pack of needles
- h. Spool holder
- i. Bobbin (3x)
- j L-screwdriver

Optional Accessories
(These 10 accessories are not supplied with this machine; they are however available as special accessories from your local dealer.)
- k. Second spool pin
- I. Satin stitch foot
- m.Overcasting foot
- n. Hemmer foot
- o. Cording foot
- p. Blind hem foot
- q. Darning foot
- r. Gathering foots. Quilting foot
- t. Even feed foot
Installing the snap-in sewing table
Keep the snap-in sewing table horizontal, and push it in the direction of the arrow. (1)
The inside of the snap-in sewing table can be utilized as an accessory box.
To open, lift up at the point of the arrow. (2)
Connecting the machine to a power source
Connect the machine to a power source as illustrated. (1)
This appliance is equipped with a polarized plug which must be used with the appropriate polarized outlet. (2)
Attention:
Unplug the power cord when the machine is not in use.
Foot control
The foot control pedal regulates the sewing speed. (3)
Attention:
Consult a qualified electrician if in doubt as to connect the machine to the power source. Unplug the power cord when the machine is not in use.
The foot control must be used with the appliance by 4C-316B (110-120V area)/ 4C-326G (230V area) / 4C-316C or 4C-326C
(220-240V area) manufactured by Panasonic Co., Ltd.(TW) Sewing light Press main switch (A) for power and light on ” |”.
IMPORTANT NOTICE
For appliances with a polarized plug (one blade is wider than the other). To reduce the risk of electric shock, this plug is intended to fit in a polarized outlet only one way. If it does not fit fully in the outlet, reverse the plug. If it still does not fit, contact a qualified electrician to install the proper Outlet. Do not modify the plug in any way.
- a. Polarized attachment plug
- b. The conductor intended to be grounded
Changing the bulb
Disconnect the machine from the power supply by removing the plug from the main socket!
Replace bulb with same type rated 10 watts (110-120V area) or 15 watts (220-240V area).
- Loosen screw (A) as illustrated. (1)
- Remove the face plate (B).
Unscrew the bulb and install a new one (C). (2) - Replace the face plate and tighten screw.
Should there be any problem, ask your local dealer for advice.
Two-step presser foot lifter
When sewing several layers or thick fabrics, the presser foot can be raised to a high-rise position for easy positioning of the Work. (A)
Adjusting presser foot pressure
The presser foot pressure of the machine has been pre-set and requires no particular readjustment according to the type of fabric (light-or-heavy weight).
However, if you need to adjust the presser foot pressure, turn the presser adjusting screw with a coin.
For sewing very thin fabric, loosen the pressure by turning the screw counter counterclockwise, and for heavy fabric, tighten by turning t clockwise. 
Attaching the presser foot shank
Raise the presser bar (a). Attach the presser foot shank (b) as illustrated. (1)
Attaching the presser foot
Lower the presser foot shank (b) until the cut-out (c) is directly
above the pin (d). (2) Raise the lever (e).
Lower the presser foot shank (6) and the presser foot (f) will engage automatically.
Removing the presser foot
Raise the presser foot. (3)
Raise the lever (e) and the foot disengages.
Attaching the seam guide
Attach the seam guide (g) in the slot as illustrated. Adjust
according to need for hems, pleats, etc. (4)
Attention:
Turn the power switch to off (“O”) when carrying out any of the above operations!
Winding the bobbin
- Place thread and spool holder onto spool pin (1). For smaller spools of thread place the spool holder on the small side next to the spool. (2)
- Snap thread into thread guide. (3)
- Wind thread clockwise around bobbin winder tension discs. (4)
- Thread bobbin as illustrated and place on spindle. (5)
- Push the bobbin to right. (6)
Hold thread end (7). Step on foot control pedal. (8)
Cut thread (9). Press the bobbin to left (10) and remove it.
Please Note:
When the bobbin winder spindle is in “bobbin winding” position, the machine will not sew and the hand wheel will not turn. To start sewing, push the bobbin winder spindle to the left (sewing position). 
Inserting the bobbin
When inserting or removing the bobbin, the needle must be fully raised.
- Open the hinged cover (1)
- Pull the bobbin case tab (a) and remove the bobbin case. (2)
- Hold the bobbin case with one hand. Insert the bobbin so that the thread runs in a clockwise direction (arrow) (3).
- Pull the thread through the slit and under the finger (4).
- Hold the bobbin case by the hinged latch (5).
- Insert it into the shuttle (6).
Attention:
Turn the power switch to off (“O”) before inserting or removing tne bobbin.
Inserting and changing needles
Change the needle regularly, especially if it is showing signs of wear and causing problems. For best sewing results always use SINGER Brand Needles.
Insert the needle as illustrated as follows:
- A. Loosen the needle clamp screw and tighten it again after inserting the new needle. (1)
- B. The flat side of the shaft should be towards the back.
- C/D. Insert the needle as far up as it will go.
Attention:
Turn power switch to off (“O”) before inserting or removing the needle.
Needles must be in perfect condition. (2) Problems can occur with:
- A. Bent needles
- B. Blunt needles
- C. Damaged points

Threading the upper thread
This is a simple operation but it is important to carry out correctly as by not doing so several sewing problems could result.
- Start by raising the needle to its highest point (1), and also raise the presser foot to release the tension discs. (2)
Note: For safety, it is strongly suggested you turn off the power before threading. - Lift up the spool pin. Place the spool of thread on the holder with the thread coming off the spool as shown. For small thread spools, place small side of the spool holder next to spool. (3)
- Draw thread from sp0ol through the upper thread guide. (4)
- Guide thread around thread guide (5) pulling the thread through the pre-tension spring as illustrated.
- Thread tension module by leading thread down right channel and up let channel (6). During this process, it is helpful to hold the thread between the sp0ol and the thread guide (4).
- At the top of this movement pass the thread from right to left through the slotted eye of the take-up lever and then
downwards again. (7) - Pass thread behind the flat, horizontal thread guide. (8)
- Now take thread behind the thin wire needle clamp guide and then down to the needle which should be threaded from front to back. Pull about 6-8 inches of thread to the rear beyond the needle eye. (9)
Note:
If your sewing machine is equipped with the factory-installed optional automatic needle threader, instructions for use can be found on page 26.
Automatic needle threader

- Raise the needle to its highest position.
- Press lever (A) down as far as it will go.
- The threader automatically swings to the threading position (B).
- Pass thread around thread guide (C).
- Pass the thread in front of the needle around the hook (D) from bottom to top.
- Release lever (A).
- Pull the thread through the needle’s eye.
Attention:
Turn the power switch to off (‘o”)!
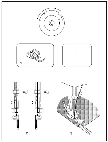
Thread tension
Upper thread tension
Basic thread tension setting: “4”
To increase the tension, turn the dial to the next number up. To
reduce the tension, turn the dial to the next number down.
- A. Normal thread tension for straight stitch sewing
- B. Thread tension too loose for straight stitch sewing. Turn the dial to a higher number.
- C. Thread tension too tight for straight stitch sewing. Turn dial to a lower number.
- D. Normal thread tension for zig-zag and decorative sewing9.
- Correct thread tension is when a small amount of the upper thread appears on the bottom side of the fabric.
Lower thread tension
To test the bobbin thread tension, remove the bobbin case and bobbin and hold it by suspending it by the thread. Jerk it once or twice. It the tension is correct, the thread will unwind by about an inch or twO. If the tension is to0 tight, it does not unwind at all. If the tension is too loose, t wil drop too much. 1o adjust, turn the small screw on the side of the bobbin case.
Please note:
- Proper setting of tension is important to good sewing.
- There is no single tension setting appropriate for all stitch Functions, thread or fabric.
- A balanced tension (identical stitches both top and bottom) is usually only desirable for straight stitch construction sewing. 90% of all sewing will be between “3” and “5”.
- For zig zag and decorative sewing stitch functions, thread tension should generally be les than for straight stitch sewing.
- For all decorative sewing you will always obtain a nicer stitch and less fabric puckering when the upper thread appears on the bottom side of your fabric.
Raising the bobbin thread
Hold the upper thread with the left hand. Turn the handwheel (1) towards you (counterclockwise) lowering, then raising the needle.
Gently pull on the upper thread to bring the bobbin thread up through the needle plate hole (2). Lay both threads to the back under the presser top. (3) 
Reverse sewing
To secure the beginning and the end of a seam, press down the reverse sewing lever (A). Sew a few reverse stitches.
Release the lever and the machine will sew forwards again. 1)
Removing the work
Turn the handwheel counterclockwise to bring the thread take-up the lever to its highest position, raise the presser foot and remove work behind the needle and presser foot. (2)
Cutting the thread
Pull the threads behind the presser foot. Guide the threads to the side of the face plate and into thread cutter (B). Pull threads down to cut. (3)
Matching needle/ fabric/ thread
NEEDLE, FABRIC, AND THREAD SELECTION GUIDE
| NEEDLE SIZE | fABRICS | THREAD |
| 9-11 (70-80) | Lightweight fabrics-thin cotton, voile, serge, silk , muslin, Qiana, interlocks, cotton knits, tricots, jerseys, crepes, woven polyester, shirt & blouse fabrics. | Light-duty thread in cotton, nylon, polyester or cotton-wrapped polyester. |
| 11-14 (80-90) | Medium weight fabrics-cotton, satin, kettle cloth, sailcloth, double knits, lightweight woolens. | Most threads sold are medium size and suitable for these fabrics and needle sizes. Use polyester threads on synthetic materials and cotton on natural woven fabrics for best results. Always use the same thread on top and bottom. |
| 14 (90) | Medium weight fabrics-cotton duck, woolen, heavier knits, terrycloth, denim. | |
| 16 (100) | Heavyweight fabrics-canvas, woolens, outdoor tent and quilted fabrics, denim, upholstery material (light to medium). | |
| 18 (110) | Heavy woolens, overcoat fabrics, upholstery fabrics, some leathers and vinyl. | Heavy duty thread, carpet thread. (Use heavy foot pressure-large numbers.) |
IMPORTANT: Match needle size to thread size and weight of the fabric.
NEEDLE FABRIC SELECTION
| NEEDLES | EXPLANATION | TYPE Of fABRIC |
| SINGER 2020 | Standard sharp needles. Sizes range thin to large. 9 (70) to 18 (110). | Natural woven fabrics-wool, cotton, silk, etc. Qiana. Not recommended for double knits. |
| SINGER 2045 | Semi-ball point needle, scarfed. 9 (70) to 18 (110). | Natural and synthetic woven fabrics, and polyester blends. Knits-polyesters, interlocks, tricot, single and double knits. Also sweater knits, Lycra, swimsuit fabric, and elastic. |
| SINGER 2025 | Twin Needle. | Woven fabrics and knits. |
| SINGER 2032 | Leather needles. 12 (80) to 18 (110) | Leather, vinyl, upholstery. (Leaves a smaller hole than a standard large needle.) |
Note twin needle:
- Twin needles can be purchased for utility and decorative work.
- When sewing with twin needles, the stitch width dial should be set at less than “3”.
- For best sewing results always use genuine SINGER needles.
- Replace needle often (approximately every other garment ) and/ or at first thread breakage or skipped stitches.
How to choose your pattern
For straight stitch select pattern ”
” with the pattern selector dial. Adjust the stitch length with the stitch length dial.
For zigzag stitch, select pattern ”
” with the pattern selector dial. Adjust the stitch length according to the fabric being used.
To obtain any of the other patterns shown on the stitch selection panel, select the stitch with the pattern selector dial. Adjust the stitch length with the stitch length dial.
- a. Reverse lever
- b. Stitch length dial
- c. Stitch display
- d. Stitch pattern selector dial
Straight stitching
Turn the stitch selection dial so that the pointer is set to the straight stitch position.
Generally speaking, the thicker the fabric, thread and needle, the longer the stitch should be. For a fine stitch set length at “1” r “2”.
For gathering set to straight stitch, with stitch length at “4”.
Do 2 rows of stitching 4 of an inch apart. Remove from the machine, hold the bobbin thread and gather the fabric to desired fullness.
Zigzag stitching
Turn the pattern selector dial so that the stitch display shows “zig-zag
“. Turning the pattern selector dial will increase or decrease the zig-zag width. (1)
The function of stitch length dial while zigzag
The density of zigzag stitches increases as the setting of the stitch length dial approaches “0”.
Neat zigzag stitches are usually achieved at “2.5” or below. Closed-up zigzag stitches (close together) are referred to as a satin stitch. (2)
Blind hem/ Lingerie stitch
The blind hem foot is an optional accessory not supplied with this machine.
For hems, curtains, trousers, skirts, etc.
Blind hem/ lingerie for firm fabrics. Set the machine as illustrated in a, b and c.
Note:
It takes practice to sew blind hems. Always make a sewing | test first.
Fold the fabric as illustrated with the wrong side uppermost (1).
Place the fabric under the foot. Turn the handwheel forwards by hand until the needle swings fully to the left. It should just pierce the fold of the fabric. If it does not, adjust
the stitch width accordingly (2).
If using the optional blind hem foot, adjust the guide (3) by turning the knob (4) so that the guide just rests against the fold
Sew slowly, guiding the fabric carefully along the edge of the guide.
It takes practice to sew blind hems. Always make a sewing test first.
Overedge stitches
The overcasting foot is an optional accessory not supplied with your machine. Seams, neatening, visible hems.
Standard overlock:
For fine knits, jerseys, neck edges, and ribbing. (a)
Double overlock stitch:
For fine knits, handknits, seams. (b)
All overedge stitches are suitable for sewing and overcasting edges and visible seams in one operation.
When overcasting, the needle should just go over the edge of the fabric.
Attention:
Use new needles or ballpoint needles or stretch needles!
Move the drop feed control to right side to lower the feed dogs. (1)
Change the presser foot to the button sewing foot. (2)
Position the work under the foot. Place the button in the desired position and lower the foot. Set the pattern selector knob on ”
“and sew a few securing stitches. Select one of the two narrow zig-zag patterns according to the distance between the two holes of the button. Turn the handwheel to
check if the needle goes into the right and the left hole of the button without hitting the button. Slowly sew on the button with about 10 stitches. Select pattern “
“‘sew a few securing stitches. (3)
If a shank is required, place a darning needle on top of the button and sew (4). For buttons with 4 holes, sew through the front two holes first (3), push the work forward and then sew through the back two holes. (4)
How to sew buttonholes (one-step buttonhole)
Buttonhole sewing is a simple process that provides reliable results. However, It Is Strongly suggested to always make a practice buttonhole on a sample of your fabric and interfacing. Making a Buttonhole
- Using tailor’s chalk, mark the position of the buttonhole on the fabric.
- Attach the buttonhole foot and set the pattern selector dial to ‘.
Set stitch length dial to ” “ - Lower the presser toot aligning the marks on foot with the marks on the fabric (A). (The front bar tack will be sewn
first. Align the mark on the fabric (a) with the mark on the TOot (b).) - Open the button plate and insert button (B).
- Lower the buttonhole lever and gently push it back (C).
- While lightly holding the upper thread, start the machine.
- Buttonhole stitching is done in order (D).
- Stop the machine when the buttonhole is sewn.

Making a Buttonhole on Stretch Fabrics (E)
When sewing buttonholes on stretch fabric, hook-heavy thread or cord under the buttonhole foot. when the buttonhole is sewn the legs will overcast the cord.
- Mark the position of the buttonhole on the fabric with the tailor’s chalk, attąch the buttonhole foot, and set the pattern selector dial to “”. Set stitch length dial to “
- Hook the heavy thread onto the back end of the buttonhole foot, then bring the two heavy thread ends to the front of the foot, insert them into the grooves and temporarily tie tnem there.
- Lower the presser toot and start sewing. Set the stitch width to match the diameter of the gimp thread.
- Once sewing is completed, gently pull the heavy thread to remove any slack, then trim off the excess.
Stitch density on right and left sides of the buttonhole can be adjusted by the buttonhole balance control dial.
This dial should usually be in a neutral position. (between “+” and “-“)
If the stitches on the left side of the buttonhole are too close together, turn the dial to the left (+).
Turning dial to the left opens left side.
If the stitches on the left side of the buttonhole are too open, turn the dial to the right (-).
Turning dial to the right closes left side. 
Zippers and piping
Set the machine as illustrated. Dial selector on Set machine as illustrated on the left.
Set stitch length control between “1” “4” (according to thickness of the fabric). Change to a zipper foot. (1)
The zipper foot can be attached right or left, depending on which side of the foot you are going to sew. (2)
To sew past the zipper tab, lower the needle into the fabric, raise the presser foot and push the zipper tab behind the presser foot. Lower the foot and continue to sew.
It is also possible to sew a length of cord into a bias strip to form a “welt” or piping. (3) 
Sewing with the optional hemmer foot
The hemmer foot is an optional accessory not supplied with your machine.
For hems in fine or sheer fabrics. Set the stitch pattern dial to”
Change to optional hummer foot.
Neaten the edge of the fabric. At the beginning of the hem, turn under the edge twice by about 3 mm (1/8″) and sew 4-5 stitches to secure. Pull the thread slightly towards the back. Insert the needle into the fabric, raise the presser foot and guide the fold into the scroll on the foot (1).
Gently pul the fabric edge towards you and lower the presser foot.
Begin sewing, guiding the fabric into the scroll by holding it upright and slightly to the left (2).
Straight stretch stitch and Ric Rac stitch
Straight stretch stitch (1)
Set the stitch pattern dial to “
“.
Used to add triple reinforcement to stretch and hardwearing seams.
Set the stitch length dial to “4”.

Ric Rac stitch (2)
Set the stitch pattern dial to ”
“.
Used primarily as a decorative stitch.
Set the stitch length dial to “4”.
Ric Rac stitch is suitable for firm fabrics like denim, poplin, duck, etc
Honeycomb stitch
Seams, hems, T-shirts, underwear, etc.
Set stitch pattern selector on ”
“.
Set machine as illustrated on left.
This stitch can be used for all types of jersey and woven fabrics.
When using a honeycomb stitch pattern for hemming sew at 1cm
(1/4”) from the fabric edge and trim the surplus fabric.

Multi-stitch zig-zag
Sewing on lace and elastic, darning, mending, and reinforcing edges.
Set the stitch pattern dial to “![]()
Set machine as illustrated on left.
Place the patch in position. The stitch length can be shortened to produce very close stitches. (1)
When mending tears, it is advisable to use a piece of backing fabric to reinforce. The stitch density can be varied
by adjusting the stitch length. First, sew over the center and then overlap on both sides. Depending on the type of fabric and damage, sew between 3 and 5 rows. (2)
Bar tack
Set the stitch pattern dial to ” or “
“.
Set the stitch length dial to “1”- “1.5”.
This function is used to secure the tops of kick pleats, as well as pocket openings. First use a straight stitch across the top of the pocket or pleat. This seam should be approximately 1/4 to 1/2 of an inch long. Set stitch to zigzag and stitch over the straight stitch backstitch at the beginning and end of stitch to secure ends. 
Sewing with thee optional cording foot
The cording foot is an optional accessory not supplied with your machine. Decorative effects, cushions, tablecloths, etc.
In addition to zig zag, various other stitches are suitable for sewing on cord, e.g. blind hem, multi-stitch zig zag.and selected decorative stitches.
Insert the cord between the spring covering the cord groove and the foot (1). The cord should run in the groove. One, two or three cords can be sewn on. The stitch width is adjusted according to the number of cords and the stitch selected (2).
Free motion darning
The darning foot is an optional accessory not included with your machine.
Move the drop feed control to right to lower the feed dogs.
Set the pattern selector dial to ”
“.
Remove the presser foot clamp. (1)
Attach the darning foot to the presser foot holder. The lever (A) should be behind the needle clamp screw (B). Press the darning foot on firmly from behind with your index finger and tighten the screw (C). (2) First sew around the edge of the hole (to secure the threads) (3).
First row: Always work from left to right. Turn work by 1/4 and oversew.
A darning ring is recommended for easier sewing and better results.
Note:
Free motion darning is accomplished without the sewing machine’s internal feed system. The movement of the fabric is
controlled by the operator. It Is necessary to coordinate
the sewing speed and movement of fabric. 
Practical stitches
Set the machine as illustrated.
Turn the switch width dial and stitch length dial to suit the fabric and application.
Shell stitch (a)
For decorative edges. Suitable for edges on sheer, fine and stretch fabrics. The wider
part of the stitch should go just over the folded edge of the fabric to create the shell effect.
Crescent stitch (b)
For a delicate edge finish along the edge of fabric.
Rampart (C)
Gathering with cord or shirring elastic.
This stitch can be used for firm, thicker fabrics. 
Darning
- Turn stitch length dial to the desired length.
- Turn stitch selector to straight stitch, center needle position.
- Position the fabric to be darned under the presser foot together with the under laying fabric to be used.
- Lower the presser foot and alternately sew forward or reverse using the lever.
- Repeat this motion until the area to be darned is filled with rows of stitching.
For reverse sewing instructions, see page 32.
Attaching lace
- Turn the stitch length dial to the desired length.
Turn the stitch selector to straight stitch, center needle position. Fold in the edge of the fabric (approximately 6 mm 1/4″). - Place the lace under the folded edge of the fabric allowing it to under lap the fabric slightly as required by the pattern of the lace. Sew on the edge of the fabric fold.
- You can add a decorative touch by using the satin stitch to sew the lace.

Applique and blindstitch applique
Position the applique piece on the background fabric.
Align the needle so that it pierces the background fabric along the Outside edge if the applique. Lower presser foot.
If using a blind hem foot, align the lip of the blind hem foot guide so that it sits directly under the edge of the applique.
You may need to adjust the position of the guide to bring it closer or further from the edge of the applique, by using the thumbscrew located at the right of the foot.
Begin sewing following the edge of your applique. To pivot for curves or corners, leave the needle down in fabric on the outside edge of the applique, lift foot, and pivot.
Monogramming and embroidering with embroidery hoop”
Drop the feed dogs. (Note: Stitch length cannot be controlled with dial) Set the machine as illustrated above.
- Remove the presser foot and the presser foot holder.
- Lower the presser foot lever before starting to sew.
- Adjust the stitch width according to the size of the lettering or design.
- Preparation for Monogramming and Embroidering
- Draw the desired lettering or design on the right side of the fabric.
- Stretch the fabric between the embroidery hoop as firmly as possible.
- Place the fabric under the needle. Make sure the presser foot bar is down in its lowest position.
- Turn the balance wheel towards you to bring up the lower thread through the fabric. Sew a few securing stitches at the starting point.
- Hold the hoop with thumb and forefingers of both hands.
- Coordinate sewing speed and movement of hoop.

Quilting functions
The quilting foot is an optional accessory not supplied with this machine..
Stippling is free-motion quilting where you hoop the fabric and guide it by hand, allowing you to stitch in any direction.
For template, quilting transfer a design from a template (plastic stencil) to your tabric and then stitch following the outline.
Do not forget to lower the presser bar if you are sewing without a foot.
The above techniques are used to hold the layers of the quilt together.
For better control use a hoop, as well as a Darning and Embroidery foot. 
Gathering
The gathering foot is an optional accessory not supplied with this machine.
Set the pattern selector as illustrated.
- Attach the gathering foot.
- Sew a single row or multiple rows of straight stitches.
- If more gathering is required, loosen the upper thread tension to below 2 so that the lower thread lies on the underside of the material.
- Pull the lower thread to gather more of the material.
Note:
The Presser foot shown is the optional gathering foot that does not come with your machine. If you have not purchased this foot substitute the all-purpose foot and gather fabric by hand by lowering the tension setting to below 2 and pulling the lower thread to gather the material. 
The evenfeed foot optional accessory
The evenfeed foot accessory is optional. It is not included with this machine. Always try to sew first without the evenfeed foot accessory which should be used only when necessary.
It is easier to guide the fabric and you have a better view of the seam when using the standard, regular foot on your machine. Your sewing machine offers excellent stitch quality on a wide range of fabrics from delicate chiffons to multiple layers of denim.
The evenfeed Foot accessory equalizes the feeding of the upper and lower layers of fabric and improves the matching of plaids, stripes and patterns. It also helps to prevent uneven feeding of very difficult fabrics.

- Lift the presser foot lifter to raise the presser foot bar (1).
- Remove the presser foot holder by unscrewing (counterclockwise) the presser bar attaching screw (2).
- Attach the evenfeed foot to the machine as follows:
- The am (3) should fit into above the needle screw and clamp (4).
- Slide the plastic attaching head (5) from your left to right so that
it is fitted into the presser foot bar. - Lower the presser foot bar (1).
- Replace and tighten (clockwise) the presser bar attaching Screw (2).
- Make sure both the needle screw (4) and the presser bar attaching Screw (2) are tightly secured.
- Draw the bobbin thread up and place both the bobbin thread and the needle thread behind the walking foot attachment.
- a. Arm
- b. Attaching head
- c. Needle bar
- d. Needle screw & clamp
- e. Presser foot bar
- f. Presser bar attaching screw
Maintenance
Attention:
Disconnect the machine from the electrical supply by removing the plug from the main socket. When cleaning the machine, it must always be disconnected from the electrical supply.
Remove the needle plate:
Turn the handwheel until the needle is fully raised. Open the hinged front cover and unscrew the needle plate screws with the screwdriver (1).
Cleaning the feed dogs:
Use the brush supplied to clean the whole area (2).
Cleaning and lubricating the hook:
Remove the bobbin case. Snap the two hook-retaining arms (3) outwards. Remove the hook race cover (4) and the hook (5) and clean with a soft cloth. Lubricate at point (6) (1-2 drops) with sewing machine oil. Turn the handwheel until the hook race (7) is in the left position. Replace the hook (5). Replace the hook race cover and snap back the two hook retaining arms. Insert the bobbin case and bobbin and place the needle plate.
Important:
Fabric lint and threads must be removed regularly. Your machine should be serviced at regular intervals at one of
our service centers.
Troubleshooting Guide

Download PDF: Singer 50T8 Sewing machines E99670 User Manual
























