Singer 4411 Sewing Machine Instruction Manual
IMPORTANT SAFETY INSTRUCTIONS
When using an electrical appliance, basic safety should always be followed, including the following:
Read all instructions before using this sewing machine.
DANGER – To reduce the risk of electric shock:
- An appliance should never be left unattended when plugged in.
- Always unplug this appliance from the electric outlet immediately after using and before cleaning.
- The LED lamp maximum power is 0.3W, maximum voltage is DC 9V. If the lamp is damaged, you should not use the product, send it to SINGER or a service agent to repair or replace at once.
WARNING- To reduce the risk of burns, fire, electric shock, or injury to persons:
- Do not allow to be used as a toy. Close attention is necessary when this appliance is used by or near children.
- Use this appliance only for its intended use as described in this manual. Use only attachments recommended by the manufacturer as contained in this manual.
- Never operate this appliance if it has a damaged cord or plug, if it is not working properly, if it has been dropped or damaged, or dropped into water. Return the appliance to the nearest authorized dealer or service center for examination, repair, electrical or mechanical adjustment.
- Never operate the appliance with any air openings blocked. Keep ventilation openings of the sewing machine and foot controller free from accumulation of lint, dust, and loose cloth.
- Keep fingers away from all moving parts. Special care is required around the sewing machine needle.
- Always use the proper needle plate. The wrong plate can cause the needle to break.
- Do not use bent needles.
- Do not pull or push fabric while stitching. It may deflect the needle causing it to break.
- Switch the sewing machine off (“O”) when making any adjustments in the needle area, such as threading needle, changing needle, threading bobbin, or changing presser foot, and the like.
- Always unplug sewing machine from the electrical outlet when removing covers, lubricating, or when making any other user servicing adjustments mentioned in the instruction manual.
- Never drop or insert any object into any opening.
- Do not use outdoors.
- Do not operate where aerosol spray products are being used or where oxygen is being administered.
- To disconnect, turn all controls to the off (“O”) position, then remove plug from outlet.
- Do not unplug by pulling on cord. To unplug, grasp the plug, not the cord.
- The sound pressure level under normal operating conditions is 75dB(A).
- Please turn off the machine or unplug when the machine is not operating properly.
- Never place anything on the foot controller.
- If the supply cord that is fixed with foot controller is damaged, it must be replaced by the manufacturer or its service agent or a similar qualified person in order to avoid a hazard.
- This appliance is not intended for use by persons (including children) with reduced physical, sensory or mental capabilities, or lack of experience and knowledge, unless they have been given supervision or instruction concerning use of the appliance by a person responsible for their safety.
- Children should be supervised to ensure that they do not play with the appliance.
SAVE THESE INSTRUCTIONS
This sewing machine is intended for household use only.
Congratulations
As the owner of a new Singer sewing machine, you are about to begin an exciting adventure in creativity. From the moment you first use your machine, you will know you are sewing on one of the easiest to use sewing machines ever made. May we recommend that, before you start to use your sewing machine, you discover the many features and the ease of operation by going through this instruction book, step by step, seated at your machine. To ensure that you are always provided with the most modern sewing capabilities, the manufacturer reserves the right to change the appearance, design or accessories of this sewing machine when considered necessary. SINGER is the exclusive trademark of The Singer Company Limited S.à.r.l. or its Affiliates.
Principal Parts of the Machine
- Thread tension dial
- Presser foot pressure adjustment
- Thread take-up lever
- Reverse sewing lever
- Thread cutter
- Presser foot
- Needle plate cover
- Removable extension table/ accessory storage
- Three needle position dial
- Bobbin stopper
- Stitch width dial
- Stitch length dial
- Pattern selector dial

- Horizontal spool pin
- Bobbin winding spindle
- Hole for auxiliary spool pin
- Handwheel
- Buttonhole stitch balance adjustment slot
- Power and light switch
- Main plug socket
- Bobbin thread guide
- Upper thread guide
- Face plate
- Handle
- Presser foot lifter
- Drop feed control
- Foot speed control
- Power cord

Connecting Machine to Power Source
Connect the machine to a power source as illustrated. (1)
Attention:
Unplug power cord when machine is not in use.
Foot control
The foot control pedal regulates the sewing speed. (2)
Attention:
Consult a qualified electrician if in doubt of how to connect machine to power source. Unplug power cord when machine is not in use. The foot control must be used with the appliance by 1902A (110-120V area)/ FC-2902A (220-240V area)/ 316Q (110-125V area).
Sewing light
Press main switch (A) to”l”forpower and light.
Two Step Presser Foot Lifter
When sewing several layers or thick fabrics, the presser foot can be raised to a higher position for easy positioning of the work. (A)
Adjusting Presser Foot Pressure
The presser foot pressure of the machine has been pre-set and requires no particular readjustment according to the type of fabric (light-or-heavy weight). However, if you need to adjust the presser foot pressure, turn the presser adjusting screw with a coin. For sewing very thin fabric, loosen the pressure by turning the screw counter clockwise, and for heavy fabric, tighten by turning it clockwise.
Accessories
Standard accessories (1)
- All purpose foot
- Zipper foot
- Buttonhole foot
- Button sewing foot
- Seam ripper/ brush
- Edge/ quilting guide
- Pack of needles
- Spool holders
- Bobbin (3x)
- L-screwdriver
- Auxiliary Spool Pin
- Spool pin felt
- Soft cover

Optional accessories (2)
(These 10 accessories are not supplied with this machine; they are, however, available for purchase from your authorized retailer.)
- Satin stitch foot
- Overcasting foot
- Hemmer foot
- Cording foot
- Blind hem foot
- Quilting/ straight stitch foot
- Gathering foot
- Darning/ embroidery foot
- Even Feed foot
- Twin needle

Winding the Bobbin
- Place thread and corresponding spool holder on to spool pin. (1/2)
- Snap thread into thread guide. (3)
- Wind thread clockwise around bobbin winder tension discs. (4)
- Thread bobbin as illustrated and place on spindle. (5)
- Push bobbin spindle to right. (6)
- Hold thread end. (7)
- Step on foot control pedal. (8)
- Cut thread. (9)
- Push bobbin spindle to left (10) and remove.
Please Note:
When the bobbin winder spindle is in “bobbin winding” position, the machine will not sew and the handwheel turn. To start sewing, push the bobbin winder spindle to the left (sewing position).
Inserting the Bobbin
When inserting or removing the bobbin, the needle must be fully raised.
- Insert the bobbin in the bobbin case with the thread running counterclockwise direction (arrow).
- Pull the thread through the slit (A).
- Draw the thread clockwise until it slips into the notch (B).
- Pull out about 15 cm (6 inches) of thread and attach the bobbin cover plate. (C)
Attention:
Turn power switch to off (“O”) before inserting or removing the bobbin.
Threading the Upper Thread
This is a simple operation but it is important to carry out correctly as by not doing so several sewing problems could result.
- Start by raising the needle to its highest point (1), and continue turning the handwheel counterclockwise until the needle just slightly begins to descend. Raise the presser foot to release the tension discs.
Note: For safety, it is strongly suggested you turn off the power before threading. - Lift up the spool pin. Place the spool of thread on the holder with the thread coming off the spool as shown. For small thread spools, place small side of spool holder next to spool. (2)
- Draw thread from spool through the upper thread guide (3) and pulling thread through pre-tension spring as illustrated.(4)
- Thread tension module by leading thread down right channel and up left channel. (5) During this process it is helpful to hold the thread between the spool and thread guide.
- At the top of this movement pass thread from right to left through the slotted eye of the take-up lever and then downwards again. (6)
- Now pass the thread behind the horizontal thread guide, and then behind the thin wire needle clamp guide (7) and then down to the needle which should be threaded from front to back.
- Pull about 6-8 inches of thread to the rear beyond the needle eye. Trim thread to length with built in thread cutter. (8)

Raising the Bobbin Thread
Hold the upper thread with the left hand. Turn the handwheel (1) towards you (counterclockwise) lowering, then raising needle.
Note:
If it is difficult to raise the bobbin thread, check to make sure the thread is not trapped by the hinged cover or the Removable Extension Table.
Gently pull on the upper thread to bring the bobbin thread up through the needle plate hole. (2) Lay both threads to the back under the presser foot. (3)
Thread Tension
Upper thread tension
Basic thread tension setting: “4”. (1)
To increase the tension, turn the dial to the next number up. To reduce the tension, turn the dial to the next number down.
- Normal thread tension for straight stitch sewing.
- Thread tension too loose for straight stitch sewing. Turn dial to higher number.
- Thread tension too tight for straight stitch sewing. Turn dial to lower number.
- Normal thread tension for zig zag and decorative sewing. Correct thread tension is when a small amount of the upper thread appears on the bottom side of fabric.
Lower thread tension
The bobbin tension has been set correctly at the factory, so you do not need to adjust it.
Please note:
- Proper tension setting is important for strong seams
- There is no single tension setting appropriate for all stitch functions, thread or fabric.
- A balanced tension (identical stitches both top and bottom) is usually only desirable for straight stitch construction sewing.
- 90% of all sewing will be between “3” and “5”.
- For zig zag and decorative sewing stitch functions, thread tension should generally be less than for straight stitch sewing.
- For all decorative sewing you will always obtain a nicer stitch and less fabric puckering when the upper thread appears on the bottom side of your fabric.

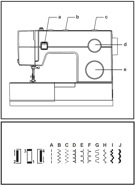
How to Choose Your Pattern
The diagram on this page display the stitch patterns available on the machine. Turn the Pattern Selector Dial (e) to select the desired pattern. Use the Stitch Length Dial (d) to adjust the stitch length as desired for the project. Use the Stitch Width Dial (c) to adjust the width of the stitch as desired. The Pattern Selector Dial may be turned in either direction.
- Reverse Sewing Lever
- Three Needle Position Dial
- Stitch Width Dial
- Stitch Length Dial
- Pattern Selector Dial

Three Needle Position Dial
The needle position can be altered with the “Three needle position dial”. For normal work, the needle position is middle. For edge stitching or sewing parallel lines of top stitch, select needle position left or right. For twin needle stitching, needle position is middle.
- Straight
- Zig-zag
- L. Left Needle Position
- M. Middle Needle Position
- R. Right Needle Position

Stitch Width Dial & Stitch Length Dial
Function of stitch width dial
The maximum zigzag stitch width for zigzag stitching is 6mm; however, the width can be reduced on any patterns. The width increases as you move zigzag dial from “0” – “6”. (1)
Function of stitch length dial while zig-zag stitching
Set the Pattern Selector Dial to zig-zag. The density of zig-zag stitches increase as the setting of stitch length dial approaches “0”. Standard zigzag stitches are usually achieved at “3” or below Dense zig-zag stitches are called satin stitches. (2)
Function of stitch length dial for when straight stitching
For straight stitch sewing, turn the Pattern Selector Dial to the straight stitch setting. Turn the Stitch Length Dial, and the length of the individual stitches will decrease as the dial approached “0”. The length of the individual stitches will increase as the dial approaches “4”. Generally speaking, use a longer stitch length when sewing heavier weight fabrics or when using a thicker needle or thread. Use a shorter stitch length when sewing lighter weight fabrics or when using a finer needle or thread.
Sewing Straight Stitch
To begin sewing, set the machine for straight stitch. (1) Place the fabric under the presser foot with the fabric edge lined up with the desired seam guide line on the needle plate.(2) Lower the presser foot lifter, and then step on the foot controller to start sewing. (3)
Reverse Sewing
To secure the beginning and the end of a seam, press down the reverse sewing lever (A). Sew a few reverse stitches. Release the lever and the machine will sew forward again. (1)
Removing the Work
Turn the handwheel toward you (counterclockwise) to bring the thread take up lever to its highest position, raise the presser foot and remove work behind the needle and presser foot. (2)
Cutting the Thread
Pull the threads under and behind the presser foot. Guide the threads to the side of the face plate and into thread cutter (B). Pull threads down to cut. (3)
Blind Hem
For hems on curtains, trousers, skirts, etc.
- Blind hem for stretch fabrics.
- Blind hem for firm fabrics.
Set the Stitch Length Dial with the range shown on the diagram at the right. Blind hems, however, are normally sewn with a longer stitch length setting. Set the Stitch Width Dial at a setting appropriate for the weight/type of fabric being sewn, within the range shown in the diagram on the right of the page. Generally, a narrower stitch is used for lighter weight fabrics, and a wider stitch is used for heavier weight fabrics. Sew a test first to make sure the machine settings are appropriate for the fabric.
Blind Hem:
Turn up the hem to the desired width and press. Fold back (as shown in Fig. 1) against the right side of the fabric with the top edge of the hem extending about 7 mm (1/4″) to the right side of the folded fabric.
Start to sew slowly on the fold, making sure the needle touches slightly the folded top to catch one or two fabric threads. (2) Unfold the fabric when hemming is completed and press.
Note:
To make blind hem sewing even easier, use a blind hem foot, available from your SINGER retailer. (See page 6 for part number)
Prepare
- Take off the all purpose foot and attach the buttonhole foot.
- Measure diameter and thickness of button and add 0.3 cm (1/8″) for bar tacks to obtain correct buttonhole length; mark buttonhole length on fabric (a).
- Place fabric under the foot, so that marking on the buttonhole foot aligns with starting marking on fabric. Lower the foot, so that the buttonhole center line marked on the fabric aligns with the center of the buttonhole foot (b).
Adjust the Stitch Length Dial in the ” ” to set stitch density. Set the stitch width at “6”. The width however may need to be adjusted according to the project, sew a test first to determine this.
Note:
Density varies according to the fabric. Always test sew a buttonhole on the fabric you are using to sew the buttonhole.
Follow the 4-step sequence changing from one step to another with the Pattern Selector Dial. When moving from step to step through the buttonhole process, be sure that the needle is raised before turning the Pattern Selector Dial to the next step. Take care not to sew too many stitches in steps 1 and 3. Use seam ripper and cut buttonhole open from both ends towards the middle.
Tips:
- Slightly reducing upper thread tension will produce better results. Use a stabilizer for fine or stretchy fabrics.
- It is advisable to use heavy thread or cord for stretch or knit fabrics. The zig-zag should sew over the heavy thread or cord. (A)

- Stitch density on right and left sides of buttonhole can be adjusted by buttonhole balance control dial. This dial should usually be in a neutral position (between “+” and “–”)
- If the stitches on the left side of buttonhole are too close together, turn the dial to the left (+). Turning dial to the left opens left side.
- If the stitches on the left side of the buttonhole are too open, turn the dial to the right (–). Turning dial to right closes left side.

Move the drop feed control to right side to lower the feed dogs. (1) Change the all purpose foot to the button sewing foot. (2) Set the stitch length to “0”. Place the button and fabric under the Button Sewing foot, as illustrated in (3). Set the machine for zig-zag stitch, then set the width to number “3” – “6”. Turn the handwheel to check that the needle goes cleanly into the left and right holes of the button. Adjust the stitch width, as needed, according to the distance between the holes of the button. Slowly sew on the button with about 10 stitches. Raise the needle out of the fabric. Set the machine for straight stitch again, then sew a few securing stitches to finish. If a shank is required, place a darning needle on top of the button and sew. For buttons with 4 holes, sew through the front two holes first, push the work forward and then sew through the back two holes..
Installing the Removable Extension Table
Hold the removable extension table horizontally, and push it in the direction of the arrow. (1) To remove the extension table, pull it toward the left.
The inside of the removable extension table can be utilized as an accessory box. To open, flip cover down as shown. (2)
Attaching the Presser Foot Shank
Raise the presser bar (a) with the presser foot lifter. Attach the presser foot shank (b) as illustrated. (1)
Attaching the presser foot
Lower the presser foot shank (b) using the presser foot lifter, until the cut-out (c) is directly above the pin (d). (2) The presser foot (f) will engage automatically.
Removing the presser foot
Raise the presser foot using the presser foot lifter. (3) Raise the lever (e) and the foot disengages.
Attaching the edge/ quilting guide
Attach the edge/ quilting guide (g) in the slot as illustrated. Adjust as needed for hems, pleats, quilting, etc. (4)
Attention:
Turn power switch to off (“O”) when carrying out any of the above operations!
Needle/ Fabric/ Thread Chart
NEEDLE, FABRIC, THREAD SELECTION GUIDE
IMPORTANT: Match needle size to thread size and weight of fabric.
NEEDLE, FABRIC SELECTION
Note :
- For best sewing results always use genuine SINGER needles.
- Replace needle often (approximately every other garment ) and/ or at first thread breakage or skipped stitches.
How To Drop Feed Dog
For ordinary sewing, keep the feed dog up, for freehand embroidery, sewing on buttons and darning, drop the feed dog. To raise (a) and lower (b) feed dog. (2)
Inserting & Changing Needles
Change the needle regularly, especially if it is showing signs of wear and causing problems. For best sewing results ® always use SINGER Brand Needles.
Insert the needle as illustrated as follows:
- Loosen the needle clamp screw and tighten again after inserting the new needle. (1)
- The flat side of the shaft should be towards the back. C/D.Insert the needle as far up as it will go.
Attention:
Turn power switch to off (“O”) before inserting or removing the needle.
Needles must be in perfect condition. (2)
Problems can occur with:
- Bent needles
- Damaged points
- Blunt needles

Troubleshooting Guide
Please note that on disposal, this product must be safely recycled in accordance with relevant National legislation relating to electrical/electronic products. If in doubt please contact your retailer for guidance.
Singer 4411 Sewing Machine Instruction Manual
Download PDF: Singer 4411 Sweing Machine Instruction Manual





























