Jack F4 Power Saving Lockstitch Sewing Machine Instruction Manual
BEFORE OPERATION
- Never operate the machine unless its oil pan has bas been filled with oil.
- After setting up the machine, check the direction of motor rotation. To check it, turn the handwheel by, hand to bring the needle down, and turn the power switch ON while observing the handwheel. (The handwheel should turn counteclockwise as observed from the handwheel side.)
- Confirm that the voltage and phase (single or 3-phase) are correct by checking them against the ratings shown on the motor nameplate.
Operation Precaution
- Keep your hands away from the needle when you turn the power switch ON or while the machine is operating.
- Do not put your fingers into the hread take-up cover while the machine is operating.
- Be sure to. turn the power switch OFF before tilting the machine head or removing the V belt.
- When an operator leaves from the machine, make sure to turn off the power.
- During operation,be careful not to allow your or any other person’s head or hands to come close to the bobbin winder or handwheel,Also.do not piace anything close to them.Doing so may be dangerous.
- If your machine is provided with a belt cover, finger guard or any other protectors, do not operate your machine with any of them removed.
- Don’t clean the face of machine head with thinner.
Installation
Installing the oil pan

- Firstly, oil pan holder 1 and Oil pan cushion 2 should be set in the four corners of the oil pan 3, and then install the oil pan 3 on the stand & table.
- As is shown in the chart, making sure that the two oil holderso 1 are pointing to the operator during the installation and the two oil pan cushions 2 are on the side which is with machine head connecting hook 5.
- Install the machine head connecting hook base 4 on the stand & table, and then put the machine head connecting hook 5 in the baseplate hole, at last, put the head on the stand & table, making sure machine head connecting hook 5 is nested in the machine head connecting hook base 4 which is on the stand & table.
Lubrication
Information on lubrication
Before starting the machine
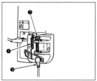
- Fill oil pan with sewing machine oil (10 white oil) up to HIGH mark A.
- When the oil level lowers below LOW mark B, refill the oil pan with the specified oil.
- When you operate the machine after lubrication, you will see splashing oil through oil sight window CD if the lubrication is adequate.
- Note that the amount of the splashing oil is unrelated to the amount of the lubricating oil. –
Precaution
When you first operate your machine after set up or after an extended period of disuse, run your machine at 1,800 s.p.m. to 2,200 s.p.m. for about 10 minutes for the purpose of break—in.
The amount of oil supplied to the face plate parts apply the plug of main shaft to control (Fig.6)

Threading the Machine Head

Thread Tension

Adjusting the needle thread tension
- Adjust the needle thread tension using tension adjust nut (2) according to the sewing specifications.
- As you turn nut (2) clockwise (in direction A), the needle thread tension will increase.
- As you turn nut (2) counterclockwise (in direction B), the tension will decrease.
Adjusting the bobbin thread tension
- As you turn tension adjust screw (2) clockwise (in direction C), the bobbin thread tension will increase.
- As you turn screw (2) counterclockwise (in direction D). the bobbin thread tension will decrease.
Thread Take Up Spring

Changing the stroke of thread take-up spring
1) Loosen setscrew ®. 2) As you turn tension post ® clockwise (in direction A), the stroke of the thread take-up spring will be increased. 3) As you turn the knob counterclockwise (in direction B), the stroke will be decreased.
Changing the pressure of thresd take-up spring
- Loosen setscrew (2), and take out tension asm (5).
- Loosen setscrew (4), and remove tension post (3).
- As you turn tension post 0 clockwise (in direction A), the pressure will be increased.
- As you turn the post counterclockwise (in direction B), the pressure will be decreased.
The relation between the needle and the hook should be as follows;
- Turn the pulley, make the needle stay the lowest point, then loosen the screw (1).
- The height of the needle bar Pull the needle bar, you can see the pinhle basset 1/3-1/2 level through edge of inside hook (needle must be position).Turn needle cover wire slot left, then tighten setscrew.
- The hook position Loosen the hook and tighten the screw,make the top of the thread eyelet aim at the middle thread of the needle(2). Then turn the pulley ,make the thread eyelet top locate above the needle hole about lmm– 1.5mm.
- In the above situation, remove the hook left and right, make the horizontal gauge between the needle and hook about 0-0.05mm then.
Preaution
If the clearance is too small, the tip of the hook will be abraded. If it is too big. it will lead to skip over.
Note that the type of hook to be substituted for, when replacing the hook. shall be in conformity with the very type of the hook installed in the sewing machine of original assemblage.

Pedal Pressure and Pedal Stroke

Adjusting the pressure required to depress the front part of the pedal
- This pressure can be changed by changing the mounting position of pedaling pressure adjust spring.
- The pressure decreases when you hook the spring on the left side.
- The pressure increases when you hook the spring on the right side.
Adjusting the pressure required to depress the back part of the pedal
- This pressure can be adjusted using regulator screw.
- The pressure increases as you turn the regulator screw in.
- The pressure decreases as you turn the screw out.
Adjusting the pedal stroke
- The pedal stroke increases when you insert connecting rod 0 into the right hole
ADJUSTING THE HEIGHT OF THE KNEE LIFTER
- The standard height of the presser foot lifted using the knee lifter. is 10 mm.
- You can adjust the presser foot lift up to 13 mm using knee lifter adjust screw (1).
- When you have adjusted the presser foot lift to over 10 mm, be sure that bottom end of needle bar (2) in its lowest position does not hit presser foot (3).

| Application | General fabrica, light-weight and mdeium-weight materials | Medium-weight materials, Heavy-weight materials |
| Sewing speed | Max. 4,000 rpm | Max. 3,500 rpm |
| Max. Stitch length | 5mm | |
| Needle | DBx1 #11-#18(#14) | DPx5 #16-#24(#21) |
| Presser foot lift | 10 mm (standard) 13mm (Max.) | 10 mm (standard) I3mm (Max.) |
| Lubricating oil | New Defrix Oil No.10 | |
| Noise | Workplace-related noise at sewing speed N=4,000 min–‘: LPA < 83 dB(A) Noise measurement according to DIN 45635-48-A-1 | |
Energy-saving Servo Motor

Perface
GAUTION: PLEASE READ INSTEUCTION MANUAL CAREFULLY BEFORE OPERATEING. THE INSTALLATION AND OPERATION MUST BE OPERATE UNDER PROFESSIONAL TRAINED STAFF. This product only applies to the specified rang of sewing equipment, please do not to put other
uses.
SAFETY INSTRUCTION
- Please read this manual carefully before installation and adjustion.
- Installation and operation must be operated under professional trained staff.
- It is not allowed change the structure and any motor parts, otherwise the customer should take full responsibility.
- Confirm the power connected to the ground safety and keep in accordance with the voltage range and technical requirements in the nameplate.
- Please leave your feet away from the speed governor when power is turned on or off.
- You must cut the power off under below mentioned operation:
- install the machine;
- Insert or pull out any plug in the control box;
- Threading, changing needle and rotate the machine head;
- Machine maintenance and machine is in idle state;
- The setting of control system and maintenance should be operated by trained staff.
- There should be 20seconds separate during changes power.
- The system must be connected to the ground safety.
Installation of speed governor

Install governor rod should guarantee the rod position is perpendicular to the pedal. Adjustment rod former high and behind low angle to make the pedal angle relative to the ground plane 15 degrees is advisable. (Picture 1 and picture 2 )
OPERATION INSTRUCTION OF OPERATION PANEL
In P interface, the first tube display “P”, the second tube display “-” (means bottomposition).

Parameter Adjustment
Speed Adjust
The panel shows “P”, then press “+” or ”-” to adjust speed up and down. After 3 seconds, the parameter saved the panel back to the “p”. For example, 35 means 3500rmp/min.

Needle Position Adjust
The panel shows “P”, press “+” for 3 seconds, then set the position up or down.
Reset to Factory Defaults Parameter
When the control box cannot work or parameter set abnormal, and panel shows E5/E7 error code, user can reset factory defaults to set. The panel shows “P”, press “-” for 3 seconds, and the panel shows “OK”, then stop. This means set successfully. Panel shows “Er” means failure. Check other reasons.

Error Solve with one Button
When the panel shows Er code, machine cannot work, press and adjust which error code. If the Er code still exist, the panel still show the error code. If the problem solved, it will back to P.

Error Solve with one Button
When the panel shows Er code, machine cannot work, press
and adjust which error code. If the Er code still exist, the panel still show the error code. If the problem solved, it will back to P.
OPERATION REPEIREMENTS
- Please check the control-box far away magnetic or high radiation environment in order to
avoid obstructions. - The operational temperature must be in the range of -5℃–40℃.
- Please don’t use this product near to any kind of heater(heat, radiator).
- Please don’t use this product in over-wet circumstances.
- Please don’t use this product under the corrosive and explosion situation.
- Keep ventilation where the control-box and motor stored.
- Keep the power supply voltage steady.
- There must be qualified connector to the ground in order to make sure safety.
MANTAINANCE AND GENERAL RECOVERY PROCESSING
f the machine went wrong, maintenance and operation should be operated under professional trained person.
- No reaction when turn on the power control box. Please check if the power plug connected to the socket tightly, or the fuse is burnt, if yes, changethe fuse. Open the cover of the control box first, then find the position of fuse, take the burnt fuse out and change a new one which as the same type as before.
- Control box is connected, but the motor doesn’t work when pressing the pedal.
Please check if the plug of the speed controller is connected to the socket in control box correctly. Check the speed controller is broken or not. - The motor cannot stop without operate. Check if the position of magnetic steel coil changed. The method as follow:
Open the speed governor, adjust the position of plastic rocker arm, make sure the magnetic steel coil in rocker arm is just on the hall. Usually, the machine cannot stop running. If the motor still running, user can adjust the rocker arm with clockwise.
- If turn on the machine the fuse immediately burnt, after change the same specification fuse the problem still can’t solve, please contact with the local agent to repair.
- Other problems not list above, please contact with the local agent.
Error Code List
| Error Code | Reasons | Solution |
| 0F | The machine has been in standby mode for about 30 minutes, it goes to sleep mode; the voltage is too low. | Press “+” or “-” to wake up the machine; if still shows “OF”, check the voltage. |
| E1 | Motor stuck The plug of motor loose or drop | Motor used too much. Restart machine aftr several minutes; Check if the fabric much too heavy; Machine lack of oil; Check if the plug loose or drop. |
| E2 | Motor controller abnormal | 1. Usually this problem because the machine too much used or problem of IGBT. If restart without result, contact the agents change. 2. Check the plug loose or drop. |
| E4 | Needle position abnormal | Check if the plug connected well, or the coder wire broken or not, or if the plug loose or shape changed. |
| E5 | Needle governor abnormal | Check the plug connected well; Check if the hall problem. If because hall |
| problem, and shows E5, press “-”for 3 seconds to turn off this function. | ||
| E6 | Speed governor abnormal | Plug do not connect; Check if the plug connected well, or the coder wire broken or not |
| E7 | Machine head protection of the safety switch | Check the machine head steady or not; Before changing from the agent, user can turn off this function by pressing “-” for 3 seconds. |
| Eb | System over-voltage | Immediately cut off the power, and check whether the supply voltage has exceeded 264V, if yes, please adjust the voltage to the rated voltage, then start to work(rated voltage: 220V) or change parameter”Y” to 0. |
| Ec | System under-voltage | Immediate cut off the power, and check whether the supply voltage under 154V, if yes, please adjust the voltage to the rated voltage, then start to work(rated voltage: 220V) or change parameter”Y” to 0. |
Note: After the system appearing the error, the machine cannot work. The panel continues to display any error code. And the error still can’t be eliminated, please contact with the manufacturer in time.
















