BEMIS FLOW Motion Activated Single Handle Pull Down Sprayer Kitchen Faucet

PRODUCT INFORMATION
Product Features
- Metal lever handle
- 3 function spray head
- Single-hole or 3-hole installation
- Drip-free ceramic cartridge
- 1.8 gal/min max at 60 psi
- Metallic waterway
- Dual-sensor functions: infrared activated & pull down activated
- Trouble-free installation with patented mounting hardware and quick-connect
- Pause Button
Codes/Standards Applicable:
Complies with:
- ASME A 112.18.1/CSA B125.1 (cUPC)
- NSF/ ANSI 61
- NSF/ ANSI 372 (AB1953)
Model Number/Colors/Finishes:
- CP Polished Chrome
- BN Brushed Nickel PVD
- MB Matte Black
PRODUCT DIAGRAM
Diagramme de produit

PARTS
Faucet

Mounting Hardware (silicone washer,rubber washer, metal washer, mounting nut, screws set)

Deck Plate

Spray Head

Counter Weight

Control Box & Zip Tie

Aerator Key

RECOMMENDED TOOLS (NOT INCLUDED)
- Adjustable Wrench
- Safety Goggles
- Screwdriver
- Silicone Sealant
- Drill
- 4 AA Batteries
MAINTENANCE
Entretien
Your new faucet is designed for years of trouble-free performance. Keep it looking new by cleaning it periodically with a soft cloth. Avoid abrasive cleaners, steel wool and harsh chemicals as these will dull the finish and void your warranty.
INSTALLATION TYPES
SINGLE HOLE INSTALLATION

THREE HOLE INSTALLATION

NOTE BEFORE INSTALLING
This product includes a safety clip. The safety plug must be removed when switching between motion activated and manual operation.
Normal Operating Condition
Switch to manual operation when the power is low or the sensor is out of order.
Pull out the safety clip and turn the dial counterclockwise to the bottom. Put the safety clip back into place and resume manual operation.

INSTALLATION

NOTE: Flush water lines before installation to release built up impurities in water supply.
Step 1 for 1-hole sink
Insert the O-ring over the hoses, cable, and stem which are located at the bottom of the faucet. Then mount the faucet onto the sink.
Step 1 for 3-hole sink
Insert the deck plate over the cable and hoses in the mounting stem. Align the grooves in the deck plate with the arches on the faucet bottom. Then mount the faucet on the sink.

Step 2.1
First slide the rubber washer over the hoses and data cable. Then slide the metal washer over, and lastly the mounting nut. Hand tighten firmly.

Step 2.2
Use a philips head screwdriver to tighten the 2 screws.

Step 3
The preferred mounting distance between the spray hose and the control box is 9.8” (250mm). The preferred mounting distance from control box to the floor is 17.7” (450mm).

Step 4
Mount the control box under the sink using a philips head screwdriver according to the preferred dimensions. Make sure to leave some room to adjust.

Step 5.1
Connect the outlet hose to the control box with our innovative “quick connection”

Step 5.2
Connect the spray hose to the control box.

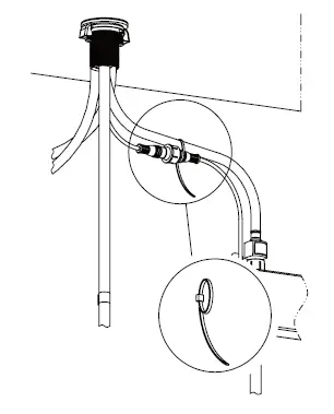
Step 6.1
Connect the data cables and secure them tightly by hand.

Step 6.2
Tie the data cables together with the outlet hose using a zip tie.
Do Not include the pull down hose in the zip tie.

Step 7
Install the counterweight on the pull down hose at the marked position (it should be placed on the line).

Step 8
Remove the battery pack cover and battery pack. Insert 4 AA batteries. Put the battery pack back in the control box and replace the cover firmly. The batteries should be charged or changed when the sensor flashes a red light three times per second.

Step 9
Connect the hot and cold supply lines onto the matching water valves and secure the connection with an adjustable wrench.

Step 10
Turn on the water supply and check for leaks.

Step 11
Attach and secure the spray head onto the pulldown hose.

CAUTION: RISK OF PROPERTY DAMAGE!
Do not over-tighten connections. This will prevent water leakage.
NOTICE:
Uses care to avoid cross threading or over-tightening the connections. Unless otherwise indicated, use an adjustable wrench to tighten one-quarter turn past hand-tight.
- Immediately check for any leaks
- Continue to check for leaking throughout the first hour of installation.
- If leaking occurs, turn off water supply and discontinue use immediately.
Step 12
Open the faucet handle and wave your hand over the sensor. Set the water temperature to desired setting. The water temperature changes by manipulating the handle. Run the water and it will stop automatically in 3 minutes. Check for leaks.

WARNING: Risk of Scalding.
High water temperature can cause severe burns. Do not operate this faucet with a water supply that has a maximum temperature above 160°F (71°C)
Only connect the faucet to a water supply of drinking quality at a pressure of 20 psi (139 kPa)- 80psi (551kPa). Observe all local plumbing, electrical, and building codes.
Step 13
Pull out the spray head (the infrared sensor will start working when the spray head is pulled out). Slide the spray head back in original position, and the water turns off. Repeat the operation several times, and check for errors. If none, then the faucet is good for use.

Step 14
For manual operation, turn the knob beneath the control box counter-clockwise to the end (as shown in figure 14). The sensor will be disabled and the faucet will be operational by the handle only.

Step 15.1
If the water flow rate is lower than normal, there may be build up on the screen filter. Shut off the water valves, remove the outlet hose from the control box, and unscrew the inlet adapter from the control box. Take out the screen filter and clean it. Reassemble the outlet hose connector, inlet adapter, and screen filter.

Step 15.2
To check the faucet head, remove the aerator using the blue aerator key. Unscrew and clean out any mineral build-up inside the faucet head. Reattach the aerator, turn on the water valves, and start the faucet to check for a difference in water flow rate. It is recommended to turn the handle off when the faucet will not be in use for an extended amount of time.

TROUBLESHOOTING GUIDE
| Condition | Possible Cause | Solution | Condition | Possible Cause | Solution | ||
| Water doesn’t flow from the faucet when activated by infrared sensor and/or hand spray is pulled down. | Connections my not be properly made. | Use the instruction document to verify all connections were properly made. This will ensure water will flow correctly inside the faucet. | Water doesn’t flow when the handspray is pulled down. (Water flows only when faucet is activated with infrared sensor). | Faucet handspray feature needs to reset. | Make sure the handle is in the open position and the sensor is clean (even water might block its vision). Wave your hand in front of infrared sensor once at a distance of 2.5” (6cm) making sure not to wave back and fourth (activating and immediately deactivating the sensor). If no water flows, replace the faucet body. | ||
| Water shut off valves are not open. | Verify the water shut off valves are open. This will ensure the faucet is supplied with water. | ||||||
| Faucet handle is closed. | Open the handle fully. Handle must be in the open position for the water to flow when sensors are active. If water flows when the handle is closed, the manual override is opened. Turn the knob on the control box clockwise until completely closed. | ||||||
| Water doesn’t flow when faucet is activated with infrared sensor. (Water only flows when the handspray is pulled down). | Faucet Handspray feature needs to reset. | Make sure the handle is in the open position and the sensor is clean (even water might block its vision). Wave your hand in front of infrared sensor once at a distance of 2.5” (6cm) making sure not to wave back and fourth (activating and immediately deactivating the sensor). If no water flows, replace the faucet body. | |||||
| Batteries have been depleted or are installed incorrectly. | Verify the batteries are charged/good and in the correct +/- polarity. Change or reorient batteries if needed. | ||||||
| Water drips from the faucet. | Water dripping occurs when the handle is in the OPEN position. | Manual override might be slightly open. Close the manual override on the control box by turning the knob clockwise until completely closed. | |||||
| Sensor is not clean or doesn’t have a clear vision. | Make sure the sensor is clean (even water might block its vision). Wave hand in front of infrared sensor within a distance of 2.5” (6cm) and pull the handspray (The distance of 2.5” (6cm) will be shorter if people wave with a darker hand or darker objects. The darker the object, the shorter the sensor will reach). Check for water flow. | ||||||
| Water dripping occurs when the handle is in the CLOSE position. | Change the faucet cartridge. | ||||||
| Water flow is diminished | Faucet handle is not open fully. Filters may have debris. | Open the handle fully and test the flow. If the water flow is still diminished, clean the filter found in the top part of the black control box and clean the aerator and nipples on the faucet head. | |||||
| Filter is blocked. | Open the override to see if water will flow in manual mode. If no water flows, close the water feed to the faucet. Disconnect the top water feed to the control box and verify the filter is clean. Close manual override and try the sensors again. | ||||||
| Water flow doesn’t automatically stop after 3 minutes. | Manual override might be slightly open. | Verify if manual override on the control box is closed (turn the knob clockwise until completely closed). If it’s open, close it and do the test again. If the manual override is already closed, wave your hand in front of the infrared sensor to activate the water flow and repeat the movement to stop the water flow. | |||||
| Sensor is not working properly. | Wave hand in front of infrared sensor again within a distance of 2.5” (6cm), to see if the sensor eye flashes a red light. If the sensor does not flash a red light, replace the faucet body. If the sensor flashes a red light but you do not hear a clicking sound coming from the control box, replace the control box. | ||||||
| Condition | Possible Cause | Solution |
| Water flow stops while using (which is not stop by auto shutoff after 3 mins), or water suddenly flows without any motion. | Batteries have been depleted. | Verify the batteries are charged/good and in the correct +/- polarity. Change or reorient batteries. |
| Check if there are any water droplets covering the sensor eye that would interfere with its activation. | Make sure the sensor is clean (even water might block its vision) and try to stay outside the 2.5” (6cm) range of the sensor to prevent accidentally activating or deactivating it. | |
| The infrared sensor flashes a red light three times per second. | Flashing indicates batteries are running low. | Change batteries. |
5 YEAR WARRANTY
GARANTIE 5 ANS
100% Coverage on all parts and labor for the entire product for all five years from original date of purchase. Our obligations under this warranty are limited to repair or replacement, at our option, of products or parts found to be defective, provided that such products were properly installed and used in accordance with instructions. BBC Innovation LLC reserves the right to make such inspections as may be necessary in order to determine the cause of the defect. BBC Innovation LLC will not charge for our labor or parts in connection with warranty repairs or replacements. BBC Innovation LLC is not responsible for the cost of removal,return, and/or re-installation of products. This warranty does not apply to the following items: Damage or loss sustained in a natural calamity such as fire, earthquake, flood, thunder electrical storm, etc. Damage or loss resulting from any unreasonable use, misuse, abuse, negligence, or modification of the product. Damage or loss resulting from sediments or foreign matter contained in a water system. Damage or loss resulting from improper installation or from installation of a unit in a harsh and/or hazardous environment. This warranty gives you specific legal rights. You may have other rights which vary from state to state.
To obtain warranty repair service under this warranty, you must take the product or deliver it prepaid to our service facility together with a letter stating the problem, or contact a distributor or products service contractor.
This written warranty is the only warranty made by BBC Innovation LLC. Repair or replacement as provided under this warranty shall be the exclusive remedy available to the purchaser. We shall not be responsible for loss of the product or for other incidental, special, or consequential damages or expenses incurred by the purchaser, or for labor other costs due to installation or removal or costs of repairs by others, or for any other expense not specifically stated above. Except to the extent prohibited by applicable law, any implied warranties, including that of merchantability or fitness for use, are expressly limited to the duration of this warranty.
Some states do not allow limitations on how long an implied warranty lasts, or the exclusion or limitation of incidental or consequential damages, so the above limitation and exclusion may not apply to you.
How to Obtain Service:
To obtain repair service under this warranty, you must contact us to obtain an RMA (Return Merchandise Authorization) number. Proof of purchase in the form of a copy of your original receipt must accompany the return unit for the warranty to be valid. Take or ship the unit prepaid to the closest authorized service center along with your RMA number and proof of purchase.
To obtain your RMA number and locate the service center location nearest you, call 847.458.2334
BBC Innovation LLC
7900 S Route 31
Crystal Lake, IL 60014
T. 847.458.2334
[email protected]
biobidet.com















