Ai POWER SUA12000E 12000 Watt Portable Generator User Guide
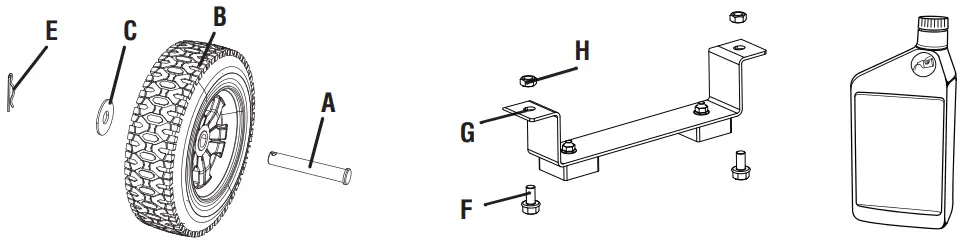
Included Items


WARNING
This Quick Reference Guide is not substitute for reading the operator’s manual. To reduce the risk of injury or death, user must read and under stand the operator’s manual before using this product. All pages references to the operator’s manual.
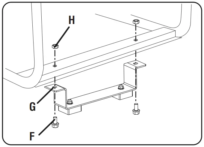
Install the wheel kit
Slide the axle pin(A) through the wheel(B), flat washer(C) and mount point on the frame(D). Secure them with cotter pin(E).
Attach the support leg(G) to the generator frame with flange bolt(F)(M8X16) and flange lock nut(H)(M8)
Battery Cable Connection
NOTE: The generator comes equipped with the positive cable A (with red boot) already attached.
- Verify the positive (+) battery cable A with red boot is securely tightened to the positive (+) battery post. Make sure boot is over battery post.
- Remove bolt B (M6x12) and nut C from battery negative (-) post.
- Locate negative (-) battery cable D with black boot and attach to the negative (-) battery post. Tight the cable with bolt B and nut C. Cover the post with black boot.

Add Lubricant and Fuel
Use a funnel to pour provided engine oil into engine. Fill to the upper mark of the oil dipstick H.
Use clean / fresh regular UNLEADED gasoline with a minimum 87 octane.
Adjust Shock-absorbing Seat
Before operating the generator, the shock-absorbing seat (cushion) must be adjusted for proper clearance. Loosen the lock nut and adjust the shock-absorbing seat so there is a 3mm gap between the top of the seat and the bottom of the motor bracket. Re-tighten the lock nut.
Start Generator
Move generator outside to a flat, level surface, away from doors, windows and vents
Danger
Using a generator indoors CAN KILL YOU IN MINUTES. Generator exhaust contains carbon monoxide. This is a poison you cannot see or smell.
- NEVER use inside a home or garage, EVEN IF doors and windows are open

- Only use OUTSIDE and far away from windows, doors and vents.

Avoid other generator hazards. READ MANUAL BEFORE USE.
WARNING Do not overload generator or electrical cords. Consult operation manual.
- Turn fuel valve under tank to ON position

- Move choke lever located on engine to START position

- Electric Start: Push and hold the switch inthe START (II) position. Once engine starts, release

- Recoil Start: Turn engine switch located on control panel to ON (I) position, pull cord starter to start engine.

- Move choke lever to RUN Position

- Plug in items to be powered, using only grounded extension cords.

Shutdown and Storage
- Remove any load from the generator

- Run the generator at no load for 2 minutes and then turn engine switch to OFF (O) position

- Turn fuel valve to OFF (O) position

If generator is to be stored for longer than 30 days, refer to The operator’s manual for further Instruction.
Support
Call 1-855-888-3598
or
Email [email protected]






























