EVT-14K 14KW Electric Tankless Water Heater
User Manual
READ AND SAVE THESE INSTRUCTIONS
INTRODUCTION
Congratulations on your purchase and welcome to Airthereal!
To fully benefit from the support that Airthereal offers please register at www.airthereal.com/register
COMPONENTS

PRODUCT INNER STRUCTURE

ELECTRICAL DIAGRAM

CONNECTION

DISP: Connection plug to display
FLOW: Connection plug to the Flow Sensor
IN: Connection plug to the input temperature sensor
OUT: Connection plug to the output temperature sensor
SPECIFICATIONS
| Model | EVT-14K |
| Voltage | 240 V |
| Power | 14 kW |
| Min. Required Circuit Breaker Size | 60 AMP |
| Max. Amperage | 58 A |
| Recommended Wire Size | 6 AWG |
| Min. Water Flow to Activate the Unit | 0.475 GPM / 1.8L/min |
| Safe Operating Pressure | 7.25 PSI – 108.78 PSI |
| Water Connections | 1/2” NPT |
| Installation | Wall Mounted |
| Temperature Setting | Digital Panel |
| Dimensions (LxWxH) | 15.87” x 11.14” x 2.87” |
| Weight | 12.76 Lbs |
Remarks:
The above wire size and circuit breaker size are for this EVT-14K unit only. If you need other high-power appliances, please do further research on them.
SIZING GUIDE
Please use the chart below to see how many gallons per minute your tankless water heater can produce with your incoming water temperature. The gallons per minute are calculated assuming 108°F outlet temperature.
| Model | Inlet Temp (°F) | GPM | Suggested Usage | Outlet Temperature (°F) |
| EVT-14K | 41 | 1. | Kitchen Faucet | 108 |
| 50 | 2. | Kitchen Faucet | ||
| 59 | 2. | Kitchen Faucet | ||
| 68 | 2. | Shower | ||
| 77 | 2. | Shower |
IMPORTANT SAFETY INSTRUCTIONS
WARNING:
When installing or using any high-voltage electrical appliance basic safety precautions should always be followed. Under no circumstance should you attempt to clean, install, inspect, repair, disassemble, or otherwise service this water heater without first shutting off all power to the unit directly at the circuit breaker box. SERIOUS BODILY INJURY OR DEATH COULD OCCUR IF YOU IGNORE THIS WARNING.
THIS PRODUCT SHOULD BE INSTALLED BY A QUALIFIED ELECTRICIAN AND A QUALIFIED PLUMBER IN ACCORDANCE WITH ALL NATIONAL, STATE, PROVINCIAL AND LOCAL ELECTRICAL & PLUMBING CODES. PLEASE READ THESE INSTRUCTIONS THOROUGHLY AND COMPLETELY PRIOR TO INSTALLATION & USE. FAILURE TO DO SO COULD CAUSE PROPERTY DAMAGE, SERIOUS INJURY, OR DEATH. This manual should be given to the homeowner after installation and should be retained for future reference.
GENERAL SAFETY
- Risk of Fire – DO NOT store or use gasoline or other flammable vapors and liquids in the vicinity of this or any other appliance. Keep rags and other combustibles away.
- FOR HOUSEHOLD, INDOOR USE ONLY.
- Risk of electric shock, CONNECT ONLY TO A CIRCUIT THAT IS PROTECTED BY
A GROUND-FAULT CIRCUIT INTERRUPTER (GFCI). - This appliance MUST be permanently connected to the fixed double pole circuit breaker and the appliance must be installed vertically. DO NOT install this appliance near a tinder or a strong magnetic field place.
- If there is damage to a wire, you must contact a qualified electrician to replace it.
- The minimum environmental temperature for safe storage and operation of the water heater must be above 33°F, if not, may cause water heater damage and dangerous conditions.
- This appliance is forbidden to be switched on if you think it might be frozen, as this could result in serious damage to the unit. Wait until you are sure that it has completely thawed out before you switch it on.
- DO NOT install this hot water unit in a location where it may be subject to freezing temperatures.
IF YOU IGNORE THIS WARNING, THE UNIT MAY GET PERMANENT DAMAGE DUE TO INTERNAL COMPONENTS FREEZING.
Water temperatures over 125°F can cause severe burns instantly or death from scalds.
Children, the disabled, and the elderly are at the highest risk of being scalded.
See the instruction manual before setting the temperature of the water heater.
Feel water before bathing or showering. Temperature limiting values are available, see the manual.
If the hot water unit has been paused during use, you may initially get a short burst of very hot water when you turn it on again. Please run the water through for a few seconds to settle down the water temperature.
Water Temperature Safety
Safety and energy conservation are factors to be considered when selecting the water temperature setting of the water heater’s thermostat. Water temperatures above 125°F can
cause severe burns or death from scalding. Be sure to read and follow the warnings outlined on the label pictured below.
The chart shown below may be used as a guide in determining the proper water temperature for your home to prevent burns.
Time/Temperature Relationship in Scalds
| Temperature | Time To Produce a Serious Burn |
| 120°F | More than 5 minutes |
| 125°F | 1 1/2 to 2 minutes |
| 130°F | About 30 seconds |
| 135°F | About 10 seconds |
| 140°F | Less than 5 seconds |
| 145°F | Less than 3 seconds |
| 150°F | About 1 1/2 seconds |
| 155°F | About 1 second |
DANGER: Households with small children, any disabled person, or elderly persons may require a 120°F or lower thermostat setting to prevent contact with overly “HOT”
water. The temperature of the water in the heater is regulated by the electronic control on the front of the water heater.
Notice: Mixing valves are recommended for reducing point-of-use water temperature by mixing hot and cold water in branch water lines. It is recommended that a mixing valve
complying with the Standard for Temperature Actuated Mixing Valves for Hot Water Distribution Systems to be installed.
INSTALLATION GUIDELINE
MOUNTING
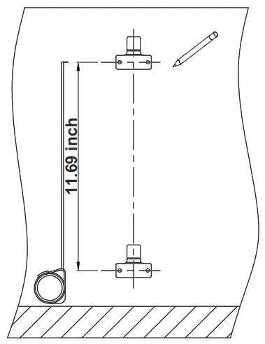
Step 1
- Locate the installation position for the water heater.
- Place the bracket on the wall and use a pencil to mark the screw hole locations. Make sure the outlet and inlet are pointed downward vertically.

Step 2
Drill four 0.24”(6mm) diameter holes on the wall. Insert the plastic anchors into the holes.
Step 3
Place the bracket onto the wall and drill mounting screws directly into the plastic anchors to secure the bracket.
Step 4
Hang the water heater onto the bracket with the outlet and inlet pointed downward.
Make sure the water heater is secure before continuing.

PLUMBING CONNECTIONS
ATTENTION
- It is recommended that this water heater be installed by a licensed and qualified plumber in accordance with all applicable national, state, and local plumbing codes.
- Make sure there are no impurities in the waterway. It is recommended to install a water softener to prevent the water heater from scaling, which can effectively prolong the service life.
- Turn on the water source and let the water flow through the water heater for at least 2 to 3 minutes.
This will remove air from the unit and prevent the water heater from scaling during use. This must be done before powering on the device. Otherwise, the heating element will be severely damaged. - When you connect the pipes to the unit, use a wrench to hold the connection point of the unit and use another wrench to tighten the flexible water hose to the hot water unit. Over-tightening must be avoided.
- It is recommended to install a manual shut-off valve (not provided) at the inlet water connection of the water heater to allow for easy shut-off if future maintenance or service is needed.
- This product does not use a storage tank to maintain hot water, therefore a temperature-pressure relief valve is not required for most installations.
- It is required to use 1/2″NPT water connections for the EVT-14K connections.
- Never use PVC on the hot water outlet. Use CPVC or other high-temperature-rated materials.
INSTALLATION
Step 1
- Flush the pipe with water to remove any debris or loose particles before pipe connections to avoid clogging.
- After flushing the pipe, ensure the water supply is turned OFF at the shut-off valve.

Step 2
- Remove the thread protectors and discard them.
– It is required to use 1/2″NPT water connections.
– If it doesn’t fit, please use the Pipe Fitting Adapter (not provided). - Connect the inlet cold water line to the cold inlet fitting on the water heater. Make sure the filter is installed in the input first.
- Connect the outlet hot water line to the hot outlet fitting on the water heater.
- Do not mistake the water inlet and outlet.

ATTENTION
The filter is to prevent any particles from entering the unit that may clog or damage the internal parts.
If the machine is blocked, it will stop working.
Step 3
- Open the shut-off valve to allow water to flow into the water heater.
- Check for any leaks at plumbing connections. If there are any leaks from the nipples, firmly tighten them with a wrench, but DO NOT OVERTIGHTEN.
- Turn on the hot water faucet and allow water to run through the water heater to purge all the air from the water lines.
This MUST be performed prior to turning on the power at the unit. FAILURE TO FOLLOW THIS STEP CAN CAUSE PERMANENT DAMAGE TO THE HEATING ELEMENTS. - Check again for any leaks at the plumbing connections. Correct any that are found.

ELECTRICAL CONNECTIONS
ATTENTION
- Make sure that the breaker is switched OFF before installing the wire to avoid any danger of electric shock. All mounting and plumbing must be completed before proceeding with the electrical connection.
- All electrical work must comply with national and applicable state and local electrical codes.
This water heater must be permanently connected to the direct main breaker panel. The use of a plug and socket for power is forbidden. - The heater must be connected to its own independent electrical circuit. Install a fuse box or switch (breaker) for the exclusive use of the heater.
- All units must be connected to a properly grounded dedicated branch circuit with a proper voltage rating.
Step 1
Remove the screws from the right side of the water heater.
Warning: DO NOT disassemble the panel. There is a wire connection between the panel and the heater. If you have removed the panel, please refer to the connection diagram
on page 4 to restore the wiring to the original setting.
Step 2
Loosen the wire retaining collar and slide the matching cable through it.
Step 3
Note: This unit should be installed by a qualified professional in accordance with all national, state, provincial and local electrical & plumbing codes.
| Confirm that your breaker panel can meet the required specifications for your unit. 14k: 240V Outlet, 1x 60A Double Pole Circuit Breaker, 1x 6AWG/2 Wire |
If you do not have the correct infrastructure you will need a professional to install a new outlet, breaker, and/or wiring.
Under no circumstances should you attempt to clean, install, inspect, repair, disassemble or otherwise service this water heater without first shutting off all power to the unit directly at the circuit breaker box. Serious bodily injury or death could occur if you ignore this warning.
- Turn off the Power
- Take each wire pair and connect them to one breaker (see wiring diagram). Make sure that each breaker is connected with one black wire and one red wire.
- Using a suitable wire gauge that meets all applicable electrical codes for the size of the breakers used, run the correct sets of wire from the main breaker panel to the tankless water heater.
- A separate ground conductor is required.
Step 4
Double-check the electrical connections to make sure they are correct and that all wire connections are tight and secure.
Step 5
- Tighten the screws of the clamp.
- Secure the panel with screws.

OPERATING INSTRUCTIONS
CAUTION: Wait until the water is fully flowing through the heater before turning on the breaker.
- Allow water to flow through the water heater unit. Allow the water to flow continuously to flush out any debris as well as purge the pipes of any air.
- Turn on the breaker to power the water heater. A beep sound will be heard and the LED display will light up. If there is no other display, the appliance will stay in standby.
- Press the power button on the unit to turn the appliance ON/OFF. When the unit is working, LED lights will show the Actual Temp.
- Press + and – to adjust the outlet water temperature. The temperature setting range is 86-131°F (30-55°C). When heating, the heating icon on the screen will light up.
Caution: If the unit is paused there may be an initial burst of very hot water when resuming.
Please allow the water to flow for a few moments to let the temperature settle. It’s always advised to test the water temperature with your hand before hopping straight into the shower. - If the unit will not be used during the winter completely drain out the water to prevent freezing.
- Periodically clean the water heater’s inlet strainer, the faucet aerator, and the shower head to ensure the free flow of water.
Cleaning steps
- Use a 10mm Allen wrench to unscrew the screw.
- Take out the filter, circlip, and the water flow rotor in turn.
- Clean the water flow rotor and filter.

Installation steps
- Install the water flow rotor into the copper head of the water inlet.
Note: The rounded bump on the top of the rotor is facing inward. - Install the circlip, filter, and screw into the water inlet in turn.
- Use a 10mm Allen wrench to lock the screw.

NORMAL MAINTENANCE
Note: Do not attempt to repair this water heater yourself if the unit is not working properly.
Call a technician for assistance. The power supply always needs to be shut off before these operations are carried out.
To ensure consistent Maximum performance of the unit, it is recommended to follow these instructions:
- Periodically remove scale and dirt that may build up at the aerator of the faucet or in the shower head.
- There is a built-in filter at the inlet connection which should be cleaned from time to time. Please cut the water supply before cleaning this filter. You can then reverse the inlet and outlet pipe connection (connect each pipe to the opposite connection) and open the faucet to manually flush the filter by opening the faucet to its max. After flushing the filter in this way, remember to reverse the pipes back to the normal connections.
- If the water heater is not used for a long time (more than 3 months), please clean the water inlet waterway first in the state of power off ( Not using it for a long time will cause oxidation of the water pipe, and dirty water will flow out of the boiling water), air and impurities must be removed before use.
Important Note
- Any maintenance performed on the water heater unit may introduce air into pipes. It is important to purge all the air out before powering on again. Failure to do so could cause serious damage to the heating element.
- If you have a water supply with high levels of mineralization (hard water), you should increase the frequency of your maintenance. Check the descaler device regularly to see if it is functional.
- Do not use paint thinner, alcohol, petrol, or any other chemical solutions to clean the unit.
Use only a damp cloth with mild detergent to wipe away any dirt or debris.
CONTROLS

| Power On/Off | Leakage of electricity | ||
| Decrease/Down | Temperature exceeds 149°F/65°C | ||
| Increase/Up | Water inlet temperature sensor failure | ||
| Not currently working | Water outlet temperature sensor failure | ||
| Working state | No over-zero signal | ||
| Excessive water flow | Communication failure |
TROUBLESHOOTING
| Issue | Possible Reason | Solution |
| The water heater is not heating at all (water is flowing but the unit is not heating – the outgoing water temperature is the same as the cold water supply) – the digital display does NOT light up. | No power or incorrect wiring. incorrectly. | Make sure the breakers at the main electrical panel are ON. You may have a faulty breaker or the unit may be wired |
| The screen is damaged. or the screen connection is poor. | Replace the screen or reconnect the wire. | |
| The water heater is heating. but the water temperature is not hot enough. | The user temperature setting is too low, | Turn up the temperature setting on the unit. |
| The flow rate is too high. | Depending on your incoming water temperature and the power output of your model, your water flow rate may exceed the physical heating capacity of your water heater. Tum down the water flow. | |
| Voltage less than 240 volts. | The set voltage of the water heater is 240v. When the voltage used is lower than 240v. the water heater will generate less heating power. It would require a larger power model. (when the voltage cannot be changed). | |
| Mixing too much cold water, | You do not need to mix as much cold water with your tankless water heater compared to when you use a conventional water heater. You may also have an anti-scald feature on your faucet that is mixing cold water. These types of faucets can usually be adjusted to reduce the amount of cold water mixed. | |
| Leakage in the joint of the inlet and outlet pipe. | Poor connection of inlet and outlet pipe. | Reconnect the pipe. |
| The rubber washer is damaged. | Replace the washer | |
| The water pressure is less and less. | The inlet filter or shower is blocked by water impurities. | Remove the inlet pipe. clean the inlet filter/shower. |
| Water temperature is unstable. | The voltage or water pressure is unstable. | The voltage water pressure is back to normal. |
MALFUNCTION CODE
| Error Code | Failure Reason | Solution |
| El (with 5 beeps sounds) | Leakage of electricity | Stop using the water heater and let a professional pinpoint the leaking parts. |
| E2 (with 5 beeps sounds) | Temperature exceeds 149°F/ 65°C. (It is a high-temperature warning, not a malfunction) | A.Select a lower power level or turn down the temperature. B.Increase water flow. |
| E3 (with 5 beeps sounds) | Water inlet temperature sensor failure | Check whether the water inlet temperature sensor terminal is effectively plugged into the main board. |
| E4 (with 5 beeps sounds) | Water outlet temperature sensor failure | Check whether the water outlet temperature sensor terminal is effectively plugged into the main board. |
| E5 (with 5 beeps sounds) | No over-zero signal-The user’s home voltage is low or the grid input voltage is abnormal. | A.Check that the voltage meets the installation requirements. B.There is interference from high-power equipment nearby. |
| EC | Communication failure | Contact Airthereal support for assistance. |
LIMITED WARRANTY
LIMITED WARRANTY
Airthereal warrants all Electric Tankless Water Heaters for 1 year for the main unit and warrants the Mainboard, relay, Led display, heating element and other major parts for 3 years from the date of purchase. For more information please visit www.airthereal.com/warranty.
What’s covered?
Defects due to faulty materials and/or workmanship of the product.
What’s NOT covered?
- Damage caused by the owner when attempting to fix or alter the product by himself or herself.
- Damage caused by misuse, abuse, neglect, alterations, or unauthorized repair.
- Natural depreciation.
Warranty Period
Warranty becomes effective from the date of original purchase and will last for 1 year.
Who’s covered?
This limited warranty is only effective for the original purchaser. It is non-transferable.
How to request warranty services?
To obtain the benefit of this warranty, please email [email protected]. Our customer service team will address your issue as soon as possible!
Always here to help you
www.airthereal.com
FOR THE AIR WE CARE
Produced for: West Ryder Technology LLC
2330 Paseo Del Prado STE C304
Las Vegas, NV 89102
Made in China
V 20220525

























