ENVO WH-AZ035-M1 Ansen 3.5 kW 0.8 GPM Tankless Electric Water Heater User Manual
PRODUCT SIZE CHART

TOOLS AND MATERIALS

Thank you for purchasing ENVO ELECTRIC INSTANT WATER HEATER. To enjoy your hot water life at its best, please read and follow the installation and operation instructions carefully, to ensure the long life and reliable operation of this appliance. FAILURE TO DO SO COULD CAUSE PROPERTY DAMAGE, SERIOUS INJURY, OR DEATH. Please keep this manual for future reference.
SAFETY PRECAUTIONS
WARNING
When using electrical appliances, basic safety precautions should always be followed including the following:
- The installation must be in compliance with the National Electrical Code, your local electrical and plumbing codes.
- This appliance must be GROUNDED. CONNECTED ONLY TO A CIRCUIT THAT IS PROTECTED BY A RECOGNIZED GROUND FAULT CIRCUIT INTERRUPTER(GFCI).
- We highly recommend that you employ the services of a professional to assist you with this installation if you are not familiar with basic plumbing and electricity. Under no circumstances should you attempt to install, repair or disassemble the water heater without first disconnecting the electricity.
- Install or locate this water heater only in accordance with the provided installation instructions.
- Use this water heater only for its intended use as described in this manual.
- This appliance MUST be permanently connected to the fixed circuit breaker and it must be installed vertically. DO NOT install near tinder or a strong magnetic field.
- SWITCH OFF the breaker before removing the cover for servicing.
- If there is damage to the wire, you must contact qualified electrician to replace it with dedicated wire from our authorized dealers.
- Use stainless steel flexible hoses or copper tubes of 1/2” on the inlet and outlet. DO NOT USE PVC, CPVC or plastic supply line directly to the heater.
- This appliance is forbidden to be switched on if you think it may be frozen, as this could result in serious damage to the unit. Wait until you are sure that it has completely thawed out before you switch it on.
- This appliance is not intended for use by persons (include children) with reduced physical sensory or mental capabilities, or lack of experience and knowledge, unless under careful supervision. Children should be supervised to ensure that they do not play with the appliance.
- Safety and energy conservation are factors to be considered when selecting the water temperature setting of water heater’s thermostat. Water temperatures above the 125°F (52°C) can cause severe burns from scalding.
- DO NOT store or use gasoline or other flammable vapors and liquids in the vicinity of this or any other appliance. Keep rags and other combustibles away.
- If the water heater has been subjected to flood, fire, or physical damage, turn off power and water to the water heater. Do not operate the water heater again until it has been thoroughly checked by qualified service personnel.
ATTENTION
- It is extremely important to FLUSH the pipes to wash away sundries and residue in the pipes before connecting the water heater to it.
- Risk of Fire – Hydrogen gas can be produced in a hot water system served by this water heater that has not been used for a long period of time(generally two weeks or more). HYDROGEN GAS IS EXTREMELY FLAMMABLE!! To dissipate such gas and to reduce risk of injury, it is recommended that the hot water faucet be opened for several minutes at the kitchen sink before using any electrical appliance connected to the hot water system. If hydrogen is present, there will be an unusual sound such as air escaping through the pipe as the water begins to flow. Do not smoke or use an open flame near the faucet at the time it is open.
- Safety regulations require a factory setting no greater than 125°F (52°C) for all new water heaters. Therefore, if your old water heater was set to a hotter temperature than your new water heater with a factory setting of 120°F (49°C), the new water heater may seem to provide lower capacity than your old water heater. This can be corrected by increasing the temperature setting
- Increasing the water temperature setting may improve the cleaning performance of dishwashers.
- The user can adjust the temperature setting to meet their needs. Always read and understand the safety instructions contained in the manual before adjusting the temperature setting.
- If the water heater is to remain idle for an extended period of time, the power and water to the appliance should be turned off and the water heater drained to conserve energy and prevent a buildup of dangerous hydrogen gas. This unit has no power button, power can only be shut off at the circuit breaker or disconnect switch. The water heater and piping should be drained if they might be subjected to freezing temperatures. After a long shutdown period, the water heater’s operation and controls should be checked by qualified service personnel. Make certain that water is flowing to water heater again before placing it in operation.
Statement: ENVO does not assume any responsibility for the losses caused by the improper installation and behavior listed above or other improper operations.
CAUTION
FOR HOUSEHOLD AND INDOOR USE ONLY.
SAVE THIS INSTRUCTION
ELECTRICAL DIAGRAM


PRODUCT INNER STRUCTURE

PRODUCT SPECIFICATIONS
| Model | WH-AZ035-M1 | WH-AZ006-M1 |
| Voltage | 120V | 240V |
| Wattage | 3500W | 6000W |
| Rated Current | 29.5A | 25A |
| Min. required circuit breaker | 32A | 32A |
| Min. wire size (L.N.L1.L2.E) | 10 AWG | 12 AWG |
| Max. water pressure | 87 Psi (0.6 MPa) | |
| Min. water flow to activate unit | 0.4 GPM (1.5 L/min) | |
| Weight | 4.21 lbs | |
| Product Dimensions (DxHxW) | 3.86″ x 6.3″ x 7.8″ | |
| Water connections | 1/2″NPT | |
Note: For supply connections, confirm using correct breaker size and wire gauge. Connected only to a circuit that is protected by recognized ground-fault circuit interrupter (GFCI).
INSTALLATION GUIDELINE
- Make sure the appliance is intact, and the fittings are complete.
- Please make sure the main power supply, water pressure, grounding condition, ammeter and wire reach the standard of installation requirement.
- Clean all the impurities of the pipe by allowing water to flow for a few minutes before connecting the heater to the supply line. Any residue or dirt in the pipes may cause damage to the heater.
- We strongly recommend installing a water filter before the inlet of heater. Hard water or water with high levels of minerals and alkali can cause damage to this unit. Water softening system is needed for this case.
- It must be fitted with a pressure reducing valve adjacent to the entrance when the inlet pressure is higher than 150 Psi (1034kPa).
- DO NOT install near tinder or a strong magnetic field. The appliance can be installed above or under the sink, and unit must only be mounted with inlet & outlet pointing downward or upward VERTICALLY near by the water fittings.
- It is recommended to install the appliance no more than 4 ft from the point of use to save power.
- Avoid locations that are prone to dampness, high humidity, moisture, or dust.
- Install the water heater in a dry, clean area, as close to the target faucet as practically possible. Avoid installing in rooms that are subject to freezing temperatures or corrosive atmosphere. Long uninsulated hot water lines can waste energy and water.
NOTE: Make sure the water heater and hot water outlet pipe are out of the reach of children to avoid tampering with the controls or burn themselves on hot water outlet pipe. Moving the water heater or other appliances to provide service to the water heater is not covered under warranty. - If a check valve is present on the inlet water line, it will create a “closed system.” Heating water in a closed system creates an increase in pressure within the water system because the pressure is not able to dissipate in the main supply line. Referred to as “thermal expansion”, the rapid pressure increase can cause the relief valve to operate (releasing water) during each heating cycle, potentially causing premature failure to the valve or even the water heater. The suggested method of controlling thermal expansion is to install an expansion tank in the cold water line between the water heater and the check valve. Contact your installing contractor, water supplier, or plumbing inspector for additional information.
- There must be sufficient clearance between any object and the top, rear and sides of the water heater in the event service is needed.
The controls and plumbing connections at front of unit must have clear access for operation and service.
Recommended Minimum Clearances: 12” above and below the water heater 6” in front and to both side of the water heater. - A separate branch circuit with copper conductors, overcurrent protective device and suitable disconnecting means must be provided by a qualified electrician.
- All wiring must conform to local codes or latest edition of National Electrical Code ANSI/NFPA 70.The voltage requirements and wattage load for the water heater are specified on the rating label on the front of the water heater.
- The branch circuit wiring should include either:
- Metallic conduit or metallic sheathed cable approved for use as a grounding conductor and installed with fittings approved for the purpose.
- Nonmetallic sheathed cable, metallic conduit or metallic sheathed cable not approved for use as a ground conductor shall include a separate conductor for grounding. It should be attached to the ground terminals of the water heater and the electrical distribution box.
WARNING
- It is recommended for this product to be installed by a licensed and qualified electrician in accordance with all applicable national, state, and local electrical codes.
- Under no circumstances should you attempt to install, repair, or disassemble the water heater without first shutting off power directly at the fuse or breaker.
- Before installing this product, make sure the installation location has sufficient electrical power available to handle the maximum amperage load for the water heater.
- Proper ground connection is essential. The presence of water in the piping and water heater does not provide sufficient conduction for a ground. Nonmetallic piping, dielectric unions, flexible connectors, etc., can cause the water heater to be electrically isolated. Do not disconnect factory ground.
ATTENTION
ENVO does not cover any damage or defect caused by installation, attachment or use of any type of energy-saving or other unapproved devices (other than those authorized by ENVO) into, onto or in conjunction with the water heater. The use of unauthorized energy-saving devices may shorten the life of the water heater and may endanger life and property.
ENVO disclaims any responsibility for such loss or injury resulting from the use of such unauthorized devices.
NOTE: do not cover the operating or warning labels attached to the water heater or attempt to relocate them.
INSTALLATION
- General
The ENVO electric instant water heater can be used to heat bathroom sink faucets, kitchen sink faucets. - Mounting the unit
Front and back on unit illustrated below (fig 2).
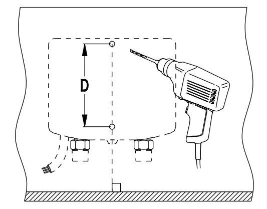
Step 1:
- Mark two screw hole locations on the wall where the water heater is going to be placed. Make sure both holes are vertical and 5.75” (146mm) apart if installing the heater with the outlet and inlet pointed downward or 5.47” (139mm) if the outlet and inlet pointed upwards.
- If screw locations are in wall stud, drive mounting screws directly into stud. if screw locations are not in stud. Drilling two 0.24’’(6mm) diameter holes on the wall. Insert the plastic anchors into the holes and then drive screws into wall anchor.

Fig 3
Step 2:
Heater with the outlet and inlet pointed downward:
- Place water heater on wall and slide onto mounting slot.
- Secure water heater to wall with screw through safety tab.
- Ensure water heater is level and secure on wall. (Fig 4)

Fig 4
Heater with the outlet and inlet pointed upward:
- Place water heater on wall and slide onto mounting slot.
- Secure water heater to wall with screw through safety tab.
- Ensure water heater is level and secure on wall. (Fig 5)

Fig 5
Plumbing Connections
ATTENTION
- It is recommended that this water heater be installed by a licensed and qualified plumber in accordance with all applicable national, state, and local plumbing codes.
- DO NOT solder any pipes with unit connected to pipes, heat from soldering can cause permanent damage to internal parts.
- Flexible water supply hoses(not provided) comply with United Plumbing Code and suitable for 194°F(90°C) water temperature are recommended for plumbing installation.
- When connecting the water pipes to inlet and outlet connections, use two wrenches. One wrench to hold the water heater fittings and another wrench to tighten the connecting pipes. Any over-tightening of the connecting pipes can cause permanent damage to internal components of water heater.
- It is recommended to install a manual shut-off valve(not provided) at the inlet water connection of the water heater to allow for easy shut-off in the event that future maintenance or service is needed.
- This product does not use a storage tank to maintain hot water, therefore a temperature pressure relief valve (T&P) is not required for most installations. However, in some locations local codes may require a T&P valve for installation. If one is required, install in accordance with local codes and ensure it operates correctly.
- Only potable water can be used with this water heater. Do not install in locations with pool or spa water, or any locations where chemically treated water can be introduced into the system.
Plumbing Installation



Connect the inlet cold water line to the cold inlet fitting on water heater.
Connect the outlet hot water line to the hot outlet fitting on water heater.
ATTENTION
Use two wrenches. One wrench to hold the water heater fittings and another wrench to tighten the connecting pipes. Any over-tightening of the connecting pipes can cause permanent damage to internal components of water heater.

- Open the shut-off valve to allow water to flow into the water heater.
- Check for any leaks at plumbing connections. If there is any leaks from the nipples, hand tighten them then tighten with wrench. DO NOT over tighten.
- Open several hot water fixtures to allow water to run through the water heater to purge air from the water lines. Failure to purge air from the water lines can cause permanent damage to the heating elements.
- Check again for any leaks at plumbing connections. Correct any that are found.
Electrical Connections
- Turn the power off at the fuse or circuit.
- Connect the cable to the breaker. WH-AZ035-M1: install L (red wire) to L1, N (black wire) to Neutral, and E (green-yellow wire) to Ground. WH-AZ006-M1: install L1 (red wire) to L1, L2 (black wire) to L2, and E (green-yellow wire) to Ground. Make sure that the metal wire ends and the breaker are well connected. Then tighten the screws to secure the wires. See ELECTRICAL DIAGRAM on PG.3 for reference.

ATTENTION
- Make sure that the breaker is switched OFF before installing the wires to avoid any danger of electric shock. All mounting and plumbing must be completed before proceeding with electrical connection.
- The heater must be connected to its own independent electrical circuit. Install a fuse box or switch (“breaker”) for exclusive use of the heater.
- All unit must be connected to a properly grounded dedicated branch circuit with proper voltage rating.
OPERATION INSTRUCTIONS
CAUTION: Wait until water is fully flowing through the heater before turning on the breaker.
- Allow water to flow through the water heater unit. Allow the water to flow continuously to flush out any debris as well as purge the pipes of any air.
- Turn on the breaker to power the water heater. An audible beep will be heard and the LED display will light up for 2 seconds.
- After power the water heater the unit will turn ON once the minimum water flow runs through the heater. The min water flow to activate the unit is 0.4GPM (1.5L/min).
- Stopping the flow of water will shut down the water heater. It is not necessary to turn the breaker OFF.
- Press
to adjust the water’s temperature between 86-131 °F (30-55 °C). The default temperature is 105 °F (41 °C). - Continuously press
to cycle between 100 °F – 107 °F – 131 °F (38 °C – 42 °C – 55 °C). - Press
once to switch between Fahrenheit and Celsius. - If the unit is installed upside down press and hold
for 3 seconds to reorient the LED display 180 °. - There is an over-temperature protection system for this unit. When the temperature reaches 149 ° F (65 ° C) the system will automatically start to decrease the temperature until it’s back to a safe level. Only then will you be able to increase the temperature again.
- There is electric leakage detection function, while there is a leakage, the appliance will stop working automatically.
- Please check hot water with hand before you taking a shower.
- If the unit will not be used during the winter completely drain out the water to prevent freezing.
- Periodically clean the water heaters inlet strainer, the faucet’s aerator, and the shower’s head to ensure free flow of water.
CLEANING & MAINTENANCE
ATTENTION
- Do not attempt to repair the water heater unit yourself. Please contact a certified professional or call our customer support for assistance. It is important to shut off all power to the water heater directly at the fuse or breaker. Failure to do so could cause permanent damage to the water heater and void the product warranty.
- Before performing any maintenance make sure to take precaution and prevent exposure to the potentially hot water. The water may be hot enough to present a serious scalding hazard. The water should be safely drained to prevent any injury or property damage.
- It is recommended to regularly maintenance the water heater. Proper maintenance will help lead to a long running, trouble free water heater.
- Periodically remove scale and dirt that may build up at the faucet aerator.
Cleaning Steps:
Step 1. Shut off power to the water heater before draining water.
Step 2. Inspect the inlet and outlet water connections for any signs of damage or failure. Look for any signs of leakage, damage, or cracks in each connection.
Step 3. Unscrew the nipple of inlet, check the filter inside the inlet. Replace with a new one if it have to.
Step 4. Install the nipple back to the inlet. Make sure there is washer between the nipple and the inlet. Hand tight first then tighten with wrench. Make sure not to over tighten the connections to avoid damage to internal connections of the water heater.
Step 5. Reconnect the pipe to the inlet. Use two wrenches, one wrench to hold the water heater fittings and another wrench to tighten the connecting pipes.
TROUBLE SHOOTING
| SYMPTOMS | POSSIBLE CAUSES | RECOMMENDED ACTIONS |
| Inlet and outlet fittings leaking. | A. Fittings not tight. B. Rubber washer worn-out. | A. Tighten fittings. B. Change rubber washer. |
| LED no signal. | A. Power not connected. B. The temperature control device disconnected. | A. Connect power to the unit. B. Call our technical support line for assistance.(305-614-4070). |
| Functional keys not working. | A. No water out from shower. B. Water pressure too low. | A. Open valve to get water. B. Raise the water pressure. |
| Water too hot. | A. Too high temperature set. | A. Set a lower temperature. |
| Water too cold. | A. Low temperature set. B. Water flow too much. | A. Set a higher temperature. B. Reduce water flow. |
| Outlet water gets smaller and smaller. | Inlet strainer of the unit, faucet or shower head clogged. | Clean strainer, faucet and shower head. |
| LED shows El. | Outlet water temperature abnormal, over 167 F(75–C). | Turn off the power and keep the outlet water flowing out in 30 seconds, then turn on the power again. |
| LED shows E3. | Outlet temperature sensor failure. | Call our technical support line for assistance.(305-614-4070). |
PACKING LIST
| Rem | Unit | Quantity |
| Electric Water Heater with cable | Unit | 1 |
| Installation kit | Set | 1 |
| Install & Operation Manual | Copy | 1 |
Product Registration
IMPORTANT: YOUR WARRANTY WILL NOT BE RECOGNIZED UNLESS THIS CARD IS FULLY COMPLETED AND RETURNED OR ONLINE REGISTRATION IS COMPLETED.
To ensure that your warranty is registered and confirmed please do one of the following:
- Register online at wvvw.swcorn.com/register. You will be asked to fill out the same information you would in the registration card. Registering online is fast, secure and ensures we receive your information.
- Complete, cut-out and mail the registration card below.By returning this registration card we confirm the date of purchase for your new product. This confirmation will allow us to process any warranty claims.
Mail the card to: 5701 NW 35 Avenue, Miami, FL 33142

DON’T WAIT!
REGISTER NOW!
Register your product within 90 days to ensure your product is recognized as an official purchase and is eligible for warranty coverage.
Mail in the completed registry card or register online at www.swcorp.com/register.
Need help? For technical support call 305-614-4070 or visit us at www.ANZZI.com























