GREYSTONE TLGLF24X01 Glass Low Limit Thermostat

INTRODUCTION
The low limit glass thermostat incorporates a precision thermistor temperature sensor and provides a Form C relay output (NO/NC) with an adjustable setpoint. The sensor is encapsulated in a 31.75mm L x 9.525mm W x 9.525mm H (1.25″ x 0.375″ x 0.375″) Aluminum probe. Standard wire length is 1.5 m (5′). All probes are constructed to provide excellent heat transfer, fast response and are potted to resist moisture penetration.
BEFORE INSTALLATION
Read these instructions carefully before installing and commissioning the temperature sensor. Failure to follow these instructions may result in product damage. Do not use in an explosive or hazardous environment, with combustible or flammable gases, as a safety or emergency stop device or in any other application where failure of the product could result in personal injury. Do not exceed the device ratings.
MOUNTING
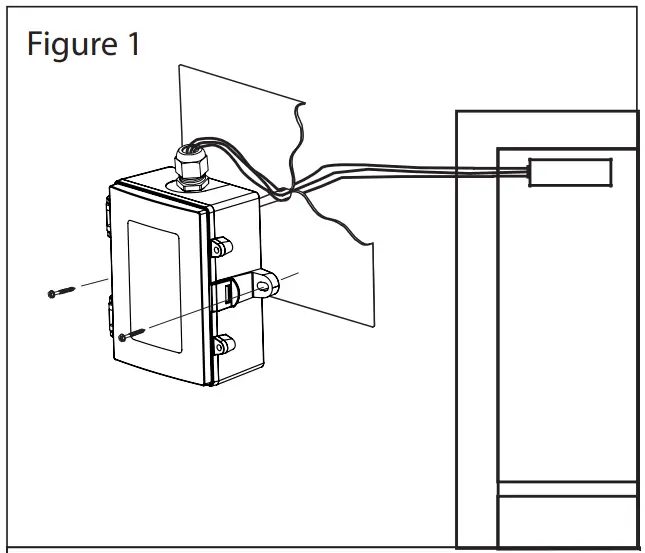
The glass thermostat installs directly onto any window where the enclosure can be mounted nearby. Select a suitable location on an exterior window where both the probe and the enclosure can be mounted. On one side of the probe apply epoxy compound and press firmly against the glass. See Figure 1. Use whatever means available (electrical tape will do) to secure the probe to the window while the epoxy sets.
Unroll the sensing cable probe, being careful not to kink the wire. Secure the enclosure to the wall with two #10 x 25 mm (1”) self tapping screws (not provided). Tighten screws until the enclosure is tight against the wall and ensure that there is no movement of the enclosure as shown in Figure 1.
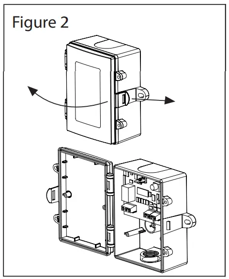
The enclosure has a hinged cover with a latch. Open the cover by pulling slightly on the latch on the right side of the enclosure, at the same time pulling on the cover, as illustrated in Figure 2.
A 1/2″ NPT threaded connection hole is provided in the bottom of the enclosure. Screw the EMT connector or cable gland connector in until tight. See Figure 3. It is recommended that weatherproof conduit or cable gland fittings be used. An optional 1/2″ NPT to M16 thread adapter and cable gland fitting is available.
Make wire connections as per the “Wiring” illustrations on Page 2.
Swing door closed until securely latched. For added security, two screws are provided that may be installed in the integrated screw tabs. See Figure 4.
WIRING
- Deactivate the 24 Vac/dc power supply until all connections are made to the device to prevent electrical shock or equipment damage.
- Use 14-22 AWG shielded wiring for all connections and do not locate the device wires in the same conduit with wiring used to supply inductive loads such as motors. Make all connections in accordance with national and local codes.
- The temperature thermostat comes with the temperature sensor pre-wired to the PCB. If removal is required for installation then it may be re-wired as shown in Figure 5.
- Pull at least six inches of control wire into the enclosure, then complete the wiring connection according to the wire diagram for the applicable power supply as shown in Figure 6.
- Connect the DC positive or the AC voltage hot side to the PWR terminal. The supply common is connected to the COM terminal. See Figure 6.
- The relay has both Normally Open (NO) and Normally Closed (NC) contacts available. The relay output is available on the NO/COM/NC terminal. Make connections before applying power as shown in Figure 7.
- The setpoint differential has 3 jumper selectable settings (Low/Mid/High). Set jumper to desired differential as shown in Figure 9.
- To set the switching setpoint, turn the setpoint potentiometer to the desired temperature setting as shown in Figure 8.
- Once all connection settings are made and checked, power can be applied.

DIMENSIONS

SPECIFICATIONS:
Power Supply: 12 to 28 Vac/dc
Consumption: 50 mA max
Relay Contacts: SPDT, Form C contacts (N.O. and N.C.) 5 Amps @ 30 Vac/250 Vac resistive 1.5 Amps @ 30 Vdc/250 Vac inductive
Relay Action: Activates on temperature fall – Auto reset
Setpoint Operation: Single-turn knob-pot on PCB
Adjustable Setpoint: -4 to 10°C (25 to 50°F)
Temperature Differential: Low: 1.1°C (2°F) Mid: 2.8°C (5°F) High: 5.6°C (10°F) Jumper selectable
Temperature Sensor: 10K ohm curve matched precision thermistor
Sensor Accuracy: ±0.2°C, 0 to 70°C (±0.36°F, 32 to 158°F)
Probe Sensing Range: -40 to 100°C (-40 to 212°F)
Probe Material: Aluminum
Probe Size: 31.75 mm L x 9.525 mm W x 9.525 mm H (1.25″ x 0.375″ x 0.375″)
Wire Length: 1.5 m (5′)
Wire Material: PVC insulated, parallel bonded
Operating Conditions: -10 to 50°C (14 to 122°F), 5 to 95% RH, non-condensing
Storage Conditions: -30 to 70°C (-22 to 158°F), 5 to 95% RH, non-condensing
Wiring Connections: Screw terminal block (14 to 22 AWG)
Enclosure: Grey Polycarbonate UL94-V0, IP65 (NEMA 4X) Optional thread adapter (1/2″ NPT to M16) and cable gland fitting
Country of Origin: Canada
CUSTOMER SUPPORT
IN-GE-TLGLXXX-003
Copyright © Greystone Energy Systems, Inc. All Rights Reserved Phone: +1 506 853 3057 Web: www.greystoneenergy.com

















