Danfoss HFI Float Valve Installation Guide
Installation
Refrigerants
Applicable to all common non-flammable refrigerants, including R717 and noncorrosive gases/liquids dependent on sealing material compatability. As standard the float ball is designed for R717 with a density of 500 through to 700 kg/m3 . For refrigerants, which have a density outside this range please contact Danfoss.
Flammable hydrocarbons are not recommended. The valve is only recommended for use in closed circuits. For further information please contact Danfoss.
Temperature range
HFI: –50/+80°C (–58/+176°F)
Pressure range
The HFI valve is designed for a max. pressure of PED: 28 bar g (407 psi g). The Ball (float) is designed for max. working pressure: 25 bar g (363 psi g). If test pressure exceeds 25 bar g (363 psi g) the ball should be removed during testing.
Installation
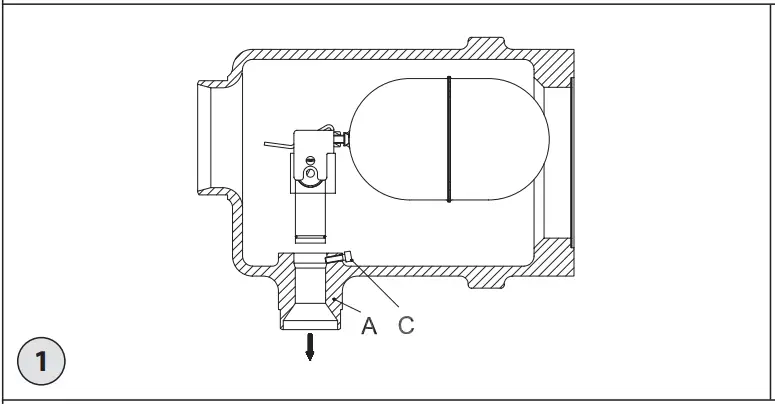
Mount the float valve horizontally with the outlet connection pos. A (fig. 1) vertically downwards.
The flow direction has to be from the flanged inlet connection as indicated with the arrows (fig. 1).
The valve is designed to withstand a high internal pressure. However, the piping system should be designed to avoid liquid traps and reduce the risk of hydraulic pressure caused by thermal expansion. It must be ensured that the valve is protected from pressure transients like “liquid hammer” in the system.
Welding
Remove the float assembly before welding as follows:
- – Dismount the end cover and remove the transport packing. After welding and assembly, the transport packing should be put back into place, until the final destination of the unit is reached.
- Unscrew the screw pos. C (fig. 1) and lift up the float assembly from the outlet.
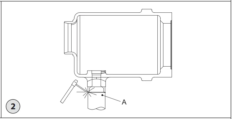
- Weld the outlet connection pos. A (fig. 1) into the plant as shown in fig. 2.

Only materials and welding methods, compatible with the valve housing material, must be welded to the valve housing. The valve should be cleaned internally to remove welding debris on completion of welding and before the valve is reassembled. Avoid welding debris and dirt in the housing.
NB! When demand is heavy at low temperature operation, we recommend to check the velocity in the outlet branch. If necessary the diameter of the pipe which is welded on to the outlet branch pos. A (fig. 1) can be increased. The valve housing must be free from stresses (external loads) after installation.
Assembly
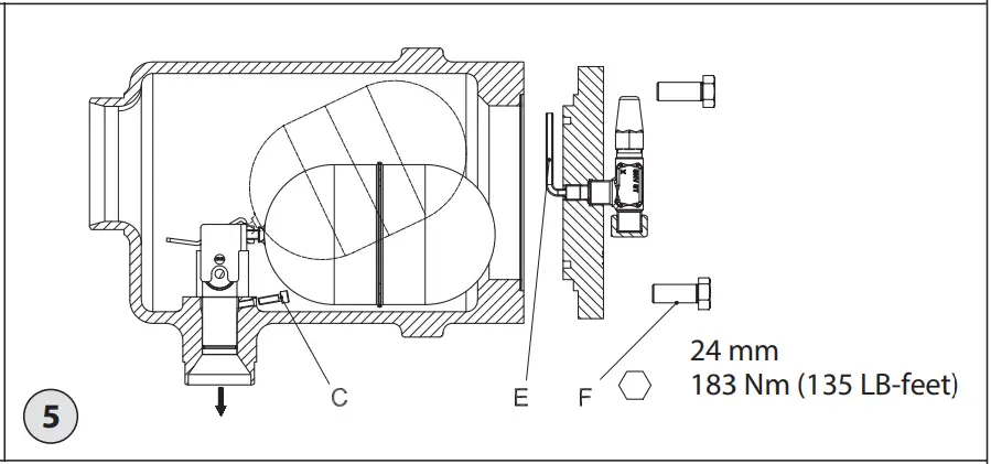
Remove welding debris and any dirt from pipes and valve body before assembly. Replace float assembly in the outlet branch and tighten the screw pos. C (fig 3). Check that the float assembly has gone all the way down the outlet connection and that the float ball is positioned in the middle of the housing, so it can move without any restriction.
End cover with purge valve and pipe is remounted in the housing.
NB! The ventilating pipe pos. E (fig 3) has to be placed vertically up-wards.
In case an insert with a slide (version before 2007) replaced by a present version, an extra threaded hole needs to be made in the outlet connection A to fix the screw (fig.1)
Tightening
Use a torque wrench to tighten the screws pos. F (fig. 3). Tighten with torque of 183 Nm (135 Lb-feet).
Colours and identification
The HFI valves are painted with a red oxide primer in the factory. The external surface of the valve housing must be prevented against corrosion with a suitable protective coating after installation and assembly.
Protection of the ID plate when repainting the valve is recommended.
Maintenance
Purging of incondensable gases
Incondensable gases might accumulate in the upper part of the float valve. Purge these gases by means of the purge valve pos. G (fig. 4).

Replacement of complete float assembly (adjusted from factory), follow the steps below:
- NB! Before openening up the float valve, the system must be evacuated and the pressure equalized to atmospheric pressure by using the purge valve pos. G (fig. 4)
- Remove the end cover
- Remove float valve assembly by untightening the screw pos. C (fig. 5) and lifting up the complete float valve assembly.
- Place new float assembly in the outlet connection pos. A and tighten the screw pos. C (fig. 5)

- End cover with purge valve and pipe is remounted on the housing.
NB! Ventilating pipe pos. E (fig. 5) has to be placed vertically upwards. - Use a torque wrench to tighten the screws pos. F (fig. 5). Tighten with torque of 183 Nm (135 LB-feet).

NB! Check that the purge valve is closed before you pressurize the float valve.
Use only original Danfoss parts for replacement. Materials of new parts are certified for the relevant refrigerant.
In cases of doubt, please contact Danfoss. Danfoss accepts no responsibility for errors and omissions. Danfoss Industrial Refrigeration reserves the right to make changes to products and specifications without prior notice.





















