Danfoss SV 1-3 Float Valve Installation Guide
Installation
Low pressure and high pressure float valves + high pressure defrost drain float valves
Refrigerants
Applicable to all common non-flammable refrigerants, including R717 and noncorrosive gases/liquids dependent on sealing material compatibility. Flammable hydrocarbons are not recommended. The valve is only recommended for use in closed circuits. For further information please contact Danfoss.
Temperature range
SV 1-3: –50/+65 °C (–58/+149 °F
Pressure range
SV valves are designed for a max. working pressure of 28 barg (406 psig). Max. test pressure: pe = 37 bar = 3700 kPa (537 psig)
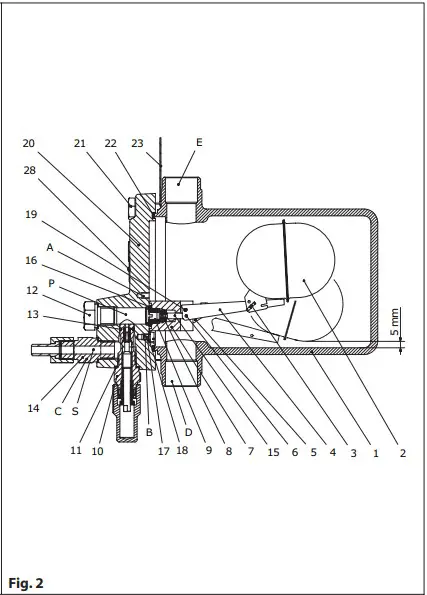
Design
- Float Housing
- Float
- Split pin
- Float arm
- Link
- Pin
- Valve housing
- O-ring
- Float orifice
- Manual regulation unit, throttle valve
- Gasket
- Plug
- O-ring
- Pilot connection (spare part)
- Orifice needle
- O-ring
- Screw
- Gasket
- Pin
- Cover
- Screw
- Gasket
- Label
- Sign
Installation
Low pressure float valve SV (fig 1 and 3). When SV is to be used as a low pressure float valve it must be fitted with its longitudinal axis horizontal at the same height as the liquid level required (fig. 3)


Manual regulation unit 10 must point vertically upwards. The vapour connection D must point vertically upwards.
The low pressure float valve is connected to the evaporator through a liquid line E and a vapour line D.
When delivered, the float 2 is made secure for transport by a carton sleeve which must be removed prior to fitting. See label 23.
High pressure float valve SV (fig. 2 and 4).



When SV is to be used as a high pressure float valve it must be fitted with its longitudinal axis horizontal at the same height as the liquid level required. Manual regulating unit 10 must point vertically downwards. The vapour connection E must point vertically upwards.
The high pressure float is connected to the condenser/receiver or a vertical adequately dimensioned section of the liquid line from the condenser via a liquid line D and a vapour line E.
When delivered, the float 2 is made secure for transport by a carton sleeve which must be removed prior to installation. See label 23.
Installation to the system
The high pressure float valve can be connected to the main valve (PMFH) with a pilot line not more than 3 m in length, without “pockets”, and with an inside diameter of between 6 and 10 mm.
The piping system should be designed to avoid liquid traps and reduce the risk of hydraulic pressure caused by thermal expansion. It must be ensured that the valve is protected from pressure transients like “liquid hammer” in the system.
When an SV(L) is used as a separate expansion valve (fig. 3), the liquid inlet line is connected to nipple C (delivered separately). To avoid false level, the pressure drop in the suction vapour connection must be as small as possible.
When an SV(H) is used as a separate expansion valve (fig. 4), the liquid outlet line must be connected to nipple C (delivered separately).
At delivery the SV house is positioned for low pressure function SV(L) when the type label can be read normally.
The label is thus placed on the cover in the way that its top edge indicates the centre of the cover.
Any mechanical influence direct on the float housing 1 should be avoided/ minimized e.g. impact caused by vibrations acting directly on the float housing 1 – thus mounting of the float valve in the float house is not allowed (fig. 6). Drilling of holes is not allowed anywhere in the float valve.
Welding
As shown in fig. 5, the complete float assembly must be removed prior to welding.
Only materials and welding methods, compatible with the valve housing material, must be welded to the valve housing. The valve should be cleaned internally to remove welding debris on completion of welding and before the valve is reassembled. Avoid welding debris and dirt in the housing including all orifices.
Welding and similar is only allowed on the liquid line E and the vapour line D.
The valve housing must be free from stresses (external loads) after installation.
Valves must not be mounted in systems where the outlet side of the valve is open to atmosphere. The outlet side of the valve must always be connected to the system or properly capped off, for example with a welded-on end plate.
Pilot connection
The cover 20 is fitted with a manual regulation unit 10. There are two possibilities, P and S, for the pilot connection 14.
Pilot connection
The cover 20 is fitted with a manual regulation unit 10. There are two possibilities, P and S, for the pilot connection 14.
When the pilot connection is fitted in position P, the pilot flow travels in parallel through either the bypass orifice 10 or float orifice 9. The screw 17 must be moved to position A so that the by-pass hole B is open.
When the pilot connection is fitted in pos. S, the pilot flow travels in series through manual regulating unit 10 and float orifice 9. The screw 17 must then be kept in position B.
Instruction for PMFH shows the pilot connection on SV for the high pressure float system.
Setting
On delivery, the pilot connection is fitted with a red plastic cap. After removal of the cap the pilot connection, either 10 mm weld or 3/8” flare, can be fitted. Connection S is open on delivery. When SV is used as a pilot float valve in the high pressure system: PMFH + SV: Make the settings as described in these instructions.
P-mounting for SV as separate valve With the float valve closed the SV has a minimum capacity corresponding to the degree of opening of the throttle valve 10. Opening of the throttle valve can be used for service to manually open the SV.
S-mounting for SV as separate valve On SV(L) the throttle valve 10 functions as a pre-orifice and on SV(H) as a post-orifice, corresponding to the degree of opening of the throttle valve. With the throttle valve closed, the liquid inlet on SV(L) and liquid outlet on SV(H) are shut off.
Assembly
Remove welding debris and any dirt from pipes and valve body before assembly.
Colours and identification
The SV valves are painted with a blue primer in the factory. Precise identification of the valve is made via the ID plate. The external surface of the valve housing must be prevented against corrosion with a suitable protective coating after installation and assembly.
Protection of the ID plate when repainting
the valve is recommended.
Maintenance
Dismantling the valve (fig. 1)
Do not remove the cover 20 or the plug 12 while the valve is still under pressure.
- Check that the gasket 22 has not been damaged
- Unscrew the orifice 9 and check that the orifice needle 15 is intact
- Check that the float 2 is intact
- Check that the pin 19 is intact
Assembly
Remove any dirt from the interior before the valve is assembled. Check that the valve is positioned according to the function before re-installation.
Tightening
Tighten the screws 21 in the cover 20 with 20 Nm
Use only original Danfoss parts, including packing glands, O-rings and gaskets for replacement. Materials of new parts are certified for the relevant refrigerant.
In cases of doubt, please contact Danfoss. Danfoss accepts no responsibility for errors and omissions. Danfoss Industrial Refrigeration reserves the right to make changes to products and specifications without prior notice.

The following text is applicable to the UL listed products SV 1-3
Applicable to all common non-flammable refrigerants, including/excluding (+) R717 and to non-corrosive gases/ liquids dependent on sealing material compatibility (++). The design pressure shall not be less than the value outlined in Sec. 9.2 of ANSI/ASHRAE 15 for the refrigerant used in the system. (+++).
Danfoss A/S Climate Solutions • danfoss.com • +45 7488 2222 Any information, including, but not limited to information on selection of product, its application or use, product design, weight, dimensions, capacity or any other technical data in product manuals, catalogues descriptions, advertisements, etc. and whether made available In writing, orally, electronically, online or via download, shall be considered informative, and is only binding if and to the extent, explicit reference is made in a quotation or order confirmation. Danfoss cannot accept any responsibility for possible errors in catalogues, brochures, videos and other material. Danfoss reserves the right to alter Its products without notice. This also applies to products ordered but not delivered provided that such alterations can be made without changes to form, fit or function of the product.
Al trademarks in this material are property of Danfoss A/S or Danfoss group companies. Danfoss and the Danfoss logo are trademarks of Danfoss A/S. Al rights reserved. 4 AN149486432996en-000801 Danfoss Climate Solutions 2022.06



















