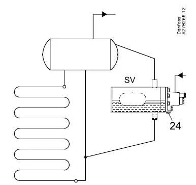
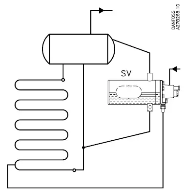
Danfoss SV 4, 5, 6 Float Valve

- Bemark: Pos.1 og 2 ved tilslutninger

- Note: Pos.1 and 2 when connecting

Setting
- Turn the spindle (pos. 3) counter-clockwise until the valve is closed (audible)
- Turn the spindle (pos. 3) clockwise until the valve opens (audible and perceptible). Then turn once more ½ rotation and the float is set. The setting can be marked on the spindle
Cleaning of strainer
- Turn the spindle (pos. 3) counter-clockwise until the valve is closed (audible)
- Close liquid inlet
- Cover (pos. 4) can be dismounted and the strainer (pos. 5) can be cleaned
Change of orifice and teflon valve plate:
- Follow the above mentioned points 1-3
- Spring (pos. 6) and orifice (pos. 7) can be removed
- If the change of the teflon valve plate (pos. 8) is required, please contact Danfoss
Manual opening:
The spindle (pos. 3) is turned clockwise as far as possible and the valve is forced-opened.
Manual closing:
The spindle (pos.3) is turned counter-clockwise until the valve is closed (audible).
- 4-off M6 (remove pos. 1,

- 4-off M6 (remove pos. 1,

- 4-off M6 (remove pos. 1,

- Remove pos. 2 fig. 1, pos. 1, fig. 1 remains screwed

Spare parts:
- Seal kit: 027B2070
- For other spare parts, see the Spare Parts catalog
Danfoss A/S
- Climate Solutions
- danfoss.com
+45 7488 2222 catalogs descriptions, advertisements, etc. and whether made available in writing, orally, electronically, online, or via download, shall be considered informative and is only binding if and to the Any information, including, but not limited to information on selection of product, its application or use, product design, weight, dimensions, capacity or any other technical data in product manuals, extent, explicit reference is made in a quotation or order confirmation. Danfoss cannot accept any responsibility for possible errors in catalogues, brochures, videos and other material. Danfoss reserves the right to alter its products without notice. This also applies to products ordered but not delivered provided that such alterations can be made without changes to form, fit or function of the product. All trademarks in this material are property of Danfoss A/S or Danfoss group companies. Danfoss and the Danfoss logo are trademarks of Danfoss A/S. All rights reserved.


























