HYPER H410R RGB
USER MANUAL
Package Content

Intel & AMD

03. Intel & AMD

AMD AM4/AM3+/AM3/AM2/FM2+/FM2/FM1

05. AMD AM4/AM3+/AM3/AM2/FM2+/FM2/FM1

06. AMD AM4/AM3+/AM3/AM2/FM2+/FM2/FM1

07. AMD AM4/AM3+/AM3/AM2+/AM2/FM2+/FM2/FM1

08. AMD AM4/AM3+/AM3/AM2+/AM2/FM2+/FM2/FM1

09. AMD AM4/AM3+/AM3/AM2+/AM2/FM2+/FM2/FM1

10. Intel – LGA 2066/2011-v3/2011/1366/115x/775

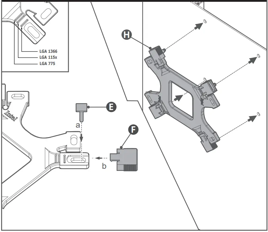
Intel – LGA 1366/115x/775

12. Intel – LGA 1366/115x/775
13. Intel – LGA 2066/2011-v3/2011
Intel & AMD

15. Intel & AMD 
16. Intel & AMD
17. Intel & AMD
Please visit our website at www.coolermaster.com
| Asia Pacific – Cooler Master Technology Inc. 8F., No. 788-1, Zhongzheng Rd., Zhonghe Dist., New Taipei City 23586, Taiwan (R.O.C.) Tel: +886-2-2225-3517 | Europe – Cooler Master Europe B.V. Lodewijkstraat 1b, 5652AC Eindhoven, The Netherlands Tel: +31-(0)40-702-0900 |
| China – Cooler Master China Room 2062, Floor 6, No. 421, Weiquing Rd., Jinshan District, Shanghai City, China Tel: +86-21-51872177 | North America – Cooler Master NA 2929 E Imperial Highway, Ste 110 Brea CA, 92821, USA Tel: +1-888-624-5099 |
For the most updated information, please visit our official website: www.coolermaster.com
Cooler Master Support: https://account.coolermaster.com/
512002870-GP Ver 1.0:2019/08
©2019Cooler Master Technology Inc. All Rights Reserved. All trademarks are registered to their respective owners.
Make It Yours.



















